CN215239823U - Corner polishing device for parts of mining machinery - Google Patents

Corner polishing device for parts of mining machinery Download PDF

Info

Publication number
CN215239823U
CN215239823U CN202121637973.8U CN202121637973U CN215239823U CN 215239823 U CN215239823 U CN 215239823U CN 202121637973 U CN202121637973 U CN 202121637973U CN 215239823 U CN215239823 U CN 215239823U
Authority
CN
China
Prior art keywords
lifting
water
workbench
cavity
grinding
Prior art date
Legal status (The legal status is an assumption and is not a legal conclusion. Google has not performed a legal analysis and makes no representation as to the accuracy of the status listed.)
Expired - Fee Related
Application number
CN202121637973.8U
Other languages
Chinese (zh)
Inventor
韩怀轩
孔令华
Current Assignee (The listed assignees may be inaccurate. Google has not performed a legal analysis and makes no representation or warranty as to the accuracy of the list.)
Bu Fangcheng
Original Assignee
Xuzhou Hongju Machinery Manufacturing Co Ltd
Priority date (The priority date is an assumption and is not a legal conclusion. Google has not performed a legal analysis and makes no representation as to the accuracy of the date listed.)
Filing date
Publication date
Application filed by Xuzhou Hongju Machinery Manufacturing Co Ltd filed Critical Xuzhou Hongju Machinery Manufacturing Co Ltd
Priority to CN202121637973.8U priority Critical patent/CN215239823U/en
Application granted granted Critical
Publication of CN215239823U publication Critical patent/CN215239823U/en
Expired - Fee Related legal-status Critical Current
Anticipated expiration legal-status Critical

Links

Images

Landscapes

  • Finish Polishing, Edge Sharpening, And Grinding By Specific Grinding Devices (AREA)

Abstract

本实用新型公开了一种用于矿山机械配件零件边角打磨装置,包括万向轮、工作台、打磨台、废料收集盒、台虎钳、降温组件、打磨组件和升降装置,所述万向轮设于工作台底壁上,所述废料收集盒位于工作台下部,所述升降装置设于工作台顶壁上,所述工作台内设有上端开口的放置腔,所述打磨台设于工作台上,所述台虎钳设于打磨台上,所述降温组件设于工作台侧壁上,所述打磨组件设于升降装置上;所述打磨组件包括防护壳、驱动电机、透明防护罩、驱动轴、安装座、打磨盘、转轮、第一清洁板和第二清洁板。本实用新型涉及零件打磨装置技术领域,具体提供了一种既便于移动,又具有防尘功能的用于矿山机械配件零件边角打磨装置。

Figure 202121637973

The utility model discloses a corner grinding device for mining machinery parts, comprising a universal wheel, a workbench, a grinding table, a waste collection box, a bench vice, a cooling component, a grinding component and a lifting device. The wheels are arranged on the bottom wall of the workbench, the waste collection box is located at the lower part of the workbench, the lifting device is set on the top wall of the workbench, the workbench is provided with a placement cavity with an open upper end, and the grinding table is set at the top of the workbench. On the workbench, the bench vise is arranged on the grinding table, the cooling component is arranged on the side wall of the workbench, and the grinding component is arranged on the lifting device; the grinding component includes a protective shell, a driving motor, a transparent protection A cover, a drive shaft, a mount, a sanding disc, a runner, a first cleaning plate and a second cleaning plate. The utility model relates to the technical field of parts grinding devices, and in particular provides a grinding device for the edges and corners of mining machinery parts, which is convenient to move and has a dustproof function.

Figure 202121637973

Description

Corner polishing device for parts of mining machinery
Technical Field
The utility model relates to a part grinding device technical field specifically is a be used for mining machinery accessory part corner grinding device.
Background
The grinding device is an important processing means in the mechanical production and processing process, can ensure the surface smoothness of mechanical equipment and is convenient for the use of the mechanical equipment; piece splashes when polishing at the part corner grinding device in the existing market, not only influences staff's operation, and is difficult for the clearance collection, secondly, at the in-process of polishing, often can produce a large amount of dusts and heat, reduces coefficient of friction easily when generally adopting the trickle cooling dust fall, is unfavorable for the speed that the guarantee was polished.
SUMMERY OF THE UTILITY MODEL
To the above situation, for overcoming current technical defect, the utility model provides a be used for mining machinery accessory part corner grinding device who not only is convenient for remove, has dustproof function again.
The utility model adopts the following technical scheme: a corner polishing device for parts of mining machinery comprises universal wheels, a workbench, a polishing table, a waste collecting box, a bench vice, a cooling assembly, a polishing assembly and a lifting device, wherein the universal wheels are arranged on the bottom wall of the workbench, the waste collecting box is positioned at the lower part of the workbench, the lifting device is arranged on the top wall of the workbench, a placing cavity with an opening at the upper end is arranged in the workbench, the polishing table is arranged on the workbench, the bench vice is arranged on the polishing table, the cooling assembly is arranged on the side wall of the workbench, and the polishing assembly is arranged on the lifting device; the lifting device comprises a lifting column, a lifting motor, a lifting screw and a lifting plate, the lifting column is arranged on the top wall of a workbench, a driving cavity is arranged in the workbench, the lifting motor is arranged in the driving cavity, a lifting cavity is arranged in the lifting column, a lifting chute is arranged on the side wall of the lifting column and communicated with the lifting cavity, the lifting screw is rotatably arranged in the lifting cavity, the bottom end of the lifting screw penetrates through the workbench and is rotatably arranged in the driving cavity, the bottom end of the lifting screw is connected with an output shaft of the lifting motor, the lifting plate is connected with the lifting screw through threads, and the lifting plate is slidably arranged in the lifting chute; the polishing assembly comprises a protective shell, a driving motor, a transparent protective cover, a driving shaft, a mounting seat, a polishing disc, a rotating wheel, a first cleaning plate and a second cleaning plate, the protective shell is arranged below the lifting plate, a protective cavity is arranged in the protective shell, the driving motor is arranged in the protective cavity, the transparent protective cover is arranged on the bottom wall of the protective shell, the transparent protective cover is arranged in the placing cavity in a sliding manner, the top end of the driving shaft is connected with an output shaft of the driving motor, the bottom end of the driving shaft sequentially penetrates through the bottom wall of the protective shell and the transparent protective cover to be rotatably arranged in the transparent protective cover, the mounting seat is arranged on the bottom end of the driving shaft, the polishing disc is arranged below the mounting seat, the rotating wheel is arranged on the driving shaft, one end of the first cleaning plate is arranged on the side wall of the rotating wheel, the first cleaning plate is arranged on the inner side wall of the transparent protective cover in a sliding manner, and the second cleaning plate is arranged at the other end of the first cleaning plate, the second cleaning plate is arranged on the side wall of the inner side of the transparent protective cover in a sliding manner; the cooling assembly comprises a water storage tank, a water pump, a water outlet hose, a telescopic rod, a water outlet hard pipe and an overflow valve, wherein the water storage tank is arranged on the side wall of the workbench, the water pump is arranged on the top wall of the water storage tank, one end of the telescopic rod is arranged on the bottom wall of the placing cavity, the top wall of the polishing disc is provided with a water flowing groove, a water flowing cavity with two open ends is arranged in the polishing disc, the bottom wall of the water flowing groove is provided with a water flowing hole, the water flowing hole is communicated with the water flowing cavity, the water outlet hard pipe is arranged on the side wall of the telescopic rod, one end of the water outlet hard pipe is arranged in the water flowing groove in a sliding mode, one end of the water outlet hose is arranged on the water pump, the other end of the water outlet hose is arranged on the other end of the water outlet hard pipe, and the overflow valve is arranged on the water outlet hard pipe.
Further, it is equipped with the water catch bowl to place the chamber diapire, the water catch bowl is the loop configuration setting, the water catch bowl diapire is equipped with the outlet pipe, the outlet pipe other end runs through the workstation diapire and locates the workstation lower part, the outlet pipe is located garbage collection box upper portion to the garbage collection box collects waste material and waste water.
Furthermore, the launder is the loop configuration setting, the flowing water chamber is equipped with the multiunit, the discharge orifice corresponds the setting with the flowing water chamber.
Furthermore, a water inlet pipe is arranged on the water storage tank.
Furthermore, the universal wheels are provided with braking devices, and four groups of universal wheels are arranged and distributed in a rectangular shape.
Further, the lifting motor is a forward and reverse rotating motor.
Adopt above-mentioned structure the utility model discloses the beneficial effect who gains as follows: according to the corner polishing device for the mining machine part, the polishing disc is cooled by the corner polishing device for the mining machine part through the cooling component, the polishing disc can be rapidly cooled by water, normal use of the polishing disc is guaranteed, the polishing disc is prevented from being damaged due to high temperature, the friction coefficient between the polishing disc and a polishing part can be guaranteed, and the polishing speed is guaranteed; the grinding component and the lifting device are matched to realize that the corner grinding device for the parts of the mining machinery parts is used for grinding the parts, so that the dust is prevented from flying in a mess, the environmental pollution is avoided, and the physical and psychological health of workers is influenced; a collection that is used for mining machinery accessory part corner grinding device to waste material and waste water has been realized through the cooperation of water catch bowl and garbage collection box.
Drawings
The accompanying drawings are included to provide a further understanding of the invention, and are incorporated in and constitute a part of this specification, illustrate embodiments of the invention, and together with the description serve to explain the invention and not to limit the invention. In the drawings:
fig. 1 is a schematic structural view of a corner polishing device for parts of mining machinery according to the present invention;
fig. 2 is the utility model relates to a structural schematic of a polishing disc for mining machinery accessory part corner grinding device.
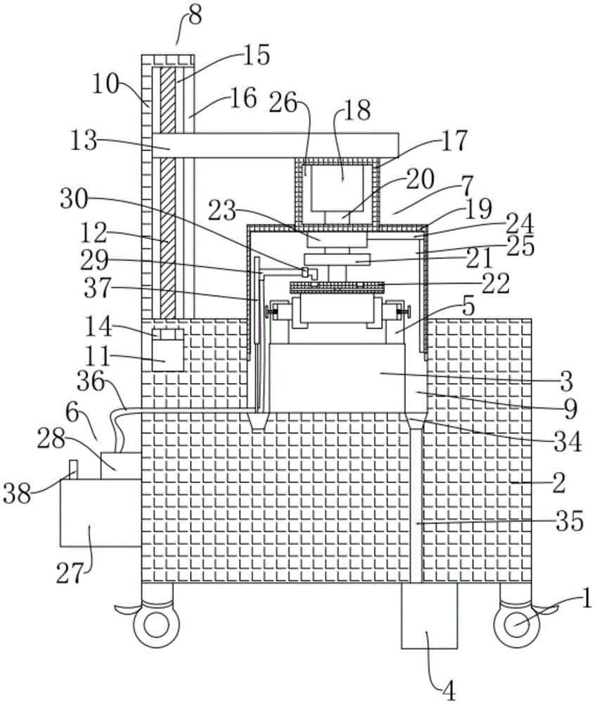
The automatic cleaning device comprises a universal wheel 1, a universal wheel 2, a workbench 3, a grinding table 4, a waste collecting box 5, a bench vice 6, a cooling assembly 7, a grinding assembly 8, a lifting device 9, a placing cavity 10, a lifting column 11, a lifting motor 12, a lifting screw 13, a lifting plate 14, a driving cavity 15, a lifting cavity 16, a lifting chute 17, a protective shell 18, a driving motor 19, a transparent protective cover 20, a driving shaft 21, a mounting seat 22, a grinding disc 23, a rotating wheel 24, a first cleaning plate 25, a second cleaning plate 26, a protective cavity 27, a water storage tank 28, a water pump 29, a water outlet hard pipe 30, an overflow valve 31, a water flowing groove 32, a water flowing cavity 33, a water flowing hole 34, a water collecting groove 35, a water outlet pipe 36, a water outlet hose 37, a telescopic rod 38 and a water inlet pipe.
Detailed Description
The technical solutions in the embodiments of the present invention will be clearly and completely described below with reference to the drawings in the embodiments of the present invention, and it is obvious that the described embodiments are only some embodiments of the present invention, not all embodiments; based on the embodiments in the present invention, all other embodiments obtained by a person skilled in the art without creative work belong to the protection scope of the present invention.
It should be noted that the terms "front," "back," "left," "right," "upper" and "lower" used in the following description refer to directions in the drawings, and the terms "inner" and "outer" refer to directions toward and away from, respectively, the geometric center of a particular component.
As shown in fig. 1-2, the technical scheme adopted by the utility model is as follows: a corner polishing device for parts of mining machinery comprises a universal wheel 1, a workbench 2, a polishing table 3, a waste collecting box 4, a bench vice 5, a cooling assembly 6, a polishing assembly 7 and a lifting device 8, wherein the universal wheel 1 is arranged on the bottom wall of the workbench 2, the waste collecting box 4 is positioned at the lower part of the workbench 2, the lifting device 8 is arranged on the top wall of the workbench 2, a placing cavity 9 with an opening at the upper end is arranged in the workbench 2, the polishing table 3 is arranged on the workbench 2, the bench vice 5 is arranged on the polishing table 3, the cooling assembly 6 is arranged on the side wall of the workbench 2, and the polishing assembly 7 is arranged on the lifting device 8; the lifting device 8 comprises a lifting column 10, a lifting motor 11, a lifting screw 12 and a lifting plate 13, the lifting column 10 is arranged on the top wall of the workbench 2, a driving cavity 14 is arranged in the workbench 2, the lifting motor 11 is arranged in the driving cavity 14, a lifting cavity 15 is arranged in the lifting column 10, a lifting chute 16 is arranged on the side wall of the lifting column 10, the lifting chute 16 is communicated with the lifting cavity 15, the lifting screw 12 is rotatably arranged in the lifting cavity 15, the bottom end of the lifting screw 12 penetrates through the workbench 2 and is rotatably arranged in the driving cavity 14, the bottom end of the lifting screw 12 is connected with an output shaft of the lifting motor 11, the lifting plate 13 is connected to the lifting screw 12 through threads, and the lifting plate 13 is slidably arranged in the lifting chute 16; the polishing assembly 7 comprises a protective shell 17, a driving motor 18, a transparent protective cover 19, a driving shaft 20, a mounting seat 21, a polishing disc 22, a rotating wheel 23, a first cleaning plate 24 and a second cleaning plate 25, wherein the protective shell 17 is arranged below the lifting plate 13, a protective cavity 26 is arranged in the protective shell 17, the driving motor 18 is arranged in the protective cavity 26, the transparent protective cover 19 is arranged on the bottom wall of the protective shell 17, the transparent protective cover 19 is arranged in the placing cavity 9 in a sliding manner, the top end of the driving shaft 20 is connected with an output shaft of the driving motor 18, the bottom end of the driving shaft 20 sequentially penetrates through the bottom wall of the protective shell 17 and the transparent protective cover 19 to be rotatably arranged in the transparent protective cover 19, the mounting seat 21 is arranged on the bottom end of the driving shaft 20, the polishing disc 22 is arranged below the mounting seat 21, the rotating wheel 23 is arranged on the driving shaft 20, one end of the first cleaning plate 24 is arranged on the side wall of the rotating wheel 23, the first cleaning plate 24 is arranged on the top wall of the inner side of the transparent protective cover 19 in a sliding manner, the second cleaning plate 25 is arranged at the other end of the first cleaning plate 24, and the second cleaning plate 25 is arranged on the side wall of the inner side of the transparent protective cover 19 in a sliding manner; the cooling assembly 6 comprises a water storage tank 27, a water pump 28, a water outlet hose 36, an expansion link 37, a water outlet hard pipe 29 and an overflow valve 30, wherein the water storage tank 27 is arranged on the side wall of the workbench 2, the water pump 28 is arranged on the top wall of the water storage tank 27, one end of the expansion link 37 is arranged on the bottom wall of the placing cavity 9, the top wall of the polishing disc 22 is provided with a water flowing groove 31, a water flowing cavity 32 with two open ends is arranged in the polishing disc 22, the bottom wall of the water flowing groove 31 is provided with a water flowing hole 33, the water flowing hole 33 is communicated with the water flowing cavity 32, the water outlet hard pipe 29 is arranged on the side wall of the expansion link 37, one end of the water outlet hard pipe 29 is arranged in the water flowing groove in a sliding mode, one end of the water outlet hose 36 is arranged on the water pump 28, the other end of the water outlet hose 36 is arranged on the other end of the water outlet hard pipe 29, and the overflow valve 30 is arranged on the water outlet hard pipe 29.
Wherein, it is equipped with water catch bowl 34 to place the 9 diapalls in chamber, the water catch bowl is the loop configuration setting, water catch bowl 34 diapalls are equipped with outlet pipe 35, the outlet pipe 35 other end runs through 2 diapalls of workstation and locates 2 lower parts of workstation, outlet pipe 35 is located 4 upper portions of garbage collection box to garbage collection box 4 collects waste material and waste water. The launder 31 is the ring structure setting, flowing water cavity 32 is equipped with the multiunit, discharge orifice 33 and flowing water cavity 32 correspond the setting. The water storage tank 27 is provided with a water inlet pipe 38. The universal wheels 1 are provided with braking devices, four groups of universal wheels 1 are arranged, and the four groups of universal wheels 1 are distributed in a rectangular shape. The lifting motor 11 is a forward and reverse rotating motor.
When the part corner polishing device is used, the part corner polishing device is pushed manually, the part corner polishing device is moved to a working area, the universal wheel 1 is braked to prevent the part corner polishing device from moving randomly, the mining machine accessory parts are fixed through the bench vice 5, the lifting motor 11 is started, the lifting motor 11 rotates forwards, the lifting motor 11 drives the lifting screw 12 to rotate, the lifting screw 12 drives the lifting plate 13 to move downwards, the lifting plate 13 drives the transparent protective cover 19 to move downwards and slide into the placing cavity 9, meanwhile, the telescopic rod 37 contracts to enable the water outlet hard pipe 29 to be located between the mounting seat 21 and the polishing disc 22, the polishing disc 22 contacts the mining machine accessory parts, the driving motor 18 is started to rotate, the driving motor 18 drives the driving shaft 20 to rotate, the driving shaft 20 drives the mounting seat 21 and the polishing disc 22 to rotate, and the polishing disc 22 polishes the mining machine accessory parts, meanwhile, the driving shaft 20 drives the rotating wheel 23 to rotate, the rotating wheel 23 drives the first cleaning plate 24 and the second cleaning plate 25 to rotate, the first cleaning plate 24 hangs dust on the top wall of the inner side of the transparent protective cover 19, the second cleaning plate 25 hangs dust on the side wall of the inner side of the transparent protective cover 19, and the dust falls into the water collecting tank 34; meanwhile, in order to ensure that the temperature of the polishing disc 22 is too high, the water pump 28 is started, the water pump 28 pumps water in the water storage tank 27 out and flows into the water flowing groove 31 of the rotating polishing disc 22 through the water outlet hose 36 and the water outlet hard pipe 29, the overflow valve 30 can control the water flow speed, the water flows into the water flowing cavity 32 through the water flowing hole 33 on the bottom wall of the water flowing groove 31, the water generates centrifugal force through the rotation of the polishing disc 22 in the water flowing cavity 32, so that the water flows towards the side wall outlet of the polishing disc 22 in the water flowing cavity 32 to cool the polishing disc 22, and due to the high-speed rotation of the polishing disc 22, the water has increased centrifugal force at the opening of the water flowing cavity 32, and is thrown to a position far away from the polishing position, thereby ensuring the dryness of the periphery of the polishing equipment, ensuring the friction coefficient during polishing, ensuring the polishing speed, the water falls on the transparent protective cover 19 and flows into the water collecting groove 34 under the action of gravity, the dust in the water flowing groove 31 flows into the water outlet pipe 35 along with the water, and flows into the waste collecting box 4 for centralized treatment.
It is noted that, herein, relational terms such as first and second, and the like may be used solely to distinguish one entity or action from another entity or action without necessarily requiring or implying any actual such relationship or order between such entities or actions. Also, the terms "comprises," "comprising," or any other variation thereof, are intended to cover a non-exclusive inclusion, such that a process, method, article, or apparatus that comprises a list of elements does not include only those elements but may include other elements not expressly listed or inherent to such process, method, article, or apparatus.
Although embodiments of the present invention have been shown and described, it will be appreciated by those skilled in the art that changes, modifications, substitutions and alterations can be made in these embodiments without departing from the principles and spirit of the invention, the scope of which is defined in the appended claims and their equivalents.

Claims (6)

1. The utility model provides a be used for mining machinery accessory part corner grinding device which characterized in that: the waste material collecting box is positioned at the lower part of the workbench, the lifting device is arranged on the top wall of the workbench, a placing cavity with an opening at the upper end is arranged in the workbench, the grinding table is arranged on the workbench, the bench vice is arranged on the grinding table, the cooling component is arranged on the side wall of the workbench, and the grinding component is arranged on the lifting device; the lifting device comprises a lifting column, a lifting motor, a lifting screw and a lifting plate, the lifting column is arranged on the top wall of a workbench, a driving cavity is arranged in the workbench, the lifting motor is arranged in the driving cavity, a lifting cavity is arranged in the lifting column, a lifting chute is arranged on the side wall of the lifting column and communicated with the lifting cavity, the lifting screw is rotatably arranged in the lifting cavity, the bottom end of the lifting screw penetrates through the workbench and is rotatably arranged in the driving cavity, the bottom end of the lifting screw is connected with an output shaft of the lifting motor, the lifting plate is connected with the lifting screw through threads, and the lifting plate is slidably arranged in the lifting chute; the polishing assembly comprises a protective shell, a driving motor, a transparent protective cover, a driving shaft, a mounting seat, a polishing disc, a rotating wheel, a first cleaning plate and a second cleaning plate, the protective shell is arranged below the lifting plate, a protective cavity is arranged in the protective shell, the driving motor is arranged in the protective cavity, the transparent protective cover is arranged on the bottom wall of the protective shell, the transparent protective cover is arranged in the placing cavity in a sliding manner, the top end of the driving shaft is connected with an output shaft of the driving motor, the bottom end of the driving shaft sequentially penetrates through the bottom wall of the protective shell and the transparent protective cover to be rotatably arranged in the transparent protective cover, the mounting seat is arranged on the bottom end of the driving shaft, the polishing disc is arranged below the mounting seat, the rotating wheel is arranged on the driving shaft, one end of the first cleaning plate is arranged on the side wall of the rotating wheel, the first cleaning plate is arranged on the inner side wall of the transparent protective cover in a sliding manner, and the second cleaning plate is arranged at the other end of the first cleaning plate, the second cleaning plate is arranged on the side wall of the inner side of the transparent protective cover in a sliding manner; the cooling assembly comprises a water storage tank, a water pump, a water outlet hose, a telescopic rod, a water outlet hard pipe and an overflow valve, wherein the water storage tank is arranged on the side wall of the workbench, the water pump is arranged on the top wall of the water storage tank, one end of the telescopic rod is arranged on the bottom wall of the placing cavity, the top wall of the polishing disc is provided with a water flowing groove, a water flowing cavity with two open ends is arranged in the polishing disc, the bottom wall of the water flowing groove is provided with a water flowing hole, the water flowing hole is communicated with the water flowing cavity, the water outlet hard pipe is arranged on the side wall of the telescopic rod, one end of the water outlet hard pipe is arranged in the water flowing groove in a sliding mode, one end of the water outlet hose is arranged on the water pump, the other end of the water outlet hose is arranged on the other end of the water outlet hard pipe, and the overflow valve is arranged on the water outlet hard pipe.
2. The grinding device for the corners of mining machine accessory parts according to claim 1, characterized in that: the waste collecting box is characterized in that a water collecting tank is arranged on the bottom wall of the placing cavity, the water collecting tank is of an annular structure, a water outlet pipe is arranged on the bottom wall of the water collecting tank, the other end of the water outlet pipe penetrates through the bottom wall of the workbench and is arranged on the lower portion of the workbench, and the water outlet pipe is located on the upper portion of the waste collecting box.
3. The grinding device for the corners of mining machine accessory parts according to claim 1, characterized in that: the launder is the loop configuration setting, the flowing water chamber is equipped with the multiunit, the discharge orifice corresponds the setting with the flowing water chamber.
4. The grinding device for the corners of mining machine accessory parts according to claim 1, characterized in that: the water storage tank is provided with a water inlet pipe.
5. The grinding device for the corners of mining machine accessory parts according to claim 1, characterized in that: the universal wheels are provided with braking devices, four groups of universal wheels are arranged, and the four groups of universal wheels are distributed in a rectangular shape.
6. The grinding device for the corners of mining machine accessory parts according to claim 1, characterized in that: the lifting motor is a forward and reverse rotating motor.
CN202121637973.8U 2021-07-19 2021-07-19 Corner polishing device for parts of mining machinery Expired - Fee Related CN215239823U (en)

Priority Applications (1)

Application Number Priority Date Filing Date Title
CN202121637973.8U CN215239823U (en) 2021-07-19 2021-07-19 Corner polishing device for parts of mining machinery

Applications Claiming Priority (1)

Application Number Priority Date Filing Date Title
CN202121637973.8U CN215239823U (en) 2021-07-19 2021-07-19 Corner polishing device for parts of mining machinery

Publications (1)

Publication Number Publication Date
CN215239823U true CN215239823U (en) 2021-12-21

Family

ID=79492774

Family Applications (1)

Application Number Title Priority Date Filing Date
CN202121637973.8U Expired - Fee Related CN215239823U (en) 2021-07-19 2021-07-19 Corner polishing device for parts of mining machinery

Country Status (1)

Country Link
CN (1) CN215239823U (en)

Similar Documents

Publication Publication Date Title
CN210524635U (en) A dust-proof device for a surface grinder
CN210701493U (en) Surface cleaning device for workpiece machining
CN111687740A (en) Polishing machine with cooling function for bearing processing
CN215239823U (en) Corner polishing device for parts of mining machinery
CN210139290U (en) Ceramic polishing device capable of safely absorbing dust
CN214418471U (en) A floating cleaning equipment for rust on the surface of metal sculptures
CN221911108U (en) Slip table mechanism and gantry type coordinate grinding machine based on same
CN219787794U (en) Polisher for pig iron casting processing
CN217776682U (en) Polishing and dust removing device for gray iron castings
CN217317237U (en) Polishing device for copper pipe machining
CN211890372U (en) A kind of polishing equipment with all-round finishing structure for bearings
CN216327070U (en) Be used for deep groove ball bearing inner circle processing grinding device
CN212578246U (en) A burr cleaning device for metal casting processing
CN216029873U (en) Silicon wafer edge grinding machine
CN210616047U (en) A manual edging machine
CN207858528U (en) A grinding device for end cap processing
CN220389007U (en) Metal material surface oxide skin and impurity grinding device
CN222134464U (en) Grinding machine processing equipment convenient to clear bits
CN205057724U (en) Wiper abrasive band machine
CN218488063U (en) A high-precision processing and polishing machine
CN220279184U (en) Grinding mechanism for shoe material auxiliary material processing
CN223519278U (en) Metal valve foundry goods circle grinding device
CN213411544U (en) A kind of grinding equipment for non-standard metal products
CN220548105U (en) Wafer external diameter grinding device
CN221337960U (en) Be used for mining machinery accessory part grinding device

Legal Events

Date Code Title Description
GR01 Patent grant
GR01 Patent grant
TR01 Transfer of patent right

Effective date of registration: 20240319

Address after: No.30 Taohua Road, Yicheng District, Zaozhuang City, Shandong Province 277100

Patentee after: Bu Fangcheng

Country or region after: China

Address before: 221000 Yang Tun Zhen Kong Zhuang Cun (Qianchang), Pei County, Xuzhou City, Jiangsu Province

Patentee before: Xuzhou Hongju Machinery Manufacturing Co.,Ltd.

Country or region before: China

TR01 Transfer of patent right
CF01 Termination of patent right due to non-payment of annual fee

Granted publication date: 20211221

CF01 Termination of patent right due to non-payment of annual fee