CN215239232U - Novel aluminum alloy door and window processing device - Google Patents

Novel aluminum alloy door and window processing device Download PDF

Info

Publication number
CN215239232U
CN215239232U CN202121755344.5U CN202121755344U CN215239232U CN 215239232 U CN215239232 U CN 215239232U CN 202121755344 U CN202121755344 U CN 202121755344U CN 215239232 U CN215239232 U CN 215239232U
Authority
CN
China
Prior art keywords
wall
aluminum alloy
feeder
polisher
machine
Prior art date
Legal status (The legal status is an assumption and is not a legal conclusion. Google has not performed a legal analysis and makes no representation as to the accuracy of the status listed.)
Expired - Fee Related
Application number
CN202121755344.5U
Other languages
Chinese (zh)
Inventor
杨庆
杨天天
Current Assignee (The listed assignees may be inaccurate. Google has not performed a legal analysis and makes no representation or warranty as to the accuracy of the list.)
Jiangxi Yahao Aluminum Co ltd
Original Assignee
Jiangxi Yahao Aluminum Co ltd
Priority date (The priority date is an assumption and is not a legal conclusion. Google has not performed a legal analysis and makes no representation as to the accuracy of the date listed.)
Filing date
Publication date
Application filed by Jiangxi Yahao Aluminum Co ltd filed Critical Jiangxi Yahao Aluminum Co ltd
Priority to CN202121755344.5U priority Critical patent/CN215239232U/en
Application granted granted Critical
Publication of CN215239232U publication Critical patent/CN215239232U/en
Expired - Fee Related legal-status Critical Current
Anticipated expiration legal-status Critical

Links

Images

Landscapes

  • Finish Polishing, Edge Sharpening, And Grinding By Specific Grinding Devices (AREA)

Abstract

本实用新型公开了一种新型铝合金门窗加工装置,包括底板、送料机和抛光器,所述底板的顶部安装有工作台,所述底板的顶部安装有送料机,且送料机位于工作台的一侧。本实用新型通过安装有送料机和固定器来解决人工送料的问题,电机转动带动转动轴转动,转动轴转动时带动齿轮转动,齿轮转动使齿条移动,齿条移动带动凹型槽向压孔机进行移动,凹型槽内部的铝合金进入到出料口一的内部,达到自动送料的目的,铝合金进入到出料口一的内部,转动螺栓,螺栓通过转动向固定器的内壁移动,螺栓移动使滑动板移动,滑动板移动使出料口一内部的空间缩小,使进入到出料口一内部的铝合金所处空间变小,防止压孔刀对铝合金进行打孔加工时铝合金晃动产生偏差。

Figure 202121755344

The utility model discloses a novel aluminum alloy door and window processing device, which comprises a bottom plate, a feeder and a polisher. A workbench is installed on the top of the bottom plate, a feeder is installed on the top of the bottom plate, and the feeder is located at the top of the workbench. side. The utility model solves the problem of manual feeding by installing a feeder and a fixer. The rotation of the motor drives the rotation shaft to rotate, and the rotation of the rotation shaft drives the gear to rotate, the gear rotation makes the rack move, and the rack movement drives the concave groove to the punching machine. Move, the aluminum alloy inside the concave groove enters the inside of the discharge port 1 to achieve the purpose of automatic feeding, the aluminum alloy enters the inside of the discharge port 1, and the bolt is rotated. The sliding plate moves, and the sliding plate moves to reduce the space inside the discharge port 1, so that the space where the aluminum alloy enters the discharge port 1 becomes smaller, and prevents the aluminum alloy from shaking when the punching knife is punching the aluminum alloy. bias.

Figure 202121755344

Description

Novel aluminum alloy door and window processing device
Technical Field
The utility model relates to a door and window processing production technical field specifically is a novel aluminum alloy door and window processing device.
Background
The aluminum alloy door and window is characterized in that aluminum alloy is used to form objects such as frames and sash materials through extrusion, metal plate bending industry and the like, the processed frames are combined to form the door and window, and holes need to be punched on the surface of the aluminum alloy in the processing production process of the aluminum alloy door and window, so that the processed aluminum alloy frames can be conveniently and quickly combined.
The existing aluminum alloy door and window processing device has the defects that:
1. the comparison document CN112517965A discloses a punching device for processing aluminum alloy doors and windows, wherein the protection right comprises a device main body, an electric drill is arranged inside the device main body, a first sliding groove is formed in the inner surface of the device main body, a first sliding block is movably connected to the inner surface of the first sliding groove, a moving rod is fixedly connected to the inner surface of the first sliding block, a handle is fixedly connected to one end of the moving rod, a rubber pad is fixedly connected to the outer surface of one side of the handle, a second sliding block is fixedly connected to one end of the outer surface of the moving rod, and a second sliding groove is movably connected to the outer surface of the second sliding block; handle, rubber pad, first slider, first spout and second slider through the design, the perforating device who has solved aluminum alloy door and window processing need punch to aluminum alloy door and window through the drill bit in the use, and the drill bit is difficult to control when avoiding punching, and is convenient inadequately to aluminum alloy door and window's processing method, influences device work efficiency's problem. However, the device needs manpower to carry out feeding operation in the process of processing and punching the aluminum alloy door and window, which is very inconvenient and wastes manpower resources greatly;
2. the existing aluminum alloy door and window processing device can generate burrs around the punched hole after punching, the hand is easily scratched when the door and window is assembled, and waste residues generated after processing are not easy to collect.
SUMMERY OF THE UTILITY MODEL
An object of the utility model is to provide a novel aluminum alloy door and window processing device to the artifical pay-off that provides in solving above-mentioned background art produces the problem of burr with after processing.
In order to achieve the above object, the utility model provides a following technical scheme: a novel aluminum alloy door and window machining device comprises a bottom plate, a feeding machine and a polisher, wherein a workbench is installed at the top of the bottom plate, a controller is installed at the top of the bottom plate and located on one side of the workbench, a waste collecting box is installed on the inner wall of the workbench, the feeding machine is installed at the top of the bottom plate and located on one side of the workbench;
a supporting plate is installed on the outer wall of the feeding machine, a motor is installed on the top of the supporting plate, the output end of the motor is connected with one end of a rotating shaft, the other end of the rotating shaft extends into the inner wall of the feeding machine, a gear is installed on the outer wall of the rotating shaft in a surrounding mode, a rack is installed on the inner wall of the feeding machine in a penetrating mode and located above the rotating shaft, the rack is meshed with the gear, and a concave groove is installed on the top of the rack;
the top of the workbench is provided with a hole pressing machine, and the top of the workbench is provided with a polishing machine.
Preferably, a control button is mounted on the top of the controller.
Preferably, the bottom of the waste collection box is provided with a slide rail, the outer wall of the waste collection box is provided with a first pipeline, the top of the waste collection box is provided with a second pipeline, and the front of the waste collection box is provided with a handle.
Preferably, the top of the hole pressing machine is provided with a first hydraulic press in a penetrating mode, the bottom of the first hydraulic press is provided with a hole pressing cutter, the inner wall of the hole pressing machine is provided with a fixer, the inner wall of the fixer is provided with a support shaft, the outer wall of the support shaft is provided with a sliding plate, the outer wall of the fixer is provided with a bolt, one end of the bolt extends into the outer wall of the sliding plate, and the inner wall of the fixer is provided with a first discharge hole.
Preferably, a second hydraulic machine penetrates through the top of the polishing machine, and a polishing brush is arranged at the bottom of the second hydraulic machine.
Preferably, the polisher is installed on the inner wall of the polisher, the wind shield is installed on the back face of the polisher, the dust removal plate is installed on the front face of the polisher, the reciprocating screw rod is installed at the top of the polisher in a penetrating mode, the polishing plate is installed on the outer wall of the sliding ring and the outer wall of the reciprocating screw rod, the fan is installed on the outer wall of the polisher, and the discharge port II is formed in the inner wall of the polisher.
Compared with the prior art, the beneficial effects of the utility model are that:
1. the utility model discloses an install feeder and fixer and solve the problem of artifical pay-off, the motor rotates and drives the axis of rotation, drive gear rotation when the axis of rotation rotates, gear rotation makes the rack remove, the rack removes and drives the concave groove and remove to the punch, the inside aluminum alloy of concave groove inside enters into the inside of discharge gate one, reach the purpose of autoloading, the aluminum alloy enters into the inside of discharge gate one through the feeder, the bolt rotates, the bolt moves to the inner wall of fixer through rotating, the bolt removes and makes the sliding plate remove, the sliding plate removes and makes the space of discharge gate one inside reduce, the space that the aluminum alloy that makes into discharge gate one locates diminishes, prevent that the punch from punching the aluminium alloy when processing to the aluminium alloy rock and produce the deviation;
2. the utility model solves the problem of burr generation after the aluminum alloy door and window is processed by installing a polishing machine and a polisher, when a hole pressing cutter punches and processes the aluminum alloy, burr can be formed on the surface of the aluminum alloy, when the burr on the surface of the aluminum alloy entering the inside of the discharge port II is cleaned, the reciprocating screw rod is rotated to move the sliding ring, the sliding ring drives the polishing plate to move when moving, the polishing plate moves to the inside of the discharge port II to clean and polish the burr on the surface of the aluminum alloy moving inside the discharge port II, the purpose of cleaning the surface burr is achieved, the burr drops inside the discharge port II after being cleaned, when the burr scraps generated by polishing and polishing in the polisher are cleaned, the wind shield is moved, one end of the discharge port II is blocked, the other end of the discharge port II is covered by the movable dust removing plate, wind power is generated by the fan, the wind power flows to the dust removing plate, the burr scraps in the discharge port II are rushed, wind power passes through the dust removal plate to reach the outside of polisher, and the piece is then blocked at the outer wall of dust removal plate by the dust removal plate, and the dust removal plate has the filtering action to the air of discharge gate two inside, and the piece that the dust removal plate was collected enters into garbage collection box's inside through pipeline two, plays the collecting action to the piece.
Drawings
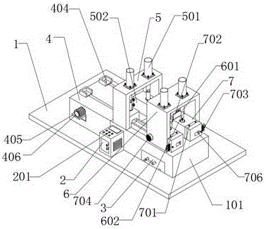
Fig. 1 is a schematic view of the appearance structure of the present invention;
FIG. 2 is a schematic structural view of the hole pressing machine of the present invention;
FIG. 3 is a schematic view of the polishing machine and polisher of the present invention;
fig. 4 is a schematic view of the structure of the feeding machine of the present invention;
FIG. 5 is a schematic structural view of the reciprocating screw rod and the polishing plate of the present invention;
FIG. 6 is a schematic view of the structure of the waste collection box of the present invention;
fig. 7 is a schematic view of the structure of the fixing device of the present invention.
In the figure: 1. a base plate; 101. a work table; 2. a controller; 201. a control button; 3. a waste collection tank; 301. a slide rail; 302. a first pipeline; 303. a second pipeline; 304. a handle; 4. a feeding machine; 401. a rotating shaft; 402. a gear; 403. a rack; 404. a concave groove; 405. a support plate; 406. a motor; 5. a hole pressing machine; 501. a first hydraulic press; 502. a holder; 503. a hole pressing cutter; 504. a bolt; 505. a support shaft; 506. a sliding plate; 507. a first discharge hole; 6. polishing the machine; 601. a second hydraulic press; 602. polishing the hairbrush; 7. a polisher; 701. a reciprocating screw rod; 702. a wind deflector; 703. a dust removal plate; 704. a fan; 705. polishing the plate; 706. a discharge hole II; 707. a slip ring.
Detailed Description
The technical solutions in the embodiments of the present invention will be described clearly and completely with reference to the accompanying drawings in the embodiments of the present invention, and it is obvious that the described embodiments are only some embodiments of the present invention, not all embodiments. Based on the embodiments in the present invention, all other embodiments obtained by a person skilled in the art without creative work belong to the protection scope of the present invention.
In the description of the present invention, it should be noted that the terms "upper", "lower", "inner", "outer", "front end", "rear end", "both ends", "one end", "the other end" and the like indicate orientations or positional relationships based on the orientations or positional relationships shown in the drawings, and are only for convenience of description and simplification of description, but do not indicate or imply that the device or element to which the reference is made must have a specific orientation, be constructed in a specific orientation, and be operated, and thus, should not be construed as limiting the present invention. Furthermore, the terms "first" and "second" are used for descriptive purposes only and are not to be construed as indicating or implying relative importance.
In the description of the present invention, it is to be noted that, unless otherwise explicitly specified or limited, the terms "mounted," "disposed," "connected," and the like are to be construed broadly, and for example, "connected" may be either fixedly connected or detachably connected, or integrally connected; can be mechanically or electrically connected; they may be connected directly or indirectly through intervening media, or they may be interconnected between two elements. The specific meaning of the above terms in the present invention can be understood in specific cases to those skilled in the art.
Referring to fig. 1, fig. 2, fig. 6, and fig. 7, the present invention provides an embodiment: a novel aluminum alloy door and window machining device comprises a bottom plate 1, a feeder 4 and a polisher 7, wherein a workbench 101 is installed at the top of the bottom plate 1, the bottom plate 1 has a supporting effect on the workbench 101, the workbench 101 provides an installation space for the device, a controller 2 is installed at the top of the bottom plate 1, the controller 2 is located on one side of the workbench 101, the bottom plate 1 has a supporting effect on the controller 2, the controller 2 controls a machine to work, a waste collecting box 3 is installed on the inner wall of the workbench 101, the waste collecting box 3 collects waste materials generated in the aluminum alloy door and window punching process, the feeder 4 is installed at the top of the bottom plate 1, the feeder 4 is located on one side of the workbench 101, the feeder 4 automatically feeds materials to punch, a punching machine 5 is installed at the top of the workbench 101, the punching machine 5 machines and punches aluminum alloy, the polisher 6 is installed at the top of the workbench 101, and the polisher 6 cleans burrs generated after the aluminum alloy is machined by the punching machine 5, the top of the controller 2 is provided with a control button 201, the control button 201 controls the controller 2 to work, the bottom of the waste collection box 3 is provided with a sliding rail 301, the outer wall of the waste collection box 3 is provided with a pipeline I302, the top of the waste collection box 3 is provided with a pipeline II 303, the front of the waste collection box 3 is provided with a handle 304, the waste collection box 3 has a supporting function on the handle 304, the sliding rail 301 facilitates the horizontal movement of the waste collection box 3, waste residues collected inside the waste collection box 3 are cleaned, waste residues generated by punching of a hole pressing cutter 503 slide into the waste collection box 3 through the pipeline I302, burr fragments generated by grinding and polishing inside the polisher 7 enter the waste collection box 3 through the pipeline II 303, the waste collection box 3 plays a role in collecting the fragments, the top of the hole pressing machine 5 is provided with a hydraulic press machine I501 in a penetrating manner, and the bottom of the hydraulic press cutter 503 is arranged at the bottom of the hydraulic machine I501, the inner wall of the hole pressing machine 5 is provided with a fixer 502, the inner wall of the fixer 502 is provided with a support shaft 505, the outer wall of the support shaft 505 is provided with a sliding plate 506, the outer wall of the fixer 502 is provided with a bolt 504, one end of the bolt 504 extends into the outer wall of the sliding plate 506, the inner wall of the fixer 502 is provided with a discharge port 507, the hole pressing machine 5 has a supporting function on a hydraulic machine I501, the hydraulic machine I501 has a supporting function on a hole pressing knife 503, the fixer 502 has a supporting function on the support shaft 505, the support shaft 505 facilitates the sliding plate 506 to horizontally move, aluminum alloy enters the discharge port 507 through the feeder 4, the bolt 504 is rotated, the bolt 504 moves towards the inner wall of the fixer 502 through rotation, the bolt 504 moves to enable the sliding plate 506 to move, the sliding plate 506 moves to enable the space inside the discharge port 507 to be reduced, and the space where the aluminum alloy entering the discharge port 507 is reduced, the aluminum alloy shaking deviation generated when the hole pressing cutter 503 punches the aluminum alloy is prevented, the second hydraulic machine 601 is installed at the top of the polishing machine 6 in a penetrating mode, the polishing brush 602 is installed at the bottom of the second hydraulic machine 601, the polishing machine 6 has a supporting effect on the second hydraulic machine 601, the second hydraulic machine 601 has a supporting effect on the polishing brush 602, and burrs generated after the aluminum alloy is cleaned by the polishing brush 602 and processed by the hole pressing machine 5 are cleaned.
As shown in fig. 1, 4 and 7, a support plate 405 is installed on an outer wall of the feeder 4, a motor 406 is installed on a top of the support plate 405, an output end of the motor 406 is connected with one end of a rotating shaft 401, the other end of the rotating shaft 401 extends into an inner wall of the feeder 4, a gear 402 is installed on the outer wall of the rotating shaft 401 in a surrounding manner, a rack 403 is installed on the inner wall of the feeder 4 in a penetrating manner, the rack 403 is located above the rotating shaft 401, the rack 403 is meshed with the gear 402, a concave groove 404 is installed on a top of the rack 403, the feeder 4 has a supporting function on the support plate 405, the support plate 405 is an installation space of the motor 406, the support plate 405 has a supporting function on the motor 406, the motor 406 rotates clockwise to drive the rotating shaft 401 to rotate, the rotating shaft 401 rotates to drive the gear 402 to rotate, the gear 402 rotates to move the rack 403, the rack 403 moves to drive the concave groove 404 to move towards the puncher 5, the aluminum alloy in the concave groove 404 enters the first discharging port 507 to achieve the purpose of automatic feeding, the aluminum alloy enters the first discharging port 507 through the feeding machine 4, the bolt 504 is rotated, the bolt 504 moves towards the inner wall of the fixing device 502 through rotation, the bolt 504 moves to enable the sliding plate 506 to move, the sliding plate 506 moves to enable the space in the first discharging port 507 to be reduced, the space where the aluminum alloy enters the first discharging port 507 is reduced, and the aluminum alloy is prevented from shaking to generate deviation when the hole pressing knife 503 punches the aluminum alloy.
As shown in fig. 3, 5 and 6, a polisher 7 is mounted on the inner wall of a polishing machine 6, a wind shield 702 is mounted on the back surface of the polisher 7, a dust removing plate 703 is mounted on the front surface of the polisher 7, a reciprocating screw 701 is mounted on the top of the polisher 7 in a penetrating manner, a sliding ring 707 is mounted on the outer wall of the reciprocating screw 701, a polishing plate 705 is mounted on the outer wall of the sliding ring 707, a fan 704 is mounted on the outer wall of the polishing machine 6, a second discharge port 706 is arranged on the inner wall of the polisher 7, the polisher 7 has a supporting function on the wind shield 702, the polisher 7 has a supporting function on the dust removing plate 703, the polisher 7 has a supporting function on the reciprocating screw 701, when a hole punching cutter 503 punches holes on the aluminum alloy, burrs are formed on the surface of the aluminum alloy, when the burrs on the surface of the aluminum alloy entering the second discharge port 706 are cleaned, the reciprocating screw 701 is rotated to move the sliding ring 707, the polishing plate 705 is driven to move when the sliding ring 707 moves, the polishing plate 705 moves to the inside of the second discharge port 706 to clean and polish the burrs on the surface of the aluminum alloy moving in the second discharge port 706, so that the purpose of cleaning the burrs on the surface is achieved, the burrs fall into the second discharge port 706 after being cleaned, and when the burrs generated by grinding and polishing in the polisher 7 are cleaned, the wind shield 702 is moved to block one end of the second discharge port 706, the movable dust removal plate 703 covers the other end of the second discharge port 706, the fan 704 works to generate wind power, the wind power flows to the dust removal plate 703 to push burr debris inside the second discharge port 706, the wind power penetrates through the dust removal plate 703 to reach the outside of the polisher 7, the debris is blocked on the outer wall of the dust removal plate 703 by the dust removal plate 703, the dust removal plate 703 has a filtering effect on air inside the second discharge port 706, and the debris collected by the dust removal plate 703 enters the waste collection box 3 through the second pipeline 303 to collect the debris.
The working principle is that when a processed material is punched, a motor 406 rotates clockwise to drive a rotating shaft 401 to rotate, when the rotating shaft 401 rotates, a gear 402 rotates to drive a rack 403 to move, the rack 403 moves to drive a concave groove 404 to move towards a hole pressing machine 5, aluminum alloy in the concave groove 404 enters the inside of a discharge hole I507, the purpose of automatic feeding is achieved, the aluminum alloy enters the inside of the discharge hole I507 through a feeding machine 4, a bolt 504 rotates and moves towards the inner wall of a fixing device 502 through rotation, the bolt 504 moves to drive a sliding plate 506 to move, the space in the discharge hole I507 is reduced through movement of the sliding plate 506, the space where the aluminum alloy enters the discharge hole I507 is reduced, deviation of aluminum alloy shaking generated during punching and processing of the aluminum alloy by a hole pressing knife 503 is prevented, burrs are formed on the surface of the aluminum alloy during punching and processing of the aluminum alloy by the hole pressing knife 503, when burrs on the surface of the aluminum alloy entering the second discharge port 706 are cleaned, the reciprocating screw rod 701 is rotated to enable the sliding ring 707 to move, the sliding ring 707 moves when moving, the polishing plate 705 moves to the inside of the second discharge port 706 to clean and polish the burrs on the surface of the aluminum alloy moving in the second discharge port 706, the purpose of cleaning the burrs on the surface is achieved, the burrs fall into the second discharge port 706 after being cleaned, when burr scraps generated by polishing and polishing in the polisher 7 are cleaned, the wind shield 702 is moved to block one end of the second discharge port 706, the dust removal plate 703 is moved to cover the other end of the second discharge port 706, wind power is generated when the fan 704 works, the wind power flows to the dust removal plate 703 to push the burr scraps in the second discharge port 706, the wind power penetrates through the dust removal plate 703 to reach the outside of the polisher 7, the scraps are blocked on the outer wall of the dust removal plate 703, and the dust removal plate 703 has a filtering effect on air in the second discharge port 706, the debris collected by the dust removing plate 703 enters the interior of the waste collection box 3 through the second pipe 303, and the debris is collected.
It is obvious to a person skilled in the art that the invention is not restricted to details of the above-described exemplary embodiments, but that it can be implemented in other specific forms without departing from the spirit or essential characteristics of the invention. The present embodiments are therefore to be considered in all respects as illustrative and not restrictive, the scope of the invention being indicated by the appended claims rather than by the foregoing description, and all changes which come within the meaning and range of equivalency of the claims are therefore intended to be embraced therein. Any reference sign in a claim should not be construed as limiting the claim concerned.

Claims (6)

1. The utility model provides a novel aluminum alloy door and window processingequipment, includes bottom plate (1), feeder (4) and polisher (7), its characterized in that: the top of the bottom plate (1) is provided with a workbench (101), the top of the bottom plate (1) is provided with a controller (2), the controller (2) is located on one side of the workbench (101), the inner wall of the workbench (101) is provided with a waste collection box (3), the top of the bottom plate (1) is provided with a feeder (4), and the feeder (4) is located on one side of the workbench (101);
a supporting plate (405) is installed on the outer wall of the feeder (4), a motor (406) is installed at the top of the supporting plate (405), the output end of the motor (406) is connected with one end of a rotating shaft (401), the other end of the rotating shaft (401) extends into the inner wall of the feeder (4), a gear (402) is installed on the outer wall of the rotating shaft (401) in a surrounding mode, a rack (403) is installed on the inner wall of the feeder (4) in a penetrating mode, the rack (403) is located above the rotating shaft (401), the rack (403) is meshed with the gear (402), and a concave groove (404) is installed at the top of the rack (403);
the top of the workbench (101) is provided with a hole pressing machine (5), and the top of the workbench (101) is provided with a polishing machine (6).
2. The novel aluminum alloy door and window processing device of claim 1, characterized in that: and a control button (201) is arranged at the top of the controller (2).
3. The novel aluminum alloy door and window processing device of claim 1, characterized in that: the bottom of the waste collection box (3) is provided with a sliding rail (301), the outer wall of the waste collection box (3) is provided with a first pipeline (302), the top of the waste collection box (3) is provided with a second pipeline (303), and the front of the waste collection box (3) is provided with a handle (304).
4. The novel aluminum alloy door and window processing device of claim 1, characterized in that: the top of pressure hole machine (5) is run through and is installed hydraulic press (501), the bottom of hydraulic press (501) is installed and is pressed hole sword (503), fixer (502) are installed to the inner wall of pressure hole machine (5), back shaft (505) are installed to the inner wall of fixer (502), sliding plate (506) are installed to the outer wall of back shaft (505), bolt (504) are installed to the outer wall of fixer (502), and the one end of bolt (504) extends into the outer wall of sliding plate (506), the inner wall of fixer (502) is equipped with discharge gate (507).
5. The novel aluminum alloy door and window processing device of claim 1, characterized in that: and a second hydraulic machine (601) penetrates through the top of the polishing machine (6), and a polishing hairbrush (602) is arranged at the bottom of the second hydraulic machine (601).
6. The novel aluminum alloy door and window processing device of claim 1, characterized in that: polisher (7) are installed to the inner wall of burnishing machine (6), the back mounted of polisher (7) has deep bead (702), dust removal board (703) are installed to the front of polisher (7), the top of polisher (7) is run through and is installed reciprocal lead screw (701), outer wall slip ring (707) of reciprocal lead screw (701), polishing board (705) are installed to the outer wall of slip ring (707), fan (704) are installed to the outer wall of burnishing machine (6), the inner wall of polisher (7) is equipped with discharge gate two (706).
CN202121755344.5U 2021-07-30 2021-07-30 Novel aluminum alloy door and window processing device Expired - Fee Related CN215239232U (en)

Priority Applications (1)

Application Number Priority Date Filing Date Title
CN202121755344.5U CN215239232U (en) 2021-07-30 2021-07-30 Novel aluminum alloy door and window processing device

Applications Claiming Priority (1)

Application Number Priority Date Filing Date Title
CN202121755344.5U CN215239232U (en) 2021-07-30 2021-07-30 Novel aluminum alloy door and window processing device

Publications (1)

Publication Number Publication Date
CN215239232U true CN215239232U (en) 2021-12-21

Family

ID=79495943

Family Applications (1)

Application Number Title Priority Date Filing Date
CN202121755344.5U Expired - Fee Related CN215239232U (en) 2021-07-30 2021-07-30 Novel aluminum alloy door and window processing device

Country Status (1)

Country Link
CN (1) CN215239232U (en)

Cited By (1)

* Cited by examiner, † Cited by third party
Publication number Priority date Publication date Assignee Title
CN119282696A (en) * 2024-10-26 2025-01-10 河南经纬电力科技股份有限公司 Automatic punching device for composite insulator fittings production

Cited By (1)

* Cited by examiner, † Cited by third party
Publication number Priority date Publication date Assignee Title
CN119282696A (en) * 2024-10-26 2025-01-10 河南经纬电力科技股份有限公司 Automatic punching device for composite insulator fittings production

Similar Documents

Publication Publication Date Title
CN215239232U (en) Novel aluminum alloy door and window processing device
CN218800870U (en) A CNC milling machine with self-cleaning function
CN210756675U (en) Drilling machine convenient to clearance piece
CN213164382U (en) Waste collecting device of aluminum alloy door and window cutting sawing machine
CN218487886U (en) Follow-up cleaning device for numerical control cutting machine tool for aluminum plate
CN217860083U (en) Drilling machine for processing hardware metal products
CN215357208U (en) Drilling and cleaning device for aluminum alloy door and window profiles
CN210147633U (en) Milling machine with cleaning device
CN215787190U (en) Saw blade processing is with cutting head punching device of being convenient for collect waste material
CN211305881U (en) Machine tool spare part is with dustless formula grinding device
CN213380508U (en) Numerical control machine tool capable of collecting waste materials
CN211759787U (en) Disc type multi-station pen point processing equipment
CN211709555U (en) Tenoning machine convenient to clearance miscellaneous dirt
CN218284752U (en) Waste cleaning device of milling machine for machining mechanical parts
CN210046084U (en) Cutting equipment is used in panel beating material processing convenient to collect sweeps
CN218694115U (en) Air conditioner metal insert perforating device
CN217071559U (en) Roller inclined guide rail built-in processing tool
CN216178831U (en) Waste collecting device for drilling machine
CN215317331U (en) Garbage collection device for workshop lathe
CN221581617U (en) Storage battery frame assembly punching machine with polishing function
CN217254896U (en) Cutting device for processing bearing ring
CN217964849U (en) Drilling equipment that machine parts processing was used
CN215941733U (en) Gear hobbing equipment for gear production and processing
CN221112387U (en) Prevent piece collection device that splashes
CN217750610U (en) Waste collecting device for sheet metal machining

Legal Events

Date Code Title Description
GR01 Patent grant
GR01 Patent grant
CF01 Termination of patent right due to non-payment of annual fee
CF01 Termination of patent right due to non-payment of annual fee

Granted publication date: 20211221