CN215230594U - Diversified oral cavity maxillofacial surgery is apparatus degassing unit for operation - Google Patents

Diversified oral cavity maxillofacial surgery is apparatus degassing unit for operation Download PDF

Info

Publication number
CN215230594U
CN215230594U CN202121422380.XU CN202121422380U CN215230594U CN 215230594 U CN215230594 U CN 215230594U CN 202121422380 U CN202121422380 U CN 202121422380U CN 215230594 U CN215230594 U CN 215230594U
Authority
CN
China
Prior art keywords
plate
disinfection
box body
rotating shaft
automatic telescopic
Prior art date
Legal status (The legal status is an assumption and is not a legal conclusion. Google has not performed a legal analysis and makes no representation as to the accuracy of the status listed.)
Expired - Fee Related
Application number
CN202121422380.XU
Other languages
Chinese (zh)
Inventor
王强
杨森
郭丽娟
张欢
贾宝林
羊正林
任俊
罗佳
Current Assignee (The listed assignees may be inaccurate. Google has not performed a legal analysis and makes no representation or warranty as to the accuracy of the list.)
Suining Central Hospital
Original Assignee
Suining Central Hospital
Priority date (The priority date is an assumption and is not a legal conclusion. Google has not performed a legal analysis and makes no representation as to the accuracy of the date listed.)
Filing date
Publication date
Application filed by Suining Central Hospital filed Critical Suining Central Hospital
Priority to CN202121422380.XU priority Critical patent/CN215230594U/en
Application granted granted Critical
Publication of CN215230594U publication Critical patent/CN215230594U/en
Expired - Fee Related legal-status Critical Current
Anticipated expiration legal-status Critical

Links

Images

Landscapes

  • Apparatus For Disinfection Or Sterilisation (AREA)

Abstract

本实用新型公开了一种多方位口腔颌面外科手术用器械消毒装置,包括箱体、自动伸缩杆和排水板,所述箱体的内部设置有消毒喷头,且箱体的内部设置有烘干风机,并且烘干风机位于消毒喷头的左右两侧,所述箱体的底部设置有驱动电机,且驱动电机的上方连接有转轴,并且转轴位于箱体的下方内部。该一种多方位口腔颌面外科手术用器械消毒装置,通过转轴转动带动连接的消毒盘转动,消毒盘转动方便对放置在上面的物品进行转动,从而有利于提高对物品消毒的全面性,同时,在消毒盘转动的时候,自动伸缩杆底部的滑块在滑槽内移动,从而有利于配合夹持板转动,帮助物品在转动时一直保持夹紧的状态,防止滑落,提高消毒质量。

Figure 202121422380

The utility model discloses a multi-directional oral and maxillofacial surgical instrument sterilization device, which comprises a box body, an automatic telescopic rod and a drainage plate. A disinfection nozzle is arranged inside the box body, and a drying device is arranged inside the box body. The drying fan is located on the left and right sides of the sterilizing nozzle, the bottom of the box is provided with a driving motor, and the top of the driving motor is connected with a rotating shaft, and the rotating shaft is located inside the lower part of the box. The multi-directional device for sterilizing instruments for oral and maxillofacial surgery is driven by the rotation of the rotating shaft to drive the connected sterilization disk to rotate, and the rotation of the sterilization disk facilitates the rotation of the items placed on it, thereby helping to improve the comprehensiveness of sterilization of items, and at the same time , When the disinfection plate rotates, the slider at the bottom of the automatic telescopic rod moves in the chute, which is beneficial to cooperate with the rotation of the clamping plate, helps the object to keep the clamped state during rotation, prevents slipping, and improves the quality of disinfection.

Figure 202121422380

Description

Diversified oral cavity maxillofacial surgery is apparatus degassing unit for operation
Technical Field
The utility model relates to a degassing unit technical field specifically is a diversified oral cavity maxillofacial surgery uses apparatus degassing unit.
Background
The sterilization device is used for sterilizing and disinfecting food, tableware, towels, medical instruments, living goods and the like by means of ultraviolet rays, remote infrared rays, high temperature, ozone and the like, is a common essential item in the medical field, is generally used for sterilizing instruments for operations, medical supplies and the like to sterilize and prevent bacterial infection, helps treatment and is an indispensable part in the medical field.
1. In current degassing unit, the complicated operation of not being convenient for of general degassing unit structure leads to complex operation at the in-process that the medical treatment used to work efficiency has been reduced, and among the current degassing unit, not comprehensive enough when the disinfection, lead to the effect not good, thereby influence subsequent disinfection work and treatment.
2. And the existing disinfection device lacks the clamping of articles in the disinfection process, thereby causing the articles to shift or slide off when the equipment is operated during disinfection, resulting in incomplete disinfection area, reducing the disinfection quality and further influencing the use of medical instruments.
SUMMERY OF THE UTILITY MODEL
An object of the utility model is to provide a diversified oral cavity maxillofacial surgery is with apparatus degassing unit, in current degassing unit with what solve above-mentioned background art and propose, the complicated operation of being not convenient for of general degassing unit structure, lead to at the in-process complex operation of medical use, thereby work efficiency has been reduced, and among the current degassing unit, it is not enough comprehensive when disinfecting, lead to the effect not good, thereby influence subsequent disinfection work and treatment, and current degassing unit is at sterile in-process, lack the centre gripping to article, thereby lead to equipment operation to make article take place to squint or landing when disinfecting, lead to the disinfection area incomplete, reduce the disinfection quality, and then influence the problem of the use of medical apparatus.
In order to achieve the above object, the utility model provides a following technical scheme: an instrument disinfection device for multi-azimuth oral and maxillofacial surgery comprises a box body, an automatic telescopic rod and a drainage plate, wherein a disinfection spray nozzle is arranged in the box body, a drying fan is arranged in the box body and is positioned on the left side and the right side of the disinfection spray nozzle, a driving motor is arranged at the bottom of the box body, a rotating shaft is connected above the driving motor and is positioned in the lower part of the box body, a disinfection disc is arranged above the rotating shaft, a supporting plate is arranged outside the disinfection disc, a connecting plate is arranged above the supporting plate, a screw rod is inserted in the connecting plate, a lantern ring is sleeved outside the screw rod, the supporting plate is arranged in the box body, a clamping plate is inserted in the supporting plate and is positioned below the connecting plate, the screw rod is arranged above the clamping plate, and the automatic telescopic rod is arranged outside the clamping plate, the automatic telescopic rod is located inside the box body, the sliding block is arranged outside the automatic telescopic rod, the sliding block is connected inside the sliding groove, the sliding groove is formed in the outer surface of the connecting ring, the connecting ring is installed inside the box body, the drainage plate is located below the disinfection disc and is installed below the inside of the box body, the surface of the drainage plate is provided with drainage holes, the middle of the drainage plate is inserted with a rotating shaft, and the left side of the box body is provided with a drainage pipe.
Preferably, the disinfection disc and the box body form a rotating structure, and the disinfection disc is connected with the supporting plate in a welding mode.
Preferably, the supporting plate and the connecting plate are arranged in an L-shaped structure, and a through hole in sliding connection with the screw rod is formed in the surface of the connecting plate.
Preferably, the screw rod is in threaded connection with the lantern ring, and the screw rod and the clamping plate form a rotating structure.
Preferably, the clamping plates are symmetrically distributed about the disinfection plate, and the inside of the supporting plate is provided with a sliding hole in sliding connection with the clamping plates.
Preferably, the connecting ring is arranged in a circular ring structure and is welded with the box body.
Compared with the prior art, the beneficial effects of the utility model are that: an apparatus disinfection device for multi-azimuth oral and maxillofacial surgery;
1. the rotating shaft rotates to drive the connected disinfection disc to rotate, the disinfection disc rotates to conveniently rotate the articles placed on the disinfection disc, so that the comprehensiveness of disinfection of the articles is improved, and meanwhile, when the disinfection disc rotates, the sliding block at the bottom of the automatic telescopic rod moves in the sliding groove, so that the clamping plate is matched to rotate, the articles are kept in a clamping state all the time when rotating, the articles are prevented from sliding off, and the disinfection quality is improved;
2. the waste water after disinfection flows to the bottom of the box body through the water outlet on the drainage plate and is discharged through the drainage hole, and finally, the objects after disinfection and cleaning are dried by the drying fan, so that the whole disinfection work is completed, and the operation is convenient.
Drawings
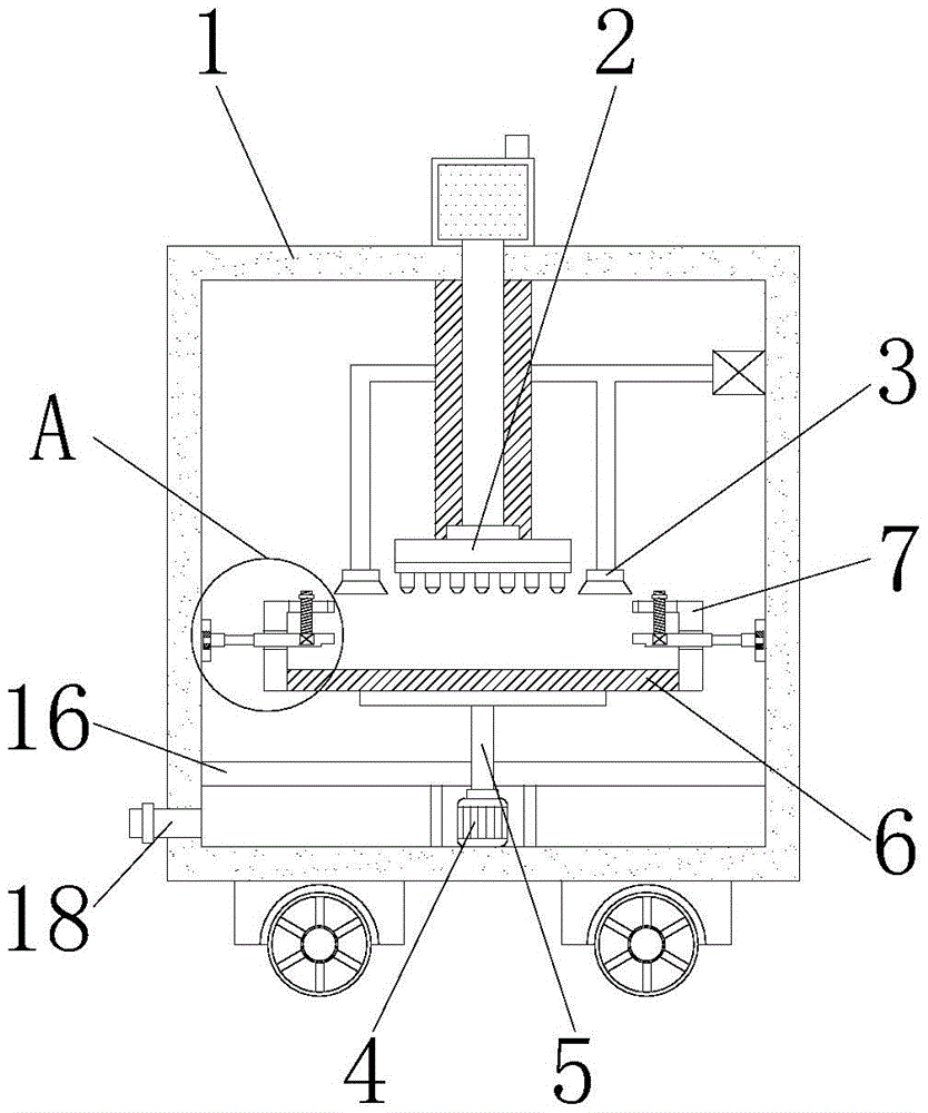
FIG. 1 is a front view of the present invention;
FIG. 2 is an enlarged schematic view of the structure at A of FIG. 1 according to the present invention;
FIG. 3 is a schematic top view of the sterilizing tray and the connecting ring according to the present invention;
FIG. 4 is an enlarged schematic view of the structure of FIG. 3B according to the present invention;
fig. 5 is a schematic view of the structure of the drain board of the present invention.
In the figure: 1. a box body; 2. a disinfection nozzle; 3. drying the fan; 4. a drive motor; 5. a rotating shaft; 6. a sterilizing tray; 7. a support plate; 8. a connecting plate; 9. a screw; 10. a collar; 11. a clamping plate; 12. automatically telescoping the rod; 13. a slider; 14. a chute; 15. a connecting ring; 16. a drain plate; 17. a drain hole; 18. and a water discharge pipe.
Detailed Description
The technical solutions in the embodiments of the present invention will be described clearly and completely with reference to the accompanying drawings in the embodiments of the present invention, and it is obvious that the described embodiments are only some embodiments of the present invention, not all embodiments. Based on the embodiments in the present invention, all other embodiments obtained by a person skilled in the art without creative work belong to the protection scope of the present invention.
Referring to fig. 1-5, the present invention provides a technical solution: an instrument disinfection device for multi-azimuth oral and maxillofacial surgery comprises a box body 1, an automatic telescopic rod 12 and a drainage plate 16, wherein a disinfection spray nozzle 2 is arranged inside the box body 1, a drying fan 3 is arranged inside the box body 1, the drying fan 3 is positioned at the left side and the right side of the disinfection spray nozzle 2, a driving motor 4 is arranged at the bottom of the box body 1, a rotating shaft 5 is connected above the driving motor 4, the rotating shaft 5 is positioned inside the lower part of the box body 1, a disinfection disc 6 is arranged above the rotating shaft 5, a support plate 7 is arranged outside the disinfection disc 6, a connecting plate 8 is arranged above the support plate 7, a screw rod 9 is inserted inside the connecting plate 8, a lantern ring 10 is sleeved outside the screw rod 9, the support plate 7 is arranged inside the box body 1, a clamping plate 11 is inserted inside the support plate 7, and the clamping plate 11 is positioned below the connecting plate 8, and the top of grip block 11 is provided with screw rod 9, automatic telescopic link 12 is installed in the outside of grip block 11, and automatic telescopic link 12 is located the inside of box 1, and the outside of automatic telescopic link 12 is provided with slider 13, slider 13 is connected in the inside of spout 14, and spout 14 sets up the surface at go-between 15, and go-between 15 installs in the inside of box 1, drain bar 16 is located the below of disinfection dish 6, and drain bar 16 installs in the inside below of box 1, drain hole 17 has been seted up on the surface of drain bar 16, and the centre of drain bar 16 is worn to insert has pivot 5, the left side of box 1 is provided with drain pipe 18.
Disinfecting dish 6 and box 1 constitution revolution mechanic, and disinfecting dish 6 and backup pad 7 welded connection, 5 rotations of pivot drive connect disinfect dish 6 rotate, disinfect dish 6 rotate convenient article to place above that rotate to be favorable to improving the comprehensive nature disinfected to article.
Backup pad 7 is "L" type structure setting with connecting plate 8, and the surface of connecting plate 8 set up with screw rod 9 sliding connection's through-hole, through the cooperation with automatic telescopic link 12 use, promote grip block 11 until carrying out the centre gripping with article can.
The screw 9 is in threaded connection with the lantern ring 10, the screw 9 and the clamping plate 11 form a rotating structure, the screw 9 rotates to drive the lantern ring 10 in threaded connection to move on the screw 9, and the lantern ring 10 moves to release the fixation of the screw 9, so that the clamping plate 11 is conveniently released from the fixation.
The clamping plate 11 is symmetrically distributed about the disinfection plate 6, the inside of the supporting plate 7 is provided with a sliding hole which is in sliding connection with the clamping plate 11, the clamping plate 11 rotates, the articles are kept in a clamping state all the time when rotating, slipping is prevented, and the disinfection quality is improved.
The connecting ring 15 is arranged in a circular ring structure, the connecting ring 15 is connected with the box body 1 in a welding mode, and the sliding block 13 at the bottom of the automatic telescopic rod 12 moves in the sliding groove 14, so that the rotation of the clamping plate 11 is matched favorably.
The working principle is as follows: according to the figures 1-5, the medical apparatus to be disinfected is placed on the disinfection plate 6, the screw rod 9 is driven to rotate by starting the servo motor, the screw rod 9 rotates to drive the lantern ring 10 in threaded connection to move on the screw rod 9, the movement of the lantern ring 10 removes the fixation of the screw rod 9, so that the clamping plate 11 is conveniently removed from the fixation, then, the clamping plate 11 is pushed until the object is clamped by matching with the automatic telescopic rod 12, then, the servo motor is started again to drive the screw rod 9 to rotate so as to move the lantern ring 10 to lock the screw rod 9, so that the clamping plate 11 is conveniently fixed on the clamped object, then, the driving motor 4 is started to drive the rotating shaft 5 to rotate, the rotating shaft 5 rotates to drive the disinfection plate 6 connected, the disinfection plate 6 rotates to conveniently rotate the object placed on the disinfection plate, and therefore the comprehensiveness of the object disinfection is improved, meanwhile, when the sterilizing tray 6 rotates, the slide block 13 at the bottom of the automatic telescopic rod 12 moves in the chute 14, thereby being beneficial to matching with the rotation of the clamping plate 11, helping articles to keep a clamped state all the time when rotating, preventing slipping, improving the sterilizing quality, then, sterilizing liquid is injected into the sterilizing spray head 2 through the automatic sterilizer above, the sterilizing spray head 2 sprays the sterilizing liquid on the sterilizing tray 6 to sterilize the clamped articles, then, an ozone system and an ultraviolet system in the equipment are started to carry out deep sterilization, thereby completing the sterilizing work, the sterilized waste water flows to the bottom of the box body 1 through a water outlet on the drainage plate 16 and is discharged through a drainage pipe 18, and finally, the sterilized and cleaned articles are dried by the drying fan 3, thereby completing the whole sterilizing work and being convenient to operate, namely the use method of the multi-azimuth oral and maxillofacial surgery instrument sterilizing device, this is done so that the details not described in the present specification are within the skill of the art that is well known to those skilled in the art.
Although the present invention has been described in detail with reference to the foregoing embodiments, it will be apparent to those skilled in the art that modifications may be made to the embodiments or portions thereof without departing from the spirit and scope of the invention.

Claims (6)

1. The utility model provides a diversified oral cavity maxillofacial surgery is apparatus degassing unit for operation, includes box (1), automatic telescopic link (12) and drain bar (16), its characterized in that: the disinfection device is characterized in that a disinfection spray head (2) is arranged in the box body (1), a drying fan (3) is arranged in the box body (1), the drying fan (3) is positioned at the left side and the right side of the disinfection spray head (2), a driving motor (4) is arranged at the bottom of the box body (1), a rotating shaft (5) is connected above the driving motor (4), the rotating shaft (5) is positioned in the lower portion of the box body (1), a disinfection disc (6) is arranged above the rotating shaft (5), a support plate (7) is installed outside the disinfection disc (6), a connecting plate (8) is arranged above the support plate (7), a screw rod (9) is inserted in the connecting plate (8), a lantern ring (10) is sleeved outside the screw rod (9), the support plate (7) is installed in the box body (1), a clamping plate (11) is inserted in the support plate (7), the clamping plate (11) is positioned below the connecting plate (8), a screw rod (9) is arranged above the clamping plate (11), the automatic telescopic rod (12) is arranged outside the clamping plate (11), the automatic telescopic rod (12) is positioned inside the box body (1), and the outer part of the automatic telescopic rod (12) is provided with a slide block (13), the slide block (13) is connected with the inner part of the sliding chute (14), the sliding chute (14) is arranged on the outer surface of the connecting ring (15), and the connecting ring (15) is arranged inside the box body (1), the drain board (16) is positioned below the disinfection disk (6), and the drainage plate (16) is arranged at the lower part of the inner part of the box body (1), the surface of the drainage plate (16) is provided with a drainage hole (17), and the middle of the drainage plate (16) is inserted with the rotating shaft (5), and the left side of the box body (1) is provided with a drainage pipe (18).
2. The multi-orientation oromaxillofacial surgical instrument disinfection apparatus of claim 1, further comprising: the disinfection plate (6) and the box body (1) form a rotating structure, and the disinfection plate (6) is connected with the supporting plate (7) in a welding mode.
3. The multi-orientation oromaxillofacial surgical instrument disinfection apparatus of claim 1, further comprising: the supporting plate (7) and the connecting plate (8) are arranged in an L-shaped structure, and through holes which are connected with the screw rods (9) in a sliding mode are formed in the surface of the connecting plate (8).
4. The multi-orientation oromaxillofacial surgical instrument disinfection apparatus of claim 1, further comprising: the screw rod (9) is in threaded connection with the lantern ring (10), and the screw rod (9) and the clamping plate (11) form a rotating structure.
5. The multi-orientation oromaxillofacial surgical instrument disinfection apparatus of claim 1, further comprising: the clamping plates (11) are symmetrically distributed relative to the disinfection plate (6), and sliding holes which are connected with the clamping plates (11) in a sliding mode are formed in the supporting plate (7).
6. The multi-orientation oromaxillofacial surgical instrument disinfection apparatus of claim 1, further comprising: the connecting ring (15) is arranged in a circular ring structure, and the connecting ring (15) is connected with the box body (1) in a welding mode.
CN202121422380.XU 2021-06-24 2021-06-24 Diversified oral cavity maxillofacial surgery is apparatus degassing unit for operation Expired - Fee Related CN215230594U (en)

Priority Applications (1)

Application Number Priority Date Filing Date Title
CN202121422380.XU CN215230594U (en) 2021-06-24 2021-06-24 Diversified oral cavity maxillofacial surgery is apparatus degassing unit for operation

Applications Claiming Priority (1)

Application Number Priority Date Filing Date Title
CN202121422380.XU CN215230594U (en) 2021-06-24 2021-06-24 Diversified oral cavity maxillofacial surgery is apparatus degassing unit for operation

Publications (1)

Publication Number Publication Date
CN215230594U true CN215230594U (en) 2021-12-21

Family

ID=79483244

Family Applications (1)

Application Number Title Priority Date Filing Date
CN202121422380.XU Expired - Fee Related CN215230594U (en) 2021-06-24 2021-06-24 Diversified oral cavity maxillofacial surgery is apparatus degassing unit for operation

Country Status (1)

Country Link
CN (1) CN215230594U (en)

Similar Documents

Publication Publication Date Title
CN108273081B (en) Medical scalpel disinfection and sterilization method
CN208693696U (en) A kind of operating room nursing vehicle special
CN202982706U (en) Sterilizer for medical oncology
CN109807101A (en) Gynaecology is cleaned with medical treatment and nursing articles and chlorination equipment
CN108378935A (en) A kind of medical surgical knife cleaning appts
CN109201622A (en) A kind of medical cleaning and sterilizing equipment
CN108210948A (en) A kind of scalpel high-efficiency cleaning disinfecting instrument
CN215230594U (en) Diversified oral cavity maxillofacial surgery is apparatus degassing unit for operation
CN213554016U (en) Surgical instrument sterilizing and disinfecting device convenient to move
CN207745206U (en) A kind of operation device cleaning disinfection device
CN213964489U (en) Universal nursing disinfection device
CN212913929U (en) A degassing unit for medical instrument
CN211884624U (en) Surgical tool disinfection device
CN216570867U (en) Instrument sterilization apparatus is used in nursing based on disinfection supply center
CN210936154U (en) Scalpel cleaning and disinfecting device for otology
CN214343604U (en) Medical instrument disinfecting equipment
CN211132281U (en) Ultrasonic department probe disinfecting equipment
CN212037784U (en) An adjustable general surgery wound care and cleaning device
CN212792126U (en) Medical orthopedics belt cleaning device
KR20140005110U (en) Endoscope Washer Cabinet
CN112676235A (en) Cleaning and disinfecting equipment for operating room instruments and using method thereof
CN211751229U (en) Pediatric digestive system instrument disinfection device
CN215176593U (en) Disinfection drying device for surgical knife
CN215960358U (en) Disinfection nursing device for general surgery department operation
CN212490885U (en) Device of disinfection cabinet for medical scalpel

Legal Events

Date Code Title Description
GR01 Patent grant
GR01 Patent grant
CF01 Termination of patent right due to non-payment of annual fee

Granted publication date: 20211221

CF01 Termination of patent right due to non-payment of annual fee