CN215140923U - A kind of screw cutting impurity removal device for feed production - Google Patents

A kind of screw cutting impurity removal device for feed production Download PDF

Info

Publication number
CN215140923U
CN215140923U CN202120626610.8U CN202120626610U CN215140923U CN 215140923 U CN215140923 U CN 215140923U CN 202120626610 U CN202120626610 U CN 202120626610U CN 215140923 U CN215140923 U CN 215140923U
Authority
CN
China
Prior art keywords
box
screening
impurity removing
spiral
impurity
Prior art date
Legal status (The legal status is an assumption and is not a legal conclusion. Google has not performed a legal analysis and makes no representation as to the accuracy of the status listed.)
Expired - Fee Related
Application number
CN202120626610.8U
Other languages
Chinese (zh)
Inventor
袁珍虎
王青
季海波
胡佩红
叶委
夏银海
孙骥
刘爱林
Current Assignee (The listed assignees may be inaccurate. Google has not performed a legal analysis and makes no representation or warranty as to the accuracy of the list.)
HUAIAN ZHENGCHANG FEED CO Ltd
Original Assignee
HUAIAN ZHENGCHANG FEED CO Ltd
Priority date (The priority date is an assumption and is not a legal conclusion. Google has not performed a legal analysis and makes no representation as to the accuracy of the date listed.)
Filing date
Publication date
Application filed by HUAIAN ZHENGCHANG FEED CO Ltd filed Critical HUAIAN ZHENGCHANG FEED CO Ltd
Priority to CN202120626610.8U priority Critical patent/CN215140923U/en
Application granted granted Critical
Publication of CN215140923U publication Critical patent/CN215140923U/en
Expired - Fee Related legal-status Critical Current
Anticipated expiration legal-status Critical

Links

Images

Landscapes

  • Combined Means For Separation Of Solids (AREA)

Abstract

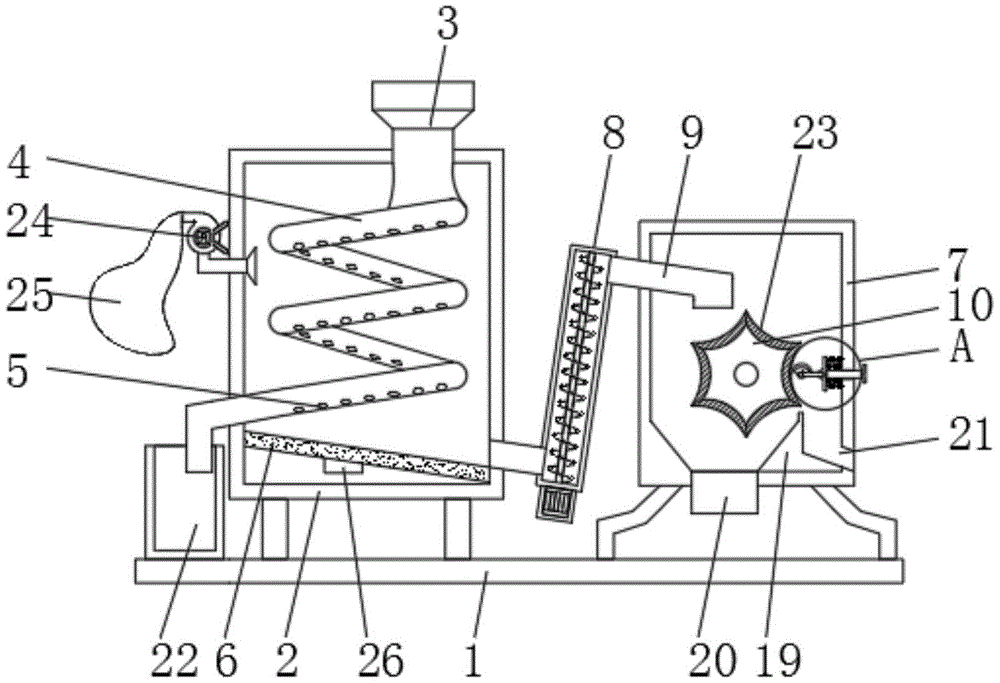
本实用新型公开了一种饲料生产用螺旋下料除杂装置,包括底板,底板的顶部一侧固定有筛选箱,筛选箱的顶部固定安装有进料口,进料口的底部延伸至筛选箱的内部并固定连接有螺旋下料管,螺旋下料管的底部均匀开设有筛选孔,筛选箱的两侧内壁于螺旋下料管的下方固定有导料板,筛选箱的一侧设有除杂箱,筛选箱与除杂箱之间设有螺旋输送机,螺旋输送机的一侧底部与筛选箱相连通,螺旋输送机的输出端固定连接有送料管,除杂箱的前后两侧内壁转动连接有永磁筒,送料管的下端位于永磁筒的左上方,除杂箱的前侧外壁底部固定有电机。本实用新型通过设置螺旋下料管筛选出大颗粒杂质,然后通过永磁筒吸附金属杂质,从而提高除杂效率和除杂效果。

Figure 202120626610

The utility model discloses a screw feeding and impurity removing device for feed production, comprising a bottom plate, a screening box is fixed on one side of the top of the bottom plate, a feeding port is fixedly installed on the top of the screening box, and the bottom of the feeding port extends to the screening box Inside and fixedly connected with a spiral feeding pipe, the bottom of the spiral feeding pipe is evenly provided with screening holes, the inner walls of both sides of the screening box are fixed with guide plates under the spiral feeding pipe, and one side of the screening box is provided with a filter. Miscellaneous box, a screw conveyor is arranged between the screening box and the trash removal box, the bottom of one side of the screw conveyor is connected with the screening box, the output end of the screw conveyor is fixedly connected with a feeding pipe, and the inner walls of the front and rear sides of the trash removal box are fixed. A permanent magnet cylinder is rotatably connected, the lower end of the feeding pipe is located at the upper left of the permanent magnet cylinder, and a motor is fixed at the bottom of the front outer wall of the trash removal box. The utility model screens out large-particle impurities by setting a spiral feeding tube, and then absorbs metal impurities through a permanent magnet cylinder, thereby improving the impurity removal efficiency and the impurity removal effect.

Figure 202120626610

Description

Spiral unloading edulcoration device for feed production
Technical Field
The utility model relates to a fodder edulcoration technical field specifically is a spiral unloading edulcoration device for feed production.
Background
Feed processing means is applicable to the farm, the livestock is raised to the peasant household, the feed production processing activity of poultry, at feed processing's in-process, because the fodder all includes multiple material usually, so the processing of mixing is indispensable one step to the fodder, but because how much can be mingled with some great particulate matters or impurity etc. in earlier stage course of working, and lead to subsequent stirring can not be better going on, so with this part of impurity separation just be a comparatively important process, consequently, the demand to feed processing screening edulcoration device is growing day by day.
Traditional fodder edulcoration mostly just carries out simple screening, and the edulcoration effect is poor, leads to the fodder quality poor, influences the effect of feeding.
SUMMERY OF THE UTILITY MODEL
An object of the utility model is to provide a spiral unloading edulcoration device for feed production to solve the problem that proposes in the above-mentioned background art.
In order to solve the technical problem, the utility model provides a following technical scheme: a spiral discharging impurity removing device for feed production comprises a bottom plate, wherein a screening box is fixed on one side of the top of the bottom plate, a feed inlet is fixedly arranged at the top of the screening box, the bottom of the feed inlet extends into the screening box and is fixedly connected with a spiral discharging pipe, screening holes are uniformly formed in the bottom of the spiral discharging pipe, guide plates are fixed on the inner walls of the two sides of the screening box below the spiral discharging pipe, an impurity removing box is arranged on one side of the screening box, a spiral conveyor is arranged between the screening box and the impurity removing box, the bottom of one side of the spiral conveyor is communicated with the screening box, an output end of the spiral conveyor penetrates through the upper end of one side of the impurity removing box and is fixedly connected with a feeding pipe, permanent magnetic drums are rotatably connected to the inner walls of the front side and the rear side of the impurity removing box, and the lower end of the feeding pipe is positioned above the left of the permanent magnetic drums, a motor is fixed at the bottom of the outer wall of the front side of the impurity removing box, a first belt pulley is fixedly installed on an output shaft of the motor, one end of the permanent magnetic cylinder penetrates through the front side of the impurity removing box and is fixedly provided with a second belt pulley, the second belt pulley is in transmission connection with the first belt pulley through a belt, one side of the impurity removing box is provided with a movable rod in a penetrating way, one end of the movable rod extends into the impurity removing box and is fixedly connected with a side plate, a support rod is fixedly connected with one side of the side plate close to the permanent magnetic cylinder, an arc-shaped scraper blade is fixedly arranged at the end part of the support rod, a plurality of springs are fixedly connected between one side of the side plate far away from the permanent magnetic cylinder and the inner wall of one side of the impurity removing box, the bottom of one side of edulcoration case is fixed and is equipped with the baffle, the left side of baffle is equipped with the fodder export, the miscellaneous mouth of row has been seted up on the right side of baffle in the bottom of one side of edulcoration case.
Furthermore, the screening case is kept away from one side of edulcoration case is equipped with the receiving frame, the bottom of spiral unloading pipe runs through one side lower extreme of screening case and extends to the inside of receiving the frame, is convenient for receive the great impurity of granule to collect it.
Furthermore, a plurality of grooves are evenly formed in the outer wall of the permanent magnet barrel along the circumference square, the contact area between the permanent magnet barrel and metal impurities is increased by arranging the grooves, and the permanent magnet barrel is adsorbed on the permanent magnet barrel, so that the permanent magnet barrel is prevented from being mixed with feed.
Further, the tip of arc scraper blade with the recess internal surface contacts, strikes off the impurity on recess surface through the arc scraper blade, and the arc scraper blade is under the effort of spring, all the time with recess internal surface contact, ensure striking off thoroughly of impurity to the edulcoration effect has been improved.
Further, what filter the case keeps away from one side upper end fixed mounting of edulcoration case has the air exhauster, the air intake of air exhauster extends to filter incasement portion, the air outlet of air exhauster is connected with the dust bag, is convenient for adsorb impurity such as the dust of filter incasement to collect in the dust bag, thereby reduce the pollution that the edulcoration process produced.
Furthermore, a vibration motor is fixedly mounted in the center of the bottom of the material guide plate, so that the blanking speed of the material guide plate is further increased, and the impurity removal efficiency is increased.
Compared with the prior art, the utility model discloses the beneficial effect who reaches is:
1. the utility model discloses a set up screening case and spiral unloading pipe, the fodder is at the in-process through spiral unloading pipe, filter the great impurity of granule through the screening hole of even setting, impurity then gets into from spiral unloading pipe and receives in the frame, then all the feed pellet that all the other sizes are qualified fall on the stock guide from screening hole, then start vibrating motor, the stock guide is with fodder leading-in screw conveyer in, start screw conveyer, send fodder into the edulcoration incasement from the conveying pipe, then start motor, the motor rotates through the permanent magnetism section of thick bamboo of first belt pulley and second belt pulley transmission and then area, through set up a plurality of recesses at the outer wall of permanent magnetism section of thick bamboo to increase the area of contact of permanent magnetism section of thick bamboo and magnetic impurity, and adsorb it on the permanent magnetism section of thick bamboo, thereby prevent it from mixing with the fodder, fodder after the edulcoration is discharged from left fodder export;
2. the utility model discloses an arc scraper blade strikes off the impurity on recess surface, and the arc scraper blade is under the effort of spring, all the time with recess internal surface contact, ensure striking off thoroughly of impurity to improved the edulcoration effect, impurity is discharged from the row's miscellaneous mouthful on right side at last.
Drawings
The accompanying drawings are included to provide a further understanding of the invention, and are incorporated in and constitute a part of this specification, illustrate embodiments of the invention, and together with the description serve to explain the invention and not to limit the invention. In the drawings:
fig. 1 is a schematic cross-sectional view of the present invention;
FIG. 2 is a side view of the trash box of the present invention;
FIG. 3 is an enlarged schematic view of the structure at A in FIG. 1 according to the present invention;
fig. 4 is a top view of the present invention;
in the figure: 1. a base plate; 2. a screening box; 3. a feed inlet; 4. a spiral blanking pipe; 5. a screening well; 6. a material guide plate; 7. an impurity removal box; 8. a screw conveyor; 9. a feed pipe; 10. a permanent magnet drum; 11. a motor; 12. a first pulley; 13. a second pulley; 14. a movable rod; 15. A side plate; 16. a strut; 17. an arc-shaped scraper plate; 18. a spring; 19. a partition plate; 20. a feed outlet; 21. a trash discharge port; 22. receiving a frame; 23. a groove; 24. an exhaust fan; 25. a dust collection bag; 26. a vibration motor.
Detailed Description
The technical solutions in the embodiments of the present invention will be described clearly and completely with reference to the accompanying drawings in the embodiments of the present invention, and it is obvious that the described embodiments are only some embodiments of the present invention, not all embodiments. Based on the embodiments in the present invention, all other embodiments obtained by a person skilled in the art without creative work belong to the protection scope of the present invention.
Referring to fig. 1-4, the utility model provides a spiral blanking impurity removing device for feed production, which comprises a bottom plate 1, a screening box 2 is fixed on one side of the top of the bottom plate 1, a feed inlet 3 is fixedly installed on the top of the screening box 2, the bottom of the feed inlet 3 extends into the screening box 2 and is fixedly connected with a spiral blanking pipe 4, screening holes 5 are uniformly formed on the bottom of the spiral blanking pipe 4, a guide plate 6 is fixed on the inner wall of the two sides of the screening box 2 below the spiral blanking pipe 4, an impurity removing box 7 is arranged on one side of the screening box 2, a spiral conveyor 8 is arranged between the screening box 2 and the impurity removing box 7, the bottom of one side of the spiral conveyor 8 is communicated with the screening box 2, the output end of the spiral conveyor 8 penetrates through the upper end of one side of the impurity removing box 7 and is fixedly connected with a feeding pipe 9, the inner walls of the front side and the rear side of the impurity removing box 7 are rotationally connected with a permanent magnet drum 10, the lower end of the feeding pipe 9 is positioned above the left side of the permanent magnet drum 10, a motor 11 is fixed at the bottom of the outer wall of the front side of the impurity removing box 7, a first belt pulley 12 is fixedly installed on an output shaft of the motor 11, one end of the permanent magnet drum 10 penetrates through the front side of the impurity removing box 7 and is fixedly provided with a second belt pulley 13, the second belt pulley 13 is connected with the first belt pulley 12 through belt transmission, a movable rod 14 penetrates through one side of the impurity removing box 7, one end of the movable rod 14 extends into the impurity removing box 7 and is fixedly connected with a side plate 15, one side of the side plate 15, which is close to the permanent magnet drum 10, is fixedly connected with a support rod 16, the end part of the support rod 16 is fixedly provided with an arc-shaped scraper 17, a plurality of springs 18 are fixedly connected between one side of the side plate 15, which is far away from the permanent magnet drum 10, and one side inner wall of the impurity removing box 7, the fixed baffle 19 that is equipped with in one side bottom of edulcoration case 7, the left side of baffle 19 is equipped with fodder export 20, trash discharging opening 21 has been seted up on the right side of baffle 19 in one side bottom of edulcoration case 7.
In a preferred embodiment, a receiving frame 22 is arranged on one side of the screening box 2 far away from the impurity removing box 7, and the bottom of the spiral blanking pipe 4 penetrates through the lower end of one side of the screening box 2 and extends into the receiving frame 22, so that impurities with larger particles can be received and collected conveniently.
In a preferred embodiment, a plurality of grooves 23 are uniformly formed in the outer wall of the permanent magnet drum 10 along the circumference square, and the plurality of grooves 23 are arranged to increase the contact area between the permanent magnet drum 10 and metal impurities and adsorb the metal impurities onto the permanent magnet drum 10, so that the metal impurities are prevented from being mixed with feed.
In a preferred embodiment, the end of the arc-shaped scraper 17 is in contact with the inner surface of the groove 23, impurities on the surface of the groove 23 are scraped by the arc-shaped scraper 17, the arc-shaped scraper 17 is in contact with the inner surface of the groove 23 all the time under the action of the spring 18, and the impurities are thoroughly scraped, so that the impurity removing effect is improved.
In a preferred embodiment, one side upper end fixed mounting that keeps away from of screening case 2 edulcoration case 7 has air exhauster 24, the air intake of air exhauster 24 extends to inside screening case 2, the air outlet of air exhauster 24 is connected with dust bag 25, is convenient for adsorb impurity such as the dust in screening case 2 to collect in dust bag 25, thereby reduce the pollution that the edulcoration process produced.
In a preferred embodiment, a vibration motor 26 is fixedly installed at the bottom center of the material guide plate 6, so as to further increase the blanking speed of the material guide plate 6, thereby increasing the impurity removal efficiency.
The utility model discloses a theory of operation: firstly, feed is put into a screening box 2 from a feed inlet 3, the screening box 2 and a spiral blanking pipe 4 are arranged, the feed filters impurities with larger particles through screening holes 5 which are uniformly arranged in the process of passing through the spiral blanking pipe 4, the impurities enter a receiving frame 22 from the spiral blanking pipe 4, then other feed particles with qualified sizes fall on a material guide plate 6 from the screening holes 5, then a vibration motor 26 is started, the material guide plate 6 guides the feed into a spiral conveyor 8, the spiral conveyor 8 is started, the feed is sent into an impurity removing box 7 from a feeding pipe 9, then a motor 11 is started, the motor 11 is driven by a first belt pulley 12 and a second belt pulley 13 to further drive a permanent magnet cylinder 10 to rotate, a plurality of grooves 23 are arranged on the outer wall of the permanent magnet cylinder 10 to increase the contact area of the permanent magnet cylinder 10 and magnetic impurities and adsorb the permanent magnet cylinder 10, thereby preventing the mixture of the feed and the feed, and the feed after impurity removal is discharged from the feed outlet 20 at the left side; the utility model discloses an arc scraper blade 17 strikes off the impurity on recess 23 surface, and arc scraper blade 17 is under spring 18's effort, all the time with recess 23 internal surface contact, ensure striking off thoroughly of impurity to improve the edulcoration effect, impurity is discharged from row's miscellaneous mouthful 21 on right side at last.
It is noted that, herein, relational terms such as first and second, and the like may be used solely to distinguish one entity or action from another entity or action without necessarily requiring or implying any actual such relationship or order between such entities or actions. Also, the terms "comprises," "comprising," or any other variation thereof, are intended to cover a non-exclusive inclusion, such that a process, method, article, or apparatus that comprises a list of elements does not include only those elements but may include other elements not expressly listed or inherent to such process, method, article, or apparatus.
Finally, it should be noted that: although the present invention has been described in detail with reference to the foregoing embodiments, it will be apparent to those skilled in the art that modifications may be made to the embodiments described in the foregoing embodiments, or equivalents may be substituted for elements thereof. Any modification, equivalent replacement, or improvement made within the spirit and principle of the present invention should be included in the protection scope of the present invention.

Claims (6)

1. The utility model provides a spiral unloading edulcoration device for feed production, includes bottom plate (1), its characterized in that: a screening box (2) is fixed on one side of the top of the bottom plate (1), a feed inlet (3) is fixedly installed on the top of the screening box (2), the bottom of the feed inlet (3) extends into the screening box (2) and is fixedly connected with a spiral discharging pipe (4), screening holes (5) are uniformly formed in the bottom of the spiral discharging pipe (4), guide plates (6) are fixed on the inner walls of the two sides of the screening box (2) below the spiral discharging pipe (4), an impurity removing box (7) is arranged on one side of the screening box (2), a spiral conveyor (8) is arranged between the screening box (2) and the impurity removing box (7), the bottom of one side of the spiral conveyor (8) is communicated with the screening box (2), and the output end of the spiral conveyor (8) penetrates through the upper end of one side of the impurity removing box (7) and is fixedly connected with a feed pipe (9), the inner walls of the front side and the rear side of the impurity removing box (7) are rotatably connected with permanent magnetic drums (10), the lower end of a feeding pipe (9) is located above the left side of each permanent magnetic drum (10), a motor (11) is fixed at the bottom of the outer wall of the front side of the impurity removing box (7), a first belt pulley (12) is fixedly mounted on an output shaft of the motor (11), one end of each permanent magnetic drum (10) penetrates through the front side of the impurity removing box (7) and is fixedly provided with a second belt pulley (13), the second belt pulley (13) is connected with the first belt pulley (12) through belt transmission, a movable rod (14) penetrates through one side of the impurity removing box (7), one end of the movable rod (14) extends to the side plate (15) fixedly connected with the inside of the impurity removing box (7), and the side plate (15) is close to a supporting rod (16) fixedly connected with one side of each permanent magnetic drum (10), the utility model discloses a trash extraction box, including branch (16), curb plate (15), permanent magnetism section of thick bamboo (10) and impurity removal case (7), the tip fixed mounting of branch (16) has arc scraper blade (17), curb plate (15) are kept away from one side of permanent magnetism section of thick bamboo (10) with a plurality of spring (18) of fixedly connected with between the one side inner wall of impurity removal case (7), one side bottom of impurity removal case (7) is fixed and is equipped with baffle (19), the left side of baffle (19) is equipped with fodder export (20), impurity discharging opening (21) have been seted up in the right side of baffle (19) in one side bottom of impurity removal case (7).
2. The spiral discharging impurity removing device for feed production according to claim 1, characterized in that: screening case (2) are kept away from one side of edulcoration case (7) is equipped with receiving frame (22), the bottom of spiral unloading pipe (4) runs through the inside of one side lower extreme and extension to receiving frame (22) of screening case (2).
3. The spiral discharging impurity removing device for feed production according to claim 1, characterized in that: the outer wall of the permanent magnet barrel (10) is evenly provided with a plurality of grooves (23) along the circumference square.
4. The spiral discharging impurity removing device for feed production according to claim 3, characterized in that: the end part of the arc-shaped scraper (17) is contacted with the inner surface of the groove (23).
5. The spiral discharging impurity removing device for feed production according to claim 1, characterized in that: keep away from of screening case (2) one side upper end fixed mounting of edulcoration case (7) has air exhauster (24), the air intake of air exhauster (24) extends to inside screening case (2), the air outlet of air exhauster (24) is connected with dust bag (25).
6. The spiral discharging impurity removing device for feed production according to claim 1, characterized in that: and a vibration motor (26) is fixedly arranged in the center of the bottom of the material guide plate (6).
CN202120626610.8U 2021-03-26 2021-03-26 A kind of screw cutting impurity removal device for feed production Expired - Fee Related CN215140923U (en)

Priority Applications (1)

Application Number Priority Date Filing Date Title
CN202120626610.8U CN215140923U (en) 2021-03-26 2021-03-26 A kind of screw cutting impurity removal device for feed production

Applications Claiming Priority (1)

Application Number Priority Date Filing Date Title
CN202120626610.8U CN215140923U (en) 2021-03-26 2021-03-26 A kind of screw cutting impurity removal device for feed production

Publications (1)

Publication Number Publication Date
CN215140923U true CN215140923U (en) 2021-12-14

Family

ID=79353455

Family Applications (1)

Application Number Title Priority Date Filing Date
CN202120626610.8U Expired - Fee Related CN215140923U (en) 2021-03-26 2021-03-26 A kind of screw cutting impurity removal device for feed production

Country Status (1)

Country Link
CN (1) CN215140923U (en)

Similar Documents

Publication Publication Date Title
CN113578510A (en) Production system for machine-made sand concrete
CN215046245U (en) Feeder of preliminary screening function in area is used in corn processing
CN220920004U (en) Self-cleaning type tea winnowing and shaking screen composite equipment
CN215140923U (en) A kind of screw cutting impurity removal device for feed production
CN215656329U (en) Impurity removing device for raw grain processing
CN218531061U (en) A chemical grinder equipment
CN218014175U (en) Wheat screening mechanism
CN216440855U (en) Feed ingredient primary screening device with conveying mechanism
CN112971184A (en) Preparation method of feed additive
CN215744671U (en) Energy-saving screen scarifier
CN221694335U (en) Feed raw material edulcoration device
CN223071736U (en) A device for screening raw materials for injection molding
CN218452379U (en) Automatic powder screening device for ceramic powder preparation
CN221790128U (en) Screening machine for building construction
CN223500495U (en) An automated seed weighing device
CN223263685U (en) A feed ingredient mixer
CN223197515U (en) A waste collection and processing device for screw production
CN220154039U (en) Pretreatment device for heavy metal detection of rice samples
CN220092151U (en) Rice vibration processing removes stone device
CN221753440U (en) A biomass raw material crushing and impurity removal mechanism
CN218418240U (en) Anchovy screening system
CN220959369U (en) A desiccator for metallurgical raw materials
CN221157529U (en) Coarse cereal oatmeal screening machine
CN222947727U (en) Throw material dust recovery unit
CN218854839U (en) Grain dust collector

Legal Events

Date Code Title Description
GR01 Patent grant
GR01 Patent grant
CF01 Termination of patent right due to non-payment of annual fee

Granted publication date: 20211214

CF01 Termination of patent right due to non-payment of annual fee