CN215101177U - Electromagnetic wire is with encircleing coiling mechanism - Google Patents

Electromagnetic wire is with encircleing coiling mechanism Download PDF

Info

Publication number
CN215101177U
CN215101177U CN202121205729.4U CN202121205729U CN215101177U CN 215101177 U CN215101177 U CN 215101177U CN 202121205729 U CN202121205729 U CN 202121205729U CN 215101177 U CN215101177 U CN 215101177U
Authority
CN
China
Prior art keywords
frame
fixedly installed
fixing plate
rod
rotating
Prior art date
Legal status (The legal status is an assumption and is not a legal conclusion. Google has not performed a legal analysis and makes no representation as to the accuracy of the status listed.)
Expired - Fee Related
Application number
CN202121205729.4U
Other languages
Chinese (zh)
Inventor
金玉宏
孙成建
朱标
Current Assignee (The listed assignees may be inaccurate. Google has not performed a legal analysis and makes no representation or warranty as to the accuracy of the list.)
Jiangsu Jinwo Servo Punch Co ltd
Original Assignee
Jiangsu Jinwo Servo Punch Co ltd
Priority date (The priority date is an assumption and is not a legal conclusion. Google has not performed a legal analysis and makes no representation as to the accuracy of the date listed.)
Filing date
Publication date
Application filed by Jiangsu Jinwo Servo Punch Co ltd filed Critical Jiangsu Jinwo Servo Punch Co ltd
Priority to CN202121205729.4U priority Critical patent/CN215101177U/en
Application granted granted Critical
Publication of CN215101177U publication Critical patent/CN215101177U/en
Expired - Fee Related legal-status Critical Current
Anticipated expiration legal-status Critical

Links

Images

Landscapes

  • Manufacture Of Motors, Generators (AREA)

Abstract

本实用新型公开了一种电磁线用环绕收卷装置,包括底座、固定板与固定框,所述固定板设置于底座的上方,所述固定框固定安装于固定板的顶部,本实用新型涉及线材收卷技术领域。通过设置配合缠线筒收卷的移动框和导向架,第一转杆转动的同时会带动第一锥齿轮转动,第一锥齿轮带动第二锥齿轮转动,第二锥齿轮通过第二转杆带动半齿轮转动,半齿轮转动的同时与移动框内的两侧齿牙接触,使移动框沿着固定板上设置的开口上下进行移动,从而带动导向架上导向夹具内的电磁线也上下进行移动,使电磁线均匀的环绕在缠线筒表面,使缠线筒收卷后的电磁线达到使用的标准,避免电磁线二次环绕收卷,节约成本,提高缠线筒的工作效率和收卷质量。

Figure 202121205729

The utility model discloses an encircling winding device for an electromagnetic wire, which comprises a base, a fixing plate and a fixing frame. The fixing plate is arranged above the base, and the fixing frame is fixedly installed on the top of the fixing plate. The utility model relates to a fixing frame. Wire winding technology. By arranging a moving frame and a guide frame that match the winding of the bobbin, the rotation of the first rotating rod will drive the first bevel gear to rotate, the first bevel gear will drive the second bevel gear to rotate, and the second bevel gear will pass through the second rotating rod. Drive the half-gear to rotate, and the half-gear is in contact with the teeth on both sides of the moving frame at the same time, so that the moving frame moves up and down along the opening set on the fixed plate, thereby driving the electromagnetic wire in the guide fixture on the guide frame to move up and down. Move, make the magnet wire evenly wrap around the surface of the spool, make the magnet wire after the spool roll up to the standard of use, avoid the secondary winding of the magnet wire, save costs, improve the working efficiency and rewind of the spool roll quality.

Figure 202121205729

Description

Electromagnetic wire is with encircleing coiling mechanism
Technical Field
The utility model relates to a wire rod rolling technical field specifically is an electromagnetic wire is with encircleing coiling mechanism.
Background
Electromagnetic wires are insulated electrical wires used to make coils or windings in electrical products. Also known as winding wire. Magnet wires must meet a variety of requirements for use and manufacturing processes. The former includes its shape, specification, ability to work at high temperature for a short time and a long time, and to withstand strong vibration and centrifugal force at high speed in some occasions, withstand corona and breakdown at high voltage, resist chemical corrosion under special atmosphere, etc.; the latter includes the requirement of stretching, bending and wearing when winding and inserting the wire, and the swelling, erosion action in the dipping and drying process, etc., in the production and processing of the electromagnetic wire, the winding operation needs to be carried out to the electromagnetic wire that is processed and formed, the electromagnetic wire that is processed and formed generally is wound on the corresponding material receiving roller piece through the rotation of the winding wheel, thereby completing the winding operation of the electromagnetic wire.
The winding guider of electromagnetic wire rolling is not set up on the present electromagnetic wire coiling mechanism, and the rolling wheel is when encircleing the rolling to the electromagnetic wire, and the electromagnetic wire can twine in the same region on winding section of thick bamboo surface, leads to winding section of thick bamboo surface winding electromagnetic wire not enough even, and the electromagnetic wire after the winding section of thick bamboo rolling is accomplished can't reach the standard of using.
SUMMERY OF THE UTILITY MODEL
Technical problem to be solved
Not enough to prior art, the utility model provides an electromagnetic wire is with encircleing coiling mechanism has solved the problem that proposes in the above-mentioned background.
(II) technical scheme
In order to achieve the above purpose, the utility model discloses a following technical scheme realizes: a surrounding and winding device for an electromagnetic wire comprises a base, a fixed plate and a fixed frame, wherein the fixed plate is arranged above the base, the fixed frame is fixedly arranged at the top of the fixed plate, a motor is fixedly arranged at the bottom of an inner cavity of the base, an output shaft of the motor is fixedly provided with a driving rod through a shaft coupling, one end of the driving rod sequentially penetrates through the base and the fixed plate and extends to the inside of a fixed frame, the top end of the driving rod is rotatably connected with the top of the inner cavity of the fixed frame through a bearing, a main gear is fixedly arranged on the surface of the driving rod and positioned in the fixed frame, two sides of the top of the inner cavity of the fixed frame are rotatably connected with first rotating rods through bearings, auxiliary gears matched with the main gear for use are fixedly arranged on the surfaces of the two first rotating rods, one end of each first rotating rod penetrates through the fixed plate and extends to the bottom of the fixed plate, the utility model discloses a fixed plate, including fixed plate, limiting plate, connecting block, swivel mount, second swivel, first bevel gear, the bottom fixed mounting of first swivel has a threaded rod, the surface cover of threaded rod is equipped with a winding section of thick bamboo, the one end threaded connection of threaded rod has the screw thread lid that cooperatees and uses with the winding section of thick bamboo, the both sides of fixed plate bottom all have the rotating turret through connecting block fixed mounting, the inside of rotating turret rotates through the bearing and is connected with the second swivel, the one end fixed mounting of second swivel has the second bevel gear that cooperatees and uses with first bevel gear, the both sides at fixed plate top all have the removal frame through seting up opening sliding connection, the bottom fixed mounting who removes the frame has the leading truck.
Preferably, two remove the relative one side of frame and all seted up logical groove, the other end of second bull stick runs through logical groove and extends to and remove inside the frame, the second bull stick extends to and removes the inside one end fixed mounting of frame and has the semi-gear, the equal fixed mounting in front side and the rear side of removing the frame inner chamber has the tooth that cooperatees and use with the semi-gear.
Preferably, one side of the guide frame is provided with a placing hole, and the front part and the back part of the guide frame are both provided with thread grooves.
Preferably, the inner thread of the thread groove is connected with an adjusting screw rod.
Preferably, one end of the adjusting screw is rotatably connected with a guide clamp through a bearing.
Preferably, the equal fixed mounting in both sides of fixed plate bottom has the bracing piece, two the bottom of bracing piece all with the top fixed connection of base, the equal fixed mounting in both sides of base bottom has the universal wheel.
(III) advantageous effects
The utility model provides an electromagnetic wire is with encircleing coiling mechanism. The method has the following beneficial effects:
(1) this electromagnetism line is with encircleing coiling mechanism, through removal frame and the leading truck that sets up the rolling of cooperation winding bobbin, first bull stick pivoted can drive first bevel gear simultaneously and rotate, first bevel gear drives second bevel gear and rotates, second bevel gear passes through second bull stick and drives half gear revolve, half gear revolve while with remove the both sides tooth contact in the frame, make the opening that removes the frame and set up on the fixed plate remove from top to bottom, thereby the electromagnetism line that drives on the leading truck in the guide jig also removes from top to bottom, make the even encircleing of electromagnetism line at winding bobbin surface, the electromagnetism line after making the winding bobbin rolling reaches the standard of using, avoid the electromagnetism line secondary to encircle the rolling, the cost is saved, the work efficiency and the rolling quality of winding bobbin are improved.
(2) This electromagnetism line is with encircleing coiling mechanism, through setting up adjustable screw thread lid, the convenience is fixed and is dismantled a winding section of thick bamboo, makes things convenient for the better operation of operating personnel, drives two winding section of thick bamboos through setting up a set of motor and encircles the rolling, makes electromagnetism line rolling efficiency obtain improving, can encircle and the rolling according to electromagnetism line thickness degree through setting up the direction anchor clamps that adjust, makes the coiling mechanism can encircle and the rolling to different thickness degree electromagnetism lines, more has the usability.
Drawings
FIG. 1 is a schematic structural view of the present invention;
FIG. 2 is a cross-sectional view of the base structure of the present invention;
fig. 3 is a sectional view of the fixing frame structure of the present invention;
FIG. 4 is a schematic structural view of the threaded cap, the threaded rod and the winding drum of the present invention;
fig. 5 is a top view of the fixing plate, the fixing frame and the opening structure of the present invention;
fig. 6 is a sectional view of the movable frame structure of the present invention;
FIG. 7 is a partial enlarged view of the point B in FIG. 1 according to the present invention
Fig. 8 is a side view of the structure of the guide frame of the present invention.
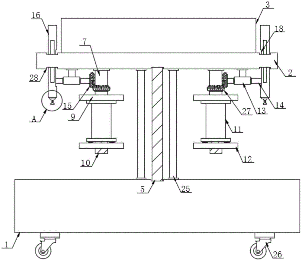
In the figure, 1, a base; 2. a fixing plate; 3. a fixing frame; 4. a motor; 5. a drive rod; 6. a main gear; 7. a first rotating lever; 8. a pinion gear; 9. a limiting plate; 10. a threaded rod; 11. a winding drum; 12. a threaded cap; 13. a rotating frame; 14. a second rotating rod; 15. a second bevel gear; 16. moving the frame; 17. a guide frame; 18. a through groove; 19. a half gear; 20. teeth; 21. placing holes; 22. a thread groove; 23. adjusting the screw rod; 24. a guiding clamp; 25. a support bar; 26. a universal wheel; 27. a first bevel gear; 28. and (4) opening.
Detailed Description
The technical solutions in the embodiments of the present invention will be described clearly and completely with reference to the accompanying drawings in the embodiments of the present invention, and it is obvious that the described embodiments are only some embodiments of the present invention, not all embodiments. Based on the embodiments in the present invention, all other embodiments obtained by a person skilled in the art without creative work belong to the protection scope of the present invention.
Referring to fig. 1 to 8, the present embodiment provides a technical solution: a surrounding and winding device for an electromagnetic wire comprises a base 1, a fixed plate 2 and a fixed frame 3, wherein the fixed plate 2 is arranged above the base 1, the fixed frame 3 is fixedly arranged at the top of the fixed plate 2, a motor 4 is fixedly arranged at the bottom of an inner cavity of the base 1, the motor 4 is a servo motor and is used for driving a driving rod 5 to rotate, an output shaft of the motor 4 is fixedly provided with the driving rod 5 through a coupler, one end of the driving rod 5 sequentially penetrates through the base 1 and the fixed plate 2 and extends into the fixed frame 3, the top end of the driving rod 5 is rotatably connected with the top of the inner cavity of the fixed frame 3 through a bearing, a main gear 6 is fixedly arranged on the surface of the driving rod 5 and positioned in the fixed frame 3, two sides of the top of the inner cavity of the fixed frame 3 are rotatably connected with first rotating rods 7 through bearings, and auxiliary gears 8 matched with the main gear 6 are fixedly arranged on the surfaces of the two first rotating rods 7, one end of the first rotating rod 7 penetrates through the fixing plate 2 and extends to the bottom of the fixing plate 2, a first bevel gear 27 is fixedly arranged on the surface of the first rotating rod 7 and is positioned below the fixing plate 2, a limiting plate 9 is fixedly arranged at the bottom end of the first rotating rod 7, the limiting plate 9 is made of rubber and can be well matched with a thread cover 12 for use, a threaded rod 10 is fixedly arranged at the bottom of the limiting plate 9, a winding cylinder 11 is sleeved on the surface of the threaded rod 10, a thread cover 12 matched with the winding cylinder 11 for use is in threaded connection with one end of the threaded rod 10, a rubber block is arranged at the top of the thread cover 12 and is used for fixing the winding cylinder 11, rotating frames 13 are fixedly arranged on two sides of the bottom of the fixing plate 2 through connecting blocks, movable through grooves are formed in the rotating frames 13, the second rotating rod 14 can well penetrate through the rotating frames and can be used in a rotating mode, a second rotating rod 14 is rotatably connected in the rotating frames 13 through bearings, one end fixed mounting of second bull stick 14 has the second bevel gear 15 that cooperatees and use with first bevel gear 27, and the both sides at fixed plate 2 top all have through seting up opening 28 sliding connection and move frame 16, and it is rectangular all to install the slip with the rear portion in the front portion of moving frame 16 for the spout in the cooperation opening 28 uses, makes and moves up and down that the frame 16 that moves can be fine, and the bottom fixed mounting who moves frame 16 has leading truck 17.
In this embodiment, two remove that frame 16 is relative one side and all seted up logical groove 18, the other end of second bull stick 14 runs through logical groove 18 and extends to inside removing frame 16, the one end fixed mounting that second bull stick 14 extended to removing frame 16 inside has half gear 19, the equal fixed mounting in front side and the rear side of removing the inner chamber of frame 16 has tooth 20 with half gear 19 matched with the use, tooth 20 is provided with the multiunit, fixed mounting is in the front side and the rear side that remove the inner chamber of frame 16.
In this embodiment, a placing hole 21 is formed at one side of the guide frame 17, and both the front and the back of the guide frame 17 are formed with thread grooves 22.
In this embodiment, an adjusting screw 23 is threadedly coupled to the inside of the thread groove 22.
In this embodiment, one end of the adjusting screw 23 is rotatably connected to a guide jig 24 through a bearing.
In this embodiment, the equal fixed mounting in both sides of fixed plate 2 bottom has bracing piece 25, the bottom of two bracing pieces 25 all with base 1's top fixed connection, the equal fixed mounting in both sides of base 1 bottom has universal wheel 26.
When the winding device is used, a worker firstly rotates the threaded cover 12 to separate the threaded cover 12 from the threaded rod 10, the worker penetrates the winding barrel 11 on the threaded rod 10, the limiting plate 9 is used for limiting the winding barrel 11, the operator rotates the threaded cover 12 again, the threaded cover 12 rotates on the threaded rod 10, the threaded cover 12 rotates upwards and moves and fixes the winding barrel 11 at the same time, the winding barrel 11 is more stable in the winding process, the adjustable threaded cover 12 is arranged to conveniently fix and disassemble the winding barrel 11, the operator can conveniently operate better, at the moment, the worker penetrates one end of an electromagnetic wire through the guide clamp 24 arranged in the placing hole 21 on the guide frame 17, the adjusting screw 23 is used for adjusting the aperture of the guide clamp 24 according to the thickness degree of the electromagnetic wire, the adjusting screw 23 is rotated to enable the adjusting screw 23 to rotate through the threaded groove 22, thereby driving the guiding clamp 24 to move, guiding the electromagnetic wire, facilitating the winding drum 11 to wind and wind the electromagnetic wire, starting the motor 4, the driving rod 5 driving the main gear 6 to rotate, the main gear 6 driving the auxiliary gear 8 to rotate, the auxiliary gear 8 driving the first rotating rod 7 to rotate, the winding drum 11 also rotating, the first rotating rod 7 driving the first bevel gear 27 to rotate while rotating, the first bevel gear 27 driving the second bevel gear 15 to rotate, the second bevel gear 15 driving the half gear 19 to rotate through the second rotating rod 14, the rotating frame 13 being used for connecting the second rotating rod 14, the half gear 19 rotating while contacting with the teeth 20 at two sides in the moving frame 16, making the moving frame 16 move up and down along the opening 28 arranged on the fixed plate 2, making the electromagnetic wire in the guiding clamp 24 also move up and down, making the electromagnetic wire surround the surface of the winding drum 11 uniformly, the two supporting rods 25 being used for supporting and fixing the fixed plate 2, the device can be stably operated, the universal wheels 26 are used for moving the device, the device is convenient to adjust and move when in use, and an operator can use the device more conveniently.
It is noted that, herein, relational terms such as first and second, and the like may be used solely to distinguish one entity or action from another entity or action without necessarily requiring or implying any actual such relationship or order between such entities or actions. Also, the terms "comprises," "comprising," or any other variation thereof, are intended to cover a non-exclusive inclusion, such that a process, method, article, or apparatus that comprises a list of elements does not include only those elements but may include other elements not expressly listed or inherent to such process, method, article, or apparatus. Without further limitation.
Although embodiments of the present invention have been shown and described, it will be appreciated by those skilled in the art that changes, modifications, substitutions and alterations can be made in these embodiments without departing from the principles and spirit of the invention, the scope of which is defined in the appended claims and their equivalents.

Claims (6)

1.一种电磁线用环绕收卷装置,包括底座(1)、固定板(2)与固定框(3),所述固定板(2)设置于底座(1)的上方,所述固定框(3)固定安装于固定板(2)的顶部,其特征在于:所述底座(1)内腔的底部固定安装有电机(4),所述电机(4)的输出轴通过联轴器固定安装有驱动杆(5),所述驱动杆(5)的一端依次贯穿底座(1)与固定板(2)并延伸至固定框(3)的内部,所述驱动杆(5)的顶端通过轴承与固定框(3)内腔的顶部转动连接,所述驱动杆(5)的表面且位于固定框(3)的内部固定安装有主齿轮(6),所述固定框(3)内腔顶部的两侧均通过轴承转动连接有第一转杆(7),两个所述第一转杆(7)的表面均固定安装有与主齿轮(6)相配合使用的副齿轮(8),所述第一转杆(7)的一端贯穿固定板(2)并延伸至固定板(2)底部,所述第一转杆(7)的表面且位于固定板(2)的下方固定安装有第一锥齿轮(27),所述第一转杆(7)的底端固定安装有限位板(9),所述限位板(9)的底部固定安装有螺纹杆(10),所述螺纹杆(10)的表面套设有缠线筒(11),所述螺纹杆(10)的一端螺纹连接有与缠线筒(11)相配合使用的螺纹盖(12),所述固定板(2)底部的两侧均通过连接块固定安装有转动架(13),所述转动架(13)的内部通过轴承转动连接有第二转杆(14),所述第二转杆(14)的一端固定安装有与第一锥齿轮(27)相配合使用的第二锥齿轮(15),所述固定板(2)顶部的两侧均通过开设开口(28)滑动连接有移动框(16),所述移动框(16)的底部固定安装有导向架(17)。1. An encircling winding device for an electromagnetic wire, comprising a base (1), a fixing plate (2) and a fixing frame (3), wherein the fixing plate (2) is arranged above the base (1), and the fixing frame (3) It is fixedly installed on the top of the fixing plate (2), characterized in that a motor (4) is fixedly installed at the bottom of the inner cavity of the base (1), and the output shaft of the motor (4) is fixed by a coupling A driving rod (5) is installed, one end of the driving rod (5) penetrates the base (1) and the fixing plate (2) in turn and extends to the interior of the fixing frame (3), and the top end of the driving rod (5) passes through The bearing is rotatably connected to the top of the inner cavity of the fixed frame (3), the main gear (6) is fixedly installed on the surface of the driving rod (5) and located inside the fixed frame (3), and the inner cavity of the fixed frame (3) Both sides of the top are rotatably connected with first rotating rods (7) through bearings, and the surfaces of the two first rotating rods (7) are fixedly mounted with auxiliary gears (8) used in cooperation with the main gear (6). , one end of the first rotating rod (7) penetrates the fixing plate (2) and extends to the bottom of the fixing plate (2), and the surface of the first rotating rod (7) is located below the fixing plate (2) for fixed installation There is a first bevel gear (27), a limit plate (9) is fixedly installed at the bottom end of the first rotating rod (7), and a threaded rod (10) is fixedly installed at the bottom of the limit plate (9), so The surface of the threaded rod (10) is sleeved with a bobbin (11), and one end of the threaded rod (10) is threadedly connected with a threaded cover (12) used in cooperation with the bobbin (11). A turret (13) is fixedly installed on both sides of the bottom of the plate (2) through a connecting block, and a second rotating rod (14) is rotatably connected inside the rotating frame (13) through a bearing, and the second rotating rod ( One end of 14) is fixedly installed with a second bevel gear (15) used in cooperation with the first bevel gear (27), and both sides of the top of the fixed plate (2) are slidably connected to a moving frame through openings (28). (16), a guide frame (17) is fixedly installed at the bottom of the moving frame (16). 2.根据权利要求1所述的一种电磁线用环绕收卷装置,其特征在于:两个所述移动框(16)相对的一侧均开设有通槽(18),所述第二转杆(14)的另一端贯穿通槽(18)并延伸至移动框(16)内部,所述第二转杆(14)延伸至移动框(16)内部的一端固定安装有半齿轮(19),所述移动框(16)内腔的前侧与后侧均固定安装有与半齿轮(19)相配合使用的齿牙(20)。2. A coiling device for electromagnetic wire according to claim 1, characterized in that: through grooves (18) are provided on opposite sides of the two moving frames (16), and the second rotating frame (16) is The other end of the rod (14) penetrates through the through groove (18) and extends into the interior of the moving frame (16), and one end of the second rotating rod (14) extending into the interior of the moving frame (16) is fixedly mounted with a half gear (19) , the front side and the rear side of the inner cavity of the moving frame (16) are fixedly installed with teeth (20) used in cooperation with the half gear (19). 3.根据权利要求1所述的一种电磁线用环绕收卷装置,其特征在于:所述导向架(17)的一侧开设有放置孔(21),所述导向架(17)的前部与背部均开设有螺纹槽(22)。3 . The coiling device for magnet wire according to claim 1 , wherein a placement hole ( 21 ) is opened on one side of the guide frame ( 17 ), and the front of the guide frame ( 17 ) Both the top and the back are provided with threaded grooves (22). 4.根据权利要求3所述的一种电磁线用环绕收卷装置,其特征在于:所述螺纹槽(22)的内部螺纹连接有调节螺杆(23)。4 . The coiling device for magnet wire according to claim 3 , wherein an adjusting screw ( 23 ) is threadedly connected to the inside of the thread groove ( 22 ). 5 . 5.根据权利要求4所述的一种电磁线用环绕收卷装置,其特征在于:所述调节螺杆(23)的一端通过轴承转动连接有导向夹具(24)。5 . The coiling device for magnet wire according to claim 4 , wherein one end of the adjusting screw ( 23 ) is rotatably connected with a guide clamp ( 24 ) through a bearing. 6 . 6.根据权利要求1所述的一种电磁线用环绕收卷装置,其特征在于:所述固定板(2)底部的两侧均固定安装有支撑杆(25),两个所述支撑杆(25)的底部均与底座(1)的顶部固定连接,所述底座(1)底部的两侧均固定安装有万向轮(26)。6. A coiling device for magnet wire according to claim 1, characterized in that: support rods (25) are fixedly installed on both sides of the bottom of the fixing plate (2), and two support rods The bottom of (25) is fixedly connected with the top of the base (1), and universal wheels (26) are fixedly installed on both sides of the bottom of the base (1).
CN202121205729.4U 2021-06-01 2021-06-01 Electromagnetic wire is with encircleing coiling mechanism Expired - Fee Related CN215101177U (en)

Priority Applications (1)

Application Number Priority Date Filing Date Title
CN202121205729.4U CN215101177U (en) 2021-06-01 2021-06-01 Electromagnetic wire is with encircleing coiling mechanism

Applications Claiming Priority (1)

Application Number Priority Date Filing Date Title
CN202121205729.4U CN215101177U (en) 2021-06-01 2021-06-01 Electromagnetic wire is with encircleing coiling mechanism

Publications (1)

Publication Number Publication Date
CN215101177U true CN215101177U (en) 2021-12-10

Family

ID=79301118

Family Applications (1)

Application Number Title Priority Date Filing Date
CN202121205729.4U Expired - Fee Related CN215101177U (en) 2021-06-01 2021-06-01 Electromagnetic wire is with encircleing coiling mechanism

Country Status (1)

Country Link
CN (1) CN215101177U (en)

Cited By (3)

* Cited by examiner, † Cited by third party
Publication number Priority date Publication date Assignee Title
CN115156441A (en) * 2022-06-30 2022-10-11 淮南文峰航天电缆有限公司 Machining device and method for extremely-small spring wire harness
CN115231354A (en) * 2022-08-01 2022-10-25 江西麦得豪新材料有限公司 Coiling mechanism is used in copper foil processing
CN117585518A (en) * 2023-12-26 2024-02-23 长春汽车检测中心有限责任公司 A wire harness management device

Cited By (3)

* Cited by examiner, † Cited by third party
Publication number Priority date Publication date Assignee Title
CN115156441A (en) * 2022-06-30 2022-10-11 淮南文峰航天电缆有限公司 Machining device and method for extremely-small spring wire harness
CN115231354A (en) * 2022-08-01 2022-10-25 江西麦得豪新材料有限公司 Coiling mechanism is used in copper foil processing
CN117585518A (en) * 2023-12-26 2024-02-23 长春汽车检测中心有限责任公司 A wire harness management device

Similar Documents

Publication Publication Date Title
CN215101177U (en) Electromagnetic wire is with encircleing coiling mechanism
CN207072450U (en) A kind of wire harness wrapping machine
CN207074582U (en) A kind of wire harness wrapping machine
CN115947177A (en) Winding device for cable production
CN112700925B (en) Device with cable winding type extrusion locking structure
CN119340036A (en) A wire twisting device for cable processing
CN119794219A (en) A new energy vehicle wiring harness cutting device
CN218754162U (en) Silk re-reeling device convenient for taking silk
CN216851701U (en) Winding machine with multiphase winding function
CN117498638A (en) Electromagnetic winding production equipment and production method of permanent magnet motor
CN211225818U (en) Rolling machine
CN212639308U (en) Mica tape bundling device
CN111181330B (en) Full-automatic multi-station motor rotor winding machine
CN107673133B (en) Insulation crepe paper cutting machine
CN223582754U (en) Cage type wire twisting machine for wire and cable production
CN211218446U (en) Automatic cutting device for motor shaft
CN221916776U (en) Electromagnetic wire take-up device
CN223268091U (en) A wire collecting device for processing hollow brush wire
CN209912716U (en) Novel winding machine capable of winding bidirectionally
CN216049467U (en) Arrow shaft belt winding machine
CN215438927U (en) Wire rod installation device for silicone tube production equipment
CN222860696U (en) A winding device for preventing material deformation
CN222249563U (en) Winding equipment of high-toughness composite copper wire
CN220041474U (en) Power line production send traditional thread binding putting
CN222063741U (en) Wire lapping machine with cut line structure

Legal Events

Date Code Title Description
GR01 Patent grant
GR01 Patent grant
CF01 Termination of patent right due to non-payment of annual fee

Granted publication date: 20211210

CF01 Termination of patent right due to non-payment of annual fee