CN215075076U - An automatic spreader for biscuit production line - Google Patents

An automatic spreader for biscuit production line Download PDF

Info

Publication number
CN215075076U
CN215075076U CN202120953302.6U CN202120953302U CN215075076U CN 215075076 U CN215075076 U CN 215075076U CN 202120953302 U CN202120953302 U CN 202120953302U CN 215075076 U CN215075076 U CN 215075076U
Authority
CN
China
Prior art keywords
frame
production line
box
automatic spreader
biscuit production
Prior art date
Legal status (The legal status is an assumption and is not a legal conclusion. Google has not performed a legal analysis and makes no representation as to the accuracy of the status listed.)
Expired - Fee Related
Application number
CN202120953302.6U
Other languages
Chinese (zh)
Inventor
张运平
Current Assignee (The listed assignees may be inaccurate. Google has not performed a legal analysis and makes no representation or warranty as to the accuracy of the list.)
Jiangxi Fangzhou Ecological Agriculture Co ltd
Original Assignee
Jiangxi Fangzhou Ecological Agriculture Co ltd
Priority date (The priority date is an assumption and is not a legal conclusion. Google has not performed a legal analysis and makes no representation as to the accuracy of the date listed.)
Filing date
Publication date
Application filed by Jiangxi Fangzhou Ecological Agriculture Co ltd filed Critical Jiangxi Fangzhou Ecological Agriculture Co ltd
Priority to CN202120953302.6U priority Critical patent/CN215075076U/en
Application granted granted Critical
Publication of CN215075076U publication Critical patent/CN215075076U/en
Expired - Fee Related legal-status Critical Current
Anticipated expiration legal-status Critical

Links

Images

Landscapes

  • Confectionery (AREA)

Abstract

一种用于饼干生产线的自动撒料机,包括机架、设置在机架顶部的辅料储箱以及设置在辅料储箱顶部的输料斗,机架一侧表面设置均匀出料组件,机架内底部设置回收组件;均匀出料组件包括多组出料管以及遮挡板,多组出料管设置在辅料储箱内底部,并贯穿机架顶部,遮挡板上设置多组漏料口,遮挡板一侧表面设置推杆,推杆一端与缸体一侧表面固定连接,缸体滑动设置在滑套内,滑套设置在机架一侧表面,缸体另一侧表面设置连接耳板,连接耳板内铰接连杆,连杆另一端与曲轴铰接,曲轴一端与第一电机的驱动轴相连接。本实用新型能够使辅料均匀抛撒,出料均匀佳,同时能够对多余的辅料进行集中收集,便于后期再利用,降低生产成本。

Figure 202120953302

An automatic spreader for a biscuit production line, comprising a frame, an auxiliary material storage box arranged on the top of the frame, and a feeding hopper arranged on the top of the auxiliary material storage box. A recycling component is set at the bottom; the uniform discharge component includes multiple sets of discharge pipes and a shutter. Multiple sets of discharge pipes are arranged at the bottom of the auxiliary material storage box and run through the top of the rack. Multiple sets of leakage ports are set on the shutter, and the shutter A push rod is arranged on one side surface, and one end of the push rod is fixedly connected with one side surface of the cylinder body. A connecting rod is hinged inside the ear plate, the other end of the connecting rod is hinged with the crankshaft, and one end of the crankshaft is connected with the drive shaft of the first motor. The utility model can make the auxiliary materials evenly scattered, and the material discharge is good, and meanwhile, the redundant auxiliary materials can be collected in a centralized manner, which is convenient for later reuse and reduces the production cost.

Figure 202120953302

Description

Automatic spreading machine for biscuit production line
Technical Field
The utility model relates to a biscuit production technical field especially relates to an automatic spreader for biscuit production line.
Background
The word source of the biscuit is the bread which is baked twice, the bread is baked by flour and water or milk without yeast, and the biscuit is used as a storage food for traveling, navigation and mountaineering, and is particularly convenient and applicable to standby food for military people in war. In the actual production process, snacks such as biscuits and the like are often required to be scattered with some objects such as sugar, salt, sesame, red dates and the like on some semi-finished products for improving the taste of the biscuits, and in the production process, auxiliary materials are required to be scattered by a scattering machine.
Traditional spreader can't even ejection of compact, is not convenient for evenly spill the auxiliary material, and the auxiliary material adds the effect and does not add, can't collect unnecessary auxiliary material simultaneously, very easily causes the auxiliary material extravagant.
SUMMERY OF THE UTILITY MODEL
Objects of the invention
For solving the technical problem who exists among the background art, the utility model provides an automatic spreader for biscuit production line can make the auxiliary material evenly shed, and the ejection of compact is evenly good, can concentrate the collection to unnecessary auxiliary material simultaneously, and the later stage of being convenient for is recycled, reduction in production cost.
(II) technical scheme
The utility model provides an automatic material spreading machine for biscuit production line, which comprises a frame, a base arranged at the lower part, an auxiliary material storage box arranged at the top of the frame, a material conveying hopper arranged at the top of the auxiliary material storage box and a conveyor belt arranged at the middle part in the frame, wherein a uniform material discharging assembly is arranged on the surface of one side of the frame, and a recovery assembly is arranged at the bottom in the frame;
even ejection of compact subassembly includes multiunit discharging pipe and shielding plate, the multiunit discharging pipe sets up bottom in the auxiliary material storage tank, and run through the frame top, the shielding plate sets up top in the frame, set up the multiunit drain hole on the shielding plate, shielding plate side surface sets up the push rod, push rod one end and cylinder body side fixed surface are connected, the cylinder body slides and sets up in the sliding sleeve, the sliding sleeve sets up in frame side surface, cylinder body opposite side surface sets up the connection otic placode, connect the articulated connecting rod in the otic placode, the connecting rod other end is articulated with the bent axle, the bent axle rotates and sets up in the box body, the box body sets up at frame side surface, bent axle one end is connected with the drive shaft of first motor.
Preferably, the first motor is connected with a control box through a connecting wire, and the control box is arranged on one side surface of the rack.
Preferably, one side of the upper surface of the shielding plate is provided with a limiting sliding block, one end of the limiting sliding block is arranged in a limiting sliding groove in a sliding manner, and the limiting sliding groove is formed in one side of the top in the rack.
Preferably, both ends of the connecting rod are hinged with the connecting lug plate and the crankshaft through hinge shafts.
Preferably, the recovery assembly comprises a material collecting cover and a material collecting box, the material collecting cover is arranged at the bottom in the rack, the material collecting box is arranged at the bottom in the base, and the material collecting cover is communicated with the material collecting box.
Preferably, the bottom in the base is provided with a guide block, one end of the guide block is clamped in a guide groove, and the guide groove is formed in the lower side surface of the material collecting box.
Preferably, the lower side surface in the base is provided with a groove, a ball screw is arranged in the groove in a rotating mode, a nut is arranged on the ball screw, a top plate is arranged on the upper side surface of the nut, one end of the ball screw is connected with a driving shaft of a second motor through a coupler, and the second motor is arranged on one side surface of the base.
Compared with the prior art, the above technical scheme of the utility model following profitable technological effect has:
1. the utility model discloses can drive shielding plate reciprocating motion through the transmission of bent axle and connecting rod, and then the auxiliary material is detained through leaking the material and is evenly shed to the biscuit on, has realized evenly throwing of auxiliary material and has spilt the function.
2. The utility model discloses can concentrate the collection to unnecessary auxiliary material, avoid the extravagant condition of auxiliary material to take place, be convenient for simultaneously handle the auxiliary material of collecting, the treatment effect is good, and the practicality is strong.
Drawings
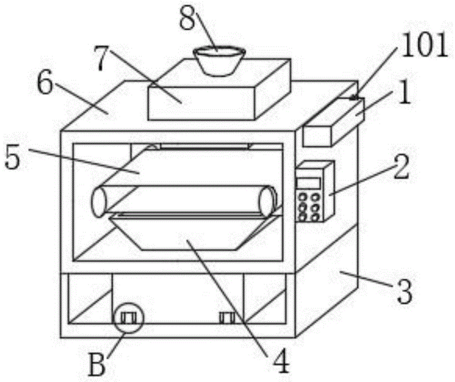
Fig. 1 is the structure schematic diagram of the automatic spreader for biscuit production line provided by the utility model.
Fig. 2 is the utility model provides an even ejection of compact subassembly main view section structure sketch map for biscuit production line's automatic spreader.
Fig. 3 is an enlarged schematic view of a portion a in fig. 2.
Fig. 4 is the utility model provides a retrieve subassembly right side section structure sketch map that is used for automatic spreader of biscuit production line.
Fig. 5 is an enlarged schematic view of a portion B in fig. 1.
Reference numerals: 1. a uniform discharging component; 2. a control box; 3. a base; 4. a recovery assembly; 5. a conveyor belt; 6. a frame; 7. an auxiliary material storage tank; 8. a material conveying hopper; 41. a material collecting cover; 42. a material collecting box; 43. a groove; 44. a ball screw; 45. a second motor; 46. a nut; 47. a top plate; 48. a guide block; 49. a guide groove; 101. a first motor; 102. a discharge pipe; 103. a limiting slide block; 104. a box body; 105. a push rod; 106. a limiting chute; 107. a material leakage port; 108. a shielding plate; 109. a connecting rod; 110. a crankshaft; 111. a cylinder body; 112. and (4) a sliding sleeve.
Detailed Description
In order to make the objects, technical solutions and advantages of the present invention more apparent, the present invention will be described in detail with reference to the accompanying drawings. It should be understood that the description is intended to be illustrative only and is not intended to limit the scope of the present invention. Moreover, in the following description, descriptions of well-known structures and techniques are omitted so as to not unnecessarily obscure the concepts of the present invention.
As shown in fig. 1-5, the utility model provides an automatic spreader for biscuit production line, which comprises a frame 6, a base 3 arranged at the lower part, an auxiliary material storage tank 7 arranged at the top of the frame 6, a material conveying hopper 8 arranged at the top of the auxiliary material storage tank 7 and a conveyor belt 5 arranged at the middle part in the frame 6, wherein a uniform discharging component 1 is arranged on the surface of one side of the frame 6, and a recovery component 4 is arranged at the bottom in the frame 6;
even ejection of compact subassembly 1 includes multiunit discharging pipe 102 and shielding plate 108, multiunit discharging pipe 102 sets up the bottom in auxiliary material storage tank 7, and run through frame 6 top, shielding plate 108 sets up top in frame 6, set up multiunit drain hole 107 on the shielding plate 108, shielding plate 108 side surface sets up push rod 105, push rod 105 one end and the 111 side fixed surface of cylinder body are connected, cylinder body 111 slides and sets up in sliding sleeve 112, sliding sleeve 112 sets up at frame 6 side surface, the 111 other side surface of cylinder body sets up the connection otic placode, connect articulated connecting rod 109 in the otic placode, the connecting rod 109 other end is articulated with bent axle 110, bent axle 110 rotates and sets up in box body 104, box body 104 sets up at frame 6 side surface, bent axle 110 one end links to each other with the drive shaft of first motor 101, first motor 101 is connected with control box 2 through the connecting wire, control box 2 sets up at frame 6 side surface.
The utility model discloses in, at first with the auxiliary material storage in auxiliary material storage tank 7, then operate first motor 101, first motor 101 drives bent axle 110 and rotates, bent axle 110 drives connecting rod 109 and rotates, connecting rod 109 drives cylinder body 111 reciprocating motion in sliding sleeve 112, cylinder body 111 drives push rod 105 reciprocating motion, push rod 105 drives shielding plate 108 reciprocating motion, after the small opening 107 corresponds with discharging pipe 102, the auxiliary material passes through small opening 107 and carries to the biscuit on the conveyer belt 5.
In an alternative embodiment, the limit sliding block 103 is disposed on one side of the upper surface of the shielding plate 108, one end of the limit sliding block 103 is slidably disposed in the limit sliding groove 106, and the limit sliding groove 106 is disposed on one side of the top portion in the rack 6.
It should be noted that the shielding plate 108 moves to drive the limiting slide block 103 to move in the limiting slide groove 106, so as to improve the guidance of the shielding plate 108 during movement.
In an alternative embodiment, both ends of the connecting rod 109 are hinged to the connecting lug plate and the crankshaft 110 by hinge shafts.
The stability of the link 109 when rotated is improved.
In an alternative embodiment, the recycling assembly 4 comprises a material collecting cover 41 and a material collecting box 42, wherein the material collecting cover 41 is arranged at the inner bottom of the frame 6, the material collecting box 42 is arranged at the inner bottom of the base 3, and the material collecting cover 41 is communicated with the material collecting box 42.
It should be noted that, when the conveying belt 5 rotates, the redundant auxiliary materials drop into the collecting cover 41, the collecting cover 41 conveys the auxiliary materials into the collecting box 42, and the collecting box 42 collects the auxiliary materials.
In an alternative embodiment, a guide block 48 is disposed at the bottom of the base 3, one end of the guide block 48 is engaged with a guide groove 49, and the guide groove 49 is opened on the lower side of the material collecting box 42.
It should be noted that the magazine 42 can be easily removed, and the magazine 42 can be positioned for installation.
In an alternative embodiment, a groove 43 is formed in the lower inner side surface of the base 3, a ball screw 44 is rotatably disposed in the groove 43, a nut 46 is disposed on the ball screw 44, a top plate 47 is disposed on the upper side surface of the nut 46, one end of the ball screw 44 is connected to a driving shaft of a second motor 45 through a coupling, the second motor 45 is disposed on a side surface of the base 3, and the second motor 45 is electrically connected to the control box 2 through a connecting wire.
It should be noted that, when the auxiliary material in the material collecting box 42 needs to be cleaned, the second motor 45 is operated, the second motor 45 drives the ball screw 44 to rotate, the screw 46 drives the top plate 47 to move, the top plate 47 moves to push the material collecting box 42 to move, and then the material collecting box 42 moves out of the base 3, so that the auxiliary material in the material collecting box 42 can be cleaned conveniently.
The control box 2 is used for controlling the first motor 101, the second motor 45 and the conveyor belt 5.
It is to be understood that the above-described embodiments of the present invention are merely illustrative of or explaining the principles of the invention and are not to be construed as limiting the invention. Therefore, any modification, equivalent replacement, improvement and the like made without departing from the spirit and scope of the present invention should be included in the protection scope of the present invention. Further, it is intended that the appended claims cover all such variations and modifications as fall within the scope and boundaries of the appended claims or the equivalents of such scope and boundaries.

Claims (7)

1.一种用于饼干生产线的自动撒料机,其特征在于,包括机架(6)、设置在下部的底座(3)、设置在机架(6)顶部的辅料储箱(7)、设置在辅料储箱(7)顶部的输料斗(8)以及设置在机架(6)内中部的传送带(5),机架(6)一侧表面设置均匀出料组件(1),机架(6)内底部设置回收组件(4);1. An automatic spreader for a biscuit production line, characterized in that it comprises a frame (6), a base (3) arranged at a lower part, an auxiliary material storage box (7) arranged on the top of the frame (6), A feeding hopper (8) arranged on the top of the auxiliary material storage box (7) and a conveyor belt (5) arranged in the middle of the frame (6) are provided with a uniform discharge component (1) on one side surface of the frame (6). (6) A recovery component (4) is arranged at the inner bottom; 均匀出料组件(1)包括多组出料管(102)以及遮挡板(108),多组出料管(102)设置在辅料储箱(7)内底部,并贯穿机架(6)顶部,遮挡板(108)设置在机架(6)内顶部,遮挡板(108)上设置多组漏料口(107),遮挡板(108)一侧表面设置推杆(105),推杆(105)一端与缸体(111)一侧表面固定连接,缸体(111)滑动设置在滑套(112)内,滑套(112)设置在机架(6)一侧表面,缸体(111)另一侧表面设置连接耳板,连接耳板内铰接连杆(109),连杆(109)另一端与曲轴(110)铰接,曲轴(110)转动设置在盒体(104)内,盒体(104)设置在机架(6)一侧表面,曲轴(110)一端与第一电机(101)的驱动轴相连接。The uniform discharge assembly (1) includes multiple sets of discharge pipes (102) and a shielding plate (108). The multiple sets of discharge pipes (102) are arranged at the inner bottom of the auxiliary material storage box (7) and penetrate through the top of the frame (6). , the shielding plate (108) is arranged on the inner top of the frame (6), the shielding plate (108) is provided with a plurality of groups of leakage ports (107), and the side surface of the shielding plate (108) is provided with a push rod (105), and the push rod ( 105) One end is fixedly connected to one side surface of the cylinder block (111), the cylinder block (111) is slidably arranged in the sliding sleeve (112), the sliding sleeve (112) is arranged on the side surface of the frame (6), the cylinder body (111) ) The other side surface is provided with a connecting lug plate, a connecting rod (109) is hinged in the connecting lug plate, the other end of the connecting rod (109) is hinged with the crankshaft (110), and the crankshaft (110) is rotated and arranged in the box body (104), the box The body (104) is arranged on one side surface of the frame (6), and one end of the crankshaft (110) is connected with the drive shaft of the first motor (101). 2.根据权利要求1所述的一种用于饼干生产线的自动撒料机,其特征在于,第一电机(101)通过连接线与控制箱(2)相连接,控制箱(2)设置在机架(6)一侧表面。2. An automatic spreader for biscuit production line according to claim 1, characterized in that, the first motor (101) is connected with the control box (2) through a connecting line, and the control box (2) is arranged in the One side surface of the frame (6). 3.根据权利要求1所述的一种用于饼干生产线的自动撒料机,其特征在于,遮挡板(108)上表面一侧设置限位滑块(103),限位滑块(103)一端滑动设置在限位滑槽(106)内,限位滑槽(106)开设在机架(6)内顶部一侧。3. An automatic spreader for a biscuit production line according to claim 1, characterized in that a limit slider (103) is provided on one side of the upper surface of the shielding plate (108), and the limit slider (103) One end is slidably arranged in the limit chute (106), and the limit chute (106) is opened on the top side of the frame (6). 4.根据权利要求1所述的一种用于饼干生产线的自动撒料机,其特征在于,连杆(109)两端均通过铰轴与连接耳板以及曲轴(110)铰接。4. An automatic spreader for a biscuit production line according to claim 1, wherein both ends of the connecting rod (109) are hinged to the connecting lug plate and the crankshaft (110) through a hinge shaft. 5.根据权利要求1所述的一种用于饼干生产线的自动撒料机,其特征在于,回收组件(4)包括集料罩(41)以及集料盒(42),集料罩(41)设置在机架(6)内底部,集料盒(42)设置在底座(3)内底部,集料罩(41)与集料盒(42)连通。5. An automatic spreader for a biscuit production line according to claim 1, characterized in that the recovery assembly (4) comprises a collection cover (41) and a collection box (42), and the collection cover (41) ) is arranged at the inner bottom of the frame (6), the collecting box (42) is arranged at the inner bottom of the base (3), and the collecting cover (41) is communicated with the collecting box (42). 6.根据权利要求5所述的一种用于饼干生产线的自动撒料机,其特征在于,底座(3)内底部设置导向块(48),导向块(48)一端卡接在导向槽(49)内,导向槽(49)开设在集料盒(42)下侧面上。6. An automatic spreader for a biscuit production line according to claim 5, characterized in that a guide block (48) is provided at the inner bottom of the base (3), and one end of the guide block (48) is clamped in the guide groove (48). 49), a guide groove (49) is provided on the lower side of the collecting box (42). 7.根据权利要求5所述的一种用于饼干生产线的自动撒料机,其特征在于,底座(3)内下侧面开设凹槽(43),凹槽(43)内转动设置滚珠丝杆(44),滚珠丝杆(44)上设置丝母(46),丝母(46)上侧面上设置顶板(47),滚珠丝杆(44)一端通过联轴器与第二电机(45)的驱动轴相连接,第二电机(45)设置在底座(3)一侧表面。7. An automatic spreader for a biscuit production line according to claim 5, wherein a groove (43) is provided on the inner and lower sides of the base (3), and a ball screw is rotated in the groove (43). (44), a nut (46) is arranged on the ball screw (44), a top plate (47) is arranged on the upper side of the nut (46), and one end of the ball screw (44) is connected to the second motor (45) through a coupling The drive shaft is connected with the second motor (45), and the second motor (45) is arranged on one side surface of the base (3).
CN202120953302.6U 2021-05-07 2021-05-07 An automatic spreader for biscuit production line Expired - Fee Related CN215075076U (en)

Priority Applications (1)

Application Number Priority Date Filing Date Title
CN202120953302.6U CN215075076U (en) 2021-05-07 2021-05-07 An automatic spreader for biscuit production line

Applications Claiming Priority (1)

Application Number Priority Date Filing Date Title
CN202120953302.6U CN215075076U (en) 2021-05-07 2021-05-07 An automatic spreader for biscuit production line

Publications (1)

Publication Number Publication Date
CN215075076U true CN215075076U (en) 2021-12-10

Family

ID=79294649

Family Applications (1)

Application Number Title Priority Date Filing Date
CN202120953302.6U Expired - Fee Related CN215075076U (en) 2021-05-07 2021-05-07 An automatic spreader for biscuit production line

Country Status (1)

Country Link
CN (1) CN215075076U (en)

Cited By (1)

* Cited by examiner, † Cited by third party
Publication number Priority date Publication date Assignee Title
CN114988144A (en) * 2022-06-17 2022-09-02 安徽恒元食品机械有限公司 Reciprocating type material scattering mechanism based on spill sesame machine

Cited By (1)

* Cited by examiner, † Cited by third party
Publication number Priority date Publication date Assignee Title
CN114988144A (en) * 2022-06-17 2022-09-02 安徽恒元食品机械有限公司 Reciprocating type material scattering mechanism based on spill sesame machine

Similar Documents

Publication Publication Date Title
CN109013339B (en) Low-loss high-efficiency cleaning machine for fine-grain crops
CN215075076U (en) An automatic spreader for biscuit production line
CN111701648A (en) A grinding device for refractory materials
CN111151326A (en) Rice processing magnetic separation device with impurity removal effect
CN110124988A (en) A kind of automatic sorting device based on car li grade
CN210809042U (en) Automatic powder sprinkling machine for cake production
CN209719974U (en) A kind of automatic blanking device of the feed-processing equipment with dedusting function
CN114749363B (en) A agricultural product automatic separation device for wisdom agricultural
CN113695030B (en) Waste lithium battery crushing and sorting equipment capable of avoiding environmental pollution
CN113141848B (en) Full-automatic peanut picking vehicle and peanut picking method thereof
CN221864421U (en) Cylindrical automatic sesame spreading machine
CN220432767U (en) Rose vinegar rose filter box
CN211243040U (en) Egg white and yolk separating device
CN111955493B (en) Baking equipment who has circulation heat supply mechanism is used in biscuit production
CN117339886A (en) A sweet potato grading system and method based on machine vision
CN210630538U (en) Automatic powder spreading device for cake production
CN211064880U (en) An automatic feeding fish meat separator
CN223393836U (en) Multistage sieving mechanism of pig feed production
CN112167667A (en) Agricultural product grape processing is with equipment of quick washing pesticide dirt
CN205124869U (en) Automatic ration of dough is segmenting device in succession
CN208244792U (en) A kind of interval quantitative devices for husking rice
CN215823794U (en) Corn stigma treatment device for corn processing with intermittent discharging mechanism
CN223233868U (en) A polishing device for grain processing
CN220587166U (en) Livestock-raising excrement and urine cleaning device
CN223234452U (en) Seed look selection machine of many times look selection

Legal Events

Date Code Title Description
GR01 Patent grant
GR01 Patent grant
CF01 Termination of patent right due to non-payment of annual fee

Granted publication date: 20211210

CF01 Termination of patent right due to non-payment of annual fee