CN214979369U - A workpiece fixing device for machining - Google Patents

A workpiece fixing device for machining Download PDF

Info

Publication number
CN214979369U
CN214979369U CN202120861876.0U CN202120861876U CN214979369U CN 214979369 U CN214979369 U CN 214979369U CN 202120861876 U CN202120861876 U CN 202120861876U CN 214979369 U CN214979369 U CN 214979369U
Authority
CN
China
Prior art keywords
pull rod
fixedly connected
machining
frame body
handle
Prior art date
Legal status (The legal status is an assumption and is not a legal conclusion. Google has not performed a legal analysis and makes no representation as to the accuracy of the status listed.)
Expired - Fee Related
Application number
CN202120861876.0U
Other languages
Chinese (zh)
Inventor
马健
张亚锋
Current Assignee (The listed assignees may be inaccurate. Google has not performed a legal analysis and makes no representation or warranty as to the accuracy of the list.)
Xijing University
Original Assignee
Xijing University
Priority date (The priority date is an assumption and is not a legal conclusion. Google has not performed a legal analysis and makes no representation as to the accuracy of the date listed.)
Filing date
Publication date
Application filed by Xijing University filed Critical Xijing University
Priority to CN202120861876.0U priority Critical patent/CN214979369U/en
Application granted granted Critical
Publication of CN214979369U publication Critical patent/CN214979369U/en
Expired - Fee Related legal-status Critical Current
Anticipated expiration legal-status Critical

Links

Images

Landscapes

  • Jigs For Machine Tools (AREA)

Abstract

本实用新型公开了一种机械加工用工件固定装置,包括支撑板,所述支撑板表面下端固定连接有固定块,所述固定块一侧设置有框体,所述框体一侧表面设置有第一拉杆,所述第一拉杆贯穿框体和固定块,所述第一拉杆一端固定连接有第三把手,所述第一拉杆另一端固定连接有卡块,所述第一拉杆表面设置有第二拉力弹簧,所述框体内部一侧表面设置有卡槽,所述框体下端设置有底框板,本实用新型通过设置的第三把手,第三把手既可控制第一拉杆在第二拉力弹簧的作用下使得第一拉杆具有前后移动的作用,也可对固定块起到转动的作用,进而带动支撑板进行角度调整,从而使的工件顶部的倾斜面保持水平,固定简单且牢靠,使用方便。

Figure 202120861876

The utility model discloses a workpiece fixing device for machining, which comprises a support plate, a fixing block is fixedly connected to the lower end of the surface of the support plate, a frame body is arranged on one side of the fixing block, and a surface of one side of the frame body is arranged with a fixing block. A first pull rod, the first pull rod penetrates the frame body and the fixing block, one end of the first pull rod is fixedly connected with a third handle, the other end of the first pull rod is fixedly connected with a clamping block, and the surface of the first pull rod is provided with a For the second tension spring, the inner surface of the frame body is provided with a card slot, and the lower end of the frame body is provided with a bottom frame plate. The third handle is provided in the present invention, and the third handle can both control the first pull rod to move in the second tension spring. Under the action of the two tension springs, the first pull rod can move forward and backward, and it can also rotate the fixed block, thereby driving the support plate to adjust the angle, so that the inclined surface of the top of the workpiece is kept horizontal, and the fixing is simple and reliable. , easy to use.

Figure 202120861876

Description

Workpiece fixing device for machining
Technical Field
The utility model belongs to the technical field of machining, concretely relates to work piece fixing device for machining.
Background
Machining refers to a process of changing the physical dimensions or properties of a workpiece by a mechanical device. The difference in the machining method can be divided into cutting machining and pressing machining.
The workpiece fixing device for the existing machining can only play a simple fixing role, angle adjustment cannot be carried out on the workpiece, when the workpiece needs to be subjected to angle change machining, a worker needs to disassemble and install the workpiece again and then process the workpiece, production efficiency is greatly reduced, and the workpiece fixing device is inconvenient to use.
SUMMERY OF THE UTILITY MODEL
The to-be-solved technical problem of the utility model is to overcome current defect, provide a work piece fixing device for machining to solve the current work piece fixing device for machining who provides in the above-mentioned background art and can only play a simple fixed action, can not carry out angular adjustment to the work piece, add man-hour when the work piece needs to change the angle, the staff need to dismantle again the work piece and process after the installation again, greatly reduced production efficiency and use inconvenient problem.
In order to achieve the above object, the utility model provides a following technical scheme: the utility model provides a work piece fixing device for machining, includes the backup pad, backup pad one side surface upper end is provided with the first riser, backup pad opposite side surface upper end fixedly connected with second riser, backup pad surface lower extreme fixedly connected with fixed block, fixed block one side is provided with the framework, framework one side surface is provided with first pull rod, first pull rod runs through framework and fixed block, first pull rod one end fixedly connected with third handle, first pull rod other end fixedly connected with fixture block, first pull rod surface is provided with second tension spring, the inside side surface of framework is provided with the draw-in groove, the framework lower extreme is provided with the end frame board.
Preferably, a guide groove is formed in one side surface of the first vertical plate, a slot is formed in the lower end of the inner surface of the guide groove, a third pull rod is connected to the inner portion of the guide groove in a sliding mode, one end of the third pull rod is fixedly connected with a second handle, and a plurality of through holes are formed in the surface of the third pull rod.
Preferably, the upper end of the surface of the supporting plate is provided with a sliding groove, a pressing plate is connected inside the sliding groove in a sliding mode, and the pressing plate is fixedly connected to one end of the third pull rod.
Preferably, a buffer groove is formed in the upper end of the surface of the first vertical plate, a second pull rod is connected to the inside of the buffer groove in a sliding mode, a first handle is fixedly connected to the upper end of the surface of the second pull rod, and a first tension spring is arranged on the surface of the second pull rod.
Preferably, the second pull rod penetrates through the third pull rod, and the second pull rod is matched with the slot.
Preferably, the lower ends of the two side surfaces of the bottom frame plate are fixedly connected with connecting plates, and bolts are arranged at the upper ends of the surfaces of the connecting plates.
Preferably, an adjusting bolt is arranged on the surface of one side of the bottom frame plate, the adjusting bolt penetrates through the bottom frame plate and the frame body, an internal thread is arranged inside the frame body, and the frame body is in threaded connection with the surface of the adjusting bolt.
Compared with the prior art, the utility model provides a work piece fixing device for machining possesses following beneficial effect:
1. the utility model has the advantages that through the arranged third handle, the third handle can control the first pull rod to enable the first pull rod to have the function of moving back and forth under the action of the second tension spring, and can also play a role of rotating the fixed block, so as to drive the supporting plate to carry out angle adjustment, thereby enabling the inclined plane at the top of the workpiece to be kept horizontal, the fixation is simple and firm, the use is convenient, through the arranged clamping block, the clamping block is connected with the clamping groove in a clamping way, the fixing effect can be played on the first pull rod, and the stability of the workpiece is improved;
2. the utility model discloses a second handle that sets up, second handle control third pull rod makes the third pull rod have the effect of moving about, drive clamp plate and spout sliding connection, and then adjust the size of a dimension of work piece, be applicable to the work piece of different sizes and size and process, through the first handle that sets up, the first handle controls the second pull rod and makes the second pull rod have the effect of reciprocating under the effect of first tension spring, because the second pull rod is with slot size phase-match, thereby make the second pull rod be connected with the slot block, play the fixed action to the work piece, make the work piece more firm;
3. the utility model discloses an adjusting bolt who sets up because framework threaded connection can play the adjustment effect to the framework on the adjusting bolt surface, conveniently makes the position that the framework drove the work piece adjust under the condition of immobile work piece, can effectively prevent that the secondary clamping of work piece from leading to the fact the difference for its dimensional tolerance, through the bolt that sets up, can play the fixed action to workpiece fixing device for machining, further improves the stability of work piece.
Drawings
The accompanying drawings are included to provide a further understanding of the invention, and are incorporated in and constitute a part of this specification, illustrate embodiments of the invention, and together with the description, do not constitute a limitation of the invention, in which:
fig. 1 is a schematic structural view of a workpiece fixing device for machining according to the present invention;
fig. 2 is a side view of the workpiece fixing device for machining according to the present invention;
fig. 3 is a cross-sectional view of the workpiece fixing device for machining according to the present invention;
fig. 4 is an enlarged schematic structural view of a portion a in fig. 3 of the workpiece fixing device for machining according to the present invention;
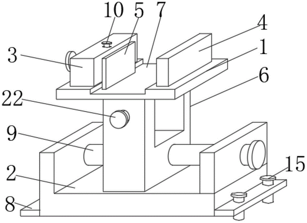
in the figure: 1. a support plate; 2. a bottom frame plate; 3. a first vertical plate; 4. a second vertical plate; 5. pressing a plate; 6. a frame body; 7. a chute; 8. a connecting plate; 9. adjusting the bolt; 10. a first handle; 11. a first pull rod; 12. a fixed block; 13. a card slot; 14. a clamping block; 15. a bolt; 16. a buffer tank; 17. a guide groove; 18. a second pull rod; 19. a slot; 20. a second handle; 21. a third pull rod; 22. a third handle; 23. a first tension spring; 24. a second tension spring.
Detailed Description
The technical solutions in the embodiments of the present invention will be described clearly and completely with reference to the accompanying drawings in the embodiments of the present invention, and it is obvious that the described embodiments are only some embodiments of the present invention, not all embodiments. Based on the embodiments in the present invention, all other embodiments obtained by a person skilled in the art without creative work belong to the protection scope of the present invention.
Referring to fig. 1-4, the present invention provides a technical solution for a workpiece fixing device for machining: a workpiece fixing device for machining comprises a supporting plate 1, wherein a first vertical plate 3 is arranged at the upper end of one side surface of the supporting plate 1, a second vertical plate 4 is fixedly connected at the upper end of the other side surface of the supporting plate 1, a fixed block 12 is fixedly connected at the lower end of the surface of the supporting plate 1, a frame body 6 is arranged at one side of the fixed block 12, a first pull rod 11 is arranged at one side surface of the frame body 6, the first pull rod 11 penetrates through the frame body 6 and the fixed block 12, a third handle 22 is fixedly connected at one end of the first pull rod 11, a clamping block 14 is fixedly connected at the other end of the first pull rod 11, a second tension spring 24 is arranged at the surface of the first pull rod 11, a clamping groove 13 is arranged at one side surface inside the frame body 6, a bottom frame plate 2 is arranged at the lower end of the frame body 6, the third handle 22 can control the first pull rod 11 to have the function of moving back and forth under the function of the second tension spring 24, also can play the pivoted effect to fixed block 12, and then drive backup pad 1 and carry out angular adjustment to the inclined plane at work piece top that makes keeps the level, and is fixed simple and firm, convenient to use, and through the fixture block 14 that sets up, fixture block 14 is connected with draw-in groove 13 block, can play the fixed action to first pull rod 11, improves the stability of work piece.
In the utility model, preferably, a guide groove 17 is arranged on one side surface of the first vertical plate 3, a slot 19 is arranged at the lower end of the inner surface of the guide groove 17, a third pull rod 21 is connected inside the guide groove 17 in a sliding way, one end of the third pull rod 21 is fixedly connected with a second handle 20, and a plurality of through holes are arranged on the surface of the third pull rod 21. the utility model is suitable for processing workpieces with different sizes by arranging the second handle 20 and controlling the third pull rod 21 by the second handle 20 so that the third pull rod 21 has the function of moving left and right, driving the press plate 5 to be connected with the chute 7 in a sliding way, further adjusting the size of the workpiece, controlling the second pull rod 18 to have the function of moving up and down under the action of the first tension spring 23 by the first handle 10, because the size of the second pull rod 18 is matched with the slot 19, therefore, the second pull rod 18 is clamped and connected with the slot 19, a fixing effect is achieved on the workpiece, and the workpiece is firmer.
The utility model discloses in, preferred, 1 surperficial upper ends of backup pad have been seted up spout 7, and 7 inside sliding connection of spout have clamp plate 5, and clamp plate 5 fixed connection is in third pull rod 21 one end.
The utility model discloses in, preferred, the dashpot 16 has been seted up to 3 surperficial upper ends of first riser, and 16 inside sliding connection of dashpots have a second pull rod 18, and 18 surperficial upper ends fixedly connected with first in command 10 of second pull rod, 18 surfaces of second pull rod are provided with first tension spring 23.
The utility model discloses in, preferred, second pull rod 18 runs through third pull rod 21, second pull rod 18 and slot 19 phase-match.
The utility model discloses in, preferred, the equal fixedly connected with connecting plate 8 of 2 both sides of underframe board surface lower extreme, connecting plate 8 upper surface is provided with bolt 15.
The utility model discloses in, it is preferred, 2 side surfaces of underframe board are provided with adjusting bolt 9, and adjusting bolt 9 runs through underframe board 2 and framework 6, the inside internal thread that is equipped with of framework 6, framework 6 threaded connection is on adjusting bolt 9 surface, the utility model discloses an adjusting bolt 9 that sets up, because framework 6 threaded connection is on adjusting bolt 9 surface, can play the adjustment effect to framework 6, conveniently make framework 6 drive the position of work piece adjust under the condition of motionless work piece, can effectively prevent that the secondary clamping of work piece from leading to the fact the difference for its dimensional tolerance, through the bolt 15 that sets up, can play the fixed action to the work piece fixing device for machining, further improve the stability of work piece.
The utility model discloses a theory of operation and use flow: when the device is used, the workpiece fixing device for machining is fixed on a machine tool through the arranged bolt 15, a workpiece is placed on the supporting plate 1, the third pull rod 21 is controlled through the arranged second handle 20 to enable the third pull rod 21 to have the function of moving left and right, the pressing plate 5 is driven to be in sliding connection with the sliding groove 7, the pressing plate 5 is adjusted to a proper position, the second pull rod 18 is controlled through the arranged first handle 10 to enable the second pull rod 18 to have the function of moving up and down under the action of the first tension spring 23, the size of the second pull rod 18 is matched with that of the slot 19, the through hole formed in the surface of the second pull rod 18 is clamped and connected with the slot 19, the workpiece is fixed, when the workpiece needs to be moved, the adjusting bolt 9 is arranged, and the frame body 6 can be adjusted due to the threaded connection of the frame body 6 on the surface of the adjusting bolt 9, drive the work piece with framework 6 and adjust the assigned position and fix, when needs carry out angular adjustment to the work piece, third handle 22 through setting up, both steerable first pull rod 11 makes first pull rod 11 have the effect of back-and-forth movement under second tension spring 24's effect, also can drive fixed block 12 to third pull rod 21 and play rotatory effect, it adjusts suitable angle to drive backup pad 1 and work piece, be connected with draw-in groove 13 block through the fixture block 14 that sets up, play the fixed action to first pull rod 11, thereby the inclined plane at work piece top that makes keeps the level, both can process.
Although embodiments of the present invention have been shown and described, it will be appreciated by those skilled in the art that changes, modifications, substitutions and alterations can be made in these embodiments without departing from the principles and spirit of the invention, the scope of which is defined in the appended claims and their equivalents.

Claims (7)

1. The utility model provides a work piece fixing device for machining, includes backup pad (1), its characterized in that: the utility model discloses a medical instrument, including backup pad (1), fixed block (12), framework (6) one side surface is provided with first pull rod (11), first pull rod (11) run through framework (6) and fixed block (12), first pull rod (11) one end fixedly connected with third handle (22), first pull rod (11) other end fixedly connected with fixture block (14), first pull rod (11) surface is provided with second tension spring (24), the inside side surface of framework (6) is provided with draw-in groove (13), framework (6) lower extreme is provided with end frame plate (2).
2. A workpiece holding device for machining according to claim 1, wherein: guide way (17) have been seted up to first riser (3) side surface, guide way (17) inside surface lower extreme is provided with slot (19), the inside sliding connection of guide way (17) has third pull rod (21), third pull rod (21) one end fixedly connected with second handle (20), third pull rod (21) surface is equipped with a plurality of through-hole.
3. A workpiece holding device for machining according to claim 1, wherein: the supporting plate is characterized in that the upper end of the surface of the supporting plate (1) is provided with a sliding groove (7), a pressing plate (5) is connected to the inside of the sliding groove (7) in a sliding mode, and the pressing plate (5) is fixedly connected to one end of a third pull rod (21).
4. A workpiece holding device for machining according to claim 1, wherein: buffer slot (16) have been seted up to first riser (3) surface upper end, buffer slot (16) inside sliding connection has second pull rod (18), second pull rod (18) surface upper end fixedly connected with first in command (10), second pull rod (18) surface is provided with first tension spring (23).
5. A workpiece holding device for machining according to claim 4, wherein: the second pull rod (18) penetrates through the third pull rod (21), and the second pull rod (18) is matched with the slot (19).
6. A workpiece holding device for machining according to claim 1, wherein: the lower ends of the surfaces of the two sides of the bottom frame plate (2) are fixedly connected with connecting plates (8), and the upper ends of the surfaces of the connecting plates (8) are provided with bolts (15).
7. A workpiece holding device for machining according to claim 1, wherein: the improved structure is characterized in that an adjusting bolt (9) is arranged on the surface of one side of the bottom frame plate (2), the adjusting bolt (9) penetrates through the bottom frame plate (2) and the frame body (6), an internal thread is arranged inside the frame body (6), and the frame body (6) is in threaded connection with the surface of the adjusting bolt (9).
CN202120861876.0U 2021-04-25 2021-04-25 A workpiece fixing device for machining Expired - Fee Related CN214979369U (en)

Priority Applications (1)

Application Number Priority Date Filing Date Title
CN202120861876.0U CN214979369U (en) 2021-04-25 2021-04-25 A workpiece fixing device for machining

Applications Claiming Priority (1)

Application Number Priority Date Filing Date Title
CN202120861876.0U CN214979369U (en) 2021-04-25 2021-04-25 A workpiece fixing device for machining

Publications (1)

Publication Number Publication Date
CN214979369U true CN214979369U (en) 2021-12-03

Family

ID=79091285

Family Applications (1)

Application Number Title Priority Date Filing Date
CN202120861876.0U Expired - Fee Related CN214979369U (en) 2021-04-25 2021-04-25 A workpiece fixing device for machining

Country Status (1)

Country Link
CN (1) CN214979369U (en)

Cited By (1)

* Cited by examiner, † Cited by third party
Publication number Priority date Publication date Assignee Title
CN115889842A (en) * 2022-11-14 2023-04-04 井冈山电器有限公司 Assembly equipment for digital TV set-top box production

Cited By (1)

* Cited by examiner, † Cited by third party
Publication number Priority date Publication date Assignee Title
CN115889842A (en) * 2022-11-14 2023-04-04 井冈山电器有限公司 Assembly equipment for digital TV set-top box production

Similar Documents

Publication Publication Date Title
CN201592274U (en) Adjustable bidirectional plane milling device
CN207788309U (en) A kind of fraise jig
CN210147036U (en) Clamp for mechanical drilling
CN203679592U (en) Adjustable welding tool
CN214979369U (en) A workpiece fixing device for machining
CN213195769U (en) A special drilling device for inclined holes of stainless steel joints
CN206253930U (en) A kind of steel plate milling fixing device
CN213080776U (en) Inclined hole processing jig
CN110605514B (en) Steel formwork laminating device for building engineering
CN208575284U (en) A kind of roller part double-faced boring lathe
CN219901102U (en) Quick positioning and locking device
CN218145653U (en) Movable I-steel installation auxiliary device
CN218487491U (en) Quick clamping device of gantry laser cutting machine
CN218081011U (en) Drilling device for machining of machine tool upright post and machine tool body
CN210387909U (en) A pipe fitting ion cutter
CN216326565U (en) Anchor clamps with part position control function
CN223801838U (en) Fixing device is used in aircraft seat production
CN222176507U (en) Welding workpiece for pipeline
CN221696730U (en) Dynamic equipment mounting platform capable of reducing labor intensity
CN219767501U (en) A laser scanning profile end milling machine
CN220112502U (en) Hydraulic device for processing screw threads by bar stock
CN219213077U (en) Machining positioning device
CN221603819U (en) Clamp for CNC (computerized numerical control) machine tool
CN216608107U (en) Tool for fixing base
CN218080986U (en) Limiting device for laser cutting of quartz crystal

Legal Events

Date Code Title Description
GR01 Patent grant
GR01 Patent grant
CF01 Termination of patent right due to non-payment of annual fee

Granted publication date: 20211203

CF01 Termination of patent right due to non-payment of annual fee