CN214928207U - 一种多工位节能环保印刷设备 - Google Patents
一种多工位节能环保印刷设备 Download PDFInfo
- Publication number
- CN214928207U CN214928207U CN202120467926.7U CN202120467926U CN214928207U CN 214928207 U CN214928207 U CN 214928207U CN 202120467926 U CN202120467926 U CN 202120467926U CN 214928207 U CN214928207 U CN 214928207U
- Authority
- CN
- China
- Prior art keywords
- fixedly arranged
- environment
- saving
- plate
- motor
- Prior art date
- Legal status (The legal status is an assumption and is not a legal conclusion. Google has not performed a legal analysis and makes no representation as to the accuracy of the status listed.)
- Active
Links
- 230000005540 biological transmission Effects 0.000 claims abstract description 16
- 238000001459 lithography Methods 0.000 claims description 4
- 238000005192 partition Methods 0.000 claims description 4
- 239000000976 ink Substances 0.000 description 23
- 230000033001 locomotion Effects 0.000 description 4
- 239000000463 material Substances 0.000 description 4
- 239000002699 waste material Substances 0.000 description 3
- 239000000919 ceramic Substances 0.000 description 1
- 239000011521 glass Substances 0.000 description 1
- 230000005484 gravity Effects 0.000 description 1
- 239000010985 leather Substances 0.000 description 1
- 230000007246 mechanism Effects 0.000 description 1
- 239000002184 metal Substances 0.000 description 1
- 239000004033 plastic Substances 0.000 description 1
- 229920003023 plastic Polymers 0.000 description 1
- 238000007747 plating Methods 0.000 description 1
- 239000004753 textile Substances 0.000 description 1
- 239000002023 wood Substances 0.000 description 1
Images
Landscapes
- Rotary Presses (AREA)
Abstract
本实用新型属于多工位节能环保印刷技术领域,尤其是一种多工位节能环保印刷设备,针对现有的多工位节能环保印刷设备,通常拓板与传输带为两个电机带动,调试时十分麻烦,且浪费能源,在印刷时不能自动出墨与闭墨,不方便使用,实用性低的问题,现提出如下方案,其包括L形支撑座,所述L形支撑座上固定设置有支撑块,所述支撑块上固定安装有支撑轴,所述L形支撑座的一侧固定设置有电机,所述电机的输出轴与转动杆的一端均固定安装有转轮,两个所述转轮的外侧转动连接有同一个皮带,本实用新型拓板与传输带由一个电机带动,调试方便,节约能源,在印刷时能自动出墨与闭墨,方便使用,实用性强。
Description
技术领域
本实用新型涉及多工位节能环保印刷技术领域,尤其涉及一种多工位节能环保印刷设备。
背景技术
印刷机是印刷设备的一部分,印刷机是印刷文字和图像的机器。现代印刷机一般由装版、涂墨、压印、输纸(包括折叠)等机构组成。它的工作原理是:先将要印刷的文字和图像制成印版,装在印刷机上,然后由人工或印刷机把墨涂敷于印版上有文字和图像的地方,再直接或间接地转印到纸或其他承印物(如纺织品、金属板、塑胶、皮革、木板、玻璃和陶瓷)上,从而复制出与印版相同的印刷品,为了提高效率,人们会采用多工位加工的方式。
现有的多工位节能环保印刷设备,通常拓板与传输带为两个电机带动,调试时十分麻烦,且浪费能源,在印刷时不能自动出墨与闭墨,不方便使用,实用性低。
实用新型内容
本实用新型的目的是为了解决现有的多工位节能环保印刷设备,通常拓板与传输带为两个电机带动,调试时十分麻烦,且浪费能源,在印刷时不能自动出墨与闭墨,不方便使用,实用性低的缺点,而提出的一种多工位节能环保印刷设备。
为了实现上述目的,本实用新型采用了如下技术方案:
一种多工位节能环保印刷设备,包括L形支撑座,所述L形支撑座上固定设置有支撑块,所述支撑块上固定安装有支撑轴,所述支撑轴上转动安装有转动杆,所述L形支撑座的一侧固定设置有电机,所述电机的输出轴与转动杆的一端均固定安装有转轮,两个所述转轮的外侧转动连接有同一个皮带,所述转动杆的另一端固定设置有主动齿轮,所述支撑块上转动安装有转动套筒,所述转动套筒上固定安装有从动齿轮,所述从动齿轮内滑动设置有滑动柱,所述转动套筒的内壁上开设有凸轮槽,所述滑动柱上固定设置有固定块,所述固定块与凸轮槽滑动连接,所述支撑块上固定设置有伸缩杆,所述滑动柱与伸缩杆上固定设置有同一个固定支撑板,所述固定支撑板上固定安装有连接柱,所述连接柱上固定设置有墨盒。
优选的,所述墨盒内滑动安装有挡板,所述挡板上固定设置有连接杆,所述连接杆上固定安装有弹簧,所述连接杆上固定设置有拓板,所述弹簧与拓板固定连接。
优选的,所述L形支撑座上固定安装有固定柱,所述固定柱上固定安装有连接板,所述连接板上固定安装有隔板。
优选的,所述L形支撑座上传动安装有传输带,所述传输带的主轴与电机的输出轴固定连接。
与现有技术相比,本实用新型的优点在于:
(1)本方案由于设置了转动杆、转轮、皮带、主动齿轮、转动套筒、从动齿轮、滑动柱、凸轮槽和固定块的相互配合,能使一个电机带动传输带与拓板同时运动,节约能源的使用,且在调试时更加便捷,方便使用。
(2)本方案由于设置了墨盒、挡板、连接杆、弹簧和拓板的相互配合,能在印刷时自动出墨与闭墨,避免墨水漏出造成浪费,对环境造成污染,实用性强。
(3)本方案由于设置伸缩杆,能使在印刷时更加稳定,避免印刷时,滑动柱发生偏移,造成印刷的质量低下。
本实用新型拓板与传输带由一个电机带动,调试方便,节约能源,在印刷时能自动出墨与闭墨,方便使用,实用性强。
附图说明
图1为本实用新型提出的一种多工位节能环保印刷设备的结构示意图;
图2为本实用新型提出的一种多工位节能环保印刷设备的侧视结构示意图;
图3为本实用新型提出的一种多工位节能环保印刷设备的俯视结构示意图;
图4为本实用新型提出的一种多工位节能环保印刷设备的A部分结构示意图;
图5为本实用新型提出的一种多工位节能环保印刷设备的转动套筒的剖视结构示意图;
图6为本实用新型提出的一种多工位节能环保印刷设备的滑动柱的结构示意图。
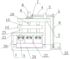
图中:1、L形支撑座;2、支撑块;3、支撑轴;4、转动杆;5、转轮;6、皮带;7、主动齿轮;8、转动套筒;9、从动齿轮;10、滑动柱;11、凸轮槽;12、固定块;13、伸缩杆;14、固定支撑板;15、墨盒;16、挡板;17、连接杆;18、弹簧;19、拓板;20、固定柱;21、连接板;22、隔板;23、电机;24、传输带;25、连接柱。
具体实施方式
下面将结合本实施例中的附图,对本实施例中的技术方案进行清楚、完整地描述,显然,所描述的实施例仅仅是本实施例一部分实施例,而不是全部的实施例。
参照图1-6,一种多工位节能环保印刷设备,包括L形支撑座1,L形支撑座1上固定设置有支撑块2,支撑块2上固定安装有支撑轴3,支撑轴3上转动安装有转动杆4,L形支撑座1的一侧固定设置有电机23,电机23的输出轴与转动杆4的一端均固定安装有转轮5,两个转轮5的外侧转动连接有同一个皮带6,转动杆4的另一端固定设置有主动齿轮7,支撑块2上转动安装有转动套筒8,转动套筒8上固定安装有从动齿轮9,从动齿轮9内滑动设置有滑动柱10,转动套筒8的内壁上开设有凸轮槽11,滑动柱10上固定设置有固定块12,固定块12与凸轮槽11滑动连接,支撑块2上固定设置有伸缩杆13,滑动柱10与伸缩杆13上固定设置有同一个固定支撑板14,固定支撑板14上固定安装有连接柱25,连接柱25上固定设置有墨盒15。
本实施例中,墨盒15内滑动安装有挡板16,挡板16上固定设置有连接杆17,连接杆17上固定安装有弹簧18,连接杆17上固定设置有拓板19,弹簧18与拓板19固定连接。
本实施例中,L形支撑座1上固定安装有固定柱20,固定柱20上固定安装有连接板21,连接板21上固定安装有隔板22。
本实施例中,L形支撑座1上传动安装有传输带24,传输带24的主轴与电机23的输出轴固定连接。
本实施例中,使用时,启动电机23,电机23带动传输带24传动,将材料进行运输,同时电机23通过两个转轮5和一个皮带6带动转动杆4转动,转动杆4带动主动齿轮7转动,主动齿轮7带动从动齿轮9转动,从动齿轮9带动转动套筒8转动,并使固定块12在凸轮槽11内滑动,从而使滑动柱10进行往复垂直运动,滑动柱10带动固定支撑板14进行往复垂直运动,固定支撑板14通过连接柱25带动墨盒15往复垂直运动,当拓板19与材料接触时,拓板19带动连接杆17向上运动,连接杆17带动挡板16向上运动,将墨盒15内的墨水传输到拓板19内,对材料进行打印,当拓板19与材料取消接触时,在弹簧18与重力的作用下,挡板16将墨盒15的出口堵住,避免墨水漏出造成浪费,可以节约墨水的使用,方便使用,实用性强。
以上所述,仅为本实施例较佳的具体实施方式,但本实施例的保护范围并不局限于此,任何熟悉本技术领域的技术人员在本实施例揭露的技术范围内,根据本实施例的技术方案及其实用新型构思加以等同替换或改变,都应涵盖在本实施例的保护范围之内。
Claims (4)
1.一种多工位节能环保印刷设备,包括L形支撑座(1),其特征在于,所述L形支撑座(1)上固定设置有支撑块(2),所述支撑块(2)上固定安装有支撑轴(3),所述支撑轴(3)上转动安装有转动杆(4),所述L形支撑座(1)的一侧固定设置有电机(23),所述电机(23)的输出轴与转动杆(4)的一端均固定安装有转轮(5),两个所述转轮(5)的外侧转动连接有同一个皮带(6),所述转动杆(4)的另一端固定设置有主动齿轮(7),所述支撑块(2)上转动安装有转动套筒(8),所述转动套筒(8)上固定安装有从动齿轮(9),所述从动齿轮(9)内滑动设置有滑动柱(10),所述转动套筒(8)的内壁上开设有凸轮槽(11),所述滑动柱(10)上固定设置有固定块(12),所述固定块(12)与凸轮槽(11)滑动连接,所述支撑块(2)上固定设置有伸缩杆(13),所述滑动柱(10)与伸缩杆(13)上固定设置有同一个固定支撑板(14),所述固定支撑板(14)上固定安装有连接柱(25),所述连接柱(25)上固定设置有墨盒(15)。
2.根据权利要求1所述的一种多工位节能环保印刷设备,其特征在于,所述墨盒(15)内滑动安装有挡板(16),所述挡板(16)上固定设置有连接杆(17),所述连接杆(17)上固定安装有弹簧(18),所述连接杆(17)上固定设置有拓板(19),所述弹簧(18)与拓板(19)固定连接。
3.根据权利要求1所述的一种多工位节能环保印刷设备,其特征在于,所述L形支撑座(1)上固定安装有固定柱(20),所述固定柱(20)上固定安装有连接板(21),所述连接板(21)上固定安装有隔板(22)。
4.根据权利要求1所述的一种多工位节能环保印刷设备,其特征在于,所述L形支撑座(1)上传动安装有传输带(24),所述传输带(24)的主轴与电机(23)的输出轴固定连接。
Priority Applications (1)
| Application Number | Priority Date | Filing Date | Title |
|---|---|---|---|
| CN202120467926.7U CN214928207U (zh) | 2021-03-04 | 2021-03-04 | 一种多工位节能环保印刷设备 |
Applications Claiming Priority (1)
| Application Number | Priority Date | Filing Date | Title |
|---|---|---|---|
| CN202120467926.7U CN214928207U (zh) | 2021-03-04 | 2021-03-04 | 一种多工位节能环保印刷设备 |
Publications (1)
| Publication Number | Publication Date |
|---|---|
| CN214928207U true CN214928207U (zh) | 2021-11-30 |
Family
ID=79117492
Family Applications (1)
| Application Number | Title | Priority Date | Filing Date |
|---|---|---|---|
| CN202120467926.7U Active CN214928207U (zh) | 2021-03-04 | 2021-03-04 | 一种多工位节能环保印刷设备 |
Country Status (1)
| Country | Link |
|---|---|
| CN (1) | CN214928207U (zh) |
Cited By (1)
| Publication number | Priority date | Publication date | Assignee | Title |
|---|---|---|---|---|
| CN119460420A (zh) * | 2025-01-14 | 2025-02-18 | 湖南省长城铭泰新材料科技有限公司 | 一种多重防伪包装袋及其印刷设备 |
-
2021
- 2021-03-04 CN CN202120467926.7U patent/CN214928207U/zh active Active
Cited By (1)
| Publication number | Priority date | Publication date | Assignee | Title |
|---|---|---|---|---|
| CN119460420A (zh) * | 2025-01-14 | 2025-02-18 | 湖南省长城铭泰新材料科技有限公司 | 一种多重防伪包装袋及其印刷设备 |
Similar Documents
| Publication | Publication Date | Title |
|---|---|---|
| CN214928207U (zh) | 一种多工位节能环保印刷设备 | |
| CN211054688U (zh) | 一种新型平板印刷机的进纸装置 | |
| CN211075090U (zh) | 一种带有烘干机构的印刷机 | |
| CN209756412U (zh) | 一种印刷机正反版印刷翻转机构 | |
| CN216231191U (zh) | 一种便于调节的水性印刷成型机 | |
| CN215755386U (zh) | 一种双滑道码纸装置 | |
| CN210026682U (zh) | 一种印刷机的自动供墨装置 | |
| CN210011477U (zh) | 一种彩色印刷机 | |
| CN222156927U (zh) | 一种便于调节印刷辊的印刷机 | |
| CN214495008U (zh) | 一种自动供料的ps版标签印刷机 | |
| CN222004689U (zh) | 一种印刷机用印刷滚筒 | |
| CN221339910U (zh) | 一种印刷机自动循环供墨装置 | |
| CN210337258U (zh) | 一种多工位节能环保印刷设备 | |
| CN216996968U (zh) | 一种印刷机集料用可调整设备 | |
| CN220242812U (zh) | 一种胶辊传送机构 | |
| CN221519040U (zh) | 一种具有均匀出墨机构的胶印机 | |
| CN218749852U (zh) | 一种印刷机的印刷网架 | |
| CN2174322Y (zh) | 一种名片印刷机 | |
| CN218519385U (zh) | 一种led紫外光源烘干固化的胶印喷码装置 | |
| CN110561909A (zh) | 一种快速干燥的纸张印刷装置 | |
| CN217347317U (zh) | 一种计算机硬件开发用便于定位的刻印装置 | |
| CN218615923U (zh) | 一种印刷传墨机构 | |
| CN219650784U (zh) | 一种水性油墨印刷薄膜多色凹版印刷机 | |
| CN215402194U (zh) | 绿色印刷输纸装置 | |
| CN219469112U (zh) | 胶印机输纸装置 |
Legal Events
| Date | Code | Title | Description |
|---|---|---|---|
| GR01 | Patent grant | ||
| GR01 | Patent grant |