CN214913850U - A membrane module backwash device - Google Patents

A membrane module backwash device Download PDF

Info

Publication number
CN214913850U
CN214913850U CN202120501739.6U CN202120501739U CN214913850U CN 214913850 U CN214913850 U CN 214913850U CN 202120501739 U CN202120501739 U CN 202120501739U CN 214913850 U CN214913850 U CN 214913850U
Authority
CN
China
Prior art keywords
box body
pipeline
outer box
opening
fixedly connected
Prior art date
Legal status (The legal status is an assumption and is not a legal conclusion. Google has not performed a legal analysis and makes no representation as to the accuracy of the status listed.)
Active
Application number
CN202120501739.6U
Other languages
Chinese (zh)
Inventor
邹清川
邹振生
邹焕鑫
张伟瑜
高海杰
董子厂
Current Assignee (The listed assignees may be inaccurate. Google has not performed a legal analysis and makes no representation or warranty as to the accuracy of the list.)
Guangxi Guohong Zhihong Environmental Protection Technology Group Co ltd
Original Assignee
Guangxi Guohong Zhihong Environmental Protection Technology Group Co ltd
Priority date (The priority date is an assumption and is not a legal conclusion. Google has not performed a legal analysis and makes no representation as to the accuracy of the date listed.)
Filing date
Publication date
Application filed by Guangxi Guohong Zhihong Environmental Protection Technology Group Co ltd filed Critical Guangxi Guohong Zhihong Environmental Protection Technology Group Co ltd
Priority to CN202120501739.6U priority Critical patent/CN214913850U/en
Application granted granted Critical
Publication of CN214913850U publication Critical patent/CN214913850U/en
Active legal-status Critical Current
Anticipated expiration legal-status Critical

Links

Images

Landscapes

  • Filtration Of Liquid (AREA)

Abstract

本实用新型涉及水处理设备技术领域,且公开了一种膜组件反冲洗装置,包括外箱体,所述外箱体的底部固定连接有排污管道,所述排污管道远离外箱体的一端固定连接有排污阀门。该膜组件反冲洗装置,正常使用对水进行过滤时,水流由限流管道的过滤开口流入至滤网筒的内部,水流在滤网筒的内部向外侧流动进行过滤同时向下流动推动推流板进行转动,推流板转动通过清洗刷条对滤网筒的内壁过滤出的杂质进行刷洗,将杂质向下进行拨动,使杂质沿滤网筒的内壁向下流动并落入至排污管道的内部,从而防止杂质大量积累在滤网筒的表面影响水质和过滤的效果,清洗时,通过双向电机、转轴、推流板和清洗刷条的配合提高了对滤网筒的清洗效果。

Figure 202120501739

The utility model relates to the technical field of water treatment equipment, and discloses a membrane module backwashing device, comprising an outer box body, the bottom of the outer box body is fixedly connected with a sewage pipe, and one end of the sewage pipe away from the outer box body is fixed A drain valve is connected. When the membrane module backwash device is used to filter water in normal use, the water flow flows into the inside of the filter cartridge through the filter opening of the restrictor pipe, and the water flows outside the filter cartridge for filtration while flowing downwards to push the flow. The plate rotates, and the pusher plate rotates to scrub the impurities filtered from the inner wall of the filter cylinder through the cleaning brush, and push the impurities downward, so that the impurities flow down along the inner wall of the filter cylinder and fall into the sewage pipe. In order to prevent a large amount of impurities from accumulating on the surface of the filter cartridge to affect the water quality and filtration effect, the cleaning effect of the filter cartridge is improved by the cooperation of the bidirectional motor, the rotating shaft, the pusher plate and the cleaning brush during cleaning.

Figure 202120501739

Description

Membrane module back flush device
Technical Field
The utility model relates to the technical field of water treatment equipment, in particular to a membrane module backwashing device.
Background
Water usually needs impurity such as the suspended solid of aquatic and particulate matter before using, general back flush filter equipment can not in time clear up the filter screen when filtering water, need wait to just can wash after the filter screen surface adheres to the impurity accumulation, the effect of washing is poor, wash the cycle length, the impurity accumulation is more and wash the filter effect reduction that leads to the filter screen before, and impurity accumulation causes the pollution to the water of filtering the flow through easily on the surface of filter screen for a long time, influence quality of water.
SUMMERY OF THE UTILITY MODEL
Technical problem to be solved
The utility model provides a not enough to prior art, the utility model provides a membrane module back flush mounting has solved and has washed the problem that cleaning effect is poor and impurity accumulates easily and influences the filter effect.
(II) technical scheme
In order to achieve the above object, the present invention provides the following technical solutions: a membrane component backwashing device comprises an outer box body, wherein a sewage discharge pipeline is fixedly connected to the bottom of the outer box body, a sewage discharge valve is fixedly connected to one end, away from the outer box body, of the sewage discharge pipeline, a fixing support is fixedly connected to the position, close to the outer side, of the bottom of the outer box body, a bidirectional motor is fixedly connected to the inner side of the fixing support through a fixing rod, a drainage pipeline is fixedly connected to the position, close to the lower end, of the outer wall of the right side of the outer box body, the inner wall of the bottom of the outer box body is fixedly connected with a filter screen cylinder, the top of the outer box body is fixedly connected with a water supply pipeline through a support, a control device is arranged at the lower end of the water supply pipeline, the bottom of the control device is rotatably connected with a rotating shaft through a bearing, an output end of the bidirectional motor penetrates through the sewage discharge pipeline and extends into the filter screen cylinder to be fixedly connected with the bottom end of the rotating shaft, and a thrust plate is fixedly connected to the outer wall of the rotating shaft, the outer wall of the flow pushing plate is fixedly connected with a cleaning brush strip.
Preferably, the control device comprises a regulating pipeline, a handle, a drainage opening, a flow limiting pipeline, a cleaning opening and a filtering opening, the regulating pipeline is connected with a rotating shaft at a position which is not in the middle of the top of the outer box body through a bearing, the handle is fixedly connected with the outer wall of the regulating pipeline and the position which is positioned at the upper side of the outer box body, the lower end of the regulating pipeline penetrates through the outer box body and extends into the outer box body, the bottom end of the regulating pipeline is rotatably connected with the top end of the rotating shaft through a bearing, the flow-limiting pipeline is connected with the outer wall of the regulating pipeline through a bearing and a position rotating shaft positioned in the outer box body, the drainage opening is arranged on the outer wall of the regulating and controlling pipeline and is positioned at the inner side of the flow limiting pipeline, the cleaning opening is arranged on the outer wall of the flow limiting pipeline and is positioned at the upper left side, and the filtering opening is arranged on the outer wall of the flow limiting pipeline and is positioned at the lower front side.
Preferably, the bottom of outer box and the position fixedly connected with that is located filter screen cylinder bottom connect the material funnel, sewage pipes with connect the bottom fixed connection of material funnel, collect the impurity that falls down filter screen cylinder inside and make impurity get into the inside of sewage pipes through connecing the material funnel.
Preferably, the filter screen cylinder is divided into three layers, the middle layer is a filter membrane, the outer layer and the inner layer are fixed filter cylinders, the filter membrane sheets are fixed through the fixed filter cylinders, and water is filtered through the filter membrane sheets.
Preferably, the thrust plate is spiral and can move water flow rapidly through the thrust plate.
Preferably, the height of the drain opening is greater than the vertical height between the top of the washing opening and the bottom of the filtering opening, so that the drain opening can drain through the washing opening and the filtering opening.
Preferably, the width of the drainage opening is smaller than the diameters of the cleaning opening and the filtering opening, so that the drainage opening can be used for independent drainage when the drainage opening is used for drainage of the cleaning opening or the filtering opening, and the simultaneous drainage of the cleaning opening and the filtering opening is prevented.
Compared with the prior art, the utility model provides a membrane module back flush unit possesses following beneficial effect:
1. this membrane module back washing unit, set up the pivot, the thrust plate and wash the brush strip, when normal use filters water, the rivers flow into the inside to the filter screen section of thick bamboo by the filtration opening of flow-limiting pipeline, rivers flow to the outside in the inside of filter screen section of thick bamboo and filter simultaneously and flow downwards and promote the thrust plate and rotate, the thrust plate rotates and brushes through washing the impurity that the inner wall of filter screen section of thick bamboo crossed the play of filter screen section of thick bamboo through washing the brush strip, stir impurity downwards, make impurity flow downwards along the inner wall of filter screen section of thick bamboo and fall into the inside of sewage pipes, thereby prevent that impurity from accumulating in a large number in the surface influence quality of water and filterable effect of filter screen section of thick bamboo.
2. The membrane component backwashing device is provided with a regulating pipeline, a handle, a drainage opening, a flow limiting pipeline, a cleaning opening and a filtering opening, wherein the regulating pipeline is rotated by the handle during normal filtering use to ensure that the drainage opening is just opposite to the position of the filtering opening, so that water in the regulating pipeline enters the inside of a filter screen cylinder through the drainage opening and the filtering opening, when the water flows out from the inside of the filter screen cylinder, the water is filtered through the filter screen cylinder, the filtered water is discharged through the drainage pipeline, when the membrane component is required to be cleaned, the drainage pipeline is closed, a sewage discharge valve is opened, the drainage opening is just opposite to the cleaning opening by rotating the regulating pipeline by the handle, the water flows into a gap between an outer box body and the filter screen cylinder through the cleaning opening, the water flows to the inner side of the filter screen cylinder from the outer side of the filter screen cylinder, so as to wash the filter screen cylinder and separate impurities attached to the inner wall of the filter screen cylinder, make impurity flow in to the inside of a filter screen section of thick bamboo, start two-way motor simultaneously, two-way motor drives the pivot and rotates, and the pivot drives the thrust plate and rotates inside sewage and move downwards to sewage pipes's inside and discharge, and the thrust plate drives simultaneously and washs the brush strip and rotate, scrubs the inner wall of a filter screen section of thick bamboo through wasing the brush strip, has further improved abluent effect.
Drawings
FIG. 1 is a schematic structural view of the present invention;
FIG. 2 is a schematic sectional view of the present invention;
fig. 3 is a schematic structural diagram of the control device of the present invention.
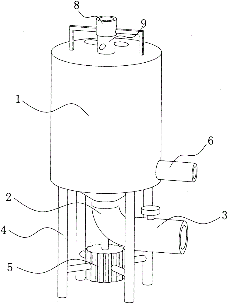
Wherein: 1. an outer case; 2. a blowdown line; 3. a blowdown valve; 4. fixing a bracket; 5. a bi-directional motor; 6. a water discharge pipeline; 7. a screen cylinder; 8. a water supply pipeline; 9. a control device; 91. regulating and controlling a pipeline; 92. a handle; 93. a drain opening; 94. a flow-restricting conduit; 95. cleaning the opening; 96. a filtration opening; 10. a rotating shaft; 11. a thrust plate; 12. and cleaning the brush strip.
Detailed Description
The technical solutions in the embodiments of the present invention will be described clearly and completely with reference to the accompanying drawings in the embodiments of the present invention, and it is obvious that the described embodiments are only some embodiments of the present invention, not all embodiments. Based on the embodiments in the present invention, all other embodiments obtained by a person skilled in the art without creative work belong to the protection scope of the present invention.
Referring to fig. 1-3, the utility model provides a membrane module backwashing device, which comprises an outer box 1, a sewage pipe 2 is fixedly connected to the bottom of the outer box 1, a material receiving funnel is fixedly connected to the bottom of the outer box 1 and the bottom of a filter screen cylinder 7, the sewage pipe 2 is fixedly connected to the bottom of the material receiving funnel, the impurities falling from the inside of the filter screen cylinder 7 are collected by the material receiving funnel and enter into the sewage pipe 2, a sewage valve 3 is fixedly connected to the end of the sewage pipe 2 far away from the outer box 1, a fixed bracket 4 is fixedly connected to the bottom of the outer box 1 and the position near the outer side, a bidirectional motor 5 is fixedly connected to the inner side of the fixed bracket 4 through a fixed rod, a drainage pipe 6 is fixedly connected to the outer wall of the right side of the outer box 1 and the position near the lower end, the inner wall of the bottom of the outer box 1 is fixedly connected to the filter screen cylinder 7, the filter screen cylinder 7 is divided into three layers, the middle layer is a filter membrane, the outer layer and the inner layer are fixed filter cylinders, the filter membrane is fixed through the fixed filter cylinders, water is filtered through the filter membrane, the top of the outer box body 1 is fixedly connected with a water supply pipeline 8 through a support, the lower end of the water supply pipeline 8 is provided with a control device 9, the bottom of the control device 9 is rotatably connected with a rotating shaft 10 through a bearing, the output end of a bidirectional motor 5 penetrates through a sewage discharge pipeline 2 and extends into the filter screen cylinder 7 to be fixedly connected with the bottom end of the rotating shaft 10, the outer wall of the rotating shaft 10 is fixedly connected with a flow pushing plate 11, the flow pushing plate 11 is spiral and drives water flow to rapidly flow through the flow pushing plate 11, the outer wall of the flow pushing plate 11 is fixedly connected with a cleaning brush bar 12, the rotating shaft 10, the flow pushing plate 11 and the cleaning brush bar 12 are arranged, when water is filtered in normal use, the water flows into the filter screen cylinder 7 from a filtering opening 96 of a flow limiting pipeline 94, rivers flow to the outside in the inside of filter screen section of thick bamboo 7 and filter and flow downwards simultaneously and promote the thrust plate 11 and rotate, and thrust plate 11 rotates and brushes through the impurity that washs the inner wall filtration of filter screen section of thick bamboo 7 through washing brush strip 12, stirs impurity downwards, makes impurity flow downwards along the inner wall of filter screen section of thick bamboo 7 and falls into the inside to sewage pipes 2 to prevent that a large amount of accumulations of impurity from influencing quality of water and filterable effect at the surface of filter screen section of thick bamboo 7.
The control device 9 comprises a regulating and controlling pipeline 91, a handle 92, a drainage opening 93, a flow limiting pipeline 94, a cleaning opening 95 and a filtering opening 96, wherein the regulating and controlling pipeline 91 is connected with a position rotating shaft which is not in the middle of the top of the outer box body 1 through a bearing, the handle 92 is fixedly connected with the outer wall of the regulating and controlling pipeline 91 and is positioned at the upper side of the outer box body 1, the lower end of the regulating and controlling pipeline 91 is penetrated through the outer box body 1 and extends into the outer box body 1, the bottom end of the regulating and controlling pipeline 91 is rotatably connected with the top end of the rotating shaft 10 through a bearing, the flow limiting pipeline 94 is connected with the outer wall of the regulating and controlling pipeline 91 and is positioned at the position rotating shaft in the inner box body 1 through a bearing, the drainage opening 93 is arranged at the outer wall of the regulating and is positioned at the inner side of the flow limiting pipeline 94, the cleaning opening 95 is arranged at the outer wall of the flow limiting pipeline 94 and is positioned at the upper left side, the filtering opening 96 is arranged at the outer wall of the flow limiting pipeline 94 and is positioned at the lower front side, the height of the drainage opening 93 is larger than the vertical height between the top of the cleaning opening 95 and the bottom of the filtering opening 96, so that the drainage opening 93 can be drained through the cleaning opening 95 and the filtering opening 96, the width of the drainage opening 93 is smaller than the diameters of the cleaning opening 95 and the filtering opening 96, so that the drainage is carried out when the drainage opening 93 is over against the cleaning opening 95 or the filtering opening 96, and the simultaneous drainage of the cleaning opening 95 and the filtering opening 96 is prevented, the regulating and controlling pipeline 91, the handle 92, the drainage opening 93, the flow limiting pipeline 94, the cleaning opening 95 and the filtering opening 96 are arranged, when the normal filtering is used, the regulating and controlling pipeline 91 is rotated by the handle 92 so that the drainage opening 93 is over against the position of the filtering opening 96, so that the water in the regulating and controlling pipeline 91 enters the inside of the filtering screen cylinder 7 through the drainage opening 93 and the filtering opening 96, when the water flows out from the inside of the filtering screen cylinder 7, the filtered water is discharged through the drainage pipeline 6, when the water needs to be cleaned, the drainage pipeline 6 is closed, the blow-down valve 3 is opened, the adjusting and controlling pipeline 91 is rotated through the handle 92 to enable the drainage opening 93 to be just opposite to the cleaning opening 95, the water flows into a gap between the outer box body 1 and the filter screen cylinder 7 through the cleaning opening 95, the water flows from the outer side of the filter screen cylinder 7 to the inner side of the filter screen cylinder 7, so that the filter screen cylinder 7 is washed, impurities attached to the inner wall of the filter screen cylinder 7 are separated, the impurities flow into the inner part of the filter screen cylinder 7, the two-way motor 5 is started at the same time, the two-way motor 5 drives the rotating shaft 10 to rotate, the rotating shaft 10 drives the flow pushing plate 11 to rotate to move the internal sewage downwards to the inner part of the blow-down pipeline 2 and discharge the internal sewage, the flow pushing plate 11 drives the cleaning brush strips 12 to rotate at the same time, the inner wall of the filter screen cylinder 7 is scrubbed through the cleaning brush strips 12, further improving the cleaning effect.
When the water filter is used, when the water filter is carried out, the handle 92 rotates the regulating and controlling pipeline 91 to enable the drainage opening 93 to be opposite to the position of the filtering opening 96, the water flow flows into the inside of the filter screen cylinder 7 from the filtering opening 96 of the flow limiting pipeline 94, the water flow flows outwards in the inside of the filter screen cylinder 7 to be filtered and flows downwards to push the thrust plate 11 to rotate, the thrust plate 11 rotates to scrub impurities filtered from the inner wall of the filter screen cylinder 7 through the cleaning brush strips 12, the impurities are stirred downwards to enable the impurities to flow downwards along the inner wall of the filter screen cylinder 7 and fall into the inside of the sewage discharging pipeline 2, therefore, the impurities are prevented from being accumulated on the surface of the filter screen cylinder 7 in a large quantity to influence the water quality and the filtering effect, when the water filter needs to be cleaned, the drainage pipeline 6 is closed, the sewage discharging valve 3 is opened, the drainage opening 93 is opposite to the cleaning opening 95 through the handle 92 rotating the regulating and controlling pipeline 91, the water flow flows into a gap between the outer box body 1 and the filter screen cylinder 7 through the cleaning opening 95, rivers flow by the outside of filter screen section of thick bamboo 7 to the inboard of filter screen section of thick bamboo 7, thereby wash filter screen section of thick bamboo 7, separate filter screen section of thick bamboo 7 inner wall adnexed impurity, make impurity flow in to the inside of filter screen section of thick bamboo 7, start two-way motor 5 simultaneously, two-way motor 5 drives pivot 10 and rotates, pivot 10 drives flow pushing plate 11 and rotates inside sewage and move downwards to sewage pipes 2's inside and discharge, flow pushing plate 11 drives simultaneously and washs brush 12 and rotate, scrub the inner wall of filter screen section of thick bamboo 7 through wasing brush 12, abluent effect has further been improved.
Although embodiments of the present invention have been shown and described, it will be appreciated by those skilled in the art that changes, modifications, substitutions and alterations can be made in these embodiments without departing from the principles and spirit of the invention, the scope of which is defined in the appended claims and their equivalents.

Claims (7)

1. The utility model provides a membrane module back flush unit, includes outer box (1), its characterized in that: the bottom of the outer box body (1) is fixedly connected with a sewage discharge pipeline (2), one end of the sewage discharge pipeline (2) far away from the outer box body (1) is fixedly connected with a sewage discharge valve (3), the bottom of the outer box body (1) is fixedly connected with a fixed support (4) at a position close to the outer side, the inner side of the fixed support (4) is fixedly connected with a two-way motor (5) through a fixed rod, the outer wall of the right side of the outer box body (1) is fixedly connected with a water discharge pipeline (6) at a position close to the lower end, the inner wall of the bottom of the outer box body (1) is fixedly connected with a filter screen cylinder (7), the top of the outer box body (1) is fixedly connected with a water supply pipeline (8) through a support, the lower end of the water supply pipeline (8) is provided with a control device (9), the bottom of the control device (9) is rotatably connected with a rotating shaft (10) through a bearing, the output of two-way motor (5) runs through sewage pipes (2) and extends the inside of filter screen section of thick bamboo (7) and the bottom fixed connection of pivot (10), the outer wall fixedly connected with of pivot (10) pushes away class board (11), the outer wall fixedly connected with of pushing away class board (11) washs brush-strip (12).
2. The membrane module backwashing apparatus as claimed in claim 1, wherein: the control device (9) comprises a regulation and control pipeline (91), a handle (92), a drainage opening (93), a flow limiting pipeline (94), a cleaning opening (95) and a filtering opening (96), wherein the regulation and control pipeline (91) is connected with a position rotating shaft which is not arranged in the middle of the top of the outer box body (1) through a bearing, the handle (92) is fixedly connected with the outer wall of the regulation and control pipeline (91) and is positioned at the upper side of the outer box body (1), the lower end of the regulation and control pipeline (91) close to the middle of the outer box body (1) penetrates through the outer box body (1) and extends into the outer box body (1), the bottom end of the regulation and control pipeline (91) is rotatably connected with the top end of the rotating shaft (10) through a bearing, the flow limiting pipeline (94) is connected with the outer wall of the regulation and is positioned at the position rotating shaft in the outer box body (1) through a bearing, the drainage opening (93) is arranged at the outer wall of the regulation and is positioned at the inner side of the flow limiting pipeline (94), the cleaning opening (95) is formed in the outer wall of the flow limiting pipeline (94) and located at the upper left side, and the filtering opening (96) is formed in the outer wall of the flow limiting pipeline (94) and located at the lower front side.
3. The membrane module backwashing apparatus as claimed in claim 1, wherein: the bottom of the outer box body (1) is fixedly connected with a material receiving funnel at the bottom of the filter screen cylinder (7), and the sewage discharge pipeline (2) is fixedly connected with the bottom of the material receiving funnel.
4. The membrane module backwashing apparatus as claimed in claim 1, wherein: the filter screen cylinder (7) is divided into three layers, the middle layer is a filter membrane, and the outer layer and the inner layer are fixed filter cylinders.
5. The membrane module backwashing apparatus as claimed in claim 1, wherein: the thrust plate (11) is spiral.
6. The membrane module backwashing apparatus as claimed in claim 2, wherein: the height of the drain opening (93) is greater than the vertical height between the top of the washing opening (95) and the bottom of the filtering opening (96).
7. The membrane module backwashing apparatus as claimed in claim 2, wherein: the width of the drainage opening (93) is smaller than the diameter of the cleaning opening (95) and the filtering opening (96).
CN202120501739.6U 2021-03-05 2021-03-05 A membrane module backwash device Active CN214913850U (en)

Priority Applications (1)

Application Number Priority Date Filing Date Title
CN202120501739.6U CN214913850U (en) 2021-03-05 2021-03-05 A membrane module backwash device

Applications Claiming Priority (1)

Application Number Priority Date Filing Date Title
CN202120501739.6U CN214913850U (en) 2021-03-05 2021-03-05 A membrane module backwash device

Publications (1)

Publication Number Publication Date
CN214913850U true CN214913850U (en) 2021-11-30

Family

ID=79118245

Family Applications (1)

Application Number Title Priority Date Filing Date
CN202120501739.6U Active CN214913850U (en) 2021-03-05 2021-03-05 A membrane module backwash device

Country Status (1)

Country Link
CN (1) CN214913850U (en)

Cited By (4)

* Cited by examiner, † Cited by third party
Publication number Priority date Publication date Assignee Title
CN114522541A (en) * 2022-02-17 2022-05-24 广东嘉元科技股份有限公司 A belt cleaning device that is arranged in copper foil production RO membrane
CN118236871A (en) * 2024-02-27 2024-06-25 浙江开创环保科技股份有限公司 Sewage filtering device and filtering method
CN118640299A (en) * 2024-08-12 2024-09-13 有氟密管阀集团有限公司 A fluorine-lined eccentric hemispherical valve with a connection structure
CN120242577A (en) * 2025-06-05 2025-07-04 山东日兴新材料股份有限公司 A washing device for removing impurities from bromination reaction products

Cited By (5)

* Cited by examiner, † Cited by third party
Publication number Priority date Publication date Assignee Title
CN114522541A (en) * 2022-02-17 2022-05-24 广东嘉元科技股份有限公司 A belt cleaning device that is arranged in copper foil production RO membrane
CN114522541B (en) * 2022-02-17 2022-11-11 广东嘉元科技股份有限公司 A belt cleaning device that is arranged in copper foil production RO membrane
CN118236871A (en) * 2024-02-27 2024-06-25 浙江开创环保科技股份有限公司 Sewage filtering device and filtering method
CN118640299A (en) * 2024-08-12 2024-09-13 有氟密管阀集团有限公司 A fluorine-lined eccentric hemispherical valve with a connection structure
CN120242577A (en) * 2025-06-05 2025-07-04 山东日兴新材料股份有限公司 A washing device for removing impurities from bromination reaction products

Similar Documents

Publication Publication Date Title
CN214913850U (en) A membrane module backwash device
CN101766142B (en) Method and filtering system for removing solid suspended particles from aquaculture system
CN101406773A (en) Filter with self-cleaning rotating filter element
CN101363238A (en) Filter of washbasin launching second use
CN218049329U (en) Camellia oleifera seed cleaning equipment for processing
CN218686758U (en) Rotary water decanter
CN117205632A (en) resin trap
CN220394811U (en) A road drainage diversion device
CN205412418U (en) Wastewater filtering device is bred to beasts and birds
CN207755840U (en) A kind of quick back-washing dirt separator of through type
CN209204846U (en) A kind of grid maker fishing slag system
KR100746507B1 (en) Village running water filtration system with automatic backwash
CN208815647U (en) A kind of water pipeline for hydraulic engineering
CN212742195U (en) Anti-blocking peripheral equipment for municipal bridge road drainage channel
CN209997294U (en) filter equipment that old and useless fishing net preparation regeneration granule was used
CN113005465B (en) Acid pickling module for galvanizing line barrel plating process
CN209005321U (en) A kind of filter device in municipal drain
CN220202839U (en) But self-cleaning's rainwater collection device
CN114790765A (en) A rainwater collection and circulation device for ecological gardens
CN220276429U (en) Self-cleaning filter with anti-blocking structure
CN207002423U (en) A kind of novel oil-water separator
CN111974080A (en) A assembled water purification structure that permeates water for kitchen guarding
CN219620947U (en) Ultrafiltration membrane filter equipment for sewage
CN2554920Y (en) Filter
CN221715253U (en) A fully automatic cylinder cleaning machine

Legal Events

Date Code Title Description
GR01 Patent grant
GR01 Patent grant
CP01 Change in the name or title of a patent holder
CP01 Change in the name or title of a patent holder

Address after: 537100 Guohong Zhihong factory area, qintang Industrial Park, Guigang City, Guangxi Zhuang Autonomous Region

Patentee after: Guangxi Guohong Zhihong Environmental Protection Technology Group Co.,Ltd.

Address before: 537100 Guohong Zhihong factory area, qintang Industrial Park, Guigang City, Guangxi Zhuang Autonomous Region

Patentee before: Guangxi Guohong Zhihong Environmental Protection Technology Group Co.,Ltd.

EE01 Entry into force of recordation of patent licensing contract
EE01 Entry into force of recordation of patent licensing contract

Assignee: Guangxi Guohong Zhihong Water Service Co.,Ltd.

Assignor: Guangxi Guohong Zhihong Environmental Protection Technology Group Co.,Ltd.

Contract record no.: X2023980048970

Denomination of utility model: A membrane module backwashing device

Granted publication date: 20211130

License type: Common License

Record date: 20231129

EE01 Entry into force of recordation of patent licensing contract
EE01 Entry into force of recordation of patent licensing contract

Assignee: Guangxi Mingzhi Construction Co.,Ltd.

Assignor: Guangxi Guohong Zhihong Environmental Protection Technology Group Co.,Ltd.

Contract record no.: X2024980023883

Denomination of utility model: A membrane module backwashing device

Granted publication date: 20211130

License type: Common License

Record date: 20241115

EE01 Entry into force of recordation of patent licensing contract
EE01 Entry into force of recordation of patent licensing contract

Assignee: Guangxi blue ocean Testing Co.,Ltd.

Assignor: Guangxi Guohong Zhihong Environmental Protection Technology Group Co.,Ltd.

Contract record no.: X2025980027757

Denomination of utility model: A membrane module backwashing device

Granted publication date: 20211130

License type: Common License

Record date: 20251020

EC01 Cancellation of recordation of patent licensing contract

Assignee: Guangxi Mingzhi Construction Co.,Ltd.

Assignor: Guangxi Guohong Zhihong Environmental Protection Technology Group Co.,Ltd.

Contract record no.: X2024980023883

Date of cancellation: 20251110