CN214792410U - A kind of dehumidification equipment for post-treatment process of polyacrylamide device - Google Patents

A kind of dehumidification equipment for post-treatment process of polyacrylamide device Download PDF

Info

Publication number
CN214792410U
CN214792410U CN202120848225.8U CN202120848225U CN214792410U CN 214792410 U CN214792410 U CN 214792410U CN 202120848225 U CN202120848225 U CN 202120848225U CN 214792410 U CN214792410 U CN 214792410U
Authority
CN
China
Prior art keywords
polyacrylamide
device body
post
dehumidification
dehumidification equipment
Prior art date
Legal status (The legal status is an assumption and is not a legal conclusion. Google has not performed a legal analysis and makes no representation as to the accuracy of the status listed.)
Active
Application number
CN202120848225.8U
Other languages
Chinese (zh)
Inventor
袁冬玉
翁尚龙
Current Assignee (The listed assignees may be inaccurate. Google has not performed a legal analysis and makes no representation or warranty as to the accuracy of the list.)
Fushun Xinlong Chemical Co ltd
Original Assignee
Fushun Xinlong Chemical Co ltd
Priority date (The priority date is an assumption and is not a legal conclusion. Google has not performed a legal analysis and makes no representation as to the accuracy of the date listed.)
Filing date
Publication date
Application filed by Fushun Xinlong Chemical Co ltd filed Critical Fushun Xinlong Chemical Co ltd
Priority to CN202120848225.8U priority Critical patent/CN214792410U/en
Application granted granted Critical
Publication of CN214792410U publication Critical patent/CN214792410U/en
Active legal-status Critical Current
Anticipated expiration legal-status Critical

Links

Images

Landscapes

  • Drying Of Gases (AREA)

Abstract

本实用新型公开了一种聚丙烯酰胺装置后处理工序除湿设备,包括装置本体,所述驱动电机传动下端竖直安装有螺旋输送杆,所述螺旋输送杆一侧安装有隔板,且隔板上端设置有回流口,所述装置本体一侧设置有壳体,且壳体内部安装有热风机,所述热风机通过导气管连接有出风口。本实用新型中,倾斜的挡板可以缓冲聚丙烯酰胺的下落,使聚丙烯酰胺下落速度降慢,同时热风机吹出的热气经过导气管由出风口排出对聚丙烯酰胺进行除湿干燥,下落后的聚丙烯酰胺再由螺旋输送杆向上输送,在经过回流口下落到挡板上面,进行循环除湿,这种方式可以使聚丙烯酰胺的受热均匀,除湿干燥彻底,流动起来也可以防止结块,除湿效果好,提高了生产效率和质量。

Figure 202120848225

The utility model discloses a dehumidification device for the post-treatment process of a polyacrylamide device, which comprises a device body, a screw conveying rod is vertically installed at the lower end of the drive motor drive, a partition plate is installed on one side of the screw conveying rod, and the partition plate A return port is arranged at the upper end, a casing is arranged on one side of the device body, and a hot air blower is installed inside the casing, and the hot air blower is connected with an air outlet through an air duct. In the utility model, the inclined baffle can buffer the falling of the polyacrylamide, so that the falling speed of the polyacrylamide is slowed down. The polyacrylamide is then transported upward by the screw conveying rod, and then falls on the baffle plate through the return port for cyclic dehumidification. This method can make the polyacrylamide heat evenly, dehumidify and dry thoroughly, and prevent caking and dehumidification when flowing. The effect is good, and the production efficiency and quality are improved.

Figure 202120848225

Description

Polyacrylamide device aftertreatment process dehumidification equipment
Technical Field
The utility model relates to a dehumidification equipment technical field especially relates to a polyacrylamide device aftertreatment process dehumidification equipment.
Background
Polyacrylamide is a linear organic high molecular polymer, and is also a high molecular water treatment flocculant product, and can specially adsorb suspended particles in water, so that the particles have a bridging effect, and fine particles form relatively large flocs, and the precipitation speed is accelerated.
The prior art has the following problems:
in the following processing steps, i.e. the final process, in the polyacrylamide production plant, dehumidification equipment is often used, which is required to remove the water from the polyacrylamide to keep it dry, however, most of the prior polyacrylamide dehumidifying devices dehumidify polyacrylamide by placing a large amount of polyacrylamide into a drying barrel at one time and dehumidifying a large amount of polyacrylamide at one time, however, the method can cause non-uniform heating of the polyacrylamide, cause incomplete dehumidification treatment of a part of the polyacrylamide, affect the quality of the polyacrylamide, have long time and low production efficiency, simultaneously, after the dehumidification process is accomplished again to some polyacrylamide's eating equipment in market, be not convenient for take out the material that is dried from the teeter chamber, inconvenient weighing when people's packing is handled, inconvenient people use.
We therefore propose a dehumidification plant for the finishing process of a polyacrylamide device to overcome the above disadvantages.
SUMMERY OF THE UTILITY MODEL
The utility model aims at solving the defects existing in the prior art and providing a dehumidifying device for a posttreatment process of a polyacrylamide device.
In order to achieve the above purpose, the utility model adopts the following technical scheme: the utility model provides a polyacrylamide device aftertreatment process dehumidification equipment, includes the device body, driving motor is installed to device body upper end, and the driving motor transmission shaft runs through the vertical spiral delivery rod of installing in device body one side, the baffle is installed to spiral delivery rod one side, and is provided with the backward flow mouth on the baffle, device body one side is provided with the casing, and casing internally mounted has the air heater, the air heater is connected with the air outlet through the air duct.
Preferably, electric telescopic handle is installed through the connecting block in device body bottom, and electric telescopic handle one end is connected with the rubber piece, state the inside bottom of device body and seted up the discharge gate, and discharge gate one side is provided with the recess, the recess uses with the cooperation of rubber piece, the discharge gate below is provided with the collecting box, and the collecting box lower extreme installs weighing sensor, the weighing sensor lower extreme is provided with the mounting panel.
Preferably, the air outlet is provided with a plurality of air outlets, and the surface of the air outlet is provided with a dust screen.
Preferably, the baffle is installed to device body one side inner wall, and the baffle is provided with a plurality ofly, the baffle is the slope form installation.
Preferably, the upper end of the center of the device body is provided with an exhaust port, a filter screen is arranged inside the exhaust port, a feed inlet is arranged on one side of the exhaust port, and a top cover is arranged at the upper end of the feed inlet.
Preferably, the landing leg is installed to the casing lower extreme, the landing leg is provided with a plurality ofly, and the even symmetry of a plurality of landing legs is installed at casing lower extreme surface, landing leg one side is connected with the mounting panel.
Preferably, the outer side surface of the device body is provided with a glass window, and one side of the glass window is provided with a controller.
Compared with the prior art, the utility model has the advantages that;
1. the utility model has the advantages that the device body has good dehumidification effect on polyacrylamide by the cooperation of the air heater, the air outlet, the spiral conveying rod and the baffle, the worker adds the polyacrylamide into the device body through the feed inlet, the inclined baffle can buffer the falling of the polyacrylamide, the falling speed of the polyacrylamide is reduced, meanwhile, hot air blown out by the hot air blower is discharged from the air outlet through the air duct to dehumidify and dry the polyacrylamide, and the polyacrylamide after falling is conveyed upwards by the spiral conveying rod, the polyacrylamide falls onto the baffle plate through the reflux port for cyclic dehumidification, the mode can ensure that the polyacrylamide is uniformly heated, the dehumidification and the drying are thorough, the polyacrylamide can also prevent agglomeration when flowing, simultaneously, people can observe the inside polyacrylamide dehumidification condition of the device body through the glass window, the device has good dehumidification effect, and the production efficiency and the quality are improved.
2. The utility model discloses, through setting up electric telescopic handle, the rubber block, a groove, collecting box and weighing sensor's cooperation is used, make polyacrylamide accomplish the back in the dehumidification, the ejection of compact of being convenient for, make things convenient for people to weigh the packing and handle, the dehumidification is accomplished the back, people make electric telescopic handle shrink through the controller, it breaks away from the recess to drive the rubber block, open the discharge gate, arrange polyacrylamide to the collecting box through the discharge gate, weighing sensor is installed to the collecting box lower extreme, after polyacrylamide in the collecting box reaches the weight that people set up through the controller, electric telescopic handle will stretch out, it is closed with rubber block and recess, close the feed inlet, people can pack the polyacrylamide after the collecting box weighed, in the ejection of compact, also weigh, make things convenient for people to pack and use, and is simple in operation, high durability and convenient for use.
Drawings
In order to more clearly illustrate the embodiments of the present invention or the technical solutions in the prior art, the drawings required to be used in the embodiments will be briefly described below, and it is obvious that the drawings in the following description are only some embodiments of the present invention, and for those skilled in the art, other drawings can be obtained according to these drawings without creative efforts.
FIG. 1 is a schematic structural view of a post-treatment process dehumidification device of a polyacrylamide device according to the present invention;
FIG. 2 is a schematic view of a glass window of a dehumidifying device for post-treatment process of polyacrylamide device according to the present invention;
fig. 3 is the utility model provides an enlarged schematic view of a polyacrylamide device aftertreatment process dehumidification equipment A.
Illustration of the drawings:
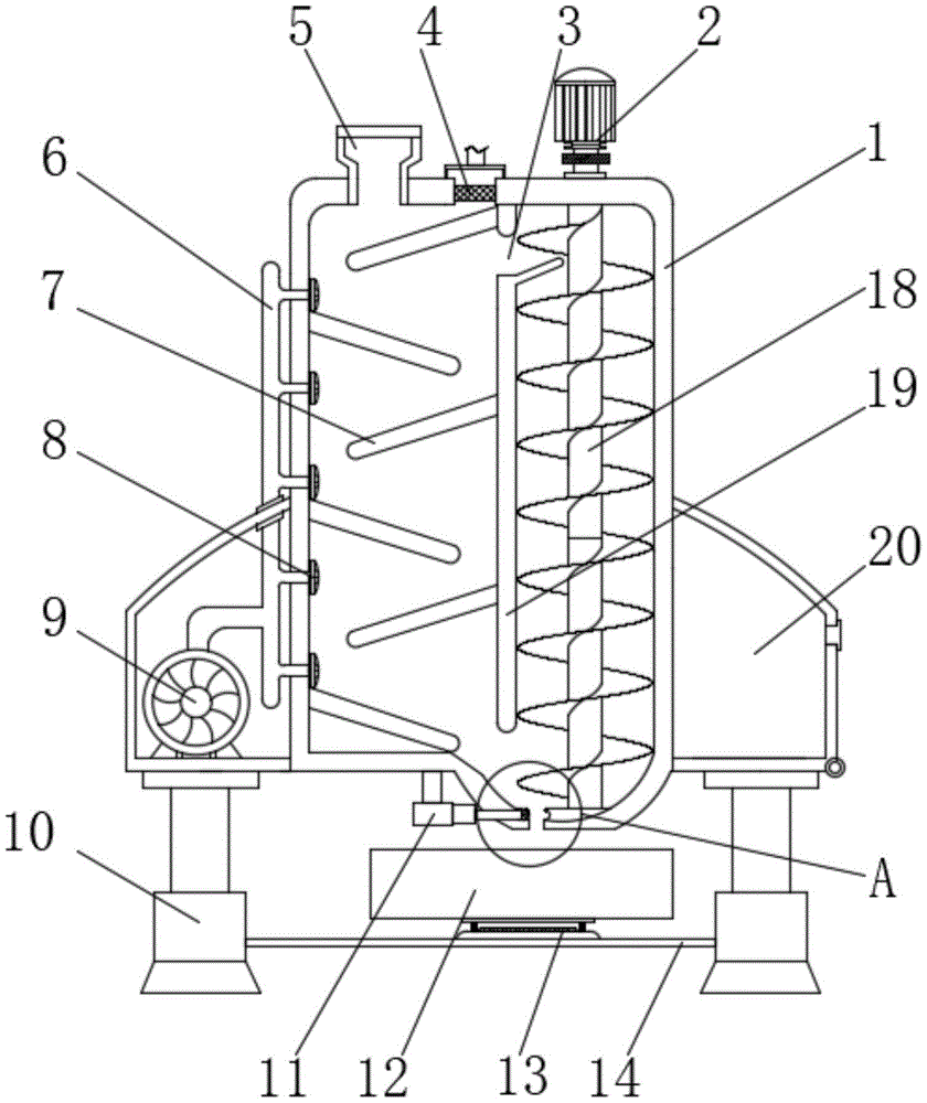
1. a device body; 2. a drive motor; 3. a return port; 4. a filter screen; 5. a feed inlet; 6. an air duct; 7. a baffle plate; 8. an air outlet; 9. a hot air blower; 10. a support leg; 11. an electric telescopic rod; 12. a collection box; 13. a weighing sensor; 14. mounting a plate; 15. an exhaust port; 16. a glass window; 17. a controller; 18. a screw conveying rod; 19. a partition plate; 20. a housing; 21. a discharge port; 22. a rubber block; 23. and (4) a groove.
Detailed Description
The technical solutions in the embodiments of the present invention will be described clearly and completely with reference to the accompanying drawings in the embodiments of the present invention, and it is obvious that the described embodiments are only some embodiments of the present invention, not all embodiments. Based on the embodiments in the present invention, all other embodiments obtained by a person skilled in the art without creative work belong to the protection scope of the present invention.
In the description of the present invention, it should be noted that the terms "center", "upper", "lower", "left", "right", "vertical", "horizontal", "inner", "outer", and the like indicate orientations or positional relationships based on the orientations or positional relationships shown in the drawings, and are only for convenience of description and simplification of description, but do not indicate or imply that the device or element referred to must have a specific orientation, be constructed and operated in a specific orientation, and thus, should not be construed as limiting the present invention; the terms "first," "second," and "third" are used for descriptive purposes only and are not to be construed as indicating or implying relative importance; furthermore, unless expressly stated or limited otherwise, the terms "mounted," "connected," and "connected" are to be construed broadly, as they may be fixedly connected, detachably connected, or integrally connected, for example; can be mechanically or electrically connected; they may be connected directly or indirectly through intervening media, or they may be interconnected between two elements. The specific meaning of the above terms in the present invention can be understood in specific cases to those skilled in the art.
Referring to fig. 1-3, a post-treatment process dehumidification device for a polyacrylamide device comprises a device body 1, a driving motor 2 is installed at the upper end of the device body 1, a transmission shaft of the driving motor 2 penetrates through one side of the device body 1 to be vertically provided with a spiral conveying rod 18, a partition plate 19 is installed at one side of the spiral conveying rod 18, a backflow port 3 is formed in the upper end of the partition plate 19, a shell 20 is arranged at one side of the device body 1, an air heater 9 is installed inside the shell 20, the air heater 9 is connected with an air outlet 8 through an air duct 6, a plurality of air outlets 8 are installed, and a dust screen is installed on the surface of the air outlet 8.
In this embodiment: through air heater 9, air outlet 8, the cooperation of auger delivery pole 18 and baffle 7 is used, make device body 1 have good dehumidification effect to polyacrylamide, the workman adds device body 1 inside with polyacrylamide through feed inlet 5, the whereabouts of polyacrylamide can be cushioned to the baffle 7 of slope, make polyacrylamide whereabouts speed slow down, the steam that air heater 9 blew off simultaneously carries out dehumidification drying by air duct 6 by 8 discharges to polyacrylamide, polyacrylamide after the decline is carried upwards by auger delivery pole 18 again, fall on baffle 7 through backward flow mouth 3, the circulation dehumidifies, this kind of mode can make polyacrylamide be heated evenly, dehumidification drying is thorough, it can also prevent the caking to flow.
Specifically, electric telescopic handle 11 is installed through the connecting block in 1 bottom of device body, and 11 one end of electric telescopic handle is connected with rubber block 22, states 1 inside bottom of device body and has seted up discharge gate 21, and discharge gate 21 one side is provided with recess 23, and recess 23 uses with the cooperation of rubber block 22, and discharge gate 21 below is provided with collecting box 12, and weighing sensor 13 is installed to collecting box 12 lower extreme, and weighing sensor 13 lower extreme is provided with mounting panel 14.
In this embodiment: through the matched use of the electric telescopic rod 11, the rubber block 22, the groove 23, the collecting box 12 and the weighing sensor 13, the polyacrylamide is convenient to discharge after dehumidification is completed, weighing and packaging processing of people are facilitated, the electric telescopic rod 11 is contracted by people through the controller 17 to drive the rubber block 22 to be separated from the groove 23, and a discharge hole is opened; 21, allowing polyacrylamide to pass through a discharge hole; 21 row is to in the collecting box 12, weighing sensor 13 is installed to collecting box 12 lower extreme, after polyacrylamide in collecting box 12 reached the weight that people set up through controller 17, electric telescopic handle 11 will stretch out, it is closed with rubber block 22 and recess 23, close feed inlet 5, people can pack the polyacrylamide after collecting box 12 weighed and handle, in the time of the ejection of compact, also weigh, make things convenient for people to pack the use, and easy operation, high durability and convenient use, electric telescopic handle 11 and weighing sensor 13 belong to the common general knowledge in this field, only use it, do not reform transform, so detailed description control mode and circuit connection no longer.
Specifically, the upper end of the center of the device body 1 is provided with an exhaust port 15, a filter screen 4 is arranged inside the exhaust port 15, a feed inlet 5 is arranged on one side of the exhaust port 15, and a top cover is arranged at the upper end of the feed inlet 5.
In this embodiment: through setting up gas vent 15 and filter screen 4, make the convenient discharge of hot-air blower 9 exhaust, prevent that the inside gas of device body 1 is too much, gas is scurry, and filter screen 4 prevents that polyacrylamide from discharging along with gas together.
Specifically, baffle 7 is installed to device body 1 one side inner wall, and baffle 7 is provided with a plurality ofly, and baffle 7 is the slope form installation.
In this embodiment: through setting up baffle 7, the whereabouts of polyacrylamide can be cushioned to the baffle 7 of slope, makes polyacrylamide whereabouts speed slow down, and the dehumidification is better.
Specifically, the lower end of the casing 20 is provided with a plurality of supporting legs 10, the plurality of supporting legs 10 are uniformly and symmetrically arranged on the lower end surface of the casing 20, and one side of each supporting leg 10 is connected with the mounting plate 14.
In this embodiment: by providing the legs 10, stability is increased.
Specifically, a glass window 16 is installed on the outer surface of the device body 1, and a controller 17 is provided on one side of the glass window 16.
In this embodiment: through setting up glass window 16 and controller 17, people can observe the inside polyacrylamide dehumidification condition of device body 1 through glass window 16, and controller 17 can the use of all electrical apparatus in the control device body 1, and controller 17 control circuit can realize through the simple programming of technical staff in this field, belongs to the common general knowledge in this field, only uses it, does not reform transform, so control mode and circuit connection are not described in detail again.
The working principle is as follows: during operation, a worker adds polyacrylamide into the device body 1 through the feeding hole 5, the inclined baffle 7 can buffer the falling of polyacrylamide, so that the falling speed of the polyacrylamide is reduced, meanwhile, hot air blown out by the hot air blower 9 is discharged from the air outlet 8 through the air duct 6 to dehumidify and dry the polyacrylamide, the polyacrylamide after falling is conveyed upwards by the spiral conveying rod 18 and falls onto the baffle 7 through the return port 3 to be circularly dehumidified, the mode can ensure that the polyacrylamide is uniformly heated, the dehumidification and drying are thorough, the polyacrylamide can also be prevented from caking when flowing, meanwhile, people can observe the dehumidification condition of the polyacrylamide in the device body 1 through the glass window 16, the dehumidification effect of the device is good, the production efficiency and the quality are improved, people can enable the electric telescopic rod 11 to contract through the controller 17 to drive the rubber block 22 to be separated from the groove 23, opening the discharge hole; 21, allowing polyacrylamide to pass through a discharge hole; 21 row is to in the collecting box 12, weighing sensor 13 is installed to the collecting box 12 lower extreme, after polyacrylamide in the collecting box 12 reaches the weight that people set up through controller 17, electric telescopic handle 11 will stretch out, it is closed with rubber block 22 and recess 23, close feed inlet 5, people can pack the polyacrylamide after collecting box 12 weighs and handle, in the ejection of compact, also weighed, make things convenient for people to pack and use, and easy operation, convenient to use.
The above, only be the concrete implementation of the preferred embodiment of the present invention, but the protection scope of the present invention is not limited thereto, and any person skilled in the art is in the technical scope of the present invention, according to the technical solution of the present invention and the utility model, the concept of which is equivalent to replace or change, should be covered within the protection scope of the present invention.

Claims (7)

1.一种聚丙烯酰胺装置后处理工序除湿设备,包括装置本体(1),其特征在于,所述装置本体(1)上端安装有驱动电机(2),且驱动电机(2)传动轴贯穿装置本体(1)一侧竖直安装有螺旋输送杆(18),所述螺旋输送杆(18)一侧安装有隔板(19),且隔板(19)上端设置有回流口(3),所述装置本体(1)一侧设置有壳体(20),且壳体(20)内部安装有热风机(9),所述热风机(9)通过导气管(6)连接有出风口(8)。1. A dehumidification equipment for a post-processing process of a polyacrylamide device, comprising a device body (1), characterized in that a drive motor (2) is installed on the upper end of the device body (1), and the drive motor (2) transmission shaft penetrates through A screw conveying rod (18) is installed vertically on one side of the device body (1), a partition plate (19) is installed on one side of the screw conveying rod (18), and the upper end of the partition plate (19) is provided with a return port (3). A casing (20) is provided on one side of the device body (1), and a hot air blower (9) is installed inside the casing (20), and the hot air blower (9) is connected with an air outlet through an air duct (6). (8). 2.根据权利要求1所述的一种聚丙烯酰胺装置后处理工序除湿设备,其特征在于,所述装置本体(1)底端通过连接块安装有电动伸缩杆(11),且电动伸缩杆(11)一端连接有橡皮块(22),所述述装置本体(1)内部底端开设有出料口(21),且出料口(21)一侧设置有凹槽(23),所述凹槽(23)与橡皮块(22)配合使用,所述出料口(21)下方设置有收集箱(12),且收集箱(12)下端安装有称重传感器(13),所述称重传感器(13)下端设置有安装板(14)。2 . The dehumidification equipment for the post-processing process of a polyacrylamide device according to claim 1 , wherein the bottom end of the device body ( 1 ) is installed with an electric telescopic rod ( 11 ) through a connecting block, and the electric telescopic rod (11) One end is connected with a rubber block (22), the inner bottom end of the device body (1) is provided with a discharge port (21), and one side of the discharge port (21) is provided with a groove (23), so The groove (23) is used in conjunction with the rubber block (22), a collection box (12) is arranged below the discharge port (21), and a load cell (13) is installed at the lower end of the collection box (12). The lower end of the load cell (13) is provided with a mounting plate (14). 3.根据权利要求1所述的一种聚丙烯酰胺装置后处理工序除湿设备,其特征在于,所述出风口(8)安装有多个,且出风口(8)表面安装有防尘网。3 . The dehumidification equipment for the post-processing process of a polyacrylamide device according to claim 1 , wherein a plurality of air outlets ( 8 ) are installed, and a dust-proof net is installed on the surface of the air outlets ( 8 ). 4 . 4.根据权利要求1所述的一种聚丙烯酰胺装置后处理工序除湿设备,其特征在于,所述装置本体(1)一侧内壁安装有挡板(7),且挡板(7)设置有多个,所述挡板(7)呈倾斜状安装。4 . The dehumidification equipment for the post-treatment process of a polyacrylamide device according to claim 1 , wherein a baffle plate ( 7 ) is installed on the inner wall of one side of the device body ( 1 ), and the baffle plate ( 7 ) is provided with a baffle plate ( 7 ). 5 . There are several, and the baffles (7) are installed obliquely. 5.根据权利要求1所述的一种聚丙烯酰胺装置后处理工序除湿设备,其特征在于,所述装置本体(1)中央上端设置有排气口(15),且排气口(15)内部安装有过滤网(4),所述排气口(15)一侧安装有进料口(5),且进料口(5)上端安装有顶盖。5 . The dehumidification equipment for the post-processing process of a polyacrylamide device according to claim 1 , wherein the device body ( 1 ) is provided with an exhaust port ( 15 ) at the central upper end, and the exhaust port ( 15 ) A filter screen (4) is installed inside, a feed port (5) is installed on one side of the exhaust port (15), and a top cover is installed on the upper end of the feed port (5). 6.根据权利要求1所述的一种聚丙烯酰胺装置后处理工序除湿设备,其特征在于,所述壳体(20)下端安装有支腿(10),所述支腿(10)设置有多个,且多个支腿(10)均匀对称安装在壳体(20)下端表面,所述支腿(10)一侧与安装板(14)相连接。6 . The dehumidification equipment for the post-processing process of a polyacrylamide device according to claim 1 , wherein the lower end of the casing ( 20 ) is provided with a leg ( 10 ), and the leg ( 10 ) is provided with a A plurality of and a plurality of supporting legs (10) are evenly and symmetrically mounted on the lower end surface of the casing (20), and one side of the supporting legs (10) is connected with the mounting plate (14). 7.根据权利要求1所述的一种聚丙烯酰胺装置后处理工序除湿设备,其特征在于,所述装置本体(1)外侧表面安装有玻璃窗(16),且玻璃窗(16)一侧设置有控制器(17)。7 . The dehumidification equipment for the post-processing process of a polyacrylamide device according to claim 1 , wherein a glass window ( 16 ) is installed on the outer surface of the device body ( 1 ), and one side of the glass window ( 16 ) is installed on the outer surface of the device body ( 1 ). A controller (17) is provided.
CN202120848225.8U 2021-04-23 2021-04-23 A kind of dehumidification equipment for post-treatment process of polyacrylamide device Active CN214792410U (en)

Priority Applications (1)

Application Number Priority Date Filing Date Title
CN202120848225.8U CN214792410U (en) 2021-04-23 2021-04-23 A kind of dehumidification equipment for post-treatment process of polyacrylamide device

Applications Claiming Priority (1)

Application Number Priority Date Filing Date Title
CN202120848225.8U CN214792410U (en) 2021-04-23 2021-04-23 A kind of dehumidification equipment for post-treatment process of polyacrylamide device

Publications (1)

Publication Number Publication Date
CN214792410U true CN214792410U (en) 2021-11-19

Family

ID=78688964

Family Applications (1)

Application Number Title Priority Date Filing Date
CN202120848225.8U Active CN214792410U (en) 2021-04-23 2021-04-23 A kind of dehumidification equipment for post-treatment process of polyacrylamide device

Country Status (1)

Country Link
CN (1) CN214792410U (en)

Cited By (2)

* Cited by examiner, † Cited by third party
Publication number Priority date Publication date Assignee Title
CN115682665A (en) * 2022-10-28 2023-02-03 成都九芝堂金鼎药业有限公司 High-efficient even drying device of medicinal material
CN115814700A (en) * 2022-12-16 2023-03-21 南京泽朗生物科技有限公司 Fruit and vegetable powder spray granulation device

Cited By (3)

* Cited by examiner, † Cited by third party
Publication number Priority date Publication date Assignee Title
CN115682665A (en) * 2022-10-28 2023-02-03 成都九芝堂金鼎药业有限公司 High-efficient even drying device of medicinal material
CN115682665B (en) * 2022-10-28 2024-06-04 成都九芝堂金鼎药业有限公司 Efficient and uniform medicinal material drying device
CN115814700A (en) * 2022-12-16 2023-03-21 南京泽朗生物科技有限公司 Fruit and vegetable powder spray granulation device

Similar Documents

Publication Publication Date Title
CN203964589U (en) Granule materials drying machine
CN214792410U (en) A kind of dehumidification equipment for post-treatment process of polyacrylamide device
CN205784370U (en) A kind of dehydrator for rice paddy seed processing
CN105865171A (en) Improved anti-blocking tea dryer
CN211552381U (en) A kind of circulating drying device for desiccant production
CN207692869U (en) A kind of rice automation drying system
CN211552388U (en) Dedicated drying equipment of chemical production
CN108398004B (en) Grain air dryer capable of filtering different grain sizes
CN107462012A (en) A kind of corrugated board drying unit
CN108020058B (en) A grain drying device with a remote monitoring system
CN211782472U (en) Drying device is used in plastic granules production
CN105276957A (en) Efficient drying machine
CN208891604U (en) A kind of paddy mechanical drying device
CN113091426A (en) Efficient grain drying machine capable of removing impurities
CN216558173U (en) Drying device is used in modified starch production
CN106885754A (en) One kind automation powder total moisture measurement apparatus and method
CN209246594U (en) A kind of granule materials series classification screening gas flow dryer
CN206739794U (en) Organic fertilizer conveys drying equipment
CN216409687U (en) A kind of drying equipment for agricultural products
CN212566736U (en) Medicinal plug vibration drying-machine
CN209068908U (en) A kind of pharmacy station-service dehumidifier
CN217900418U (en) Dampproofing drying device is used in plastic products production
CN211120549U (en) Chemical raw material drying equipment
CN217465292U (en) Drying device of drier
CN209726751U (en) A kind of rice high efficiency drying device

Legal Events

Date Code Title Description
GR01 Patent grant
GR01 Patent grant
CB03 Change of inventor or designer information

Inventor after: Yuan Dongyu

Inventor after: Weng Shanglong

Inventor after: Li Yan

Inventor after: Yuan Qingwei

Inventor before: Yuan Dongyu

Inventor before: Weng Shanglong

CB03 Change of inventor or designer information