CN214790234U - A surveying and mapping device for interior design - Google Patents

A surveying and mapping device for interior design Download PDF

Info

Publication number
CN214790234U
CN214790234U CN202121052009.9U CN202121052009U CN214790234U CN 214790234 U CN214790234 U CN 214790234U CN 202121052009 U CN202121052009 U CN 202121052009U CN 214790234 U CN214790234 U CN 214790234U
Authority
CN
China
Prior art keywords
column
workbench
mapping
surveying
handle
Prior art date
Legal status (The legal status is an assumption and is not a legal conclusion. Google has not performed a legal analysis and makes no representation as to the accuracy of the status listed.)
Expired - Fee Related
Application number
CN202121052009.9U
Other languages
Chinese (zh)
Inventor
徐兴钰
朱海昆
Current Assignee (The listed assignees may be inaccurate. Google has not performed a legal analysis and makes no representation or warranty as to the accuracy of the list.)
Kunming University of Science and Technology
Original Assignee
Kunming University of Science and Technology
Priority date (The priority date is an assumption and is not a legal conclusion. Google has not performed a legal analysis and makes no representation as to the accuracy of the date listed.)
Filing date
Publication date
Application filed by Kunming University of Science and Technology filed Critical Kunming University of Science and Technology
Priority to CN202121052009.9U priority Critical patent/CN214790234U/en
Application granted granted Critical
Publication of CN214790234U publication Critical patent/CN214790234U/en
Expired - Fee Related legal-status Critical Current
Anticipated expiration legal-status Critical

Links

Images

Landscapes

  • Workshop Equipment, Work Benches, Supports, Or Storage Means (AREA)

Abstract

本实用新型涉及室内设计技术领域,且公开了一种用于室内设计的测绘装置,包括底座,所述底座的上端从左至右依次设置有连接柱和方形支柱,且连接柱的上端安装有第一把手,所述方形支柱的内部设置有内螺纹槽,且内螺纹槽的上端安装有第一螺纹柱,所述第一螺纹柱的左右两端设置有转动柱,所述第一螺纹柱的上端设置有凹槽连接板,且凹槽连接板的上端放置有工作台,所述工作台的上端从左至右依次设置有支撑板和滑块,所述夹板的左端放置有活动螺母,所述第二螺纹柱的左端连接有旋转块,所述夹板的右端放置有测绘机,所述测绘机的上端设置有第二把手。该用于室内设计的测绘装置能够更加方便的对测绘装置进行安装和拆卸,能够更加方便的进行携带。

Figure 202121052009

The utility model relates to the technical field of interior design, and discloses a surveying and mapping device for interior design. The first handle, the inside of the square pillar is provided with an internal thread groove, and the upper end of the internal thread groove is installed with a first threaded column, the left and right ends of the first threaded column are provided with rotating columns, and the first threaded column is provided with a rotating column. The upper end is provided with a groove connecting plate, and the upper end of the groove connecting plate is placed with a workbench, the upper end of the workbench is sequentially provided with a support plate and a slider from left to right, and a movable nut is placed on the left end of the splint, so The left end of the second threaded column is connected with a rotating block, the right end of the splint is placed with a surveying machine, and the upper end of the surveying machine is provided with a second handle. The surveying and mapping device for interior design can more conveniently install and disassemble the surveying and mapping device, and can be carried more conveniently.

Figure 202121052009

Description

A mapping device for indoor decoration
Technical Field
The utility model relates to an indoor decoration technical field specifically is a mapping device for indoor decoration.
Background
The indoor design refers to a preparation work for satisfying a certain construction purpose, and a value-added preparation work for deep processing of an internal space of an existing building, and aims to form a preparation work capable of becoming a qualified product under limited conditions of feasibility in the aspects of technology, economy and the like of a specific material, and requires knowledge in engineering technology, artistic theory and skill, and the indoor design is evolved from a decorative part in the building design, and corresponding calculation needs to be completed through a series of measurement when the indoor design is performed.
Ordinary surveying and mapping device for indoor design is inconvenient to carry surveying and mapping device and shelf, can not be convenient carry out the dismouting to surveying and mapping device.
SUMMERY OF THE UTILITY MODEL
Technical problem to be solved
Not enough to prior art, the utility model provides a mapping device for indoor decoration possesses can be more convenient to install and dismantle mapping device, can be more convenient carry the scheduling advantage, has solved inconvenient carrying mapping device and shelf, can not be convenient carry out the problem of dismouting to mapping device.
(II) technical scheme
To realize the aforesaid can be more convenient install and dismantle surveying and mapping device, can be more convenient carry the purpose, the utility model provides a following technical scheme: a surveying and mapping device for indoor design comprises a base, wherein a connecting column and a square supporting column are sequentially arranged at the upper end of the base from left to right, a first handle is arranged at the upper end of the connecting column, an internal thread groove is formed in the square supporting column, a first thread column is arranged at the upper end of the internal thread groove, rotating columns are arranged at the left end and the right end of the first thread column, a groove connecting plate is arranged at the upper end of the first thread column, a workbench is placed at the upper end of the groove connecting plate, a supporting plate and a sliding block are sequentially arranged at the upper end of the workbench from left to right, a clamping plate is connected to the upper end of the sliding block, a movable nut is placed at the left end of the clamping plate, a second thread column is installed at the left end of the movable nut, a rotating block is connected to the left end of the second thread column, a surveying and mapping machine is placed at the right end of the clamping plate, and a surveying and mapping lens is installed at the front end of the surveying and mapping machine, the upper end of mapping machine is provided with the second handle.
Preferably, the clamping plate forms a sliding structure with the workbench through the sliding block, and the workbench is bonded with the sliding block.
Through above-mentioned technical scheme can make this mapping device remove about through the supplementary splint of slip that the slider formed like this.
Preferably, the second threaded columns are symmetrically distributed about the central axis of the workbench, and the second threaded columns are in threaded connection with the supporting plate.
Through above-mentioned technical scheme can make the second screw thread post of this mapping device the inside like this be provided with two, can make the rigidity of mapping machine more firm.
Preferably, the first handle is symmetrically distributed about the central axis of the base, and the connecting column is fixedly connected with the first handle.
Through above-mentioned technical scheme can make the first in command of this mapping device the inside like this be provided with two, the drive base that can be more steady.
Preferably, an integrated structure is formed between the groove connecting plate and the workbench, and the groove connecting plate and the workbench are welded.
Through above-mentioned technical scheme can make recess connecting plate and the workstation of this mapping device the inside be connected inseparabler like this, can improve the live time of recess connecting plate and workstation.
Preferably, an integrated structure is formed between the first threaded column and the rotating column, and the first threaded column and the rotating column are welded.
Through above-mentioned technical scheme can make the first screw thread post of this mapping device the inside more firm with rotating the post connection like this, can improve the use number of times of first screw thread post and rotation post.
Compared with the prior art, the utility model provides a mapping device for indoor decoration possesses following beneficial effect:
1. this a mapping device for indoor decoration, through the slider, the backup pad, second screw thread post, movable nut, splint and rotatory piece, can make the removal of splint lighter through the slider, reduce the friction, can provide the support for second screw thread post through the backup pad, the position of second screw thread post in can fixed rotation through movable nut, can carry out the centre gripping through splint to the mapping machine and fix, can drive second screw thread post through rotatory piece and rotate, can make this mapping device can be more convenient carry out the dismouting to the mapping machine like this.
2. This a mapping device for indoor decoration, through the internal thread groove, first screw thread post, the rotation post, the spliced pole, the first in command, the second handle, can make first screw thread post go up and down when rotating through internal thread groove and first screw thread post, can rotate first screw thread post through rotating the post, can make this mapping device go up and down through rotating like this, the position of the first in command can be fixed through the spliced pole, can carry through the first in command and the second in command, can make this mapping device more convenient carry like this.
Drawings
FIG. 1 is a schematic view of the present invention;
FIG. 2 is an enlarged schematic view of A in FIG. 1;
fig. 3 is a schematic view of the three-dimensional connection relationship of the first threaded post of the present invention.
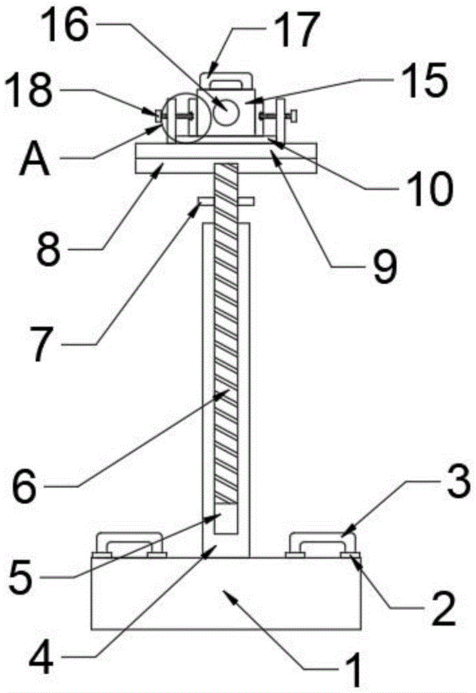
Wherein: 1. a base; 2. connecting columns; 3. a first handle; 4. a square pillar; 5. an internal thread groove; 6. a first threaded post; 7. rotating the column; 8. a groove connecting plate; 9. a work table; 10. a slider; 11. a support plate; 12. a second threaded post; 13. a movable nut; 14. a splint; 15. a surveying machine; 16. a mapping lens; 17. a second handle; 18. the block is rotated.
Detailed Description
The technical solutions in the embodiments of the present invention will be described clearly and completely with reference to the accompanying drawings in the embodiments of the present invention, and it is obvious that the described embodiments are only some embodiments of the present invention, not all embodiments. Based on the embodiments in the present invention, all other embodiments obtained by a person skilled in the art without creative work belong to the protection scope of the present invention.
Referring to fig. 1-3, a surveying and mapping device for indoor design comprises a base 1, wherein the upper end of the base 1 is sequentially provided with a connecting column 2 and a square pillar 4 from left to right, a first handle 3 is installed at the upper end of the connecting column 2, an internal thread groove 5 is arranged inside the square pillar 4, a first thread column 6 is installed at the upper end of the internal thread groove 5, rotating columns 7 are arranged at the left end and the right end of the first thread column 6, a groove connecting plate 8 is arranged at the upper end of the first thread column 6, a workbench 9 is placed at the upper end of the groove connecting plate 8, a supporting plate 11 and a sliding block 10 are sequentially arranged at the upper end of the workbench 9 from left to right, a clamping plate 14 is connected to the upper end of the sliding block 10, a movable nut 13 is placed at the left end of the clamping plate 14, a second thread column 12 is installed at the left end of the movable nut 13, a rotating block 18 is connected to the left end of the second thread column 12, a surveying and mapping machine 15 is placed at the right end of the clamping plate 14, and a surveying and mapping lens 16 is installed at the front end of the surveying and mapping machine 15, and a second handle 17 is arranged at the upper end of the surveying and mapping machine 15.
Specifically, the clamp plate 14 forms a sliding structure between the slider 10 and the table 9, and the table 9 and the slider 10 are bonded to each other, so that the surveying and mapping apparatus can be moved to the left and right by the sliding auxiliary clamp plate 14 formed by the slider 10.
Specifically, second screw post 12 is the symmetric distribution about the axis of workstation 9, and is threaded connection between second screw post 12 and the backup pad 11, and the advantage can make the second screw post 12 of this mapping device the inside be provided with two like this, can make mapping machine 15's rigidity more firm.
The utility model discloses a surveying and mapping device, including base 1, connecting post 2 and the first in command 3, the first in command 3 is the symmetric distribution about the axis of base 1, and is fixed connection between the connecting post 2 and the first in command 3, and the advantage can make the first in command 3 of this surveying and mapping device the inside like this be provided with two, drive base 1 that can be more steady.
Specifically, constitute the integral structure between notch connecting plate 8 and the workstation 9, and be the welding between notch connecting plate 8 and the workstation 9, the advantage can make the notch connecting plate 8 and the workstation 9 of this mapping device the inside be connected inseparabler like this, can improve notch connecting plate 8 and workstation 9's live time.
Specifically, first screw post 6 and rotation between the post 7 constitute the integral structure, and be the welding between first screw post 6 and the rotation post 7, the advantage can make the first screw post 6 of this mapping device the inside more firm with rotating the post 7 and being connected like this, can improve first screw post 6 and the number of times of use of rotating post 7.
When the device is used, firstly, the components of the device are installed when the device is used, then the surveying and mapping machine 15 is taken up by using the second handle 17 and placed between the two clamping plates 14, then the rotating block 18 is rotated, the second threaded column 12 supported by the supporting plate 11 can be driven to rotate through the rotation of the rotating block 18, then the clamping plate 14 provided with the movable nut 13 is pushed to move, the position of the surveying and mapping machine 15 in the middle is clamped and fixed through the movement of the two clamping plates 14, when the device is used, the first threaded column 6 can be driven to rotate through the rotating column 7, then the groove connecting plate 8 and the workbench 9 are lifted, when the device needs to be moved, the groove connecting plate 8 and the workbench 9 at the upper end of the first threaded column 6 can be detached, then the rotating block 18 is rotated, the second threaded column 12 is driven to rotate through the rotation of the rotating block 18, then dismantle mapping machine 15, at this moment second handle 17 just can be more convenient carry mapping machine 15, the first handle 3 through the spliced pole 2 connection can be more convenient the support frame that drives the bottom.
Although embodiments of the present invention have been shown and described, it will be appreciated by those skilled in the art that changes, modifications, substitutions and alterations can be made in these embodiments without departing from the principles and spirit of the invention, the scope of which is defined in the appended claims and their equivalents.

Claims (6)

1. A surveying device for interior design, comprising a base (1), characterized in that: the upper end of the base (1) is sequentially provided with a connecting column (2) and a square strut (4) from left to right, a first handle (3) is installed at the upper end of the connecting column (2), an inner thread groove (5) is arranged inside the square strut (4), a first thread column (6) is installed at the upper end of the inner thread groove (5), rotating columns (7) are arranged at the left end and the right end of the first thread column (6), a groove connecting plate (8) is arranged at the upper end of the first thread column (6), a workbench (9) is placed at the upper end of the groove connecting plate (8), a supporting plate (11) and a sliding block (10) are sequentially arranged at the upper end of the workbench (9) from left to right, a clamping plate (14) is connected to the upper end of the sliding block (10), a movable nut (13) is placed at the left end of the clamping plate (14), and a second thread column (12) is installed at the left end of the movable nut (13), the left end of second screw thread post (12) is connected with rotatory piece (18), mapping machine (15) have been placed to the right-hand member of splint (14), and mapping lens (16) are installed to the front end of mapping machine (15), the upper end of mapping machine (15) is provided with second handle (17).
2. A mapping apparatus for indoor design according to claim 1, characterized in that: the clamping plate (14) forms a sliding structure with the workbench (9) through the sliding block (10), and the workbench (9) is bonded with the sliding block (10).
3. A mapping apparatus for indoor design according to claim 1, characterized in that: the second threaded columns (12) are symmetrically distributed about the central axis of the workbench (9), and the second threaded columns (12) are in threaded connection with the support plate (11).
4. A mapping apparatus for indoor design according to claim 1, characterized in that: the first handle (3) is symmetrically distributed about the central axis of the base (1), and the connecting column (2) is fixedly connected with the first handle (3).
5. A mapping apparatus for indoor design according to claim 1, characterized in that: an integrated structure is formed between the groove connecting plate (8) and the workbench (9), and the groove connecting plate (8) and the workbench (9) are welded.
6. A mapping apparatus for indoor design according to claim 1, characterized in that: an integrated structure is formed between the first threaded column (6) and the rotating column (7), and the first threaded column (6) and the rotating column (7) are welded.
CN202121052009.9U 2021-05-17 2021-05-17 A surveying and mapping device for interior design Expired - Fee Related CN214790234U (en)

Priority Applications (1)

Application Number Priority Date Filing Date Title
CN202121052009.9U CN214790234U (en) 2021-05-17 2021-05-17 A surveying and mapping device for interior design

Applications Claiming Priority (1)

Application Number Priority Date Filing Date Title
CN202121052009.9U CN214790234U (en) 2021-05-17 2021-05-17 A surveying and mapping device for interior design

Publications (1)

Publication Number Publication Date
CN214790234U true CN214790234U (en) 2021-11-19

Family

ID=78694289

Family Applications (1)

Application Number Title Priority Date Filing Date
CN202121052009.9U Expired - Fee Related CN214790234U (en) 2021-05-17 2021-05-17 A surveying and mapping device for interior design

Country Status (1)

Country Link
CN (1) CN214790234U (en)

Similar Documents

Publication Publication Date Title
CN204772226U (en) A fixing device for plank processing
CN214790234U (en) A surveying and mapping device for interior design
CN217194003U (en) Machining center location frock clamp
CN205887754U (en) Grid torsion device
CN214135947U (en) A quick clamping workbench for dismantling a scrapped automobile engine
CN216577529U (en) A jig for the production of auto parts that is easy to adjust the angle
CN214559874U (en) Automatic grinding device of column mechanical part outer wall is used in tractor production
CN211278124U (en) Positioning fixture of automatic turn-over for machining
CN212286745U (en) Tool clamp for full-automatic machine manufacturing
CN209190579U (en) A kind of high-precision handware fixture
CN203779269U (en) Sliding nozzle brick grinding machine
CN221735223U (en) A welding tool for processing pipe pile end plates
CN210064441U (en) Quartz crystal material loading disc tool clamp
CN215201622U (en) A quick mounting fixture for square frame work piece processing
CN211516524U (en) Hoisting type assembly welding tool
CN204149072U (en) A kind of auto production line frock clamp
CN213352343U (en) Adjustable support in stainless steel course of working
CN209737077U (en) clamping device for mechanical cutting with adjustable positioning height
CN210360346U (en) Tooling for milling side bearing shaft groove
CN102950398B (en) Welding device for elevator safety gear
CN222754923U (en) Positioning fixture for gantry milling machine
CN210649914U (en) Hardware mould convenient to hardware fitting deckle edge is polished
CN218313031U (en) A frock clamp for mechanical design production usefulness
CN214322649U (en) A positioning fixture for CNC machining center
CN220612536U (en) Gear production fixture convenient to adjust

Legal Events

Date Code Title Description
GR01 Patent grant
GR01 Patent grant
CF01 Termination of patent right due to non-payment of annual fee
CF01 Termination of patent right due to non-payment of annual fee

Granted publication date: 20211119