CN214632722U - Nursing bed for general surgery department - Google Patents

Nursing bed for general surgery department Download PDF

Info

Publication number
CN214632722U
CN214632722U CN202120438712.7U CN202120438712U CN214632722U CN 214632722 U CN214632722 U CN 214632722U CN 202120438712 U CN202120438712 U CN 202120438712U CN 214632722 U CN214632722 U CN 214632722U
Authority
CN
China
Prior art keywords
rod
nursing bed
side wall
connecting rod
chute
Prior art date
Legal status (The legal status is an assumption and is not a legal conclusion. Google has not performed a legal analysis and makes no representation as to the accuracy of the status listed.)
Expired - Fee Related
Application number
CN202120438712.7U
Other languages
Chinese (zh)
Inventor
王嘉敏
赵浩男
Current Assignee (The listed assignees may be inaccurate. Google has not performed a legal analysis and makes no representation or warranty as to the accuracy of the list.)
Affiliated Hospital of Chifeng University
Original Assignee
Affiliated Hospital of Chifeng University
Priority date (The priority date is an assumption and is not a legal conclusion. Google has not performed a legal analysis and makes no representation as to the accuracy of the date listed.)
Filing date
Publication date
Application filed by Affiliated Hospital of Chifeng University filed Critical Affiliated Hospital of Chifeng University
Priority to CN202120438712.7U priority Critical patent/CN214632722U/en
Application granted granted Critical
Publication of CN214632722U publication Critical patent/CN214632722U/en
Expired - Fee Related legal-status Critical Current
Anticipated expiration legal-status Critical

Links

Images

Landscapes

  • Invalid Beds And Related Equipment (AREA)

Abstract

一种普外科护理床,本实用新型涉及医疗器械技术领域,护理床本体前后两侧均设有固定块,固定块的上侧壁开设有滑槽,滑槽的底部与固定块的底部相齐平设置,滑槽中左右滑设有滑杆,滑杆的下端穿过滑槽设置,滑杆的前后两侧壁均设有凸台,凸台与滑槽活动卡接,滑杆上套设有定位装置,定位装置由支架、螺杆和连接板构成,支架套设于滑杆下端,支架中前后螺纹穿设有螺杆,螺杆的内端通过轴承与连接板连接,连接板与固定块的外侧壁活动抵触设置,滑杆中活动插设有挂杆;该装置能够方便医护人员悬挂输液瓶,并且方便调节挂杆的位置与高度,满足不同患者对输液瓶位置的需求,适用性强,结构简单,操作方便。

Figure 202120438712

A nursing bed for general surgery, the utility model relates to the technical field of medical equipment, a nursing bed body is provided with a fixing block on both sides, the upper side wall of the fixing block is provided with a chute, and the bottom of the chute is flush with the bottom of the fixing block Flat setting, sliding rods are installed left and right in the chute, the lower end of the sliding rod is set through the chute, the front and rear side walls of the sliding rod are provided with bosses, the bosses are movably engaged with the chute, and the sliding rod is sleeved There is a positioning device. The positioning device is composed of a bracket, a screw rod and a connecting plate. The bracket is sleeved on the lower end of the sliding rod. The front and rear threads of the bracket are provided with a screw rod. The inner end of the screw rod is connected to the connecting plate through a bearing. The wall is movable against the setting, and the sliding rod is movably inserted with a hanging rod; the device can facilitate the medical staff to hang the infusion bottle, and it is convenient to adjust the position and height of the hanging rod to meet the needs of different patients for the position of the infusion bottle, with strong applicability and structure. Simple and easy to operate.

Figure 202120438712

Description

Nursing bed for general surgery department
Technical Field
The utility model relates to the technical field of medical equipment, concretely relates to department of general surgery's nursing bed.
Background
The general surgery department is a clinical discipline for treating other diseases such as tumors and traumas of the liver, biliary tract, pancreas, gastrointestinal tract, anorectum, vascular diseases, thyroid gland and breast by taking an operation as a main method, is the largest special subject of a surgical system, has an important role in nursing beds in hospitals, most of common nursing beds for general surgery department have single function, generally only provide a rest place for patients, can not facilitate medical staff to hang infusion bottles, can not meet the requirements of different patients on the positions of the infusion bottles, has small application range, and can cause the patients to generate negative emotion.
SUMMERY OF THE UTILITY MODEL
An object of the utility model is to prior art's defect and not enough, provide a reasonable in design's department of general surgery nursing bed, the device can make things convenient for medical personnel to hang the infusion bottle to conveniently adjust the position and the height of peg, satisfy the demand of different patients to the infusion bottle position, the suitability is strong, simple structure, convenient operation.
In order to achieve the above purpose, the utility model adopts the following technical proposal: the nursing bed comprises a nursing bed body, a fixed block, a sliding rod, a boss, a positioning device, a hanging rod, a second fastening screw, a supporting leg, a base and universal wheels; fixed blocks are arranged on the front side and the rear side of the nursing bed body, sliding grooves are formed in the upper side walls of the fixed blocks, the bottoms of the sliding grooves are flush with the bottoms of the fixed blocks, sliding rods are arranged in the sliding grooves in a left-right sliding mode, the lower ends of the sliding rods penetrate through the sliding grooves, bosses are arranged on the front side walls and the rear side walls of the sliding rods and movably clamped with the sliding grooves, positioning devices are sleeved on the sliding rods and comprise supports, screw rods are arranged on the front side and the rear side of each support in a penetrating mode, the inner ends of the screw rods are connected with the connecting plates through bearings, the connecting plates are movably abutted to the outer side walls of the fixed blocks, hanging rods are movably inserted in the sliding rods and comprise first connecting rods, second connecting rods, first fastening screws, connecting blocks and hanging rings, the first connecting rods are movably inserted in the sliding rods, the second connecting rods are movably inserted in the upper ends of the first connecting rods, and the first fastening screws are arranged on the outer sides of the first connecting rods, after the inner screw thread of a fastening screw passed a connecting rod, contradict the setting with the lateral wall of No. two connecting rods, the upper end of No. two connecting rods is passed through the bearing and is connected with the connecting block, be equipped with the link on the lateral wall of connecting block, the right side of slide bar is equipped with No. two fastening screws, No. two fastening screws are located the downside of support, after the left end screw thread of No. two fastening screws passed the right side wall of slide bar, contradict the setting with the lateral wall of a connecting rod, the bottom of nursing bed body is equipped with the landing leg, the downside of nursing bed body is equipped with the base, the lower extreme of landing leg is fixed in on the base, the bottom of base is equipped with the universal wheel.
Further, the lateral wall of boss in inlay and be equipped with the gyro wheel, the lateral wall of gyro wheel and the inside wall activity of spout are contradicted the setting.
Furthermore, the bottom of the first connecting rod is provided with a limiting plate, and the limiting plate is movably clamped with the lower side wall of the sliding rod.
Further, the outside bilateral symmetry of fixed block be equipped with the recess, the activity is equipped with protector soon in the recess, protector comprises free bearing and guardrail, the free bearing is fixed in the recess, the outside of fixed block is equipped with the guardrail, the guardrail activity inlays and locates in the recess, the left free bearing utilizes the hinge to articulate with the left end of guardrail, the free bearing on right side utilizes the hinge to articulate with the right-hand member of guardrail.
After the structure is adopted, the beneficial effects of the utility model are that: the utility model provides a department of general surgery's nursing bed, the device can make things convenient for medical personnel to hang the infusion bottle to the position and the height of peg are conveniently adjusted, satisfy the demand of different patients to the infusion bottle position, and the suitability is strong, simple structure, convenient operation.
Description of the drawings:
fig. 1 is a schematic structural diagram of the present invention.
Fig. 2 is a top view of fig. 1.
Fig. 3 is a right side view of fig. 1.
Fig. 4 is a schematic structural diagram of the middle sliding rod and the positioning device of the present invention.
Fig. 5 is a right side view of fig. 4.
Fig. 6 is a schematic structural view of the middle hanging rod of the present invention.
Description of reference numerals:
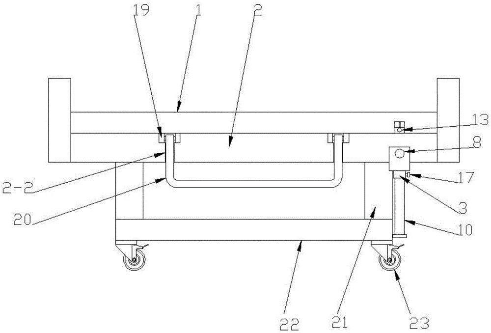
nursing bed body 1, fixed block 2, spout 2-1, recess 2-2, slide bar 3, boss 4, gyro wheel 5, positioner 6, support 7, screw rod 8, connecting plate 9, peg 10, connecting rod 11, No. two connecting rods 12, fastening screw 13, connecting block 14, link 15, limiting plate 16, No. two fastening screw 17, protector 18, free bearing 19, guardrail 20, landing leg 21, base 22, universal wheel 23.
The specific implementation mode is as follows:
the technical solutions in the embodiments of the present invention will be described clearly and completely with reference to the accompanying drawings in the embodiments of the present invention, and it is obvious that the described embodiments are only some embodiments of the present invention, not all embodiments. Based on the embodiments in the present invention, all other embodiments obtained by a person skilled in the art without creative work belong to the protection scope of the present invention.
As shown in fig. 1 to fig. 6, the following technical solutions are adopted in the present embodiment: the nursing bed comprises a nursing bed body 1, a fixed block 2, a sliding rod 3, a boss 4, a positioning device 6, a hanging rod 10, a second fastening screw 17, a supporting leg 21, a base 22 and a universal wheel 23; the nursing bed comprises a nursing bed body 1, wherein fixed blocks 2 are welded on the front side and the rear side of the nursing bed body 1, a sliding groove 2-1 is formed in the upper side wall of each fixed block 2, the bottom of each sliding groove 2-1 is flush with the bottom of each fixed block 2, a sliding rod 3 is arranged in each sliding groove 2-1 in a left-right sliding mode, the lower end of each sliding rod 3 penetrates through each sliding groove 2-1, bosses 4 are integrally formed on the front side wall and the rear side wall of each sliding rod 3, each boss 4 is movably clamped with the corresponding sliding groove 2-1, rollers 5 are embedded in the outer side walls of the bosses 4, the outer side walls of the rollers 5 are movably abutted to the inner side walls of the corresponding sliding grooves 2-1, a positioning device 6 is sleeved on each sliding rod 3 and consists of a support 7, a screw rod 8 and a connecting plate 9, the support 7 is sleeved at the lower end of each sliding rod 3, a screw rod 8 penetrates through front and rear threads in the support 7, the inner end of the screw rod 8 is connected with the connecting plate 9 through a bearing, and the outer side wall of the corresponding fixed blocks 2 are movably abutted to each connecting plate, a hanging rod 10 is movably inserted in the slide bar 3, the hanging rod 10 is composed of a first connecting rod 11, a second connecting rod 12, a first fastening screw 13, a connecting block 14 and a hanging ring 15, the first connecting rod 11 is movably inserted in the slide bar 3, the second connecting rod 12 is movably inserted at the upper end of the first connecting rod 11, the first fastening screw 13 is arranged at the outer side of the first connecting rod 11, the inner end thread of the first fastening screw 13 penetrates through the first connecting rod 11 and is abutted against the outer side wall of the second connecting rod 12, the upper end of the second connecting rod 12 is connected with the connecting block 14 through a bearing, the hanging ring 15 is welded on the outer side wall of the connecting block 14, a limiting plate 16 is welded at the bottom of the first connecting rod 11, the limiting plate 16 is movably clamped with the lower side wall of the slide bar 3, the second fastening screw 17 is arranged at the right side of the slide bar 3, the second fastening screw 17 is arranged at the lower side of the support 7, the left end thread of the second fastening screw 17 penetrates through the right side wall of the slide bar 3, the nursing bed comprises a first connecting rod 11, grooves 2-2 are symmetrically formed in the left side and the right side of the outer side of a fixing block 2, a protective device 18 is movably and rotatably arranged in each groove 2-2, each protective device 18 is composed of a hinged support 19 and a guardrail 20, the hinged supports 19 are welded in the grooves 2-2, the guardrails 20 are arranged on the outer side of the fixing block 2, the guardrails 20 are movably embedded in the grooves 2-2, the hinged supports 19 on the left side are hinged to the left ends of the guardrails 20 through hinges, the hinged supports 19 on the right side are hinged to the right ends of the guardrails 20 through hinges, supporting legs 21 are welded to the bottom of a nursing bed body 1, a base 22 is arranged on the lower side of the nursing bed body 1, the lower ends of the supporting legs 21 are welded to the base 22, and universal wheels 23 are welded to the bottom of the base 22.
The working principle of the specific embodiment is as follows: when using the device, can remove the device through universal wheel 23, when needs infuse, according to patient's demand, choose for use the peg 10 of one of them side, at first loosen screw rod 8, then utilize gyro wheel 5 with slide bar 3 to slide to suitable position in spout 2-1, then screw up screw rod 8, make connecting plate 9 contradict the setting with the outside of fixed block 2, then loosen fastening screw 13 and No. two fastening screw 17, adjust the length of connecting rod 11 and No. two connecting rods 12, thereby adjust the high position of peg 10, thereby make things convenient for the patient to infuse, when needing to use protector 18, upwards overturn 180 degrees along hinged-seat 19 with guardrail 20.
After adopting above-mentioned structure, this embodiment's beneficial effect is as follows:
1. the hanging rod 10 is arranged, so that the device can be convenient for medical staff to hang an infusion bottle, and is convenient for patients to infuse;
2. the sliding rod 3 and the positioning device 6 are arranged, so that the left and right positions and the height position of the hanging rod 10 can be conveniently adjusted, the position and the height of the hanging rod 10 can be conveniently adjusted, the requirements of different patients on the positions of infusion bottles can be met, and the application range is wide;
3. the protection device 18 is arranged to play a role of protection.
Although the present invention has been described in detail with reference to the foregoing embodiments, it will be apparent to those skilled in the art that modifications may be made to the embodiments or portions thereof without departing from the spirit and scope of the invention.

Claims (4)

1.一种普外科护理床,其特征在于:它包含护理床本体(1)、固定块(2)、滑杆(3)、凸台(4)、定位装置(6)、挂杆(10)、二号紧固螺丝(17)、支腿(21)、底座(22)和万向轮(23);护理床本体(1)前后两侧均设有固定块(2),固定块(2)的上侧壁开设有滑槽(2-1),滑槽(2-1)的底部与固定块(2)的底部相齐平设置,滑槽(2-1)中左右滑设有滑杆(3),滑杆(3)的下端穿过滑槽(2-1)设置,滑杆(3)的前后两侧壁均设有凸台(4),凸台(4)与滑槽(2-1)活动卡接,滑杆(3)上套设有定位装置(6),定位装置(6)由支架(7)、螺杆(8)和连接板(9)构成,支架(7)套设于滑杆(3)下端,支架(7)中前后螺纹穿设有螺杆(8),螺杆(8)的内端通过轴承与连接板(9)连接,连接板(9)与固定块(2)的外侧壁活动抵触设置,滑杆(3)中活动插设有挂杆(10),挂杆(10)由一号连接杆(11)、二号连接杆(12)、一号紧固螺丝(13)、连接块(14)和挂环(15)构成,一号连接杆(11)活动插设于滑杆(3)中,一号连接杆(11)的上端活动插设有二号连接杆(12),一号连接杆(11)的外侧设有一号紧固螺丝(13),一号紧固螺丝(13)的内端螺纹穿过一号连接杆(11)后,与二号连接杆(12)的外侧壁抵触设置,二号连接杆(12)的上端通过轴承与连接块(14)连接,连接块(14)的外侧壁上设有挂环(15),滑杆(3)的右侧设有二号紧固螺丝(17),二号紧固螺丝(17)位于支架(7)的下侧,二号紧固螺丝(17)的左端螺纹穿过滑杆(3)的右侧壁后,与一号连接杆(11)的外侧壁抵触设置,护理床本体(1)的底部设有支腿(21),护理床本体(1)的下侧设有底座(22),支腿(21)的下端固定于底座(22)上,底座(22)的底部设有万向轮(23)。1. A general surgery nursing bed, characterized in that: it comprises a nursing bed body (1), a fixing block (2), a sliding rod (3), a boss (4), a positioning device (6), a hanging rod (10) ), No. 2 fastening screws (17), outriggers (21), base (22) and universal wheel (23); there are fixing blocks (2) on the front and rear sides of the nursing bed body (1), and the fixing blocks ( 2) The upper side wall is provided with a chute (2-1), the bottom of the chute (2-1) is flush with the bottom of the fixing block (2), and the left and right sliding grooves are provided in the chute (2-1). The slide bar (3), the lower end of the slide bar (3) is arranged through the chute (2-1), the front and rear side walls of the slide bar (3) are provided with bosses (4), and the bosses (4) are connected to the slide bar (3). The slot (2-1) is movably clamped, and a positioning device (6) is sleeved on the sliding rod (3). The positioning device (6) is composed of a bracket (7), a screw (8) and a connecting plate (9). The bracket ( 7) It is sleeved on the lower end of the sliding rod (3). The front and rear threads of the bracket (7) are provided with a screw (8), and the inner end of the screw (8) is connected to the connecting plate (9) through a bearing, and the connecting plate (9) is connected to the connecting plate (9). The outer side wall of the fixing block (2) is movably arranged to interfere, a hanging rod (10) is movably inserted in the sliding rod (3), and the hanging rod (10) is composed of a first connecting rod (11), a second connecting rod (12), The No. 1 fastening screw (13), the connecting block (14) and the hanging ring (15) are formed. The No. 1 connecting rod (11) is movably inserted into the sliding rod (3), and the upper end of the No. 1 connecting rod (11) is movable The No. 2 connecting rod (12) is inserted, the outer side of the No. 1 connecting rod (11) is provided with a No. 1 fastening screw (13), and the inner thread of the No. 1 fastening screw (13) passes through the No. 1 connecting rod (11). ), set against the outer side wall of the second connecting rod (12), the upper end of the second connecting rod (12) is connected with the connecting block (14) through a bearing, and the outer side wall of the connecting block (14) is provided with a hanging ring ( 15), the right side of the sliding rod (3) is provided with a No. 2 fastening screw (17), the No. 2 fastening screw (17) is located on the lower side of the bracket (7), and the left end thread of the No. 2 fastening screw (17) After passing through the right side wall of the sliding rod (3), it is arranged in conflict with the outer side wall of the No. 1 connecting rod (11). The bottom of the nursing bed body (1) is provided with legs (21). The lower side is provided with a base (22), the lower ends of the legs (21) are fixed on the base (22), and the bottom of the base (22) is provided with a universal wheel (23). 2.根据权利要求1所述的一种普外科护理床,其特征在于:所述的凸台(4)的外侧壁中嵌设有滚轮(5),滚轮(5)的外侧壁与滑槽(2-1)的内侧壁活动抵触设置。2. A general surgery nursing bed according to claim 1, characterized in that: a roller (5) is embedded in the outer side wall of the boss (4), and the outer side wall of the roller (5) and the chute (2-1) The inner side wall of (2-1) is arranged in a movable interference. 3.根据权利要求1所述的一种普外科护理床,其特征在于:所述的一号连接杆(11)的底部设有限位板(16),限位板(16)与滑杆(3)的下侧壁活动卡设。3. A general surgery nursing bed according to claim 1, characterized in that: the bottom of the No. 1 connecting rod (11) is provided with a limit plate (16), the limit plate (16) and the sliding rod ( 3) The lower side wall can be clamped. 4.根据权利要求1所述的一种普外科护理床,其特征在于:所述的固定块(2)的外侧左右对称设有凹槽(2-2),凹槽(2-2)中活动旋设有防护装置(18),防护装置(18)由铰座(19)和护栏(20)构成,铰座(19)固定于凹槽(2-2)中,固定块(2)的外侧设有护栏(20),护栏(20)活动嵌设于凹槽(2-2)中,左侧的铰座(19)利用铰链与护栏(20)的左端铰接,右侧的铰座(19)利用铰链与护栏(20)的右端铰接。4. A general surgery nursing bed according to claim 1, characterized in that: the outer side of the fixing block (2) is symmetrically provided with grooves (2-2), and the grooves (2-2) are provided with grooves (2-2). The movable screw is provided with a protective device (18), the protective device (18) is composed of a hinge seat (19) and a guardrail (20), the hinge seat (19) is fixed in the groove (2-2), and the fixed block (2) The outer side is provided with a guardrail (20), the guardrail (20) is movably embedded in the groove (2-2), the hinge seat (19) on the left is hinged with the left end of the guardrail (20) by a hinge, and the hinge seat (19) on the right side is hinged with the left end of the guardrail (20). 19) Hinged with the right end of the guardrail (20) using a hinge.
CN202120438712.7U 2021-03-01 2021-03-01 Nursing bed for general surgery department Expired - Fee Related CN214632722U (en)

Priority Applications (1)

Application Number Priority Date Filing Date Title
CN202120438712.7U CN214632722U (en) 2021-03-01 2021-03-01 Nursing bed for general surgery department

Applications Claiming Priority (1)

Application Number Priority Date Filing Date Title
CN202120438712.7U CN214632722U (en) 2021-03-01 2021-03-01 Nursing bed for general surgery department

Publications (1)

Publication Number Publication Date
CN214632722U true CN214632722U (en) 2021-11-09

Family

ID=78449983

Family Applications (1)

Application Number Title Priority Date Filing Date
CN202120438712.7U Expired - Fee Related CN214632722U (en) 2021-03-01 2021-03-01 Nursing bed for general surgery department

Country Status (1)

Country Link
CN (1) CN214632722U (en)

Similar Documents

Publication Publication Date Title
CN107157675A (en) A kind of hospital's GI Medicine care bed
CN204890399U (en) Intracardiac branch of academic or vocational study nursing bed
CN206151739U (en) Novel prevent sideslipping multi -functional nursing bed
CN214632722U (en) Nursing bed for general surgery department
CN107929854B (en) Paediatrics infusion intelligent monitoring and protection device convenient to adjust
CN203524889U (en) Oncologic nursing bed
CN109875779A (en) It is a kind of to be convenient for entourage's rest type paediatrics hospital bed for medical treatment
CN205126643U (en) Special nursing bed of intracardiac branch of academic or vocational study
CN202105251U (en) Micro-pump fixing bracket
CN204971960U (en) Dedicated nursing of medical treatment bed
CN203763404U (en) Infant nursing bed
CN103750970B (en) Multifunctional nursing desk
CN203493843U (en) Aluminum alloy sickbed
CN211271746U (en) A special wheelchair for thoracic surgery patients
CN206285210U (en) A kind of hospital bed
CN210301475U (en) Fixing and supporting device for pediatric clinical treatment
CN215385352U (en) Severe branch of academic or vocational study is with nursing sick bed
CN205084106U (en) Novel nursing infusion stand
CN211561343U (en) Auxiliary infusion device for clinical nursing of department of pediatrics
CN203183185U (en) Sickbed with lifting type bedrails
CN210228513U (en) Nursing bed that hospital paediatrics was conveniently attended to
CN218899988U (en) Nursing bed for old people
CN216603371U (en) Old leg protector for rehabilitation and nursing
CN214858633U (en) A kind of medical cart that is convenient for nursing operation
CN203852504U (en) First-aid device for stroke-stricken patients

Legal Events

Date Code Title Description
GR01 Patent grant
GR01 Patent grant
CF01 Termination of patent right due to non-payment of annual fee

Granted publication date: 20211109

CF01 Termination of patent right due to non-payment of annual fee