CN214539991U - An Alternating Magnetometer Verification Device - Google Patents

An Alternating Magnetometer Verification Device Download PDF

Info

Publication number
CN214539991U
CN214539991U CN202120608373.2U CN202120608373U CN214539991U CN 214539991 U CN214539991 U CN 214539991U CN 202120608373 U CN202120608373 U CN 202120608373U CN 214539991 U CN214539991 U CN 214539991U
Authority
CN
China
Prior art keywords
sliding groove
fixedly connected
rectangular block
hole
probe
Prior art date
Legal status (The legal status is an assumption and is not a legal conclusion. Google has not performed a legal analysis and makes no representation as to the accuracy of the status listed.)
Expired - Fee Related
Application number
CN202120608373.2U
Other languages
Chinese (zh)
Inventor
范鹏
李二鹤
刘沛
张勉
郭美玉
高翔
黄文凯
吴昊文
Current Assignee (The listed assignees may be inaccurate. Google has not performed a legal analysis and makes no representation or warranty as to the accuracy of the list.)
Henan Institute of Metrology
Original Assignee
Henan Institute of Metrology
Priority date (The priority date is an assumption and is not a legal conclusion. Google has not performed a legal analysis and makes no representation as to the accuracy of the date listed.)
Filing date
Publication date
Application filed by Henan Institute of Metrology filed Critical Henan Institute of Metrology
Priority to CN202120608373.2U priority Critical patent/CN214539991U/en
Application granted granted Critical
Publication of CN214539991U publication Critical patent/CN214539991U/en
Expired - Fee Related legal-status Critical Current
Anticipated expiration legal-status Critical

Links

Images

Landscapes

  • Measuring Magnetic Variables (AREA)

Abstract

本实用新型公开了一种交变磁强计检定装置,包括工作台,所述工作台上设置有亥姆霍兹线圈、第一探头调节机构、第二探头调节机构;亥姆霍兹线圈由两个完全相同圆形线圈同轴并排设置在工作台上;第一探头调节机构设置在亥姆霍兹线圈的轴向一侧,第二探头调节机构设置亥姆霍兹线圈的径向一侧且第二探头调节机构位于两个亥姆霍兹线圈之间的中位线上;所述第一探头调节机构、第二探头调节机构均包括第一移动组件、第二移动组件、角度微调组件、夹持组件,第一移动组件固定连接在工作台上端面,第二移动组件固定连接在第一移动组件上端,角度微调组件固定连接在第二移动组件上端,角度微调组件与夹持组件固定连接。

Figure 202120608373

The utility model discloses a verification device for an alternating magnetometer, which comprises a worktable on which a Helmholtz coil, a first probe adjustment mechanism and a second probe adjustment mechanism are arranged; the Helmholtz coil is composed of Two identical circular coils are coaxially arranged side by side on the worktable; the first probe adjustment mechanism is arranged on the axial side of the Helmholtz coil, and the second probe adjustment mechanism is arranged on the radial side of the Helmholtz coil And the second probe adjustment mechanism is located on the midline between the two Helmholtz coils; the first probe adjustment mechanism and the second probe adjustment mechanism include a first moving component, a second moving component, and an angle fine-tuning component. , Clamping assembly, the first moving assembly is fixedly connected to the upper end face of the worktable, the second moving assembly is fixedly connected to the upper end of the first moving assembly, the angle fine-tuning assembly is fixedly connected to the upper end of the second moving assembly, and the angle fine-tuning assembly is fixed to the clamping assembly connect.

Figure 202120608373

Description

Alternating magnetometer calibrating device
Technical Field
The utility model relates to an alternating magnetometer field especially relates to an alternating magnetometer calibrating installation.
Background
With the development of science and technology, the application of magnetic fields is more and more extensive, and the magnetic fields are from the fields of high-speed rail detection, GPS navigation system, metal material flaw detection, safety detection, electromagnetic compatibility test, position measurement and the like. The magnetic field measurement can be divided into a constant magnetic field and an alternating magnetic field, and the measuring instrument for the magnetic field is a direct current magnetometer or an alternating current magnetometer.
In the field of electric energy metering, the alternating magnetometer is widely applied. When the electric energy meter calibrating device is checked, an alternating magnetometer is required to be used for measuring the magnetic field at the position of the checked meter of the calibrating device, and when I is less than or equal to 200A as specified in JJG 597 and 2005, the magnetic induction intensity B at the position of the checked meter of the electric energy meter calibrating device is less than or equal to 0.05 mT. With the international proposal of the IR46 electric energy meter to land on the ground in China, the new international national standard GB 17215.211 of the alternating current electric energy meter also uses an external power frequency magnetic field test as one of the electromagnetic compatibility test items, which requires that a magnetic field with a magnetic induction intensity of 0.5 mT (400A/m) is continuously applied to three perpendicular planes of the electric energy meter to be tested, and the magnetic field also needs to be calibrated using an alternating magnetometer.
At present, when an alternating magnetometer is checked, a magnetic field environment is generally established by using a magnetic field coil, then the magnetic induction intensity of the magnetic field environment is measured by using the alternating magnetometer to be checked, and finally, the measurement result is compared with the magnetic induction intensity generated by the current value in the magnetic field coil, so that whether the alternating magnetometer to be checked is accurate or not is determined according to errors; however, in actual measurement, a probe of the alternating magnetometer usually adopts a coil induction probe, and during testing, it is ensured that the plane of the probe is perpendicular to the magnetic field direction of the magnetic field environment, and if the plane of the probe and the magnetic field environment are not perpendicular, a measurement error is introduced, so that the reliability of a measurement result of the alternating magnetometer to be detected is reduced, and the detection angle between the plane of the probe and the magnetic field environment is not easy to adjust by adopting a manual support detection probe or a fixed support to support the detection probe, so that certain trouble is brought to the accurate measurement and verification work of the alternating magnetometer.
SUMMERY OF THE UTILITY MODEL
The utility model aims at the above-mentioned problem, provide a simple structure, convenient to use's alternating magnetometer calibrating installation.
In order to realize the purpose, the technical scheme of the utility model is that:
an alternating magnetometer calibrating device comprises a workbench, wherein a Helmholtz coil, a first probe adjusting mechanism and a second probe adjusting mechanism are arranged on the workbench; the Helmholtz coil is formed by coaxially arranging two identical circular coils on the workbench in parallel; the first probe adjusting mechanism is arranged on one axial side of the Helmholtz coil, the second probe adjusting mechanism is arranged on one radial side of the Helmholtz coil, and the second probe adjusting mechanism is positioned on a median line between the two Helmholtz coils; first probe adjustment mechanism, second probe adjustment mechanism all include first removal subassembly, second removal subassembly, angle fine setting subassembly, centre gripping subassembly, and first removal subassembly fixed connection is in the workstation up end, and second removal subassembly fixed connection is in first removal subassembly upper end, and angle fine setting subassembly fixed connection is in second removal subassembly upper end, angle fine setting subassembly and centre gripping subassembly fixed connection.
Furthermore, the first moving assembly comprises a first rectangular block, the first rectangular block is fixedly connected to the workbench, a first sliding groove is formed in the upper end of the first rectangular block, a first lead screw is arranged in the first sliding groove along the length direction of the first sliding groove, one end of the first lead screw is rotatably connected with the inner wall of one end of the first sliding groove, and the other end of the first lead screw penetrates through the end wall of one end of the first rectangular block and is in transmission connection with a first rotating motor fixedly connected to the end wall of the first rectangular block; a first sliding block is arranged in the first sliding groove, the first sliding block is embedded in the first sliding groove and can slide along the length direction of the first sliding groove, a first through hole is formed in the first sliding block and is sleeved outside the first screw rod through the first through hole, and the inner side wall of the first through hole is in threaded connection with the outer side wall of the first screw rod; fixedly connected with backup pad on the first slider, fixedly connected with second removes the subassembly in the backup pad.
Furthermore, the second moving assembly comprises a second rectangular block, the second rectangular block is fixedly connected with the upper end face of the supporting plate, a second sliding groove is formed in the upper end of the second rectangular block, the length direction of the second sliding groove is perpendicular to the length direction of the first sliding groove, a second lead screw is arranged in the second sliding groove along the length direction of the second sliding groove, one end of the second lead screw is rotatably connected with the inner wall of one end of the second sliding groove, and the other end of the second lead screw penetrates through the end wall of one end of the second rectangular block and is in transmission connection with a second rotating motor fixedly connected to the end wall of the second rectangular block; a second sliding block is arranged in the second sliding groove, the second sliding block is embedded in the second sliding groove and can slide along the length direction of the second sliding groove, a second through hole is formed in the second sliding block and is sleeved on the outer side of the second screw rod through the second through hole, and the inner side wall of the second through hole is in threaded connection with the outer side wall of the second screw rod; and the second sliding block is fixedly connected with an angle fine adjustment assembly.
Furthermore, the angle fine adjustment assembly comprises a third rectangular block, the third rectangular block is fixedly connected to the upper end of the second sliding block, a third sliding groove is formed in the upper end of the third rectangular block, the length direction of the third sliding groove is parallel to the length direction of the first sliding groove, a rotating worm is arranged in the third sliding groove along the length direction of the third sliding groove, one end of the rotating worm is rotatably connected with the inner wall of one end of the third sliding groove, and the other end of the rotating worm penetrates through the end wall of one end of the third rectangular block and is in transmission connection with a third rotating motor fixedly connected to the end wall of the third rectangular block; the third rectangle piece upper end symmetry is provided with two mounting panels, and two mounting panels set up respectively in third slip recess both sides, are provided with the fine setting turbine board between two mounting panels, and the fine setting turbine board passes through center pin and mounting panel rotatable coupling, and fine setting turbine board bottom is provided with turbine tooth and is connected with rotatory worm transmission, fine setting turbine board top and centre gripping subassembly fixed connection.
Furthermore, the clamping assembly comprises an adjusting rod, a clamping seat and a clamping bolt; the one end and the fine setting turbine plate top end fixed connection of adjusting the pole, the other end fixedly connected with grip slipper of adjusting the pole are provided with the centre gripping hole on the grip slipper, and the axis direction in centre gripping hole is unanimous with the length direction of adjusting the pole, and the centre gripping hole top is provided with the mounting hole, and the mounting hole is perpendicular and mounting hole and centre gripping hole intercommunication mutually with the centre gripping hole, and threaded connection has clamping bolt in the mounting hole.
Further, the fine tuning turbine plate outside is provided with angle display board, angle display board top and regulation pole bottom fixed connection, and angle display board bottom is circular-arc setting, and angle display board bottom outside is provided with the slope scale.
Furthermore, the first probe adjusting mechanism and the second probe adjusting mechanism are consistent in structure and are arranged vertically; the axis of the clamping hole in the first probe adjusting mechanism is parallel to the axis of the Helmholtz coil, and the axis of the clamping hole in the second probe adjusting mechanism is parallel to a median line between the two Helmholtz coils.
Further, the distance between the identical circular coils of the Helmholtz coil is consistent with the radius value of the circular coil.
Furthermore, the first rotating electric machine, the second rotating electric machine and the third rotating electric machine are all provided with line interfaces and are connected with a computer line through the line interfaces.
Compared with the prior art, the utility model has the advantages and positive effect be:
the utility model adopts the design that the first probe adjusting mechanism and the second probe adjusting mechanism are arranged at one side of the Helmholtz coil, when the alternating magnetometer is used for detecting, the inductive probe of the alternating magnetometer can be placed in the clamping component of the first probe adjusting mechanism or the second probe adjusting mechanism for fixing, then the left and right movement operation of the inductive probe can be realized by using the first moving component, the front and back movement operation of the inductive probe can be realized by using the second moving component, the angle fine adjustment operation of the inductive probe can be realized by using the angle fine adjustment component, the position and the angle of the induction probe in the standard magnetic field can be conveniently adjusted by people, so that the effect that the plane of the induction probe is perpendicular to the magnetic field direction of the standard magnetic field environment can be rapidly and stably realized by people, and the reliability of the detection effect of the induction probe is improved; simultaneously the utility model discloses can use first probe adjustment mechanism, second probe adjustment mechanism to carry out the centre gripping operation to inductive probe respectively in the axial of helmholtz coil, the footpath, can examine and determine the reversal magnetometer of probe with axial, radial design respectively to the examination operation of giving the reversal magnetometer has brought the facility.
Drawings
In order to more clearly illustrate the embodiments of the present invention or the technical solutions in the prior art, the drawings needed to be used in the description of the embodiments or the prior art will be briefly described below, it is obvious that the drawings in the following description are only some embodiments of the present invention, and for those skilled in the art, other drawings can be obtained according to these drawings without inventive exercise.
FIG. 1 is a top view of the structure of the present invention;
FIG. 2 is a front view structural diagram of the present invention;
FIG. 3 is a top view of the first movable assembly;
FIG. 4 is a top view of the second movable assembly;
FIG. 5 is a left side view of the third movable assembly;
fig. 6 is a sectional view a-a of fig. 5.
Detailed Description
The technical solutions in the embodiments of the present invention will be described clearly and completely with reference to the accompanying drawings in the embodiments of the present invention, and it is obvious that the described embodiments are only some embodiments of the present invention, not all embodiments. Based on the embodiments of the present invention, any modifications, equivalent replacements, improvements, etc. made by other embodiments obtained by a person of ordinary skill in the art without creative efforts shall be included in the protection scope of the present invention.
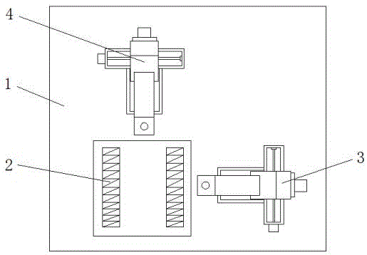
As shown in fig. 1 to 6, the present embodiment discloses an alternating magnetometer calibrating apparatus, which includes a workbench 1, wherein a helmholtz coil 2, a first probe adjusting mechanism 3, and a second probe adjusting mechanism 4 are disposed on the workbench 1; the Helmholtz coil 2 is formed by coaxially arranging two identical circular coils on the workbench 1 in parallel; the distance between the two circular coils of the Helmholtz coil 2 is consistent with the radius value of the circular coils; the first probe adjusting mechanism 3 is arranged on one axial side of the Helmholtz coils 2, the second probe adjusting mechanism 4 is arranged on one radial side of the Helmholtz coils 2, and the second probe adjusting mechanism 4 is positioned on a median line between the two Helmholtz coils 2;
the Helmholtz coil is composed of two circular coils with the radius of R, the distance L = R between the two coils can generate a uniform linear standard magnetic field with a certain volume at the center of the axis of the coil, the stability and the precision of the magnetic field completely depend on the exciting current I, and the constant K of the coil can be determined through calibration, so that the magnetic induction intensity value of the standard magnetic field can be calculated according to the formula B = K I.
First probe adjustment mechanism 3, second probe adjustment mechanism 4 all include first removal subassembly, second removal subassembly, angle fine setting subassembly, centre gripping subassembly, and first removal subassembly fixed connection is in 1 up end of workstation, and second removal subassembly fixed connection is in first removal subassembly upper end, and angle fine setting subassembly fixed connection is in second removal subassembly upper end, angle fine setting subassembly and centre gripping subassembly fixed connection.
The first moving assembly comprises a first rectangular block 5, the first rectangular block 5 is fixedly connected to the workbench 1, a first sliding groove 501 is formed in the upper end of the first rectangular block 5, a first lead screw 17 is arranged in the first sliding groove 501 along the length direction of the first sliding groove 501, one end of the first lead screw 17 is rotatably connected with the inner wall of one end of the first sliding groove 501, and the other end of the first lead screw 17 penetrates through the end wall of one end of the first rectangular block 5 and is in transmission connection with a first rotating motor 6 fixedly connected to the end wall of the first rectangular block 5; a first sliding block 7 is arranged in the first sliding groove 501, the first sliding block 7 is embedded in the first sliding groove 501, the first sliding block 7 can slide along the length direction of the first sliding groove 501, a first through hole 701 is formed in the first sliding block 7, the first through hole 701 is sleeved on the outer side of the first screw rod 17 through the first through hole 701, and the inner side wall of the first through hole 701 is in threaded connection with the outer side wall of the first screw rod 17; fixedly connected with backup pad 8 on the first slider 7, fixedly connected with second removes the subassembly on the backup pad 8.
When the first rotating motor is started, the first screw rod rotates, so that the first sliding block positioned in the first sliding groove slides along the length direction of the first sliding groove, and the operation that the first sliding block drives the second moving assembly to move along the length direction of the first sliding groove is realized.
The second moving assembly comprises a second rectangular block 9, the second rectangular block 9 is fixedly connected with the upper end face of the support plate 8, a second sliding groove 901 is formed in the upper end of the second rectangular block 9, the length direction of the second sliding groove 901 is perpendicular to that of the first sliding groove 501, a second lead screw 18 is arranged in the second sliding groove 901 along the length direction of the second sliding groove 901, one end of the second lead screw 18 is rotatably connected with the inner wall of one end of the second sliding groove 901, and the other end of the second lead screw 18 penetrates through the end wall of one end of the second rectangular block 9 and is in transmission connection with a second rotating motor 10 fixedly connected to the end wall of the second rectangular block 9; a second slider 11 is arranged in the second sliding groove 901, the second slider 11 is embedded in the second sliding groove 901, the second slider 11 can slide along the length direction of the second sliding groove 901, a second through hole 1101 is formed in the second slider 11, the second slider is sleeved outside the second screw rod 18 through the second through hole 1101, and the inner side wall of the second through hole 1101 is in threaded connection with the outer side wall of the second screw rod 18; and the second sliding block 11 is fixedly connected with an angle fine adjustment assembly.
The working principle of the second moving assembly is consistent with that of the first moving assembly, and the second sliding block and the angle fine-tuning assembly are driven to slide along the length direction of the second sliding groove through rotation of the second rotating motor.
The angle fine adjustment assembly comprises a third rectangular block 12, the third rectangular block 12 is fixedly connected to the upper end of the second sliding block 11, a third sliding groove 1201 is formed in the upper end of the third rectangular block 12, the length direction of the third sliding groove 1201 is parallel to the length direction of the first sliding groove 501, a rotating worm 22 is arranged in the third sliding groove 1201 along the length direction of the third sliding groove 1201, one end of the rotating worm 22 is rotatably connected with the inner wall of one end of the third sliding groove 1201, and the other end of the rotating worm 22 penetrates through the end wall of one end of the third rectangular block 12 and is in transmission connection with a third rotating motor 13 fixedly connected to the end wall of the third rectangular block 12; the upper end symmetry of third rectangular block 12 is provided with two mounting panels 20, and two mounting panels 20 set up respectively in third slip recess 1201 both sides, are provided with fine setting turbine board 19 between two mounting panels 20, and fine setting turbine board 19 passes through center pin 21 and mounting panel 20 rotatable coupling, and fine setting turbine board 19 bottom is circular-arcly, and fine setting turbine board 19 bottom is provided with turbine tooth 1901 and is connected with rotatory worm 22 transmission, and fine setting turbine board 19 top and centre gripping subassembly fixed connection.
When the third rotating motor works, the rotating worm rotates, the rotating worm drives the fine adjustment turbine plate to rotate around the central shaft under the action of the turbine teeth, and the top end of the fine adjustment turbine plate drives the clamping assembly to rotate, so that the angle fine adjustment operation of the clamping assembly and the sensing probe connected to the clamping assembly is realized, and the position of the sensing probe is convenient to adjust.
The clamping assembly comprises an adjusting rod 15, a clamping seat 16 and a clamping bolt 23; the one end and the fine setting turbine plate 19 top fixed connection of adjusting pole 15, the other end fixedly connected with holder 16 of adjusting pole 15 are provided with centre gripping hole 1601 on the holder 16, and the axis direction of centre gripping hole 1601 is unanimous with the length direction who adjusts pole 15, and centre gripping hole 1601 top is provided with the mounting hole, and the mounting hole is perpendicular mutually with centre gripping hole 1601 and the mounting hole is linked together with centre gripping hole 1601, and threaded connection has clamping bolt 23 in the mounting hole.
The first probe adjusting mechanism 3 and the second probe adjusting mechanism 4 are consistent in structure, and the first probe adjusting mechanism 3 and the second probe adjusting mechanism 4 are vertically arranged; the axis of the clamping hole 1601 on the first probe adjusting mechanism 3 is parallel to the axis of the helmholtz coil 2, and the axis of the clamping hole 1601 on the second probe adjusting mechanism 4 is parallel to the median line of the helmholtz coil 2.
When fixing the inductive probe to the reversal magnetometer, it is downthehole only to need stretch into the centre gripping with inductive probe's one end, through the clamp bolt twist soon make clamp bolt bottom press from both sides tightly inductive probe can, its easy operation, convenient and fast have improved the utility model discloses an effect of use.
An angle display plate 14 is arranged on the outer side of the fine adjustment turbine plate 19, the top end of the angle display plate 14 is fixedly connected with the bottom end of the adjusting rod 15, the bottom end of the angle display plate 14 is arranged in an arc shape, and inclined scales are arranged on the outer side of the bottom end of the angle display plate 14.
The inclination of adjusting the pole can be demonstrate to the scale of bottommost on the angle display board, has made things convenient for people to observe the inclination of adjusting the pole to calculate for inductive probe's inclination, make the inductive probe plane can realize its and standard magnetic field direction's vertical state fast, improved the utility model discloses an effect of use.
And the first rotating motor 5, the second rotating motor 10 and the third rotating motor 13 are all provided with line interfaces and are connected with a computer line through the line interfaces. People can be through the operating condition of the first rotating electrical machines of computer automatic control, second rotating electrical machines, third rotating electrical machines to realize inductive probe's vertical positioning operation fast, further improved the utility model discloses an excellent in use effect.
The utility model discloses an adopt and set up first probe adjustment mechanism, the design of second probe adjustment mechanism in helmholtz coil one side, make when carrying out the detection of reversal magnetometer, can place the inductive probe of reversal magnetometer in the centre gripping subassembly of first probe adjustment mechanism or second probe adjustment mechanism and fix, then can use first removal subassembly to realize the operation of moving about of inductive probe, use the second removal subassembly to realize the operation of moving back and forth of inductive probe, use angle fine setting subassembly to realize the angle fine setting operation of inductive probe, it has made things convenient for people to adjust the position of inductive probe in standard magnetic field, thereby make people can be stable realization inductive probe plane and the magnetic field direction of standard magnetic field environment keep perpendicular effect rapidly, the detection effect accuracy of inductive probe has been improved; simultaneously the utility model discloses can use first probe adjustment mechanism, second probe adjustment mechanism to carry out the centre gripping operation to inductive probe respectively in the axial of helmholtz coil, the footpath, can examine and determine the probe with axial, radial design's reversal magnetometer respectively to the detection verification operation of giving the reversal magnetometer has brought the facility.

Claims (8)

1. The utility model provides an alternating magnetometer calibrating installation, includes the workstation, its characterized in that: the Helmholtz coil, the first probe adjusting mechanism and the second probe adjusting mechanism are arranged on the workbench; the Helmholtz coil is formed by coaxially arranging two identical circular coils on the workbench in parallel; the first probe adjusting mechanism is arranged on one axial side of the Helmholtz coil, the second probe adjusting mechanism is arranged on one radial side of the Helmholtz coil, and the second probe adjusting mechanism is positioned on a median line between the two Helmholtz coils; the first probe adjusting mechanism and the second probe adjusting mechanism respectively comprise a first moving assembly, a second moving assembly, an angle fine-tuning assembly and a clamping assembly, the first moving assembly is fixedly connected to the upper end surface of the workbench, the second moving assembly is fixedly connected to the upper end of the first moving assembly, the angle fine-tuning assembly is fixedly connected to the upper end of the second moving assembly, and the angle fine-tuning assembly is fixedly connected with the clamping assembly; the clamping assembly comprises an adjusting rod, a clamping seat and a clamping bolt; the one end and the fine setting turbine plate top end fixed connection of adjusting the pole, the other end fixedly connected with grip slipper of adjusting the pole are provided with the centre gripping hole on the grip slipper, and the axis direction in centre gripping hole is unanimous with the length direction of adjusting the pole, and the centre gripping hole top is provided with the mounting hole, and the mounting hole is perpendicular and mounting hole and centre gripping hole intercommunication mutually with the centre gripping hole, and threaded connection has clamping bolt in the mounting hole.
2. An alternating magnetometer verification device according to claim 1 wherein: the first moving assembly comprises a first rectangular block, the first rectangular block is fixedly connected to the workbench, a first sliding groove is formed in the upper end of the first rectangular block, a first lead screw is arranged in the first sliding groove along the length direction of the first sliding groove, one end of the first lead screw is rotatably connected with the inner wall of one end of the first sliding groove, and the other end of the first lead screw penetrates through the end wall of one end of the first rectangular block and is in transmission connection with a first rotating motor fixedly connected to the end wall of the first rectangular block; a first sliding block is arranged in the first sliding groove, the first sliding block is embedded in the first sliding groove and can slide along the length direction of the first sliding groove, a first through hole is formed in the first sliding block and is sleeved outside the first screw rod through the first through hole, and the inner side wall of the first through hole is in threaded connection with the outer side wall of the first screw rod; fixedly connected with backup pad on the first slider, fixedly connected with second removes the subassembly in the backup pad.
3. An alternating magnetometer verification device according to claim 2 wherein: the second moving assembly comprises a second rectangular block, the second rectangular block is fixedly connected with the upper end face of the supporting plate, a second sliding groove is formed in the upper end of the second rectangular block, the length direction of the second sliding groove is perpendicular to the length direction of the first sliding groove, a second lead screw is arranged in the second sliding groove along the length direction of the second sliding groove, one end of the second lead screw is rotatably connected with the inner wall of one end of the second sliding groove, and the other end of the second lead screw penetrates through the end wall of one end of the second rectangular block and is in transmission connection with a second rotating motor fixedly connected to the end wall of the second rectangular block; a second sliding block is arranged in the second sliding groove, the second sliding block is embedded in the second sliding groove and can slide along the length direction of the second sliding groove, a second through hole is formed in the second sliding block and is sleeved on the outer side of the second screw rod through the second through hole, and the inner side wall of the second through hole is in threaded connection with the outer side wall of the second screw rod; and the second sliding block is fixedly connected with an angle fine adjustment assembly.
4. An alternating magnetometer verification device according to claim 3 wherein: the angle fine adjustment assembly comprises a third rectangular block, the third rectangular block is fixedly connected to the upper end of the second sliding block, a third sliding groove is formed in the upper end of the third rectangular block, the length direction of the third sliding groove is parallel to the length direction of the first sliding groove, a rotating worm is arranged in the third sliding groove along the length direction of the third sliding groove, one end of the rotating worm is rotatably connected with the inner wall of one end of the third sliding groove, and the other end of the rotating worm penetrates through the end wall of one end of the third rectangular block and is in transmission connection with a third rotating motor fixedly connected to the end wall of the third rectangular block; the third rectangle piece upper end symmetry is provided with two mounting panels, and two mounting panels set up respectively in third slip recess both sides, are provided with the fine setting turbine board between two mounting panels, and the fine setting turbine board passes through center pin and mounting panel rotatable coupling, and fine setting turbine board bottom is provided with turbine tooth and is connected with rotatory worm transmission, fine setting turbine board top and centre gripping subassembly fixed connection.
5. An alternating magnetometer verification device according to claim 4 wherein: the fine setting turbine board outside is provided with the angle display board, and angle display board top and regulation pole bottom fixed connection, angle display board bottom are circular-arc setting, and the angle display board bottom outside is provided with the slope scale.
6. An alternating magnetometer verification device according to claim 5 wherein: the first probe adjusting mechanism and the second probe adjusting mechanism are consistent in structure and are arranged vertically; the axis of the clamping hole in the first probe adjusting mechanism is parallel to the axis of the Helmholtz coil, and the axis of the clamping hole in the second probe adjusting mechanism is parallel to a median line between the two Helmholtz coils.
7. An alternating magnetometer verification device according to claim 6 wherein: the distance between the identical circular coils of the Helmholtz coil is consistent with the radius value of the circular coil.
8. An alternating magnetometer verification device according to claim 7 wherein: and the first rotating motor, the second rotating motor and the third rotating motor are all provided with line interfaces and are connected with a computer line through the line interfaces.
CN202120608373.2U 2021-03-25 2021-03-25 An Alternating Magnetometer Verification Device Expired - Fee Related CN214539991U (en)

Priority Applications (1)

Application Number Priority Date Filing Date Title
CN202120608373.2U CN214539991U (en) 2021-03-25 2021-03-25 An Alternating Magnetometer Verification Device

Applications Claiming Priority (1)

Application Number Priority Date Filing Date Title
CN202120608373.2U CN214539991U (en) 2021-03-25 2021-03-25 An Alternating Magnetometer Verification Device

Publications (1)

Publication Number Publication Date
CN214539991U true CN214539991U (en) 2021-10-29

Family

ID=78265843

Family Applications (1)

Application Number Title Priority Date Filing Date
CN202120608373.2U Expired - Fee Related CN214539991U (en) 2021-03-25 2021-03-25 An Alternating Magnetometer Verification Device

Country Status (1)

Country Link
CN (1) CN214539991U (en)

Cited By (1)

* Cited by examiner, † Cited by third party
Publication number Priority date Publication date Assignee Title
CN113030829A (en) * 2021-03-25 2021-06-25 河南省计量科学研究院 Multifunctional alternating magnetometer calibrating device

Cited By (1)

* Cited by examiner, † Cited by third party
Publication number Priority date Publication date Assignee Title
CN113030829A (en) * 2021-03-25 2021-06-25 河南省计量科学研究院 Multifunctional alternating magnetometer calibrating device

Similar Documents

Publication Publication Date Title
CN110967056B (en) Dual-function metering device and metering method
CN117741524B (en) Automatic fully built-in superconducting magnet magnetic field strength measurement device and measurement method
CN214539991U (en) An Alternating Magnetometer Verification Device
CN102183192A (en) Device and method for detecting symmetry of key groove
CN214473893U (en) An alternating magnetometer verification system
CN213041141U (en) a diameter measuring instrument
CN211123227U (en) Magnetic force detection device
CN214621401U (en) A liquid level positioning device for calibrating common glass measuring instruments
CN211084984U (en) Dial indicator calibrating device
CN207881655U (en) A kind of integrated correction device
CN110702006A (en) Device for automatically detecting position precision of peripheral cloth holes
CN212342118U (en) Experimental device for measuring Young modulus of metal wire
CN113030829A (en) Multifunctional alternating magnetometer calibrating device
CN204989439U (en) Hall probe mount and have its teslameter calibrating installation
CN110658055A (en) A kind of sample positioning device and positioning method for bending test
CN216205760U (en) Special measuring tool for calibrating vernier caliper
CN211013784U (en) A sample positioner for bending test
CN214923870U (en) Clamp capable of accurately adjusting angle of measuring pin
CN221898408U (en) Test device for eddy current sensor
CN219015165U (en) Device for detecting length and size of limited space
CN222298719U (en) Portable simple and easy vortex sensor check-up auxiliary platform
CN223842112U (en) A clamp meter calibration device
CN205537435U (en) Utensil is examined in axiality and special use of external diameter reading integral type
CN205537579U (en) Utensil is examined in special use of adjustable reading type external diameter
CN209512767U (en) A kind of LAS magnetic strength test macro

Legal Events

Date Code Title Description
GR01 Patent grant
GR01 Patent grant
CF01 Termination of patent right due to non-payment of annual fee
CF01 Termination of patent right due to non-payment of annual fee

Granted publication date: 20211029