CN214495436U - Can fix hoist and mount cable shaft cover formula electric hoist - Google Patents

Can fix hoist and mount cable shaft cover formula electric hoist Download PDF

Info

Publication number
CN214495436U
CN214495436U CN202120413458.5U CN202120413458U CN214495436U CN 214495436 U CN214495436 U CN 214495436U CN 202120413458 U CN202120413458 U CN 202120413458U CN 214495436 U CN214495436 U CN 214495436U
Authority
CN
China
Prior art keywords
base
sets
electric hoist
fixed
vertical steel
Prior art date
Legal status (The legal status is an assumption and is not a legal conclusion. Google has not performed a legal analysis and makes no representation as to the accuracy of the status listed.)
Active
Application number
CN202120413458.5U
Other languages
Chinese (zh)
Inventor
谢汝江
潘必鑫
王威
刘志勇
花满成
Current Assignee (The listed assignees may be inaccurate. Google has not performed a legal analysis and makes no representation or warranty as to the accuracy of the list.)
State Grid Jiangsu Electric Power Co Ltd
Suqian Power Supply Co of State Grid Jiangsu Electric Power Co Ltd
Shuyang Power Supply Co of State Grid Jiangsu Electric Power Co Ltd
State Grid Corp of China SGCC
Original Assignee
State Grid Jiangsu Electric Power Co Ltd
Suqian Power Supply Co of State Grid Jiangsu Electric Power Co Ltd
Shuyang Power Supply Co of State Grid Jiangsu Electric Power Co Ltd
State Grid Corp of China SGCC
Priority date (The priority date is an assumption and is not a legal conclusion. Google has not performed a legal analysis and makes no representation as to the accuracy of the date listed.)
Filing date
Publication date
Application filed by State Grid Jiangsu Electric Power Co Ltd, Suqian Power Supply Co of State Grid Jiangsu Electric Power Co Ltd, Shuyang Power Supply Co of State Grid Jiangsu Electric Power Co Ltd, State Grid Corp of China SGCC filed Critical State Grid Jiangsu Electric Power Co Ltd
Priority to CN202120413458.5U priority Critical patent/CN214495436U/en
Application granted granted Critical
Publication of CN214495436U publication Critical patent/CN214495436U/en
Active legal-status Critical Current
Anticipated expiration legal-status Critical

Links

Images

Landscapes

  • Laying Of Electric Cables Or Lines Outside (AREA)

Abstract

本实用新型公开了一种可固定吊装电缆井盖式电葫芦,包括底座,底座上方设置有两组竖钢管,每组竖钢管包含两根,两根竖钢管靠近顶部处交叉安装,底座上方设置有用于锁紧的卡扣,每组竖钢管通过卡扣固定连接,底座上方设置有横钢管,横钢管卡合在两组竖钢管上部交叉空间内,横钢管与每组竖钢管通过卡扣固定连接,底座上方对称设置有两组支撑板,底座上方设置有电葫芦的控制装置,控制装置位于支撑板上,本实用新型适用于电缆井盖吊装,通过钢管简单连接,对电缆井盖抬升装置进行固定,同时能够实现两组挂钩之间距离的调整,使该结构适用于不同大小的电缆井盖,通过控制装置的自动抬升电缆井盖,减少人力成本的浪费。

Figure 202120413458

The utility model discloses a cable manhole cover type electric hoist that can be fixed and hoisted. The electric hoist comprises a base. Two sets of vertical steel pipes are arranged above the base. Each set of vertical steel pipes includes two. For the locked buckle, each group of vertical steel pipes is fixedly connected by the buckle, and a horizontal steel pipe is arranged above the base. Two sets of support plates are symmetrically arranged above the base, and the control device of the electric hoist is arranged above the base, and the control device is located on the support plate. At the same time, the distance between the two sets of hooks can be adjusted, so that the structure is suitable for cable manhole covers of different sizes, and the cable manhole covers are automatically lifted by the control device, thereby reducing the waste of labor costs.

Figure 202120413458

Description

Can fix hoist and mount cable shaft cover formula electric hoist
Technical Field
The utility model belongs to the technical field of the cable, specifically a can fix hoist and mount cable shaft cover formula electric hoist.
Background
The cable is an electric energy or signal transmission device, usually consist of several or several groups of wire, each group of wire is insulated each other, and often turn round around a centre, the whole outside is wrapped with the high insulating cover layer, the cable has the characteristic of internal electrification, external insulation;
at present, the number of cables put into operation increases rapidly, cable well lid needs to be opened in cable delivery acceptance and later operation and maintenance, the general weight of cable well lid is not less than 300 jin, construction and operation and maintenance personnel open cable well lid still adopt the method that many people use the rope fastening to lift up, this method wastes time and energy, influences acceptance and operation and maintenance work progress, reduces work efficiency by a wide margin.
SUMMERY OF THE UTILITY MODEL
An object of the utility model is to overcome prior art's defect, provide one kind and can fix hoist and mount cable shaft cover formula electric hoist.
In order to achieve the above purpose, the utility model adopts the following technical scheme:
a well cover type electric hoist capable of fixedly hoisting cables comprises a base, wherein two groups of vertical steel pipes are arranged above the base, each group of vertical steel pipes comprises two vertical steel pipes, the two vertical steel pipes are installed in a cross mode near the top, a buckle used for locking is arranged above the base, each group of vertical steel pipes are fixedly connected through the buckle, a transverse steel pipe is arranged above the base, the transverse steel pipe is clamped in a cross space at the upper parts of the two groups of vertical steel pipes, and the transverse steel pipe is fixedly connected with each group of vertical steel pipes through the buckle;
the base top symmetry is provided with two sets of backup pads, the base top is provided with the controlling means of electric hoist, controlling means is located in the backup pad, backup pad one side is provided with logical groove, the controlling means below is provided with the couple, the couple passes through logical groove to backup pad below of backup pad one side.
Preferably, two groups of connecting blocks are arranged above the base, through holes are formed in the connecting blocks, the transverse steel pipe can be inserted into the through holes in the connecting blocks, and the upper surface of the supporting plate is fixed to the lower surface of the connecting blocks.
Preferably, the buckle includes two sets of sector rings, two sets of sector rings are connected through hinge rotation, the sector ring opposite side is provided with the spliced pole, be provided with the through-hole on the spliced pole, the sector ring outside is provided with the bolt, the bolt can insert and close in the through-hole on the spliced pole.
Preferably, a supporting telescopic rod is arranged between the two groups of connecting blocks.
Preferably, two groups of cylindrical blocks are uniformly arranged on the base, a groove is formed in the center of each cylindrical block, and the vertical steel pipe can be inserted into the groove in each cylindrical block.
Preferably, two groups of electric push rods are symmetrically arranged on the base, an arc-shaped block is fixed at the other end of each electric push rod, and a rubber cushion pad is arranged on the inner side of each arc-shaped block.
The utility model discloses in, through the simple connection of steel pipe, fix cable well lid lifting device, simple structure is with low costs, and the connecting block not only can bear the weight of controlling means simultaneously, can realize the adjustment of distance between two sets of couples simultaneously, makes this structure be applicable to the cable well lid of different sizes to can control the automation of cable well lid and lift up, reduce the waste of human cost;
the utility model discloses in, design the cylinder piece on the base, carry on spacingly to erecting the steel pipe, prevent that equipment from erecting the influence that the steel pipe slided and cause at the in-process of work, design arc piece on the base simultaneously, cushion the cable well lid of just lifting, prevent to rock accidents such as falling that cause too greatly.
Drawings
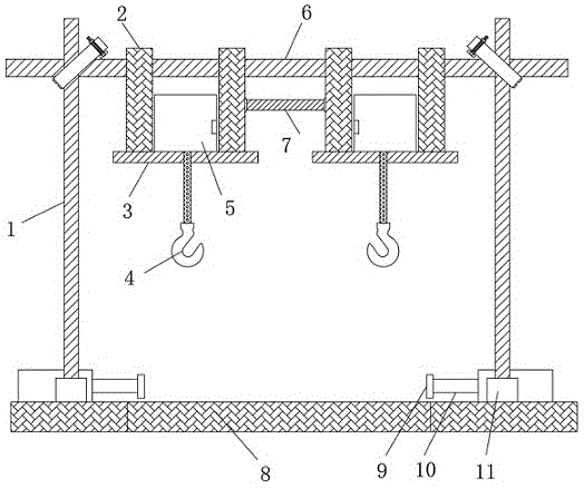
Fig. 1 is a schematic view of the overall structure of the present invention;
FIG. 2 is a schematic view of the connection structure of the middle vertical steel pipe of the present invention;
FIG. 3 is a schematic view of the middle buckle structure of the present invention;
FIG. 4 is a schematic view of the mounting structure of the connecting block of the present invention;
fig. 5 is a schematic view of the structure of the middle base of the present invention.
Reference numerals: 1. erecting a steel pipe; 2. connecting blocks; 3. a support plate; 4. hooking; 5. a control device; 6. a horizontal steel pipe; 7. supporting the telescopic rod; 8. a base; 9. an arc-shaped block; 10. an electric push rod; 11. a cylindrical block; 12. buckling; 121. a hinge; 122. a sector ring; 123. connecting columns; 124. and (4) bolts.
Detailed Description
The following description further describes a specific embodiment of the electric hoist with a fixed hoisting cable shaft cover according to the present invention with reference to fig. 1-5. The utility model relates to a can fix hoist and mount cable shaft cover formula electric hoist is not limited to the description of following embodiment.
Example 1:
the embodiment provides a concrete structure capable of fixedly hoisting a cable shaft cover type electric hoist, which comprises a base 8, wherein two groups of vertical steel pipes 1 are arranged above the base 8, each group of vertical steel pipes 1 comprises two vertical steel pipes, the two vertical steel pipes 1 are arranged near the top in a crossed manner, a buckle 12 for locking is arranged above the base 8, each group of vertical steel pipes 1 are fixedly connected through the buckle 12, a transverse steel pipe 6 is arranged above the base 8, the transverse steel pipe 6 is clamped in a crossed space at the upper part of the two groups of vertical steel pipes 1, and the transverse steel pipe 6 is fixedly connected with each group of vertical steel pipes 1 through the buckle 12;
8 top symmetries of base are provided with two sets of backup pads 3, and 8 tops of base are provided with the controlling means 5 of electric hoist, and controlling means 5 is located backup pad 3, and 3 one sides of backup pad are provided with logical groove, and controlling means 5 below is provided with couple 4, and couple 4 leads to the groove to 3 below of backup pad through backup pad 3 one side.
Base 8 top is provided with two sets of connecting blocks 2, is provided with the through-hole on the connecting block 2, and in the through-hole on connecting block 2 was passed through in the can pegging graft of horizontal steel pipe 6, 3 upper surface of backup pad were fixed on the lower surface of connecting block 2.
The buckle 12 comprises two groups of fan-shaped rings 122, the two groups of fan-shaped rings 122 are rotatably connected through a hinge 121, a connecting column 123 is arranged on the other side of each fan-shaped ring 122, a through hole is formed in each connecting column 123, a bolt 124 is arranged on the outer side of each fan-shaped ring 122, and the bolt 124 can be inserted into the through hole in each connecting column 123.
And a supporting telescopic rod 7 is arranged between the two groups of connecting blocks 2 and is used for supporting and adjusting the width.
By adopting the technical scheme: when cable well lid needs hoist and mount, at first, buckle 12 cross fixation is passed through to two sets of perpendicular steel pipes 1, then through the fixed buckle 12 of bolt 124, then place horizontal steel pipe 6 in two sets of perpendicular steel pipe 1 cross spaces, then through the round hole on connecting block 2, 2 blocks of connecting block are on horizontal steel pipe 6, it is fixed respectively horizontal steel pipe 6 and two sets of perpendicular steel pipes 1 equally with buckle 12 after that, place controlling means 5 to backup pad 3 on, 5 up-and-down motions of controlling means control couple 4, hoist cable well lid, above process, through simple mechanical mechanism, realize the automatic hoist and mount to cable well lid, reduce the waste of cost of labor, set up support telescopic link 7 simultaneously between two sets of connecting block 2, adjust the hoist and mount of width in order to be applicable to the cable well lid of more sizes.
Example 2:
the embodiment provides a concrete structure capable of fixing and hoisting a cable shaft cover type electric hoist, as shown in fig. 1 and 5, two groups of cylindrical blocks 11 are uniformly arranged on a base 8, a groove is formed in the center of each cylindrical block 11, a vertical steel pipe 1 can be inserted into the groove in each cylindrical block 11, and the middle of the base 8 is hollowed out.
Two groups of electric push rods 10 are symmetrically arranged on the base 8, an arc-shaped block 9 is fixed at the other end of each electric push rod 10, and a rubber cushion pad is arranged on the inner side of each arc-shaped block 9.
By adopting the technical scheme: two sets of 1 bottoms of perpendicular steel pipe are inserted respectively and are closed in cylinder piece 11, prevent to slide, when couple 4 lifts up cable well lid, electric putter 10 starts, 9 transverse motion of control arc piece, fix a position the cable well lid of lifting, above in-process, cable well lid is when just lifting, because the effect of inertia and power, can acutely rock even slope, through setting up arc piece 9, cushion the cable well lid of just lifting, reduce because of acutely rocking the falling or the damage that causes.
Working principle, refer to fig. 1-5, when cable well lid needs hoist and mount, at first, cross-fixing two sets of perpendicular steel pipes 1 through buckle 12, insert respectively in cylinder piece 11 bottom two sets of perpendicular steel pipes 1, then fix buckle 12 through bolt 124, then place horizontal steel pipe 6 in two sets of perpendicular steel pipe 1 cross space, then through the round hole on connecting block 2, connect block 2 block on horizontal steel pipe 6, it is fixed respectively with buckle 12 horizontal steel pipe 6 and two sets of perpendicular steel pipes 1 equally after that, place controlling means 5 to backup pad 3 on, controlling means 5 control couple 4 up-and-down motion, hoist cable well lid, when couple 4 hoists cable well lid, electric putter 10 starts, control arc 9 lateral motion, fix a position the cable well lid of lifting.
The foregoing is a more detailed description of the present invention, taken in conjunction with the specific preferred embodiments thereof, and it is not intended that the invention be limited to the specific embodiments shown and described. To the utility model belongs to the technical field of ordinary technical personnel, do not deviate from the utility model discloses under the prerequisite of design, can also make a plurality of simple deductions or replacement, all should regard as belonging to the utility model discloses a protection scope.

Claims (6)

1.一种可固定吊装电缆井盖式电葫芦,包括底座(8),其特征在于:所述底座(8)上方设置有两组竖钢管(1),所述每组竖钢管(1)包含两根,所述两根竖钢管(1)靠近顶部处交叉安装,所述底座(8)上方设置有用于锁紧的卡扣(12),所述每组竖钢管(1)通过卡扣(12)固定连接,所述底座(8)上方设置有横钢管(6),所述横钢管(6)卡合在两组竖钢管(1)上部交叉空间内,所述横钢管(6)与每组竖钢管(1)通过卡扣(12)固定连接;1. A cable manhole cover type electric hoist that can be fixed and hoisted, comprising a base (8), characterized in that: two sets of vertical steel pipes (1) are arranged above the base (8), and each set of vertical steel pipes (1) includes Two, the two vertical steel pipes (1) are installed crosswise near the top, a snap (12) for locking is provided above the base (8), and each group of vertical steel pipes (1) is provided with a snap (12). 12) Fixed connection, a horizontal steel pipe (6) is arranged above the base (8), and the horizontal steel pipe (6) is engaged in the upper cross space of the two sets of vertical steel pipes (1). Each group of vertical steel pipes (1) is fixedly connected by a clip (12); 所述底座(8)上方对称设置有两组支撑板(3),所述底座(8)上方设置有电葫芦的控制装置(5),所述控制装置(5)位于所述支撑板(3)上,所述支撑板(3)一侧设置有通槽,所述控制装置(5)下方设置有挂钩(4),所述挂钩(4)通过所述支撑板(3)一侧的通槽至支撑板(3)下方。Two sets of support plates (3) are symmetrically arranged above the base (8), and a control device (5) for an electric hoist is arranged above the base (8), and the control device (5) is located on the support plate (3). ), a through slot is provided on one side of the support plate (3), a hook (4) is provided below the control device (5), and the hook (4) passes through a through hole on one side of the support plate (3). slot to the bottom of the support plate (3). 2.如权利要求1所述的一种可固定吊装电缆井盖式电葫芦,其特征在于:所述底座(8)上方设置有两组连接块(2),所述连接块(2)上设置有通孔,所述横钢管(6)可插合通过所述连接块(2)上的通孔内,所述支撑板(3)上表面固定在所述连接块(2)的下表面上。2. A cable manhole cover type electric hoist that can be fixed and hoisted according to claim 1, characterized in that: two sets of connection blocks (2) are arranged above the base (8), and the connection blocks (2) are arranged on There is a through hole, the horizontal steel pipe (6) can be inserted through the through hole on the connecting block (2), and the upper surface of the support plate (3) is fixed on the lower surface of the connecting block (2) . 3.如权利要求1所述的一种可固定吊装电缆井盖式电葫芦,其特征在于:所述卡扣(12)包括两组扇形环(122),所述两组扇形环(122)通过铰链(121)转动连接,所述扇形环(122)另一侧设置有连接柱(123),所述连接柱(123)上设置有通孔,所述扇形环(122)外侧设置有螺栓(124),所述螺栓(124)可插合进所述连接柱(123)上的通孔内。3. A cable manhole cover type electric hoist that can be fixed and hoisted according to claim 1, wherein the buckle (12) comprises two sets of fan-shaped rings (122), and the two sets of fan-shaped rings (122) pass through The hinge (121) is rotatably connected, the other side of the fan-shaped ring (122) is provided with a connecting column (123), the connecting column (123) is provided with a through hole, and the outer side of the fan-shaped ring (122) is provided with bolts ( 124), the bolt (124) can be inserted into the through hole on the connecting column (123). 4.如权利要求2所述的一种可固定吊装电缆井盖式电葫芦,其特征在于:所述两组连接块(2)之间设置有支撑伸缩杆(7)。4 . The cable manhole cover type electric hoist that can be fixed and hoisted according to claim 2 , wherein a support telescopic rod ( 7 ) is arranged between the two sets of connecting blocks ( 2 ). 5 . 5.如权利要求1所述的一种可固定吊装电缆井盖式电葫芦,其特征在于:所述底座(8)上均匀设置有两组圆柱块(11),所述圆柱块(11)中心处设置有凹槽,所述竖钢管(1)可插合进所述圆柱块(11)上的凹槽内,所述底座(8)中间处镂空设计。5. A cable manhole cover type electric hoist that can be fixed and hoisted according to claim 1, wherein two groups of cylindrical blocks (11) are evenly arranged on the base (8), and the center of the cylindrical blocks (11) A groove is provided at the base, the vertical steel pipe (1) can be inserted into the groove on the cylindrical block (11), and the middle of the base (8) is hollowed out. 6.如权利要求1所述的一种可固定吊装电缆井盖式电葫芦,其特征在于:所述底座(8)上对称设置有两组电动推杆(10),所述电动推杆(10)另一端固定有弧形块(9),所述弧形块(9)内侧设置有橡胶缓冲垫。6. A cable manhole cover type electric hoist that can be fixed and hoisted according to claim 1, wherein two sets of electric push rods (10) are symmetrically arranged on the base (8), and the electric push rods (10) ) is fixed with an arc-shaped block (9) at the other end, and a rubber buffer pad is arranged inside the arc-shaped block (9).
CN202120413458.5U 2021-02-25 2021-02-25 Can fix hoist and mount cable shaft cover formula electric hoist Active CN214495436U (en)

Priority Applications (1)

Application Number Priority Date Filing Date Title
CN202120413458.5U CN214495436U (en) 2021-02-25 2021-02-25 Can fix hoist and mount cable shaft cover formula electric hoist

Applications Claiming Priority (1)

Application Number Priority Date Filing Date Title
CN202120413458.5U CN214495436U (en) 2021-02-25 2021-02-25 Can fix hoist and mount cable shaft cover formula electric hoist

Publications (1)

Publication Number Publication Date
CN214495436U true CN214495436U (en) 2021-10-26

Family

ID=78226054

Family Applications (1)

Application Number Title Priority Date Filing Date
CN202120413458.5U Active CN214495436U (en) 2021-02-25 2021-02-25 Can fix hoist and mount cable shaft cover formula electric hoist

Country Status (1)

Country Link
CN (1) CN214495436U (en)

Cited By (1)

* Cited by examiner, † Cited by third party
Publication number Priority date Publication date Assignee Title
CN116216494A (en) * 2022-12-26 2023-06-06 北京京能建设集团有限公司 Safety hoisting device for building construction

Cited By (1)

* Cited by examiner, † Cited by third party
Publication number Priority date Publication date Assignee Title
CN116216494A (en) * 2022-12-26 2023-06-06 北京京能建设集团有限公司 Safety hoisting device for building construction

Similar Documents

Publication Publication Date Title
CN113966435A (en) Wind driven generator mounting and dismounting device and construction method using same
CN109231023B (en) Method for installing jib system of portal crane
WO2024250782A1 (en) Efficient lifting device capable of adapting to mounting angle of concrete armor block
CN106586811A (en) Hoisting overturning device for concrete tower drum and hoisting overturning method
CN214495436U (en) Can fix hoist and mount cable shaft cover formula electric hoist
CN113668937B (en) Waist ring device and lifting system for inner suspension holding rod hoisting tower set
CN204434191U (en) A kind of electric power facility hanging apparatus
CN217478849U (en) Electrolytic water hydrogen production electrolytic tank hoisting device and electrolytic tank moving equipment
CN108726358B (en) A batch hoisting device and method for main bars of a towering concrete structure
CN219620751U (en) Construction lifting appliance
CN115303941B (en) Large-tonnage reinforcement cage hoisting method
CN218027231U (en) Simple device for lowering bottom basket of hanging basket
CN215208019U (en) Deformed steel bar hoisting device
CN110886242A (en) Installation method of composite cable saddle in tunnel anchor hole of mountain suspension bridge
CN212712384U (en) Building templates hoist device
CN210944589U (en) Self-detaching attachment mechanism
CN216766145U (en) Hoisting device for drain pipe for water conservancy construction
CN209567737U (en) Reinforcement cage hoisting installation device under limited headroom
CN213537046U (en) Hoisting device for building prefabricated slab
CN219031472U (en) Fine-tuning lifting appliance for building curtain wall unit
CN223342187U (en) Lifting equipment for building construction formwork installation
CN215326462U (en) Steel-pipe pile lifting device
CN223606892U (en) Hoisting device for unit cell of blast furnace slag pool bottom filtering system
CN223328855U (en) Concrete member hoisting device
CN218371338U (en) Device for hoisting underground substation equipment

Legal Events

Date Code Title Description
GR01 Patent grant
GR01 Patent grant