CN214486269U - Purification device with multiple purification ways - Google Patents

Purification device with multiple purification ways Download PDF

Info

Publication number
CN214486269U
CN214486269U CN202120592839.4U CN202120592839U CN214486269U CN 214486269 U CN214486269 U CN 214486269U CN 202120592839 U CN202120592839 U CN 202120592839U CN 214486269 U CN214486269 U CN 214486269U
Authority
CN
China
Prior art keywords
spray
cylinder
pipe
filter
purification
Prior art date
Legal status (The legal status is an assumption and is not a legal conclusion. Google has not performed a legal analysis and makes no representation as to the accuracy of the status listed.)
Expired - Fee Related
Application number
CN202120592839.4U
Other languages
Chinese (zh)
Inventor
魏芳
路红
尚可
Current Assignee (The listed assignees may be inaccurate. Google has not performed a legal analysis and makes no representation or warranty as to the accuracy of the list.)
Yantai Hangyu Fluid Purification Technology Co ltd
Original Assignee
Yantai Hangyu Fluid Purification Technology Co ltd
Priority date (The priority date is an assumption and is not a legal conclusion. Google has not performed a legal analysis and makes no representation as to the accuracy of the date listed.)
Filing date
Publication date
Application filed by Yantai Hangyu Fluid Purification Technology Co ltd filed Critical Yantai Hangyu Fluid Purification Technology Co ltd
Priority to CN202120592839.4U priority Critical patent/CN214486269U/en
Application granted granted Critical
Publication of CN214486269U publication Critical patent/CN214486269U/en
Expired - Fee Related legal-status Critical Current
Anticipated expiration legal-status Critical

Links

Images

Landscapes

  • Separation Of Particles Using Liquids (AREA)

Abstract

本实用新型涉及净化设备技术领域,具体地说,涉及具有多种净化途径的净化装置,包括固定座,固定座上表面靠近左端处设有过滤筒,固定座上表面中心位置安装有排风筒,排风筒前端面上中间位置安装有电机,且输出轴同轴连接有风轮叶,固定座上表面靠近右端处设有喷淋筒,喷淋筒圆周外壁上还安装有储水箱,储水箱上方安装有水泵,喷淋筒圆周外壁上嵌设有干燥箱;该具有多种净化途径的净化装置,排风筒便于持续集中的吸入空气,进行对应的空气净化使用,过滤筒与喷淋筒配合,过滤筒中安装多个过滤棉初步进行过滤吸附空气中的颗粒物以及粉尘,在经过排风筒输送至喷淋筒中,经过喷淋吸附沉淀空气中水溶性物质,最后通过干燥箱排出净化的空气。

Figure 202120592839

The utility model relates to the technical field of purification equipment, in particular to a purification device with multiple purification paths, comprising a fixing seat, a filter cartridge is arranged on the upper surface of the fixing seat near the left end, and an exhaust tube is installed at the center of the upper surface of the fixing seat , A motor is installed in the middle of the front end surface of the exhaust cylinder, and the output shaft is coaxially connected with a fan blade. The upper surface of the fixed seat is provided with a spray cylinder near the right end, and a water storage tank is also installed on the outer wall of the spray cylinder. A water pump is installed above the water tank, and a drying box is embedded on the circumferential outer wall of the spray cylinder; this purification device with multiple purification methods, the exhaust cylinder is convenient for continuous and concentrated air inhalation for corresponding air purification. The filter cartridge is equipped with multiple filter cottons to initially filter and adsorb the particulate matter and dust in the air. After being transported to the spray cylinder through the exhaust duct, the water-soluble substances in the air are adsorbed and precipitated by spraying, and finally the purified air is discharged through the drying box. Air.

Figure 202120592839

Description

Purification device with multiple purification ways
Technical Field
The utility model relates to a clarification plant technical field specifically is a purifier with multiple purification way.
Background
The purifying equipment is a product which can adsorb, decompose or convert various air pollution sources, air pollutants and indoor biological pollution, mainly comprises bacteria, fungi, mildew, viruses, dust mites, pollen, pet dander, organism organic components and the like, and effectively improves the air cleanliness, and is mainly household and industrial purifying equipment for removing indoor air pollution at present;
general purifier purifies the way singlely, can not more fully carry out filtration purification to micromolecule thing and particulate matter in the air, equips too big, is not convenient for remove the use, and area is big, can not the rational utilization space, carries out the purification of multiple pass to the air fast and uses.
SUMMERY OF THE UTILITY MODEL
An object of the utility model is to provide a purifier with multiple purification way to solve the problem that proposes among the above-mentioned background art.
In order to achieve the above object, the utility model provides a following technical scheme:
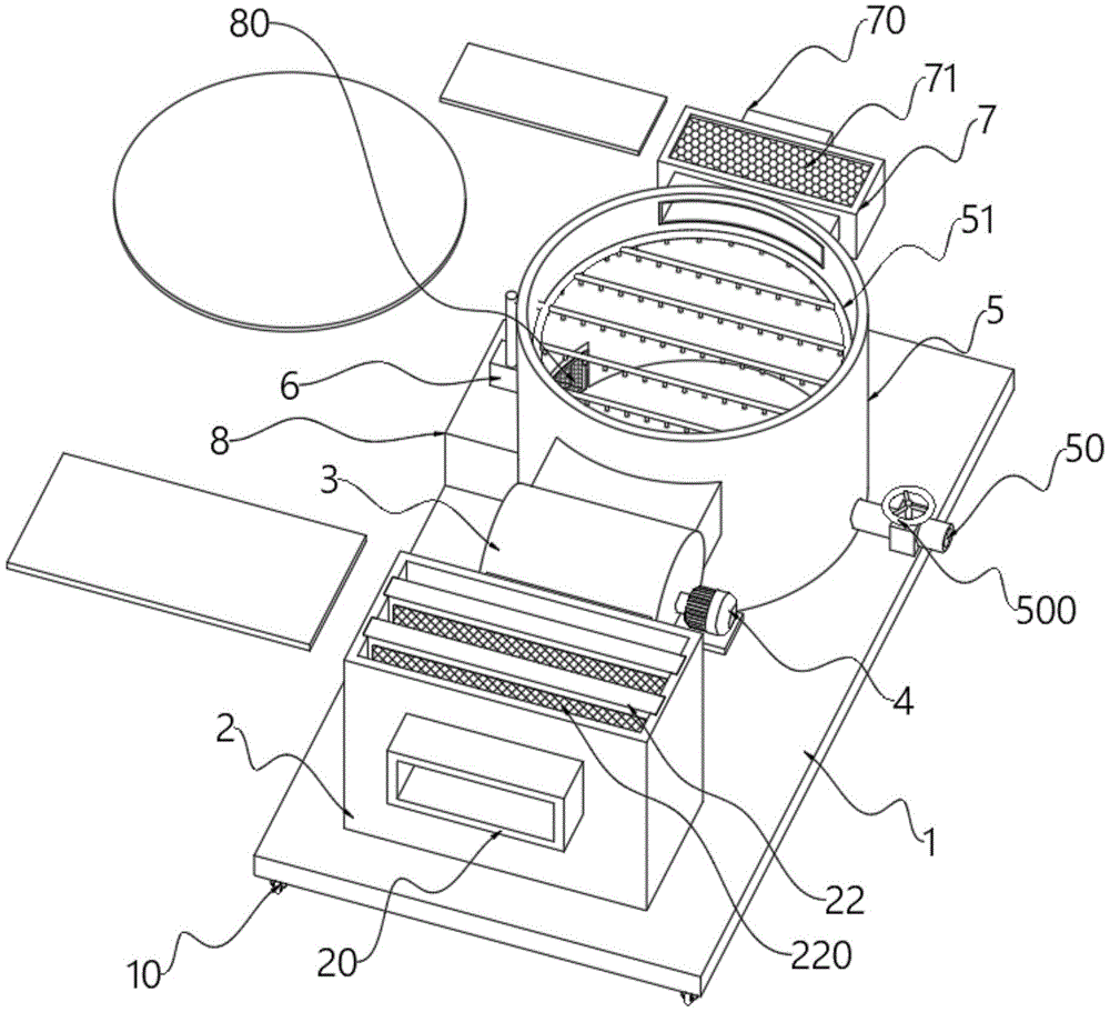
a purification device with multiple purification ways comprises a fixed seat, wherein a filter cartridge is arranged on the upper surface of the fixed seat close to the left end, the interior of the filter cartridge is hollow, an air inlet pipe communicated with the interior is embedded on the left end surface of the filter cartridge close to the top, slots are symmetrically formed in the inner wall of the filter cartridge, frame plates are arranged in the slots, filter cotton is mounted in the frame plates, an exhaust duct is mounted at the central position of the upper surface of the fixed seat, the interior of the exhaust duct is hollow cylindrical, connecting pipes are symmetrically arranged on the outer wall of the exhaust duct, a motor is mounted at the middle position of the front end surface of the exhaust duct, an output shaft of the motor extends into the exhaust duct, the output shaft is coaxially connected with fan blades, a spray drum is arranged on the upper surface of the fixed seat close to the right end, a slag discharge pipe communicated with the interior is embedded on the outer wall of the circumference of the spray drum close to the bottom of the front end surface, the utility model discloses a drying box, including a spray cylinder circumference outer wall, a scum pipe, a spray cylinder, a filter screen, a water pump, a spray ring pipe, a plurality of shower heads, the last valve of installing of scum pipe, the storage water tank that still installs with inside intercommunication is close to rear end bottom position department on the spray cylinder circumference outer wall, the filter screen is still installed with the spray cylinder junction to the storage water tank, the water pump is installed to the storage water tank top, the inside intermediate position that is close to of spray cylinder installs the spray ring pipe, be equipped with a plurality of spray pipe on the spray ring pipe, still be equipped with a plurality of shower head on the spray ring pipe, be close to right-hand member top position on the spray cylinder circumference outer wall and inlay the drying cabinet that is equipped with inside intercommunication, the right-hand member face of drying cabinet is equipped with the exhaust pipe with inside intercommunication, install dry cotton in the drying cabinet.
Preferably, the lower surface of the fixing seat is provided with universal wheels close to the corners, and the universal wheels are fixedly connected with the fixing seat through bolts.
Preferably, the filter cartridge passes through bolt and fixing base fixed connection, the filter cartridge top is equipped with the cover, the exhaust section of thick bamboo passes through bolt and fixing base fixed connection, the spray cylinder top still is equipped with the cover.
Preferably, the connecting pipes are fixedly welded with the air exhaust cylinder, the air exhaust cylinder is communicated with the filter cylinder through one of the connecting pipes, and the air exhaust cylinder is communicated with the spray cylinder through the other connecting pipe.
Preferably, a filtering baffle is further arranged in one of the connecting pipes, the width of the filtering baffle is matched with that of the connecting pipe, the filtering baffle is fixedly connected with the connecting pipe through a bolt, the motor is fixedly connected with the exhaust cylinder through a bolt, the width of the wind wheel blade is matched with the inner diameter of the exhaust cylinder, and the output shaft of the motor is welded and fixed with the wind wheel blade.
Preferably, the deslagging pipe is fixed with the spraying barrel in a welded mode, the valve is fixedly connected with the deslagging pipe through bolts, the water storage tank is fixedly welded with the spraying barrel, the width of the filter screen is matched with the width of the inner wall of the water storage tank, the filter screen is fixedly connected with the water storage tank through bolts, the water pump is fixedly connected with the water storage tank through bolts, the water spraying pipes are distributed at equal intervals, the water spraying pipes and the spraying ring pipe are of an integrally formed structure, the spraying heads are fixed with the spraying ring pipe in a welded mode, the spraying heads are distributed at equal intervals, and the spraying ring pipe and the water pump are fixed through hose welding.
Preferably, the drying cabinet is welded and fixed with the spraying cylinder, the top of the drying cabinet is further provided with a cabinet cover, the width of the drying cotton is matched with the width inside the drying cabinet, and the exhaust pipe and the drying cabinet are of an integrally formed structure.
Compared with the prior art, the beneficial effects of the utility model are that:
1. the utility model discloses under the cooperation of motor and wind wheel leaf in the exhaust section of thick bamboo, be convenient for last concentrated suction air, carry out the air purification use that corresponds, the cartridge filter cooperates with the spray cylinder, carries out multiple approach and purifies the use, installs a plurality of filter pulp in the cartridge filter and tentatively filters particulate matter and dust in the adsorbed air, in carrying to the spray cylinder through the exhaust section of thick bamboo, through spraying the water-soluble material in the adsorption and precipitation air, the air that purifies through the drying cabinet discharge at last.
2. The utility model discloses cooperate the universal wheel on the fixing base, the whole nimble removal of being convenient for is used, and the water in the cyclic utilization spray cylinder of being convenient for is added to the cooperation of storage water tank and filter screen, and dry cotton adds and establishes, is convenient for carry out drying process to the air that needs were got rid of, prevents that steam from discharging, increases the humidity of air on every side, and the cooperation of scum pipe and valve is convenient for manually open the inside sediment particulate matter of discharging.
Drawings
FIG. 1 is a schematic view of the overall structure of a purification apparatus with multiple purification approaches according to the present invention;
FIG. 2 is a schematic structural view of the purification device with multiple purification paths according to the present invention in an open state;
FIG. 3 is a schematic diagram of a partial structural framework of a purification device with multiple purification approaches according to the present invention;
FIG. 4 is a schematic view of the structure of the shower frame of the present invention;
fig. 5 is a schematic view of the combined structure of the exhaust funnel and the motor of the present invention.
The various reference numbers in the figures mean:
1. a fixed seat; 10. a universal wheel;
2. a filter cartridge; 20. an air inlet pipe; 21. a slot; 22. a frame plate; 220. filtering cotton;
3. an exhaust duct; 30. a connecting pipe; 31. a filtering baffle;
4. a motor; 40. a wind wheel blade;
5. a spray cylinder; 50. a slag discharge pipe; 500. a valve; 51. a spray ring pipe; 510. a water spray pipe; 511. a shower head;
6. a water pump;
7. a drying oven; 70. an exhaust duct; 71. drying the cotton;
8. a water storage tank; 80. and (4) a filter screen.
Detailed Description
The technical solutions in the embodiments of the present invention will be described clearly and completely with reference to the accompanying drawings in the embodiments of the present invention, and it is obvious that the described embodiments are only some embodiments of the present invention, not all embodiments. Based on the embodiments in the present invention, all other embodiments obtained by a person skilled in the art without creative work belong to the protection scope of the present invention.
In the description of the present invention, it is to be understood that the terms "center", "longitudinal", "lateral", "length", "width", "thickness", "upper", "lower", "front", "rear", "left", "right", "vertical", "horizontal", "top", "bottom", "inner", "outer", "clockwise", "counterclockwise", and the like indicate orientations or positional relationships based on the orientations or positional relationships shown in the drawings, and are only for convenience of description and to simplify the description, but do not indicate or imply that the device or element referred to must have a particular orientation, be constructed and operated in a particular orientation, and therefore should not be construed as limiting the present invention.
Referring to fig. 1-5, the present invention provides a technical solution:
a purification device with multiple purification approaches comprises a fixed seat 1, wherein a filter cylinder 2 is arranged on the upper surface of the fixed seat 1 near the left end, the interior of the filter cylinder 2 is hollow, an air inlet pipe 20 communicated with the interior is embedded on the left end surface of the filter cylinder 2 near the top, slots 21 are symmetrically arranged on the inner wall of the filter cylinder 2, frame plates 22 are arranged in the slots 21, filter cotton 220 is arranged in the frame plates 22, an exhaust fan drum 3 is arranged at the central position of the upper surface of the fixed seat 1, the interior of the exhaust fan drum 3 is hollow cylindrical, connecting pipes 30 are symmetrically arranged on the outer wall of the exhaust fan drum 3, a motor 4 is arranged at the middle position on the front end surface of the exhaust fan drum 3, an output shaft of the motor 4 extends to the interior of the exhaust fan drum 3, the output shaft is coaxially connected with an air fan blade 40, a spray drum 5 is arranged on the upper surface of the fixed seat 1 near the right end, a slag discharge pipe 50 communicated with the interior is embedded on the circumferential outer wall of the spray drum 5 near the bottom of the front end surface, install valve 500 on scum pipe 50, still install the storage water tank 8 with inside intercommunication near rear end bottom position department on 5 circumference outer walls of spray cylinder, storage water tank 8 still installs filter screen 80 with 5 junctions of spray cylinder, water pump 6 is installed to storage water tank 8 top, spray cylinder 5 is inside to be close to the intermediate position and to install spray ring pipe 51, be equipped with a plurality of spray pipe 510 on the spray ring pipe 51, still be equipped with a plurality of shower head 511 on the spray ring pipe 51, be close to right-hand member top position on 5 circumference outer walls of spray cylinder and inlay the drying cabinet 7 with inside intercommunication, drying cabinet 7 right-hand member face is equipped with the exhaust pipe 70 with inside intercommunication, install dry cotton 71 in the drying cabinet 7.
In this embodiment, 1 lower surface of fixing base is close to the corner and all is equipped with universal wheel 10, and universal wheel 10 passes through bolt and 1 fixed connection of fixing base, and the nimble removal of the whole device of being convenient for is installed to universal wheel 10.
Further, cartridge filter 2 passes through bolt and 1 fixed connection of fixing base, and 2 tops of cartridge filter are equipped with the cover, and exhaust section of thick bamboo 3 passes through bolt and 1 fixed connection of fixing base, and spray 5 passes through bolt and 1 fixed connection of fixing base, and 5 tops of spray can still are equipped with the cover, and the installation of cover is convenient for protect the use to inside, increases holistic stability.
Specifically, the connecting pipes 30 are fixedly welded to the exhaust air cylinder 3, the exhaust air cylinder 3 is communicated with the filter cartridge 2 through one of the connecting pipes 30, the exhaust air cylinder 3 is communicated with the spray cylinder 5 through the other connecting pipe 30, and the spray cylinder 5 and the filter cartridge 2 are connected with each other through the connecting pipes 30.
Further, still be equipped with filtering baffle 31 in one of them connecting pipe 30, filtering baffle 31's width and connecting pipe 30's width looks adaptation, filtering baffle 31 passes through bolt and connecting pipe 30 fixed connection, motor 4 passes through bolt and 3 fixed connection in the exhaust stack, the width and the 3 internal diameter looks adaptations in the exhaust stack of wind wheel leaf 40, motor 4's output shaft and wind wheel leaf 40 welded fastening, be convenient for continuously carry out convulsions purification under motor 4 and the cooperation of wind wheel leaf 40 and use, prevent that the air from not flowing, influence and purify the use.
It should be noted that, the slag discharging pipe 50 is fixed with the spraying cylinder 5 by welding, the valve 500 is fixedly connected with the slag discharging pipe 50 by bolts, the water storage tank 8 is fixed with the spraying cylinder 5 by welding, the width of the filter screen 80 is matched with the width of the inner wall of the water storage tank 8, the filter screen 80 is fixedly connected with the water storage tank 8 by bolts, the water pump 6 is fixedly connected with the water storage tank 8 by bolts, the water spraying pipes 510 are distributed at equal intervals, the water spraying pipes 510 and the spraying ring pipe 51 are of an integrated structure, the spraying heads 511 are fixed with the spraying ring pipe 51 by welding, the spraying ring pipe 51 is fixed with the water pump 6 by hose welding, the valve 500 is matched, which is convenient for the user to open manually, and is used for removing and cleaning the internal residue, the filter screen 80 is installed, and prevents the internal precipitate particles from being absorbed by the water pump 6, which affects the water spraying, the plurality of spraying heads 511 are matched, and help the inside to fully contact with the air, spraying for use.
Besides, the drying box 7 is welded and fixed with the spraying cylinder 5, the top of the drying box 7 is further provided with a box cover, the width of the dry cotton 71 is matched with the width inside the drying box 7, the exhaust pipe 70 and the drying box 7 are of an integrally formed structure, the box cover is additionally arranged to protect the inside of the drying box 7, the interference influence of the external environment is reduced, and the dry cotton 71 absorbs moisture in the gas to be discharged.
When the purification device with multiple purification approaches is used, a user manually installs the filter cartridge 2, the exhaust cylinder 3 and the spray cylinder 5 on the fixing plate 1, the frame plate 22 is installed in the slot 21, the cylinder cover is fixed with the filter cartridge 2 through bolts, the exhaust cylinder 3 sequentially connects the filter cartridge 2 and the spray cylinder 5 through the two connecting pipes 30, then the user connects the water pump 6 with an external power supply, the water pump 6 is connected with the spray ring pipe 51, the valve 500 is closed for corresponding spray adsorption use, then the motor 4 is connected with the external power supply, the output shaft rotates to drive the air vane 40 to rotate, gas to be purified and filtered is sucked from the air inlet pipe 20, is filtered by the filter cotton 220 and sprayed by the spray head 511, the purification and filtration are carried out for multiple times, preferably, the gas is discharged by the dry cotton 71, when the water in the spray cylinder 5 needs to be replaced, the valve 500 is manually opened for internal cleaning and replacement use, the user pushes the whole fixing base 1 manually according to the requirements of different positions, corresponding filtering and purifying are carried out, and finally, the gas is discharged from the exhaust pipe 70.
The foregoing shows and describes the general principles, essential features, and advantages of the invention. It should be understood by those skilled in the art that the present invention is not limited by the above embodiments, and the description in the above embodiments and the description is only preferred examples of the present invention, and is not intended to limit the present invention, and that the present invention can have various changes and modifications without departing from the spirit and scope of the present invention, and these changes and modifications all fall into the scope of the claimed invention. The scope of the invention is defined by the appended claims and equivalents thereof.

Claims (7)

1.一种具有多种净化途径的净化装置,包括固定座(1),其特征在于:所述固定座(1)上表面靠近左端处设有过滤筒(2),所述过滤筒(2)内部呈空心状,所述过滤筒(2)左端面靠近顶部位置嵌设有与内部连通的进风管(20),所述过滤筒(2)内壁上对称开设有插槽(21),所述插槽(21)中均设有框板(22),所述框板(22)中均安装有过滤棉(220),所述固定座(1)上表面中心位置安装有排风筒(3),所述排风筒(3)内部呈空心圆柱状,所述排风筒(3)外壁上对称设有连接管(30),所述排风筒(3)前端面上中间位置安装有电机(4),所述电机(4)的输出轴延伸至排风筒(3)内部,且输出轴同轴连接有风轮叶(40),所述固定座(1)上表面靠近右端处设有喷淋筒(5),所述喷淋筒(5)圆周外壁上靠近前端面底部位置嵌设有与内部连通的排渣管(50),所述排渣管(50)上安装有阀门(500),所述喷淋筒(5)圆周外壁上靠近后端底部位置处还安装有与内部连通的储水箱(8),所述储水箱(8)与喷淋筒(5)连接处还安装有过滤网(80),所述储水箱(8)上方安装有水泵(6),所述喷淋筒(5)内部靠近中间位置安装有喷淋环管(51),所述喷淋环管(51)上设有若干个喷水管(510),所述喷淋环管(51)上还设有若干个喷淋头(511),所述喷淋筒(5)圆周外壁上靠近右端顶部位置嵌设有与内部连通的干燥箱(7),所述干燥箱(7)右端面设有与内部连通的排风管(70),所述干燥箱(7)中安装有干燥棉(71)。1. A purifying device with multiple purification approaches, comprising a fixing seat (1), characterized in that: the upper surface of the fixing seat (1) is provided with a filter cartridge (2) near the left end, and the filter cartridge (2) ) is hollow inside, the left end surface of the filter cartridge (2) is embedded with an air inlet pipe (20) communicating with the inside near the top position, and a slot (21) is symmetrically opened on the inner wall of the filter cartridge (2), Each of the slots (21) is provided with a frame plate (22), a filter cotton (220) is installed in the frame plate (22), and an air exhaust duct is installed at the center of the upper surface of the fixed seat (1). (3), the inside of the exhaust duct (3) is in the shape of a hollow cylinder, the outer wall of the exhaust duct (3) is symmetrically provided with a connecting pipe (30), and the front end surface of the exhaust duct (3) is in the middle position A motor (4) is installed, the output shaft of the motor (4) extends to the inside of the exhaust duct (3), and the output shaft is coaxially connected with a fan vane (40), and the upper surface of the fixing seat (1) is close to the A spray cylinder (5) is provided at the right end, and a slag discharge pipe (50) communicated with the inside is embedded on the circumferential outer wall of the spray cylinder (5) near the bottom of the front end surface. A valve (500) is installed, and a water storage tank (8) communicating with the inside is also installed on the circumferential outer wall of the spray cylinder (5) near the bottom of the rear end, and the water storage tank (8) is connected to the spray cylinder (5). ) connection is also installed with a filter screen (80), a water pump (6) is installed above the water storage tank (8), and a spray ring pipe (51) is installed inside the spray cylinder (5) near the middle position, so The spray ring pipe (51) is provided with a plurality of water spray pipes (510), the spray ring pipe (51) is also provided with a plurality of spray heads (511), and the spray cylinder (5) A drying box (7) communicated with the inside is embedded on the outer circumferential wall near the top of the right end, and an exhaust pipe (70) communicated with the inside is provided on the right end surface of the drying box (7). Dry cotton (71) is installed. 2.根据权利要求1所述的具有多种净化途径的净化装置,其特征在于:所述固定座(1)下表面靠近拐角处均设有万向轮(10),所述万向轮(10)通过螺栓与固定座(1)固定连接。2. The purification device with multiple purification paths according to claim 1, characterized in that: the lower surface of the fixed seat (1) is provided with a universal wheel (10) near the corner, and the universal wheel ( 10) It is fixedly connected to the fixing seat (1) by means of bolts. 3.根据权利要求1所述的具有多种净化途径的净化装置,其特征在于:所述过滤筒(2)通过螺栓与固定座(1)固定连接,所述过滤筒(2)顶部设有筒盖,所述排风筒(3)通过螺栓与固定座(1)固定连接,所述喷淋筒(5)通过螺栓与固定座(1)固定连接,所述喷淋筒(5)顶部还设有筒盖。3. The purification device with multiple purification paths according to claim 1, characterized in that: the filter cartridge (2) is fixedly connected with the fixing seat (1) by means of bolts, and the top of the filter cartridge (2) is provided with The cylinder cover, the exhaust cylinder (3) is fixedly connected to the fixing seat (1) by bolts, the spray cylinder (5) is fixedly connected to the fixing base (1) by bolts, and the top of the spray cylinder (5) is fixedly connected There is also a barrel cover. 4.根据权利要求1所述的具有多种净化途径的净化装置,其特征在于:所述连接管(30)均与排风筒(3)熔接固定,所述排风筒(3)与过滤筒(2)通过其中一个连接管(30)连通,所述排风筒(3)与喷淋筒(5)通过其中另一个连接管(30)连通。4. The purification device with multiple purification paths according to claim 1, characterized in that: the connecting pipes (30) are welded and fixed with the exhaust duct (3), and the exhaust duct (3) is connected to the filter The cylinder (2) is communicated through one of the connecting pipes (30), and the exhaust cylinder (3) and the spraying cylinder (5) are communicated through the other of the connecting pipes (30). 5.根据权利要求1所述的具有多种净化途径的净化装置,其特征在于:其中一个所述连接管(30)中还设有过滤挡板(31),所述过滤挡板(31)的宽度与连接管(30)的宽度相适配,所述过滤挡板(31)通过螺栓与连接管(30)固定连接,所述电机(4)通过螺栓与排风筒(3)固定连接,所述风轮叶(40)的宽度与排风筒(3)内径相适配,所述电机(4)的输出轴与风轮叶(40)焊接固定。5. The purification device with multiple purification paths according to claim 1, characterized in that: one of the connecting pipes (30) is further provided with a filter baffle (31), and the filter baffle (31) The width of the filter is adapted to the width of the connecting pipe (30), the filter baffle (31) is fixedly connected to the connecting pipe (30) through bolts, and the motor (4) is fixedly connected to the exhaust duct (3) through bolts. The width of the wind rotor blade (40) is adapted to the inner diameter of the air exhaust duct (3), and the output shaft of the motor (4) is welded and fixed to the wind rotor blade (40). 6.根据权利要求1所述的具有多种净化途径的净化装置,其特征在于:所述排渣管(50)与喷淋筒(5)熔接固定,所述阀门(500)通过螺栓与排渣管(50)固定连接,所述储水箱(8)与喷淋筒(5)焊接固定,所述过滤网(80)的宽度与储水箱(8)内壁的宽度相适配,所述过滤网(80)通过螺栓与储水箱(8)固定连接,所述水泵(6)通过螺栓与储水箱(8)固定连接,所述喷水管(510)呈等间距分布,所述喷水管(510)与喷淋环管(51)为一体成型结构,所述喷淋头(511)与喷淋环管(51)熔接固定,所述喷淋头(511)呈等间距分布,所述喷淋环管(51)与水泵(6)通过软管熔接固定。6 . The purification device with multiple purification paths according to claim 1 , wherein the slag discharge pipe ( 50 ) is welded and fixed to the spray cylinder ( 5 ), and the valve ( 500 ) is connected to the discharge pipe by bolts. 7 . The slag pipe (50) is fixedly connected, the water storage tank (8) and the spray cylinder (5) are welded and fixed, and the width of the filter screen (80) is adapted to the width of the inner wall of the water storage tank (8). The net (80) is fixedly connected to the water storage tank (8) by means of bolts, the water pump (6) is fixedly connected to the water storage tank (8) by means of bolts, and the water spray pipes (510) are distributed at equal intervals. (510) and the spray ring pipe (51) are integrally formed into a structure, the spray head (511) and the spray ring pipe (51) are welded and fixed, and the spray heads (511) are distributed at equal intervals. The spray ring pipe (51) and the water pump (6) are welded and fixed by a hose. 7.根据权利要求1所述的具有多种净化途径的净化装置,其特征在于:所述干燥箱(7)与喷淋筒(5)焊接固定,所述干燥箱(7)顶部还设有箱盖,所述干燥棉(71)的宽度与干燥箱(7)内部的宽度相适配,所述排风管(70)与干燥箱(7)为一体成型结构。7. The purification device with multiple purification paths according to claim 1, characterized in that: the drying box (7) and the spray cylinder (5) are welded and fixed, and the top of the drying box (7) is also provided with A box cover, the width of the drying cotton (71) is adapted to the width inside the drying box (7), and the exhaust pipe (70) and the drying box (7) are integrally formed.
CN202120592839.4U 2021-03-24 2021-03-24 Purification device with multiple purification ways Expired - Fee Related CN214486269U (en)

Priority Applications (1)

Application Number Priority Date Filing Date Title
CN202120592839.4U CN214486269U (en) 2021-03-24 2021-03-24 Purification device with multiple purification ways

Applications Claiming Priority (1)

Application Number Priority Date Filing Date Title
CN202120592839.4U CN214486269U (en) 2021-03-24 2021-03-24 Purification device with multiple purification ways

Publications (1)

Publication Number Publication Date
CN214486269U true CN214486269U (en) 2021-10-26

Family

ID=78199872

Family Applications (1)

Application Number Title Priority Date Filing Date
CN202120592839.4U Expired - Fee Related CN214486269U (en) 2021-03-24 2021-03-24 Purification device with multiple purification ways

Country Status (1)

Country Link
CN (1) CN214486269U (en)

Cited By (1)

* Cited by examiner, † Cited by third party
Publication number Priority date Publication date Assignee Title
CN115779604A (en) * 2022-11-18 2023-03-14 贵州航天天马机电科技有限公司 A circulation spraying device for dust removal of gantry milling machine

Cited By (1)

* Cited by examiner, † Cited by third party
Publication number Priority date Publication date Assignee Title
CN115779604A (en) * 2022-11-18 2023-03-14 贵州航天天马机电科技有限公司 A circulation spraying device for dust removal of gantry milling machine

Similar Documents

Publication Publication Date Title
CN211864361U (en) Spraying equipment for waste gas treatment
CN210699353U (en) Dust-free workshop air purification device
CN104776510A (en) Filter screen self-cleaning type air impurity removal device
CN208275173U (en) A kind of environment-friendly type industrial waste-gas purifier
CN114028907A (en) An energy-saving zeolite runner and RTO organic waste gas treatment system
CN214486269U (en) Purification device with multiple purification ways
CN202235158U (en) Dust collector capable of preventing secondary pollution
CN211585847U (en) Flue gas dust removal device
CN108775657A (en) A kind of artificial stone factory ventilated purification apparatus
CN109011874A (en) A kind of flue-gas purification treatment device of environmental protection
CN212585104U (en) An air purification device with good dust removal effect
CN211411488U (en) Organic waste gas treatment device
CN215983067U (en) Gas purification filtration equipment for air purification
CN112717626B (en) High-efficient active carbon adsorption case
CN211261103U (en) Air purification wall convenient to change degerming lamp
CN212467582U (en) Laboratory exhaust treatment device
CN211625530U (en) New forms of energy air purification equipment
CN219784259U (en) Stable exhaust gas treatment ware
CN109966837B (en) An energy-saving and environmentally friendly air purification device
CN208817612U (en) A kind of artificial stone factory ventilated purification apparatus
CN106895514A (en) A kind of air purifier
CN212790444U (en) Environment-friendly spray drying tower exhaust treatment device
CN213192954U (en) A feeding exhaust purification mechanism for production of silicone oil
CN223716772U (en) Exhaust gas treatment device with impurity removal structure
CN207076253U (en) Baking vanish waste gas purification all-in-one

Legal Events

Date Code Title Description
GR01 Patent grant
GR01 Patent grant
CF01 Termination of patent right due to non-payment of annual fee

Granted publication date: 20211026

CF01 Termination of patent right due to non-payment of annual fee