CN214262974U - Copper pole belt cleaning device - Google Patents
Copper pole belt cleaning device Download PDFInfo
- Publication number
- CN214262974U CN214262974U CN202120117914.1U CN202120117914U CN214262974U CN 214262974 U CN214262974 U CN 214262974U CN 202120117914 U CN202120117914 U CN 202120117914U CN 214262974 U CN214262974 U CN 214262974U
- Authority
- CN
- China
- Prior art keywords
- clamping device
- fixed
- copper rod
- conveyor belt
- bracket
- Prior art date
- Legal status (The legal status is an assumption and is not a legal conclusion. Google has not performed a legal analysis and makes no representation as to the accuracy of the status listed.)
- Active
Links
- RYGMFSIKBFXOCR-UHFFFAOYSA-N Copper Chemical compound [Cu] RYGMFSIKBFXOCR-UHFFFAOYSA-N 0.000 title claims abstract description 49
- 229910052802 copper Inorganic materials 0.000 title claims abstract description 49
- 239000010949 copper Substances 0.000 title claims abstract description 49
- 238000004140 cleaning Methods 0.000 title claims abstract description 25
- 210000000078 claw Anatomy 0.000 claims abstract description 52
- 239000007788 liquid Substances 0.000 claims abstract description 34
- 238000003860 storage Methods 0.000 claims abstract description 9
- 239000007921 spray Substances 0.000 abstract description 7
- 238000011086 high cleaning Methods 0.000 abstract 1
- 230000000694 effects Effects 0.000 description 5
- 239000002699 waste material Substances 0.000 description 4
- 238000005406 washing Methods 0.000 description 3
- 230000008901 benefit Effects 0.000 description 2
- 238000012986 modification Methods 0.000 description 2
- 230000004048 modification Effects 0.000 description 2
- 238000005096 rolling process Methods 0.000 description 2
- 229910000831 Steel Inorganic materials 0.000 description 1
- 230000009286 beneficial effect Effects 0.000 description 1
- 230000006835 compression Effects 0.000 description 1
- 238000007906 compression Methods 0.000 description 1
- 230000005489 elastic deformation Effects 0.000 description 1
- 238000001914 filtration Methods 0.000 description 1
- 239000008187 granular material Substances 0.000 description 1
- 239000012535 impurity Substances 0.000 description 1
- 238000004519 manufacturing process Methods 0.000 description 1
- 239000000463 material Substances 0.000 description 1
- 238000000034 method Methods 0.000 description 1
- 239000010959 steel Substances 0.000 description 1
Images
Landscapes
- Cleaning By Liquid Or Steam (AREA)
Abstract
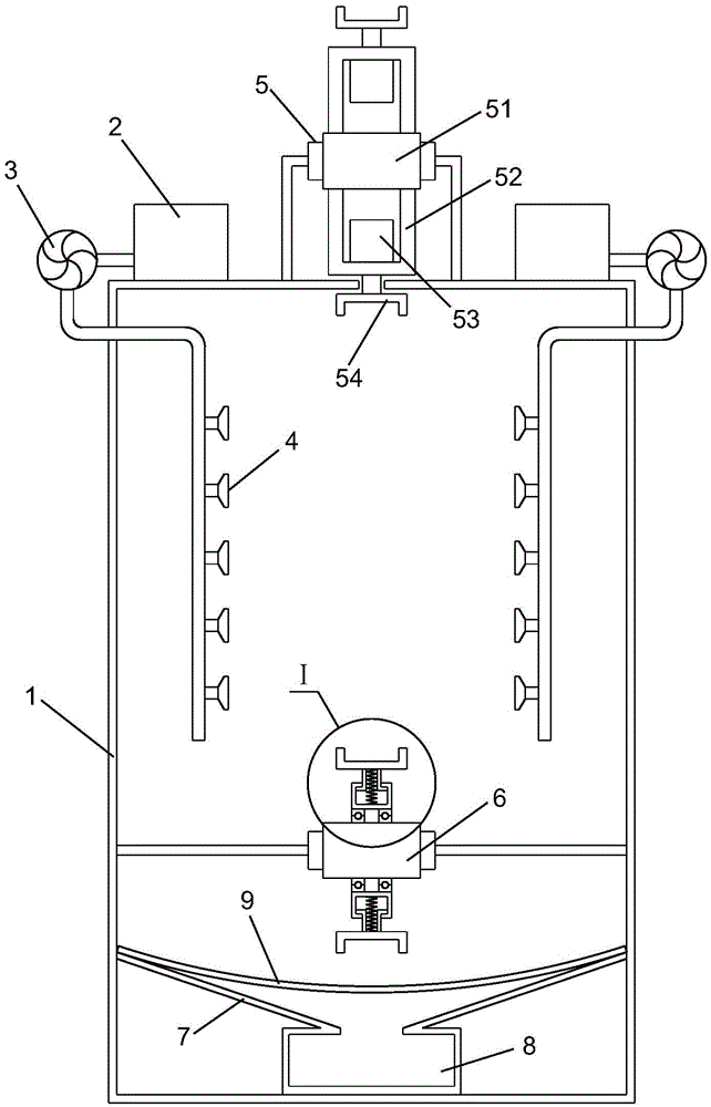
本实用新型提供了一种铜杆清洗装置,包括外壳,外壳顶部两侧均设有储液箱,两储液箱内装有清洗液并分别通过管路连接液泵的进口,液泵的出口通过管路连接若干设于外壳内的喷头;外壳外顶部设有上夹持装置、内底部设有下夹持装置,上夹持装置包括上传送带、支架、电机、上限位爪,支架固定在上传送带外表面,电机固定在支架内侧,上限位爪设于支架外侧并与电机输出轴相连;下夹持装置包括下传送带、轴承、下限位爪,轴承一侧固定在下传送带外表面,下限位爪固定在轴承另一侧。本实用新型利用上夹持装置和下夹持装置将铜杆固定并送入外壳内,铜杆在受喷头喷淋的同时转动,使铜杆表面得到充分清洗,铜杆安装方便、表面无磨损、清洗效率高。
The utility model provides a copper rod cleaning device, which comprises a casing. Liquid storage tanks are provided on both sides of the top of the casing. The two liquid storage tanks are equipped with cleaning liquid and are respectively connected to the inlet of a liquid pump through a pipeline, and the outlet of the liquid pump passes through The pipeline is connected to several nozzles arranged in the shell; the outer top of the shell is provided with an upper clamping device, and the inner bottom is provided with a lower clamping device. The upper clamping device includes an upper conveyor belt, a bracket, a motor, and an upper limit claw, and the bracket is fixed on the upper On the outer surface of the conveyor belt, the motor is fixed on the inner side of the bracket, and the upper limit claw is arranged on the outer side of the bracket and connected with the output shaft of the motor; the lower clamping device includes the lower conveyor belt, the bearing, and the lower limit claw. One side of the bearing is fixed on the outer surface of the lower conveyor belt, and the lower limit claw fixed on the other side of the bearing. The utility model uses the upper clamping device and the lower clamping device to fix the copper rod and send it into the casing, the copper rod rotates while being sprayed by the spray head, so that the surface of the copper rod can be fully cleaned, the copper rod is easy to install, and the surface has no wear , High cleaning efficiency.
Description
| 1. a housing; | 2. a liquid storage tank; |
| 3. a liquid pump; | 4. a spray head; |
| 5. an upper clamping device; | 51. uploading a conveyor belt; |
| 52. a support; | 53. a motor; |
| 54. an upper limiting claw; | 6. a lower clamping device; |
| 61. a lower conveyor belt; | 62. a bearing; |
| 63. fixing the sleeve; | 64. a movable sleeve; |
| 65. a spring; | 66. a lower limiting claw; |
| 7. a baffle; | 8. a liquid collection tank; |
| 9. filtering with a screen; | 10. a copper rod. |
Claims (6)
Priority Applications (1)
| Application Number | Priority Date | Filing Date | Title |
|---|---|---|---|
| CN202120117914.1U CN214262974U (en) | 2021-01-16 | 2021-01-16 | Copper pole belt cleaning device |
Applications Claiming Priority (1)
| Application Number | Priority Date | Filing Date | Title |
|---|---|---|---|
| CN202120117914.1U CN214262974U (en) | 2021-01-16 | 2021-01-16 | Copper pole belt cleaning device |
Publications (1)
| Publication Number | Publication Date |
|---|---|
| CN214262974U true CN214262974U (en) | 2021-09-24 |
Family
ID=77763436
Family Applications (1)
| Application Number | Title | Priority Date | Filing Date |
|---|---|---|---|
| CN202120117914.1U Active CN214262974U (en) | 2021-01-16 | 2021-01-16 | Copper pole belt cleaning device |
Country Status (1)
| Country | Link |
|---|---|
| CN (1) | CN214262974U (en) |
-
2021
- 2021-01-16 CN CN202120117914.1U patent/CN214262974U/en active Active
Similar Documents
| Publication | Publication Date | Title |
|---|---|---|
| CN209663894U (en) | A kind of Aero-engine Bearing cleaning device | |
| CN214262974U (en) | Copper pole belt cleaning device | |
| CN112275706A (en) | Cleaning equipment is used in precision bearing production | |
| CN112082231A (en) | A multifunctional air purifier | |
| CN113623176B (en) | An air compressor unit self-cleaning mechanism | |
| CN212864153U (en) | Rinsing device for active carbon | |
| CN210964484U (en) | Environment-friendly dust removal and filtration device | |
| CN112495964A (en) | High-efficient belt cleaning device of water cold-storage equipment for building energy | |
| CN208894708U (en) | A kind of guide wheel cleaning device adjusted with flow | |
| CN219384894U (en) | MBR membrane sewage purification device | |
| CN108619806B (en) | A pulse bag filter | |
| CN115121638B (en) | Steel wire rope wire drawing processing device | |
| CN215276431U (en) | A dust removal device for a mixing station | |
| CN217490133U (en) | Boiler flue gas dust removal device with long service life | |
| CN215965202U (en) | Optical glass ultrasonic cleaning equipment | |
| CN214019705U (en) | Dust removal device for treating dust and waste gas | |
| CN212757853U (en) | Pulse type bag dust collector | |
| CN211411475U (en) | Novel spray tower dust remover | |
| CN108160567A (en) | A kind of cam driving type energy-saving double-shaft machine shaft cleaning device | |
| CN107008714A (en) | A kind of cleaning device for chemical industry equipment | |
| CN220759566U (en) | Vertical wet-type electric demister | |
| CN214250725U (en) | Heat exchanger convenient to clean | |
| CN220090901U (en) | Dewatering device for dust remover | |
| CN210238146U (en) | Impurity removing device for corrugated medium forming net | |
| CN218812104U (en) | Alkali liquor cleaning device for aluminum coil processing |
Legal Events
| Date | Code | Title | Description |
|---|---|---|---|
| GR01 | Patent grant | ||
| GR01 | Patent grant | ||
| TR01 | Transfer of patent right |
Effective date of registration: 20230518 Address after: 335000 Guixi Hongshi Metal Co., Ltd. in the intensive processing zone of Guixi copper industry circular economy base, Yingtan City, Jiangxi Province Patentee after: Guixi Shipeng Metal Co.,Ltd. Address before: 335000 Jiangxi Yingtan (Guixi) copper industry circular economy base Guixi Hongshi Metal Co.,Ltd. Patentee before: GUIXI HONGSHI METAL Co.,Ltd. |
|
| TR01 | Transfer of patent right | ||
| TR01 | Transfer of patent right |
Effective date of registration: 20240805 Address after: 335000, located north of the east-west main road and west of No. 5 Road in the Copper Industry Circular Base Deep Processing Zone of Guixi Economic Development Zone, Yingtan City, Jiangxi Province Patentee after: GUIXI HONGSHI METAL Co.,Ltd. Country or region after: China Address before: 335000 Guixi Hongshi Metal Co., Ltd. in the intensive processing zone of Guixi copper industry circular economy base, Yingtan City, Jiangxi Province Patentee before: Guixi Shipeng Metal Co.,Ltd. Country or region before: China |
|
| TR01 | Transfer of patent right | ||
| EE01 | Entry into force of recordation of patent licensing contract |
Assignee: Guixi Shipeng Metal Co.,Ltd. Assignor: GUIXI HONGSHI METAL Co.,Ltd. Contract record no.: X2024980018248 Denomination of utility model: A copper rod cleaning device Granted publication date: 20210924 License type: Common License Record date: 20241012 |
|
| EE01 | Entry into force of recordation of patent licensing contract | ||
| EC01 | Cancellation of recordation of patent licensing contract |
Assignee: Guixi Shipeng Metal Co.,Ltd. Assignor: GUIXI HONGSHI METAL Co.,Ltd. Contract record no.: X2024980018248 Date of cancellation: 20250307 |
|
| EC01 | Cancellation of recordation of patent licensing contract | ||
| TR01 | Transfer of patent right |
Effective date of registration: 20250317 Address after: 335000 Guixi Hongshi Metal Co., Ltd. in the intensive processing zone of Guixi copper industry circular economy base, Yingtan City, Jiangxi Province Patentee after: Guixi Shipeng Metal Co.,Ltd. Country or region after: China Address before: 335000, located north of the east-west main road and west of No. 5 Road in the Copper Industry Circular Base Deep Processing Zone of Guixi Economic Development Zone, Yingtan City, Jiangxi Province Patentee before: GUIXI HONGSHI METAL Co.,Ltd. Country or region before: China |
|
| TR01 | Transfer of patent right |
