CN214202691U - Obstetrical and gynecological nursing teaching delivery assisting device - Google Patents

Obstetrical and gynecological nursing teaching delivery assisting device Download PDF

Info

Publication number
CN214202691U
CN214202691U CN202120237197.6U CN202120237197U CN214202691U CN 214202691 U CN214202691 U CN 214202691U CN 202120237197 U CN202120237197 U CN 202120237197U CN 214202691 U CN214202691 U CN 214202691U
Authority
CN
China
Prior art keywords
fixedly connected
teaching
teaching box
box
sides
Prior art date
Legal status (The legal status is an assumption and is not a legal conclusion. Google has not performed a legal analysis and makes no representation as to the accuracy of the status listed.)
Expired - Fee Related
Application number
CN202120237197.6U
Other languages
Chinese (zh)
Inventor
万俊芳
Current Assignee (The listed assignees may be inaccurate. Google has not performed a legal analysis and makes no representation or warranty as to the accuracy of the list.)
Individual
Original Assignee
Individual
Priority date (The priority date is an assumption and is not a legal conclusion. Google has not performed a legal analysis and makes no representation as to the accuracy of the date listed.)
Filing date
Publication date
Application filed by Individual filed Critical Individual
Priority to CN202120237197.6U priority Critical patent/CN214202691U/en
Application granted granted Critical
Publication of CN214202691U publication Critical patent/CN214202691U/en
Expired - Fee Related legal-status Critical Current
Anticipated expiration legal-status Critical

Links

Images

Landscapes

  • Accommodation For Nursing Or Treatment Tables (AREA)

Abstract

本实用新型公开了一种妇产科护理教学助产装置,包括教学箱,所述教学箱的内部呈中空设置,且教学箱一侧内壁固定连接有固定板,所述固定板的上表面固定连接有双轴电机,且双轴电机的两个驱动端外表面均固定套接有齿轮,所述教学箱的内底壁两侧均固定连接有限位杆,且两个限位杆的外表面均套接有齿条套筒,两个所述齿条套筒之间设置有收纳屉且上表面共同固定连接有展示台,所述收纳屉的下表面两侧均固定连接有滑块。本实用新型中,能够将模型与用具统一存储防尘,同时能够自动升降便于取用,操作便捷且占用空间较小,同时能够根据需求调节摄像头的位置与角度转播操作,使用更加灵活且讲演效果较好。

Figure 202120237197

The utility model discloses an obstetrics and gynecology nursing teaching and midwifery device, comprising a teaching box. The interior of the teaching box is hollow, and a fixing plate is fixedly connected to the inner wall of one side of the teaching box, and the upper surface of the fixing plate is fixed A biaxial motor is connected, and the outer surfaces of the two driving ends of the biaxial motor are fixedly sleeved with gears, the inner bottom wall of the teaching box is fixedly connected with limit rods on both sides, and the outer surfaces of the two limit rods are A rack sleeve is sleeved, a storage drawer is arranged between the two rack sleeves, a display stand is fixedly connected to the upper surface, and a slider is fixedly connected to both sides of the lower surface of the storage drawer. In the utility model, the model and utensils can be uniformly stored and dustproof, and at the same time, they can be automatically raised and lowered for easy access, the operation is convenient and the space is small, and at the same time, the position and angle of the camera can be adjusted according to the requirements. better.

Figure 202120237197

Description

Obstetrical and gynecological nursing teaching delivery assisting device
Technical Field
The utility model relates to a nursing teaching technical field especially relates to a gynaecology and obstetrics's nursing teaching practise midwifery device.
Background
The nursing is scientific, especially in the midwifery process, the basic condition of the body weight of a patient is known through observation by orderly, purposefully and planned completion or conventional nursing, the disease state data is monitored or acquired according to the change of the disease state so as to complete the treatment of the patient in cooperation with a doctor, and a special presentation device is needed for assisting the teaching during the explanation;
current practise midwifery nursing teaching device explains through nursing apparatus and manikin usually, but apparatus and model quantity are more, need unify to take during the use, need unify when not using to retrieve, place and fall to the dust easily outward and influence follow-up use, take repeatedly and accomodate comparatively loaded down with trivial details consuming time longer again, some careful operations when nursing simultaneously need closely watch, nevertheless the student is not convenient for when more closely study simultaneously, consequently leads to explaining the poor strong mankind of effect.
SUMMERY OF THE UTILITY MODEL
The utility model aims at solving the defects existing in the prior art and providing a obstetrical and gynecological nursing teaching midwifery device.
In order to achieve the above purpose, the utility model adopts the following technical scheme: a obstetrical and gynecological nursing and teaching midwifery device comprises a teaching box, wherein the interior of the teaching box is hollow, a fixed plate is fixedly connected to the inner wall of one side of the teaching box, a double-shaft motor is fixedly connected to the upper surface of the fixed plate, gears are fixedly sleeved on the outer surfaces of two driving ends of the double-shaft motor, limiting rods are fixedly connected to two sides of the inner bottom wall of the teaching box, rack sleeves are sleeved on the outer surfaces of the two limiting rods, a storage drawer is arranged between the two rack sleeves, a display platform is fixedly connected to the upper surface of the storage drawer, sliding blocks are fixedly connected to two sides of the lower surface of the storage drawer, the storage drawer is connected with the inner bottom wall of the teaching box in a sliding mode through the sliding blocks, a coaming is fixedly connected to the top ends of four outer side walls of the teaching box, a fixed rod is fixedly connected to the upper surface of one side of the coaming, and a writing board and a display screen are rotatably connected to two sides of the fixed rod respectively, the utility model discloses a camera, including bounding wall, fixed connection pole, movable plate, bar mouth, fixed connection pole, fixed connection connecting rod, adjusting rod and camera, the inside regulation chamber and the upper surface of being provided with of bounding wall opposite side have seted up the bar mouth, fixedly connected with adjusts the pole between two inside walls in chamber, and adjust the pole surface and slide and cup jointed the movable plate, the top of movable plate is run through the bar mouth and is upwards extended to outside and fixedly connected with mount, fixedly connected with connecting rod between mount and the movable plate, and the surface of connecting rod has cup jointed the adjusting collar, the lower fixed surface of adjusting collar is connected with the camera.
As a further description of the above technical solution:
the equal fixedly connected with pulley in bottom both sides of teaching case, and one side of two pulleys all is provided with the brake block.
As a further description of the above technical solution:
the top of teaching box is the opening setting, and the upper surface of teaching box is provided with the shield.
As a further description of the above technical solution:
the two rack sleeves are respectively connected with the two gears in a meshed mode.
As a further description of the above technical solution:
the equal fixedly connected with connecting block in both sides of show stand, and the show stand passes through connecting block and two inside wall sliding connection of teaching box.
As a further description of the above technical solution:
the receiving opening is opened to one side outer wall of teaching box, the one end of accomodating the steamer tray runs through the receiving opening and extends to the outside.
The utility model discloses following beneficial effect has:
1. this gynaecology and obstetrics's nursing teaching practise midwifery device, through the teaching box, pulley, show stand, biax motor, gear, rack sleeve, gag lever post and the shield that sets up, can unify the storage to the teaching incasement portion with model and apparatus, the teaching box can automatic rising when being convenient for remove, the show of the model of being convenient for and taking of apparatus need not to consume the longer time and prepare and accomodate, can carry out the lecture and save dustproof, it is comparatively convenient to operate, occupation space is less.
2. This gynaecology and obstetrics's nursing teaching practises midwifery device through the regulation chamber that sets up, regulation pole, movable plate, mount, connecting rod, adjusting collar, camera, dead lever, clipboard and display screen, can adjust the position and the angle of camera according to the teaching demand, rebroadcasts through the display screen, and the clipboard carries out the blackboard writing explanation, need not to be close to the teaching case and can clearly watch specific nursing operation through the display screen, and whole lecturing effect is better, uses more in a flexible way.
Drawings
Fig. 1 is a schematic view of the overall structure of the present invention;
FIG. 2 is a front view of the present invention;
fig. 3 is a partial cross-sectional view of a panel of the present invention.
Illustration of the drawings:
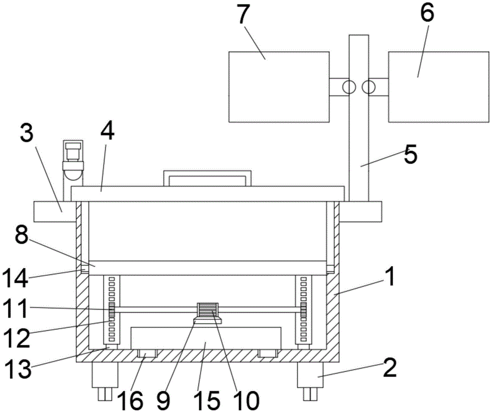
1. a teaching box; 2. a pulley; 3. enclosing plates; 4. a dust cover; 5. fixing the rod; 6. a writing board; 7. a display screen; 8. a display stand; 9. a fixing plate; 10. a double-shaft motor; 11. a gear; 12. a rack sleeve; 13. a limiting rod; 14. connecting blocks; 15. a drawer is accommodated; 16. a slider; 17. a receiving opening; 18. an adjustment chamber; 19. adjusting a rod; 20. moving the plate; 21. a fixed mount; 22. a connecting rod; 23. an adjusting sleeve; 24. a camera; 25. strip-shaped opening
Detailed Description
The technical solutions in the embodiments of the present invention will be described clearly and completely with reference to the accompanying drawings in the embodiments of the present invention, and it is obvious that the described embodiments are only some embodiments of the present invention, not all embodiments. Based on the embodiments in the present invention, all other embodiments obtained by a person skilled in the art without creative work belong to the protection scope of the present invention.
In the description of the present invention, it should be noted that the terms "center", "upper", "lower", "left", "right", "vertical", "horizontal", "inner", "outer", and the like indicate orientations or positional relationships based on the orientations or positional relationships shown in the drawings, and are only for convenience of description and simplification of description, but do not indicate or imply that the device or element referred to must have a specific orientation, be constructed and operated in a specific orientation, and thus, should not be construed as limiting the present invention; the terms "first," "second," and "third" are used for descriptive purposes only and are not to be construed as indicating or implying relative importance, and furthermore, unless otherwise explicitly stated or limited, the terms "mounted," "connected," and "connected" are to be construed broadly and may be, for example, fixedly connected, detachably connected, or integrally connected; can be mechanically or electrically connected; they may be connected directly or indirectly through intervening media, or they may be interconnected between two elements. The specific meaning of the above terms in the present invention can be understood in specific cases to those skilled in the art.
Referring to fig. 1-3, the present invention provides an embodiment: a obstetrical and gynecological nursing and teaching midwifery device comprises a teaching box 1, wherein the teaching box 1 is hollow, a fixed plate 9 is fixedly connected to the inner wall of one side of the teaching box 1, a double-shaft motor 10 is fixedly connected to the upper surface of the fixed plate 9, gears 11 are fixedly sleeved on the outer surfaces of two driving ends of the double-shaft motor 10, limiting rods 13 are fixedly connected to two sides of the inner bottom wall of the teaching box 1, rack sleeves 12 are sleeved on the outer surfaces of the two limiting rods 13, a storage drawer 15 is arranged between the two rack sleeves 12, the upper surface of the storage drawer is fixedly connected with a display stand 8, sliders 16 are fixedly connected to two sides of the lower surface of the storage drawer 15, the storage drawer 15 is slidably connected with the inner bottom wall of the teaching box 1 through the sliders 16, a coaming 3 is fixedly connected to the top ends of four outer side walls of the teaching box 1, a fixing rod 5 is fixedly connected to the upper surface of one side of the coaming 3, and writing boards 6 and a display screen 7 are rotatably connected to two sides of the fixing rod 5 respectively, the inside regulation chamber 18 and the upper surface of being provided with of bounding wall 3 opposite side has seted up bar mouth 25, and fixedly connected with adjusts pole 19 between two inside walls in regulation chamber 18, and adjust the slip of 19 surface and have cup jointed movable plate 20, and the top of movable plate 20 runs through bar mouth 25 and upwards extends to outside and fixedly connected with mount 21, fixedly connected with connecting rod 22 between mount 21 and the movable plate 20, and the surface of connecting rod 22 has cup jointed adjusting collar 23, and the lower fixed surface of adjusting collar 23 is connected with camera 24.
Pulleys 2 are fixedly connected to two sides of the bottom of the teaching box 1, and brake pads are arranged on one sides of the two pulleys 2, so that the whole teaching box 1 is convenient to move, and can be kept stable in the explanation process;
the top of the teaching box 1 is provided with an opening, and the upper surface of the teaching box 1 is provided with a dustproof cover 4, so that the model and the tools can be prevented from dust in the process of accommodating;
the two rack sleeves 12 are respectively meshed with the two gears 11, the rack sleeves 12 are driven to ascend through the rotation and meshing of the gears 11, the height of the display stand 8 is automatically adjusted, and the operation is convenient;
the two sides of the display stand 8 are fixedly connected with connecting blocks 14, and the display stand 8 is connected with the two inner side walls of the teaching box 1 in a sliding manner through the connecting blocks 14, so that the display stand 8 can be kept stable and can be lifted directionally;
storage port 17 has been seted up to one side outer wall of teaching box 1, and the one end of accomodating steamer tray 15 runs through storage port 17 and extends to the outside, and steamer tray 15 is accomodate in the pulling, can take out the nursing apparatus of inside and explain, and it is comparatively convenient to use.
The working principle is as follows: when using gynaecology and obstetrics's nursing teaching practise midwifery device, promote teaching box 1 to target position, take off shield 4, start biaxial motor 10, it rises to suitable height to drive two rack sleeves 12 through two gear 11 rotation meshing, show stand 8 and model, take in steamer tray 15 and follow the inside pull-out of storage port 17, take out the nursing apparatus and explain, when needing to carry out concrete real exercise explanation, pulling movable plate 20 to operating position and rotate adjusting sleeve 23 to suitable angle, shoot and relay through display screen 7 through camera 24, need not to gather up nearly and can watch the teacher's operation, the teacher explains through 6 blackboard-writing of clipboard, make the reversal of biaxial motor 10 after the end, it is dustproof to withdraw to teaching box 1 inside and put back shield 4 to the show stand 8.
Finally, it should be noted that: although the present invention has been described in detail with reference to the foregoing embodiments, it will be apparent to those skilled in the art that modifications and variations can be made in the embodiments or in part of the technical features of the embodiments without departing from the spirit and the scope of the invention.

Claims (6)

1. The utility model provides a gynaecology and obstetrics's nursing teaching practise midwifery device, includes teaching box (1), its characterized in that: the teaching box is characterized in that the teaching box (1) is arranged in a hollow mode, a fixing plate (9) is fixedly connected to the inner wall of one side of the teaching box (1), a double-shaft motor (10) is fixedly connected to the upper surface of the fixing plate (9), gears (11) are fixedly sleeved on the outer surfaces of two driving ends of the double-shaft motor (10), limiting rods (13) are fixedly connected to two sides of the inner bottom wall of the teaching box (1), rack sleeves (12) are sleeved on the outer surfaces of the two limiting rods (13), a storage drawer (15) is arranged between the two rack sleeves (12), a display platform (8) is fixedly connected to the upper surface of the storage drawer together, sliders (16) are fixedly connected to two sides of the lower surface of the storage drawer (15), the storage drawer (15) is connected with the inner bottom wall of the teaching box (1) in a sliding mode through the sliders (16), and enclosing plates (3) are fixedly connected to the top ends of four outer side walls of the teaching box (1) together, fixed surface is connected with dead lever (5) on bounding wall (3) one side, and the both sides of dead lever (5) rotate respectively and be connected with clipboard (6) and display screen (7), bounding wall (3) opposite side is inside to be provided with adjusts chamber (18) and upper surface and has seted up bar mouth (25), fixedly connected with adjusts pole (19) between the two inside walls in chamber (18), and adjusts pole (19) surface slip and has cup jointed movable plate (20), the top of movable plate (20) is run through bar mouth (25) and upwards extends to outside and fixedly connected with mount (21), fixedly connected with connecting rod (22) between mount (21) and movable plate (20), and the surface of connecting rod (22) has cup jointed adjusting collar (23), the lower fixed surface of adjusting collar (23) is connected with camera (24).
2. The obstetric and gynecologic nursing teaching and delivery aid device of claim 1, wherein: the equal fixedly connected with pulley (2) in bottom both sides of teaching case (1), and one side of two pulley (2) all is provided with the brake block.
3. The obstetric and gynecologic nursing teaching and delivery aid device of claim 1, wherein: the top of teaching box (1) is the opening setting, and the upper surface of teaching box (1) is provided with shield (4).
4. The obstetric and gynecologic nursing teaching and delivery aid device of claim 1, wherein: the two rack sleeves (12) are respectively meshed with the two gears (11).
5. The obstetric and gynecologic nursing teaching and delivery aid device of claim 1, wherein: the both sides of show stand (8) are equal fixedly connected with connecting block (14), and show stand (8) pass through connecting block (14) and two inside wall sliding connection of teaching box (1).
6. The obstetric and gynecologic nursing teaching and delivery aid device of claim 1, wherein: a containing opening (17) is formed in the outer wall of one side of the teaching box (1), and one end of the containing drawer (15) penetrates through the containing opening (17) and extends to the outside.
CN202120237197.6U 2021-01-27 2021-01-27 Obstetrical and gynecological nursing teaching delivery assisting device Expired - Fee Related CN214202691U (en)

Priority Applications (1)

Application Number Priority Date Filing Date Title
CN202120237197.6U CN214202691U (en) 2021-01-27 2021-01-27 Obstetrical and gynecological nursing teaching delivery assisting device

Applications Claiming Priority (1)

Application Number Priority Date Filing Date Title
CN202120237197.6U CN214202691U (en) 2021-01-27 2021-01-27 Obstetrical and gynecological nursing teaching delivery assisting device

Publications (1)

Publication Number Publication Date
CN214202691U true CN214202691U (en) 2021-09-14

Family

ID=77637867

Family Applications (1)

Application Number Title Priority Date Filing Date
CN202120237197.6U Expired - Fee Related CN214202691U (en) 2021-01-27 2021-01-27 Obstetrical and gynecological nursing teaching delivery assisting device

Country Status (1)

Country Link
CN (1) CN214202691U (en)

Cited By (2)

* Cited by examiner, † Cited by third party
Publication number Priority date Publication date Assignee Title
CN114203000A (en) * 2021-12-10 2022-03-18 中国人民解放军空军军医大学 Teaching device of 4-dimensional contrast-enhanced hysterosalping tube based on 3D printing technology
CN115771670A (en) * 2022-11-25 2023-03-10 江苏航空职业技术学院 Portable teaching data acquisition robot and acquisition system thereof

Cited By (2)

* Cited by examiner, † Cited by third party
Publication number Priority date Publication date Assignee Title
CN114203000A (en) * 2021-12-10 2022-03-18 中国人民解放军空军军医大学 Teaching device of 4-dimensional contrast-enhanced hysterosalping tube based on 3D printing technology
CN115771670A (en) * 2022-11-25 2023-03-10 江苏航空职业技术学院 Portable teaching data acquisition robot and acquisition system thereof

Similar Documents

Publication Publication Date Title
CN214202691U (en) Obstetrical and gynecological nursing teaching delivery assisting device
CN213757123U (en) A Mechatronics Teaching Platform
CN112155312A (en) Electromechanical integrated teaching platform
CN213720547U (en) Specimen display device for biological teaching
CN211672927U (en) Over-and-under type english education teaching platform of speaking
CN108535500A (en) A kind of oocyte pickup while in operation liquor folliculi transfer device
CN113012548A (en) Animal sample display device for livestock teaching
CN208889061U (en) A kind of movable type teaching of Chinese utensil storage displaying device
CN209680154U (en) Wisdom experimental bench with adjustable camera
CN208766885U (en) Mathematics differential teaching aid of height is convenient for remove
CN216221675U (en) Be used for first aid out-patient to use multi-functional medical care case
CN217392458U (en) Cabinet is placed to reagent pipe for bioengineering
CN111038653B (en) An image information display device for an ocean-going fishing vessel
CN213128532U (en) Teaching aid
CN209985450U (en) Intelligent experiment table with adjustable display
CN221915158U (en) Portable teaching aid storage device
CN219921219U (en) Telescopic instrument rack
CN215743570U (en) Liftable laboratory table
CN220221931U (en) Insulation can convenient to observe
CN218008737U (en) Information consultation platform
CN215778662U (en) Degassing unit for hepatobiliary internal medicine medical instrument
CN220514232U (en) Experiment table adjusting structure
CN211213521U (en) Examination auxiliary device for obstetrics and gynecology department
CN217830102U (en) Automatic shake even interim strorage device of test tube of drawing blood
CN217338065U (en) Oral cavity medical science teaching display device

Legal Events

Date Code Title Description
GR01 Patent grant
GR01 Patent grant
CF01 Termination of patent right due to non-payment of annual fee

Granted publication date: 20210914

CF01 Termination of patent right due to non-payment of annual fee