CN214154588U - A portable magnetic stand - Google Patents

A portable magnetic stand Download PDF

Info

Publication number
CN214154588U
CN214154588U CN202120312979.1U CN202120312979U CN214154588U CN 214154588 U CN214154588 U CN 214154588U CN 202120312979 U CN202120312979 U CN 202120312979U CN 214154588 U CN214154588 U CN 214154588U
Authority
CN
China
Prior art keywords
support piece
support
sheet
portable magnetic
card
Prior art date
Legal status (The legal status is an assumption and is not a legal conclusion. Google has not performed a legal analysis and makes no representation as to the accuracy of the status listed.)
Expired - Fee Related
Application number
CN202120312979.1U
Other languages
Chinese (zh)
Inventor
不公告发明人
Current Assignee (The listed assignees may be inaccurate. Google has not performed a legal analysis and makes no representation or warranty as to the accuracy of the list.)
Huang Hu
Original Assignee
Shenzhen Zhonglianshun Import And Export Trade Co ltd
Priority date (The priority date is an assumption and is not a legal conclusion. Google has not performed a legal analysis and makes no representation as to the accuracy of the date listed.)
Filing date
Publication date
Application filed by Shenzhen Zhonglianshun Import And Export Trade Co ltd filed Critical Shenzhen Zhonglianshun Import And Export Trade Co ltd
Priority to CN202120312979.1U priority Critical patent/CN214154588U/en
Application granted granted Critical
Publication of CN214154588U publication Critical patent/CN214154588U/en
Expired - Fee Related legal-status Critical Current
Anticipated expiration legal-status Critical

Links

Images

Landscapes

  • Purses, Travelling Bags, Baskets, Or Suitcases (AREA)
  • Telephone Set Structure (AREA)

Abstract

本实用新型公开了一种便携式磁吸支架,包括第一支撑片和第二支撑片,所述第一支撑片与所述第二支撑片的上端连接有一连接片,所述第二支撑片在靠近下端的中部位置连接有一第三支撑片,所述第一支撑片在靠近上端的位置设有一圈间隔分布的卡槽,所述卡槽内卡设有磁铁,所述第二支撑片的外侧设有卡片袋,所述第一支撑片与所述第二支撑片可沿所述连接片旋转展开成倒V形,此时,所述第三支撑片的活动端支撑于所述第一支撑片的内侧。本实用新型的便携式磁吸支架,兼具横向或竖向支撑手机和携带卡片功能,体积小,可吸附在手机上携带,也便于安装和拆卸。

Figure 202120312979

The utility model discloses a portable magnetic attraction bracket, which comprises a first support piece and a second support piece. A connecting piece is connected to the upper end of the first support piece and the second support piece, and the second support piece is located at the upper end of the second support piece. A third support piece is connected to the middle position near the lower end. The first support piece is provided with a circle of spaced slots near the upper end. Magnets are clamped in the slot, and the outer side of the second support piece A card pocket is provided, and the first support piece and the second support piece can be rotated and unfolded along the connecting piece to form an inverted V shape. At this time, the movable end of the third support piece is supported on the first support piece inside of the sheet. The portable magnetic suction bracket of the utility model has the functions of supporting the mobile phone horizontally or vertically and carrying the card, and is small in size, can be adsorbed on the mobile phone and carried, and is easy to install and disassemble.

Figure 202120312979

Description

Portable magnetic suction support
Technical Field
The utility model discloses a support is inhaled to portable magnetism belongs to the cell phone stand field.
Background
With the continuous progress of human science and technology, mobile phones are becoming essential tools in people's life, and have a plurality of functions such as communication, payment and entertainment. With the popularization of mobile phones, more and more mobile phone derivatives are demanded by the market, for example, a mobile phone holder is one of the mobile phone derivatives. Cell phone holders are commonly used for the purpose of supporting the cell phone while the user is watching video using the cell phone. The mobile phone support in the current market has single function and cannot meet the requirements of portability, handheld function and upright business office at the same time; in addition, most of the existing mobile phone supports are large in size and inconvenient to carry when people go out daily.
SUMMERY OF THE UTILITY MODEL
The utility model provides a support is inhaled to portable magnetism has horizontal or vertical support cell-phone concurrently and carries the card function, and is small, and the adsorbability is carried on the cell-phone, also is convenient for install and dismantle.
An aspect of the utility model relates to a support is inhaled to portable magnetism, including first backing sheet and second backing sheet, first backing sheet with the upper end of second backing sheet is connected with a connecting piece, the second backing sheet is being connected with a third backing sheet near the middle part position of lower extreme, first backing sheet is equipped with round interval distribution's draw-in groove near the position of upper end, the draw-in groove inside callipers is equipped with magnet, the outside of second backing sheet is equipped with the card bag, first backing sheet with the second backing sheet can be followed the rotatory V-arrangement that expandes of connecting sheet, this moment, the expansion end of third backing sheet support in the inboard of first backing sheet.
Furthermore, flanges are arranged on two sides of the inner side of the first supporting sheet and extend to corners of the lower end of the first supporting sheet, and when the second supporting sheet is folded with the first supporting sheet, the outer side of the second supporting sheet is clamped on the inner side of the flange.
Further, the flange forms a circular arc corner at the lower end of the first support sheet, and the corner at the lower end of the second support sheet is set to be a circular arc corner matched with the circular arc corner.
Furthermore, a waist-shaped groove is formed in the ring of the clamping groove on the first supporting sheet.
Further, a notch is formed in the lower side of the card bag.
Furthermore, the bag opening of the card bag is concave at two ends and convex at the middle bag edge.
The utility model has the advantages as follows:
the portable magnetic attraction support of the utility model can support the mobile phone when the first support sheet and the second support sheet are unfolded, and can be used for upright business office work or transverse film watching; the card bag arranged on the second support sheet can be used for packaging and carrying cards, and only the first support sheet and the second support sheet need to be folded when the cards are stored. Consequently the utility model discloses a support has horizontal or vertical support cell-phone concurrently and carries the card function, and is small, and the adsorbability carries on the cell-phone, also is convenient for install and dismantle.
Drawings
Fig. 1 is a left side view of the portable magnetic attraction bracket of the utility model;
FIG. 2 is a perspective view of a portable magnetic attraction bracket according to the present invention;
fig. 3 is a perspective view of another position of the portable magnetic attraction bracket of the present invention;
FIG. 4 is a diagram illustrating a state of the portable magnetic attraction bracket according to the present invention;
fig. 5 is another usage status diagram of the portable magnetic attraction bracket of the present invention.
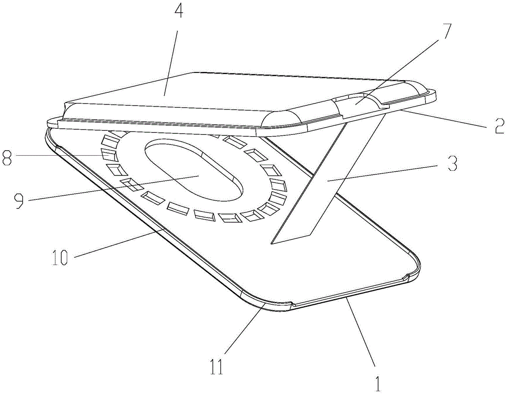
Names and designations of parts
1-a first support sheet;
2-a second support sheet;
3-a third support sheet;
4-card bag;
5-connecting the sheet;
6-bag mouth of the card bag;
7-notch;
8-a clamping groove;
9-waist-shaped groove;
10-a flange;
11-arc corners;
100-a scaffold;
200-mobile phone.
Detailed Description
In order to better understand the technical solution, the technical solution will be described in detail with reference to the drawings and the specific embodiments.
Referring to fig. 1-5, an embodiment of the present invention discloses a portable magnetic support, including a first support sheet 1 and a second support sheet 2, the upper end of the first support sheet 1 and the second support sheet 2 is connected with a connection sheet 5, the second support sheet 2 is connected with a third support sheet 3 at the middle position near the lower end, the first support sheet 1 is provided with a slot 8 with a circle of interval distribution at the position near the upper end, the slot 8 is internally provided with a magnet, the outer side of the second support sheet 2 is provided with a card pocket 4, the first support sheet 1 and the second support sheet 2 can follow the connection sheet 5 to be rotated and unfolded into an inverted V shape, at this time, the movable end of the third support sheet 3 is supported at the inner side of the first support sheet 1. When the mobile phone support is used daily, the first support sheet 1 and the second support sheet 2 are folded and adsorbed on the mobile phone to be carried integrally with the mobile phone, the card bag 4 is used for packaging cards, such as bank cards, subway cards and the like, when the mobile phone support is needed to be used as the mobile phone support, the first support sheet 1 and the second support sheet 2 are unfolded, then the third support sheet 3 is supported on the inner side of the first support sheet 1, the first support sheet 1 and the second support sheet 2 are enabled to keep fixed support shapes through the jacking effect of the third support sheet 3, the angle of the third support sheet 3 can be adjusted, so that the included angle between the first support sheet 1 and the second support sheet 2 is adjusted, and the purpose of adjusting the angle of the support mobile phone is achieved.
Flanges 10 are arranged on two sides of the inner side of the first supporting sheet 1, the flanges 10 extend to corners of the lower end of the first supporting sheet 1, and when the second supporting sheet 2 is folded with the first supporting sheet 1, the outer side of the second supporting sheet 2 is clamped on the inner side of the flanges 10. Further, the flange 10 forms an arc-shaped corner 11 at a corner of the lower end of the first support sheet 1, and the lower end corner of the second support sheet 2 is set to be an arc-shaped corner adapted to the arc-shaped corner 11. When the first supporting sheet 1 and the second supporting sheet 2 are used, the flange 10 is used for clamping the second supporting sheet 2, so that the first supporting sheet 1 and the second supporting sheet 2 are prevented from being unfolded naturally, wherein the corner of the flange 10 is designed into an arc-shaped corner 11 and is used for being matched with the second supporting sheet 2 in a shape suitable for the second supporting sheet, the clamping force can be increased, and the clamping effect is more reliable.
As shown in fig. 4 and 5, the mobile phone 200 may be supported on the support 100 horizontally or supported on the support 100 vertically, and the vertical direction or the horizontal direction may be changed arbitrarily according to actual requirements, so as to facilitate watching movies or browsing content on apps such as WeChat and tremble, and free the hands of the user. In addition, a waist-shaped groove 9 is formed in the ring of the clamping groove 8 on the first supporting piece 1, when the mobile phone is required to be separated from the support, fingers can penetrate through the waist-shaped groove 9 to jack up the mobile phone outwards, and therefore the mobile phone can be separated from the support, and the situation that the mobile phone is inconvenient to separate when magnetic attraction is too strong can be met.
A notch 7 is arranged at the lower side of the card bag 4. The purpose of the notch 7 is to facilitate the removal of the card from the card pocket 4 when the user pushes the card upwards with a finger from the position of the notch 7.
The bag mouth 6 of the card bag is designed into a shape with two concave ends and a convex middle bag edge. The pocket mouth 6 of the card pocket designed in this shape can facilitate a user to insert fingers from the concave positions at the two ends to grasp the card, thereby facilitating the card taking from the card pocket 4.
To sum up, the portable magnetic attraction support of the utility model can support the mobile phone when the first support sheet 1 and the second support sheet 2 are unfolded, and can be used for upright business office work or transverse film watching; the card bag 4 arranged on the second support sheet 2 can be used for packaging and carrying cards, and only the first support sheet 1 and the second support sheet 2 need to be folded when the cards are stored, and the first support sheet 1 and the second support sheet 2 have the thickness when the cards are folded, and the first support sheet 1 and the second support sheet 2 are designed to be very thin, so that the cards can be directly adsorbed on a mobile phone to be combined with the mobile phone into a whole, and the portable and handheld functions are met. Therefore the utility model discloses a support has concurrently supports the cell-phone and carries the card function, and is small, and the adsorbability carries on the cell-phone, also is convenient for install and dismantle.
While the preferred embodiments of the present invention have been described, additional variations and modifications in those embodiments may occur to those skilled in the art once they learn of the basic inventive concepts. It is therefore intended that the appended claims be interpreted as including the preferred embodiment and all such alterations and modifications as fall within the scope of the invention. It will be apparent to those skilled in the art that various changes and modifications may be made without departing from the spirit and scope of the invention. Thus, if such modifications and variations of the present invention fall within the scope of the claims and their equivalents, the present invention is also intended to include such modifications and variations.

Claims (6)

1.一种便携式磁吸支架,其特征在于,包括第一支撑片和第二支撑片,所述第一支撑片与所述第二支撑片的上端连接有一连接片,所述第二支撑片在靠近下端的中部位置连接有一第三支撑片,所述第一支撑片在靠近上端的位置设有一圈间隔分布的卡槽,所述卡槽内卡设有磁铁,所述第二支撑片的外侧设有卡片袋,所述第一支撑片与所述第二支撑片可沿所述连接片旋转展开成倒V形,此时,所述第三支撑片的活动端支撑于所述第一支撑片的内侧。1. A portable magnetic stand, characterized in that it comprises a first support piece and a second support piece, the first support piece and the upper end of the second support piece are connected with a connecting piece, and the second support piece A third support piece is connected at the middle position near the lower end, and the first support piece is provided with a circle of spaced slots near the upper end, magnets are clamped in the slot, and the second support piece There is a card pocket on the outside, the first support piece and the second support piece can be rotated and unfolded into an inverted V shape along the connecting piece. At this time, the movable end of the third support piece is supported on the first support piece. The inner side of the support piece. 2.如权利要求1所述的一种便携式磁吸支架,其特征在于,所述第一支撑片的内侧两边设有凸缘,所述凸缘延伸至第一支撑片下端的转角处,所述第二支撑片与所述第一支撑片合拢时,所述第二支撑片的外侧卡紧于所述凸缘内侧。2 . The portable magnetic stand according to claim 1 , wherein flanges are provided on both sides of the inner side of the first support piece, and the flanges extend to the corner of the lower end of the first support piece, so the When the second supporting sheet is closed with the first supporting sheet, the outer side of the second supporting sheet is clamped to the inner side of the flange. 3.如权利要求2所述的一种便携式磁吸支架,其特征在于,所述凸缘在第一支撑片下端的转角处形成圆弧形转角,所述第二支撑片的下端转角设为与所述圆弧形转角适配的圆弧角。3 . The portable magnetic stand according to claim 2 , wherein the flange forms an arc-shaped corner at the corner of the lower end of the first support piece, and the lower end corner of the second support piece is set as 3 . A circular arc angle adapted to the circular arc corner. 4.如权利要求1所述的一种便携式磁吸支架,其特征在于,所述第一支撑片上在所述卡槽的圈内设有一腰型槽。4 . The portable magnetic stand according to claim 1 , wherein the first support piece is provided with a waist-shaped groove in the circle of the card groove. 5 . 5.如权利要求1所述的一种便携式磁吸支架,其特征在于,所述卡片袋的下侧设有一缺口。5 . The portable magnetic stand according to claim 1 , wherein a notch is provided on the lower side of the card pocket. 6 . 6.如权利要求1所述的一种便携式磁吸支架,其特征在于,所述卡片袋的袋口设为两端下凹、中部袋缘上凸的形状。6 . The portable magnetic stand according to claim 1 , wherein the pocket opening of the card pocket is set to be concave at both ends and convex at the middle pocket edge. 7 .
CN202120312979.1U 2021-02-03 2021-02-03 A portable magnetic stand Expired - Fee Related CN214154588U (en)

Priority Applications (1)

Application Number Priority Date Filing Date Title
CN202120312979.1U CN214154588U (en) 2021-02-03 2021-02-03 A portable magnetic stand

Applications Claiming Priority (1)

Application Number Priority Date Filing Date Title
CN202120312979.1U CN214154588U (en) 2021-02-03 2021-02-03 A portable magnetic stand

Publications (1)

Publication Number Publication Date
CN214154588U true CN214154588U (en) 2021-09-07

Family

ID=77553255

Family Applications (1)

Application Number Title Priority Date Filing Date
CN202120312979.1U Expired - Fee Related CN214154588U (en) 2021-02-03 2021-02-03 A portable magnetic stand

Country Status (1)

Country Link
CN (1) CN214154588U (en)

Similar Documents

Publication Publication Date Title
US20220337279A1 (en) Movable card bag, magnetic suction vehicle and mobile phone bracket
CN214154588U (en) A portable magnetic stand
CN210319210U (en) Mobile terminal stand
CN218336104U (en) A magnetic suction type wireless charging mobile phone holder
CN214045705U (en) Wireless charger cell phone stand of formula is inhaled to multipurpose magnetism
CN214405298U (en) Desktop telescopic bracket
CN214069977U (en) Folding mobile phone support
CN223204045U (en) Folding magnetic attraction bracket
CN211952119U (en) Intelligent terminal auxiliary supporting device
CN216291034U (en) Two-way slidingtype cell phone stand
CN221709890U (en) Air bag support with sucking disc
CN209572044U (en) A mobile phone holder with earphone storage function
CN219287574U (en) Mobile phone finger ring support is inhaled to magnetism
CN223768506U (en) Portable bracket
CN205622704U (en) Firm type cell phone stand
CN221995494U (en) Multifunctional mobile phone magnetic finger ring bracket
CN218140774U (en) Convenient-to-adjust picture book clip
CN222868947U (en) Silica gel cell phone stand
CN218243575U (en) Cell phone stand convenient to accomodate
CN217559405U (en) A tablet computer support device
CN221995183U (en) A wireless charger
JP3079536U (en) Mobile phone upright holder
CN218499164U (en) Folding support
CN221900904U (en) A mobile phone holder
CN219458694U (en) Support and charging equipment

Legal Events

Date Code Title Description
GR01 Patent grant
GR01 Patent grant
TR01 Transfer of patent right
TR01 Transfer of patent right

Effective date of registration: 20230621

Address after: 523846 1501 Jiangnan Apartment, opposite Guanghui Supermarket, No. 12, Jiangnan Street, Xiagang, Chang'an Town, Dongguan City, Guangdong Province

Patentee after: Huang Hu

Address before: 518000 Mei Lin Yi Cun, Futian District, Shenzhen City, Guangdong Province

Patentee before: SHENZHEN ZHONGLIANSHUN IMPORT AND EXPORT TRADE CO.,LTD.

CF01 Termination of patent right due to non-payment of annual fee

Granted publication date: 20210907