CN213859684U - But apartment bed processing is with sliding table saw of intelligent positioning - Google Patents

But apartment bed processing is with sliding table saw of intelligent positioning Download PDF

Info

Publication number
CN213859684U
CN213859684U CN202022731084.XU CN202022731084U CN213859684U CN 213859684 U CN213859684 U CN 213859684U CN 202022731084 U CN202022731084 U CN 202022731084U CN 213859684 U CN213859684 U CN 213859684U
Authority
CN
China
Prior art keywords
fixedly connected
plate
positioning
workbench
mounting plate
Prior art date
Legal status (The legal status is an assumption and is not a legal conclusion. Google has not performed a legal analysis and makes no representation as to the accuracy of the status listed.)
Active
Application number
CN202022731084.XU
Other languages
Chinese (zh)
Inventor
蒋艺云
李双峰
谢世星
Current Assignee (The listed assignees may be inaccurate. Google has not performed a legal analysis and makes no representation or warranty as to the accuracy of the list.)
Guangdong Meinijie Furniture Manufacturing Co ltd
Original Assignee
Guangdong Meinijie Furniture Manufacturing Co ltd
Priority date (The priority date is an assumption and is not a legal conclusion. Google has not performed a legal analysis and makes no representation as to the accuracy of the date listed.)
Filing date
Publication date
Application filed by Guangdong Meinijie Furniture Manufacturing Co ltd filed Critical Guangdong Meinijie Furniture Manufacturing Co ltd
Priority to CN202022731084.XU priority Critical patent/CN213859684U/en
Application granted granted Critical
Publication of CN213859684U publication Critical patent/CN213859684U/en
Active legal-status Critical Current
Anticipated expiration legal-status Critical

Links

Images

Landscapes

  • Sawing (AREA)

Abstract

本实用新型公开了一种公寓床加工用可智能定位的推台锯,包括工作台,工作台上表面的一边侧开设有第一滑槽,第一滑槽的内腔中对称设有定位支架,一个定位支架的底部设有第一安装板,第一安装板内腔的一侧内壁上设有弹簧,弹簧的一端设有第二安装板,定位支架的底部设有限位板,限位板的背面设置有滚轮,定位支架的顶部设有限位杆,限位杆上设有压板,工作台的一侧设有辅助台,辅助台上设置有液压缸。本实用新型利用第一滑槽、定位支架、第一安装板、第二安装板、弹簧、限位板、滚轮、限位杆、压板、保护垫、辅助台和液压缸的配合,便于将限位后的板材推向锯片,避免板材歪斜,从而提高了整体的工作效率和出厂质量。

Figure 202022731084

The utility model discloses a push table saw which can be intelligently positioned for processing apartment beds. , the bottom of a positioning bracket is provided with a first mounting plate, the inner wall of one side of the first mounting plate is provided with a spring, one end of the spring is provided with a second mounting plate, the bottom of the positioning bracket is provided with a limit plate, the limit plate A roller is arranged on the back of the working table, a limit rod is arranged on the top of the positioning bracket, a pressure plate is arranged on the limit rod, an auxiliary table is arranged on one side of the working table, and a hydraulic cylinder is arranged on the auxiliary table. The utility model utilizes the cooperation of the first chute, the positioning bracket, the first installation plate, the second installation plate, the spring, the limit plate, the roller, the limit rod, the pressure plate, the protection pad, the auxiliary table and the hydraulic cylinder, so as to facilitate the adjustment of the limit The plate after the position is pushed to the saw blade to avoid the skew of the plate, thereby improving the overall work efficiency and the quality of the factory.

Figure 202022731084

Description

But apartment bed processing is with sliding table saw of intelligent positioning
Technical Field
The utility model relates to a sliding table saw field, in particular to but apartment bed processing is with sliding table saw of intelligent location.
Background
The apartment bed comprises bed, book case, wardrobe, desk and ladder frame, and current most apartment beds adopt wooden goods more, and the equipment requirement to timber processing is higher and higher in the course of working of timber, and the sliding table saw is as a cutting device of cutting timber, has the advantage that cutting effect is accurate, efficient, by the wide application in timber processing production, current sliding table saw includes fixed station, sliding stand and cutting device.
The existing sliding table saw is used for placing a plate on a sliding table surface in the using process, the length required to be cut is adjusted, a worker presses the plate to push the sliding table to the saw blade, the saw blade rotating at a high speed cuts the plate quickly, however, the operation mode that the worker pushes the plate to the saw blade is needed, the plate is easy to incline in the pushing process, the product is damaged, and the delivery quality and the working efficiency of the product are reduced.
SUMMERY OF THE UTILITY MODEL
An object of the utility model is to provide a but apartment bed processing is with sliding table saw of intelligent location to solve the problem that provides among the above-mentioned background art.
In order to achieve the above object, the utility model provides a following technical scheme: the utility model provides a flat bed processing is with sliding table saw that can intelligently fix a position, includes the workstation, one side of workstation upper surface is opened and is equipped with first spout, symmetrical sliding connection has the locating support in the inner chamber of first spout, one of them the first mounting panel of bottom fixedly connected with of locating support, fixedly connected with spring on the inner wall of one side of first mounting panel inner chamber, the one end fixedly connected with second mounting panel of spring, the bottom fixedly connected with limiting plate of locating support, the back of limiting plate is provided with the gyro wheel, the top fixedly connected with gag lever post of locating support, the clamp plate has been cup jointed in the activity on the gag lever post, the bottom fixedly connected with protection pad of clamp plate, one side of workstation is provided with the auxiliary table, the upper surface of auxiliary table is provided with the pneumatic cylinder.
Preferably, the top of the second mounting plate is fixedly connected with the lower surface of the other positioning bracket, and a second sliding groove matched with the roller is formed in the front surface of the workbench.
Preferably, the top fixedly connected with storage tank of supplementary platform, the bottom of storage tank inner chamber and the bottom fixed connection of pneumatic cylinder, the equal fixedly connected with first heel brace in four edges of supplementary platform lower surface.
Preferably, the output end of the hydraulic cylinder is in transmission connection with a hydraulic rod, and one end of the hydraulic rod is fixedly connected with one side of the other positioning bracket.
Preferably, the bottom plate of the workbench is fixedly connected with a load plate, and one side of the load plate is movably inserted and connected with a chip collecting box.
Preferably, the other side of the upper surface of the workbench is fixedly connected with a baffle plate, and the four corners of the lower surface of the workbench are fixedly connected with second foot supports.
The utility model discloses a technological effect and advantage:
(1) the utility model utilizes the cooperation of the first chute, the positioning bracket, the first mounting plate, the second mounting plate, the spring, the limiting plate, the idler wheel, the limiting rod, the pressing plate, the protection pad, the auxiliary table and the hydraulic cylinder, so that the limited plate can be automatically pushed to the saw blade, and the deflection of the plate can be avoided, thereby improving the overall working efficiency and the outgoing quality of the product;
(2) the utility model discloses utilize the cooperation of second spout, storage tank, pneumatic cylinder, hydraulic stem, load board, receipts bits box, baffle and second heel brace, improved the steadiness of storage tank and pneumatic cylinder bottom, avoid the dust too much to fly upward, improved the steadiness of workstation bottom to holistic practicality has been improved.
Drawings
Fig. 1 is a schematic view of the overall structure of the present invention.
Fig. 2 is a schematic view of the top-view internal structure of the present invention.
Fig. 3 is a schematic view of the internal structure of the side of the present invention.
Fig. 4 is a schematic structural diagram of the roller of the present invention.
Fig. 5 is a schematic structural diagram of the spring of the present invention.
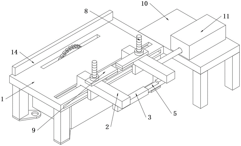
In the figure: 1. a work table; 2. positioning the bracket; 3. a first mounting plate; 4. a spring; 5. a second mounting plate; 6. a limiting plate; 7. a roller; 8. a limiting rod; 9. pressing a plate; 10. an auxiliary table; 11. a storage box; 12. a hydraulic cylinder; 13. a scrap collecting box; 14. and a baffle plate.
Detailed Description
The technical solutions in the embodiments of the present invention will be described clearly and completely with reference to the accompanying drawings in the embodiments of the present invention, and it is obvious that the described embodiments are only some embodiments of the present invention, not all embodiments. Based on the embodiments in the present invention, all other embodiments obtained by a person skilled in the art without creative work belong to the protection scope of the present invention.
The utility model provides a push bench saw which is shown in figures 1-5 and can be intelligently positioned for processing apartment beds, comprising a workbench 1, wherein the cross section of the workbench 1 is rectangular, which is convenient for arranging a first chute, a first chute is arranged on one side of the upper surface of the workbench 1, the cross section of the first chute and the part of the positioning bracket 2 connected with the first chute are both in a convex shape, which is convenient for the positioning bracket 2 to perform spacing movement, the positioning bracket 2 is symmetrically and slidably connected in the inner cavity of the first chute, the bottom of one positioning bracket 2 is fixedly connected with a first mounting plate 3, the cross section of the first mounting plate 3 is rectangular, the cross section of the first mounting plate 3 is larger than that of a second mounting plate 5, which is convenient for the second mounting plate 5 to movably and alternately connect in the inner cavity thereof, a spring 4 is fixedly connected on the inner wall of one side of the inner cavity of the first mounting plate 3, the restoring force of the spring 4 is utilized to facilitate the clamping of boards with different widths, one end of the spring 4 is fixedly connected with a second mounting plate 5, the section shape of the second mounting plate 5 is L-shaped, the upper surfaces of the first mounting plate 3 and the second mounting plate 5 are both in the same horizontal position with the upper surface of the workbench 1, the stable placement of the boards is facilitated, the bottom of the positioning bracket 2 is fixedly connected with a limiting plate 6, the limiting plate 6 is made of a rectangular material, the limiting sliding of the bottom of the positioning bracket 2 is facilitated, the back of the limiting plate 6 is provided with a roller 7, the back of the limiting plate 6 is fixedly inserted with a bolt, the bolt is rotatably sleeved with the roller 7 to facilitate the limiting of the roller 7, the top of the positioning bracket 2 is fixedly connected with a limiting rod 8, a nut is sleeved on the outer wall of the limiting rod 8 through threads, the limiting of the top of a pressing plate 9 is facilitated, and the limiting performance of boards with different thicknesses is improved, the clamp plate 9 is sleeved on the limiting rod 8 in a movable mode, the bottom of the clamp plate 9 is fixedly connected with a protection pad, the upper surface of a plate is prevented from being scratched, an auxiliary table 10 is arranged on one side of the workbench 1, a hydraulic cylinder 12 is arranged on the upper surface of the auxiliary table 10, and the hydraulic cylinder 12 is electrically connected with an external power supply through an external first switch.
The top of the second mounting plate 5 is fixedly connected with the lower surface of the other one of the positioning supports 2, so that plates with different widths can be clamped conveniently, the front surface of the workbench 1 is provided with a second sliding groove matched with the roller 7, and the movement flexibility of the positioning supports 2 is improved.
The top fixedly connected with storage tank 11 of auxiliary table 10, the cross-sectional shape of storage tank 11 are the rectangle, the fixed mounting of the pneumatic cylinder 12 of being convenient for, the bottom of the 11 inner chambers of storage tank and the bottom fixed connection of pneumatic cylinder 12, the first heel brace of the equal fixedly connected with in four edges of auxiliary table 10 lower surface, the steadiness of auxiliary table 10 bottom has been improved.
The output end of the hydraulic cylinder 12 is connected with a hydraulic rod in a transmission manner, one end of the hydraulic rod is fixedly connected with one side of another one of the positioning supports 2, and the hydraulic cylinder 12 is convenient to drive the two positioning supports 2 to slide, so that the plate can be cut.
A bottom plate of the workbench 1 is fixedly connected with a load plate, the cross section of the load plate is rectangular, the installation of the scrap collecting box 13 is convenient, a limit groove is formed on the load plate and the workbench 1, the bottom of the inner cavity of the limit groove is fixedly connected with a protection box, the bottom of the inner cavity of the protection box is fixedly connected with a servo motor, the servo motor is electrically connected with an external power supply through an external second switch, the output end of the servo motor is in transmission connection with a main shaft, a cutting knife is fixedly sleeved on the outer wall of the main shaft, one side of the load plate is movably connected with the scrap collecting box 13 in an inserting mode, the scrap collecting box 13 is in a cover shell shape, the installation position is shown in figure 3, the dust collection at the bottom of the cutting knife is convenient, positioning rods are fixedly connected on two sides of the scrap collecting box 13, clamping grooves matched with the positioning rods are formed on the, facilitating the mounting and dismounting of the scrap box receptacle 13.
Another avris fixedly connected with baffle 14 of 1 upper surface of workstation is convenient for cut the short distance panel, and the equal fixedly connected with second heel brace in four edges of 1 lower surface of workstation has improved the steadiness of 1 bottom of workstation.
The utility model discloses the theory of operation: when the device is used, a user places a plate on the upper surfaces of the first mounting plate 3 and the second mounting plate 5, pulls one of the positioning brackets 2 according to the width of the plate, so that the spring 4 is stretched, the plate is clamped between the two positioning brackets 2, meanwhile, the positioning bracket 2 slides in the inner cavity of the first sliding chute, the roller 7 slides in the inner cavity of the second sliding chute, then, according to the distance to be cut by the plate, a positioning line drawn in advance is close to the cutting knife, then, the pressing plate 9 is sleeved on the outer wall of the limiting rod 8, so that the lower surface of the protective pad is attached to the upper surface of the plate, then, the nut is screwed in, so that the position of the plate is limited, then, the servo motor is started, the main shaft drives the cutting knife to rotate, then, the hydraulic cylinder 12 is started, so that the hydraulic rod pushes one of the positioning brackets 2, so that the plate slides on the workbench 1, until the cutting work is finished.
Finally, it should be noted that: although the present invention has been described in detail with reference to the foregoing embodiments, it will be apparent to those skilled in the art that modifications and variations can be made in the embodiments or in part of the technical features of the embodiments without departing from the spirit and the principles of the present invention.

Claims (6)

1. The intelligent positioning sliding table saw for machining the apartment bed comprises a workbench (1) and is characterized in that a first sliding chute is formed in one side of the upper surface of the workbench (1), positioning supports (2) are symmetrically and slidably connected in an inner cavity of the first sliding chute, a first mounting plate (3) is fixedly connected to the bottom of one of the positioning supports (2), a spring (4) is fixedly connected to the inner wall of one side of the inner cavity of the first mounting plate (3), a second mounting plate (5) is fixedly connected to one end of the spring (4), a limiting plate (6) is fixedly connected to the bottom of the positioning support (2), a roller (7) is arranged on the back of the limiting plate (6), a limiting rod (8) is fixedly connected to the top of the positioning support (2), a pressing plate (9) is movably sleeved on the limiting rod (8), and a protection pad is fixedly connected to the bottom of the pressing plate (9), an auxiliary table (10) is arranged on one side of the workbench (1), and a hydraulic cylinder (12) is arranged on the upper surface of the auxiliary table (10).
2. The push bench saw capable of being intelligently positioned for processing an apartment bed as claimed in claim 1, wherein the top of the second mounting plate (5) is fixedly connected with the lower surface of the other positioning bracket (2), and the front surface of the workbench (1) is provided with a second sliding groove matched with the roller (7).
3. The intelligently positionable sliding table saw for apartment bed processing according to claim 1, wherein a storage box (11) is fixedly connected to the top of the auxiliary table (10), the bottom of the inner cavity of the storage box (11) is fixedly connected to the bottom of the hydraulic cylinder (12), and a first foot support is fixedly connected to each of the four corners of the lower surface of the auxiliary table (10).
4. The intelligent positioning sliding table saw for the apartment bed processing as recited in claim 1, wherein a hydraulic rod is drivingly connected to an output end of the hydraulic cylinder (12), and one end of the hydraulic rod is fixedly connected to one side of the other positioning bracket (2).
5. The push bench saw capable of intelligently positioning for the machining of the apartment bed as claimed in claim 1, wherein a load plate is fixedly connected to the bottom plate of the workbench (1), and a scrap collecting box (13) is movably inserted and connected to one side of the load plate.
6. The intelligently positionable sliding table saw for apartment bed processing according to claim 1, wherein a baffle (14) is fixedly connected to the other side of the upper surface of the worktable (1), and a second foot support is fixedly connected to each of the four corners of the lower surface of the worktable (1).
CN202022731084.XU 2020-11-20 2020-11-20 But apartment bed processing is with sliding table saw of intelligent positioning Active CN213859684U (en)

Priority Applications (1)

Application Number Priority Date Filing Date Title
CN202022731084.XU CN213859684U (en) 2020-11-20 2020-11-20 But apartment bed processing is with sliding table saw of intelligent positioning

Applications Claiming Priority (1)

Application Number Priority Date Filing Date Title
CN202022731084.XU CN213859684U (en) 2020-11-20 2020-11-20 But apartment bed processing is with sliding table saw of intelligent positioning

Publications (1)

Publication Number Publication Date
CN213859684U true CN213859684U (en) 2021-08-03

Family

ID=77038298

Family Applications (1)

Application Number Title Priority Date Filing Date
CN202022731084.XU Active CN213859684U (en) 2020-11-20 2020-11-20 But apartment bed processing is with sliding table saw of intelligent positioning

Country Status (1)

Country Link
CN (1) CN213859684U (en)

Cited By (1)

* Cited by examiner, † Cited by third party
Publication number Priority date Publication date Assignee Title
CN114311163A (en) * 2021-11-29 2022-04-12 江苏圣奎节能科技有限公司 High-precision cutting and assembling device and method for building energy-saving insulation board

Cited By (1)

* Cited by examiner, † Cited by third party
Publication number Priority date Publication date Assignee Title
CN114311163A (en) * 2021-11-29 2022-04-12 江苏圣奎节能科技有限公司 High-precision cutting and assembling device and method for building energy-saving insulation board

Similar Documents

Publication Publication Date Title
CN203460270U (en) Bamboo board edge trimmer
CN213053232U (en) Automatic cutting device with location centre gripping
CN213859684U (en) But apartment bed processing is with sliding table saw of intelligent positioning
CN213672852U (en) Steel frame cutting device for manufacturing goods shelf
CN221454509U (en) Positioning and cutting device for metal material processing
CN205043888U (en) Angle block saw
CN213499450U (en) Thermoplastic felt processing device convenient for controlling cutting size
CN113290640B (en) Plank slitting device is used in furniture production
CN208051860U (en) A kind of Multifunctional liftable fitter's bench
CN216729771U (en) Plate shearing machine for manufacturing ship parts
CN211590494U (en) Accurate cutting device of wooden board for furniture
CN213563031U (en) Drilling equipment is used in circuit board processing
CN222021796U (en) Cutting machine for photo frame strips
CN217021611U (en) Punching device for plastic packaging
CN213797012U (en) Cutting device for plate processing
CN219054599U (en) Corner cutting machine with garbage collection device
CN214768431U (en) Adjustable punch press for aluminum alloy machining
CN221185580U (en) Fixing mechanism for slotting aluminum veneers
CN217498194U (en) Cutting device is equallyd divide to wrapping bag for cutter processing
CN214556453U (en) Plate bending device for high-low pressure complete equipment production
CN213859130U (en) A workstation that is convenient for remove for handbag processing
CN222681081U (en) Building decoration board composite processing device
CN221909954U (en) Adjustable slotting machine
CN221561539U (en) Device is cut to electrically conductive bubble cotton
CN223507269U (en) Cutting device is used in cotton processing of PE pearl

Legal Events

Date Code Title Description
GR01 Patent grant
GR01 Patent grant