CN213608274U - An automatic production device for Chinese herbal decoction pieces - Google Patents

An automatic production device for Chinese herbal decoction pieces Download PDF

Info

Publication number
CN213608274U
CN213608274U CN202021365079.5U CN202021365079U CN213608274U CN 213608274 U CN213608274 U CN 213608274U CN 202021365079 U CN202021365079 U CN 202021365079U CN 213608274 U CN213608274 U CN 213608274U
Authority
CN
China
Prior art keywords
machine
medicine
chinese
conveyor
production device
Prior art date
Legal status (The legal status is an assumption and is not a legal conclusion. Google has not performed a legal analysis and makes no representation as to the accuracy of the status listed.)
Active
Application number
CN202021365079.5U
Other languages
Chinese (zh)
Inventor
王斌
尹琼尧
林钦贤
单启雄
康志英
刘玉金
Current Assignee (The listed assignees may be inaccurate. Google has not performed a legal analysis and makes no representation or warranty as to the accuracy of the list.)
Ningxia Longde Liupanshan Chinese Medicine Resources Development Co ltd
GUANGZHOU XIANGXUE PHARMACEUTICAL CO Ltd
Original Assignee
Ningxia Longde Liupanshan Chinese Medicine Resources Development Co ltd
GUANGZHOU XIANGXUE PHARMACEUTICAL CO Ltd
Priority date (The priority date is an assumption and is not a legal conclusion. Google has not performed a legal analysis and makes no representation as to the accuracy of the date listed.)
Filing date
Publication date
Application filed by Ningxia Longde Liupanshan Chinese Medicine Resources Development Co ltd, GUANGZHOU XIANGXUE PHARMACEUTICAL CO Ltd filed Critical Ningxia Longde Liupanshan Chinese Medicine Resources Development Co ltd
Priority to CN202021365079.5U priority Critical patent/CN213608274U/en
Application granted granted Critical
Publication of CN213608274U publication Critical patent/CN213608274U/en
Active legal-status Critical Current
Anticipated expiration legal-status Critical

Links

Images

Landscapes

  • Medical Preparation Storing Or Oral Administration Devices (AREA)

Abstract

一种中药饮片自动化生产装置,沿生产方向依次设置有进料输送机、清洗机、分料输送机、润药机、送料输送机、切药机、物料输送机、干燥机和出料输送机、振动筛、色选机,其中的润药机包括两台或以上的分别对不同密度中药材进行软化的润药机,切药机包括两台或以上的对中药材进行不同规格切制的切药机,以满足不同中药材的润要和切药需要。该中药饮片自动化生产装置通过自动化生产以提高中药饮片制作的标准化程度,使中药饮片的药效更加稳定,也有效地提高了工作效率;同时,其针对不同中药材采用了不同的润药机和切药机,以符合不同中药材的制作需要,既可以提高设备的适用性,也可以满足中药生产的多样化要求。

Figure 202021365079

An automatic production device for traditional Chinese medicine decoction pieces, which is sequentially provided with a feeding conveyor, a cleaning machine, a material distributing conveyor, a medicine moistening machine, a feeding conveyor, a medicine cutting machine, a material conveyor, a dryer and a discharging conveyor along the production direction. , vibrating screen, color sorter, among which the medicine moistening machine includes two or more moistening machines for softening Chinese medicinal materials of different densities respectively, and the medicine cutting machine includes two or more cutting Chinese medicinal materials of different specifications. The medicine cutting machine can meet the needs of moisturizing and cutting medicine of different Chinese herbal medicines. The automatic production device for Chinese herbal medicines improves the standardization of the production of Chinese herbal medicines through automated production, makes the efficacy of the Chinese herbal medicines more stable, and effectively improves work efficiency; at the same time, it adopts different moistening machines and The medicine cutting machine can not only improve the applicability of the equipment, but also meet the diversified requirements of traditional Chinese medicine production in order to meet the production needs of different Chinese herbal medicines.

Figure 202021365079

Description

Herbal pieces-automated production device
Technical Field
The utility model relates to an automated production equipment especially relates to an automated production device of preparation herbal pieces-for traditional chinese medicine.
Background
The traditional Chinese medicine decoction pieces are traditional Chinese medicines which can be directly used in traditional Chinese medicine clinical after being processed and processed. The traditional Chinese medicine decoction pieces are processed products of traditional Chinese medicines, are not only prescription medicines of traditional Chinese medicine, but also raw materials of Chinese patent medicines, and are important pillars of the traditional Chinese medicine industry. However, the traditional Chinese medicine lacks of uniform standards, and depends on manual experience operation, so that the treatment effect and the application range of the traditional Chinese medicine are greatly limited. In order to improve the stability and the production efficiency of the traditional Chinese medicine treatment, the traditional Chinese medicine is also produced by mechanization more and more. However, due to the characteristics of traditional Chinese medicines, the existing traditional Chinese medicine decoction piece production equipment still cannot meet the diversity requirements of traditional Chinese medicine production, and the production stability and the working efficiency are low.
SUMMERY OF THE UTILITY MODEL
An object of the utility model is to provide an applicable herbal pieces-automated production device in the processing of multiple different chinese-medicinal material to improve apparatus for producing's suitability, stability and work efficiency.
Herbal pieces-automated apparatus for producing, including cleaning respectively to chinese-medicinal material and desiccator, two or above carry out the demulcent machine that softens to different density chinese-medicinal materials respectively, two or above carry out the medicine cutting machine that different specifications were cut to the chinese-medicinal material, the input of cleaning machine and output are connected respectively and are carried the feeding conveyer of chinese-medicinal material and divide the material conveyer, divide the output of material conveyer to connect respectively each demulcent machine, each demulcent machine is connected through the conveyer to the output of each demulcent machine, each medicine cutting machine is connected through the material conveyer again to the output of each medicine cutting machine, the discharge conveyor of seeing off chinese-medicinal material is connected to the output of desiccator.
Herbal pieces-automated apparatus for producing, chinese-medicinal material gets into the cleaning machine through the feeding conveyor, the cleaning machine is washd the back and is sent into the branch material conveyer to chinese-medicinal material, send into corresponding demulcent machine respectively according to the chinese-medicinal material of different density by the branch material conveyer, demulcent machine sends to the feeding conveyor after with chinese-medicinal material softens, send to corresponding medicine cutting machine on according to the section requirement of different chinese-medicinal materials by the feeding conveyor, reuse medicine cutting machine to cut chinese-medicinal material, be cut into required shape with chinese-medicinal material, such as disk, the inclined plane, the willow leaf piece, cubic, filiform or graininess etc, the chinese-medicinal material of cutting the completion is sent into the desiccator by the material conveyer again, the desiccator is sent out by the material conveyer after the sliced is dried, treat follow-up storage or packing etc. The automatic production device for the traditional Chinese medicine decoction pieces improves the standardization degree of the preparation of the traditional Chinese medicine decoction pieces through automatic production, so that the medicine effect of the traditional Chinese medicine decoction pieces is more stable, and the working efficiency is also effectively improved; meanwhile, different herbal medicines such as a herbal medicine infiltrating machine and a herbal medicine slicing machine are adopted for different herbal medicines, so that the softening and slicing requirements of different herbal medicines are met, the applicability of equipment can be improved, and the diversified requirements of traditional Chinese medicine production can be met.
Drawings
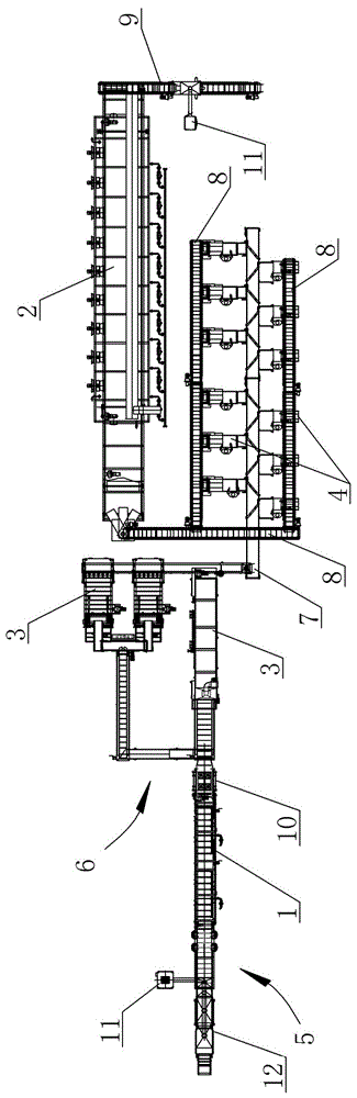
FIG. 1 is a schematic structural diagram of an automated production apparatus for herbal pieces of chinese traditional medicine.
Detailed Description
The utility model provides a herbal pieces-automated production device, including cleaning machine 1 and the desiccator 2 that washs and dry to the chinese-medicinal material respectively, two or more carry out the demulcent machine 3 that softens to different density chinese-medicinal material respectively, two or more carry out the herbal medicine machine 4 that cuts of different specifications to the chinese-medicinal material, the input and the output of cleaning machine are connected the feeding conveyer 5 and the branch material conveyer 6 of carrying the chinese-medicinal material respectively, each demulcent machine is connected respectively to the output of branch material conveyer, each demulcent machine is connected through material conveyer 7 to the output of each demulcent machine, the output of each herbal medicine machine is again through material conveyer 8 connection desiccator, the discharge conveyor 9 of seeing the chinese-medicinal material out is connected to the output of desiccator.
The Chinese herbal medicines enter a cleaning machine through a feeding conveyor, the cleaning machine cleans the Chinese herbal medicines and then feeds the cleaned Chinese herbal medicines into a distributing conveyor, the distributing conveyor respectively feeds the Chinese herbal medicines with different densities into corresponding medicine wetting machines, the medicine wetting machines soften the Chinese herbal medicines and then feed the softened Chinese herbal medicines into the feeding conveyor, the feeding conveyor feeds the softened Chinese herbal medicines onto corresponding medicine cutting machines according to the slicing requirements of different Chinese herbal medicines, the Chinese herbal medicines are cut by the medicine cutting machines and cut into required shapes, such as round pieces, oblique pieces, willow leaves, blocks, filaments or granules, the cut Chinese herbal medicines are then fed into a drying machine through the material conveying machines, and the dried Chinese herbal medicines are dried by the drying machine and then are fed out by a discharging conveyor to be stored or packaged subsequently.
Herbal pieces-automated production device, cleaning machine 1 including turn abluent wiper mechanism that turns with the chinese-medicinal material and the rotatory mechanism that sprays of rotatable water spray carries out compound washing to the chinese-medicinal material through the wiper mechanism that turns and the rotatory mechanism that sprays to improve the cleaning performance. Demulcent machine 3 includes continuous demulcent machine of mesh-belt and mesh-belt vacuum demulcent machine, the former is applicable to the easy demulcent medicinal material (like the astragalus) of lower density, the latter combines the characteristics and the function of continuous demulcent machine of mesh-belt and tray formula vacuum demulcent machine, it can reduce and feed, the work load of the ejection of compact and improve demulcent efficiency, simultaneously can pack the big medicinal material variety of density again in order to reach suitable moist process degree, it is applicable to the higher difficult demulcent medicinal material of density (like the chinese angelica), in order to satisfy the demulcent needs of different chinese-medicinal materials. Medicine cutting machine 4 includes the reciprocating type medicine cutting machine of numerical control straight line and multi-functional medicine cutting machine, and the former is applicable to and cuts the disk, and the latter is applicable to and cuts straight piece and slide, can satisfy the system demand of cutting and the piece type demand of most medicinal materials through these medicine cutting machines. The above-mentioned cleaning mechanism that stirs, rotatory spraying mechanism, continuous demulcent machine of guipure formula, guipure formula vacuum demulcent machine, reciprocal medicine machine of cutting of numerical control straight line and multi-functional medicine machine of cutting all have corresponding prior art, and specific structure does not give unnecessary details here.
The automatic production device for the traditional Chinese medicine decoction pieces comprises a feeding conveyor 5, a distribution conveyor 6, a feeding conveyor 7, a material conveyor 8 or a discharging conveyor 9, and can be a translation conveyor for conveying the medicinal materials along the horizontal direction, an upward moving conveyor for raising the medicinal materials to a required height, or a translation conveyor and an upward moving conveyor which are simultaneously included, so that the conveying requirements of different traditional Chinese medicines and different machines are met; on the other hand, these conveyers both can unidirectional transport, also can include the different just conveyer of end to end connection in proper order of multistage direction of delivery to satisfy the needs and the place arrangement of each machine. The material distribution conveyor 6 comprises a translation conveyor for conveying the traditional Chinese medicinal materials to an mesh-belt type continuous medicine moistening machine, and an upward-moving conveyor for conveying the traditional Chinese medicinal materials to a mesh-belt type vacuum medicine moistening machine, the output end of the upward-moving conveyor is higher than the input end, meanwhile, the output end of the material distribution conveyor is higher than the input end of the medicine moistening machine, the material distribution conveyor is arranged in a staggered manner, the traditional Chinese medicinal materials roll in the falling process, the uniformity of the traditional Chinese medicinal materials in the medicine moistening machine is improved, a connecting plate is arranged between the output end of the material distribution conveyor and the input end of the medicine moistening machine, detachable surrounding plates are respectively arranged at the output end of the material distribution conveyor and the input end of the medicine moistening machine, and a blowing mechanism for blowing the traditional Chinese medicinal materials to the input end of the medicine moistening machine is installed at.
In addition, on feeding conveyor 5, branch material conveyer 6, material conveying conveyor 7, material conveyer 8 or discharge conveyor 9, be provided with the wiper mechanism of clean conveyer and the drain tank that holds sewage, the drain tank passes through drain pipe to sewage treatment device to can be after working for a certain length of time, when changeing in production or have other needs, conveniently clean the conveyer, and ensure the preparation safety of chinese-medicinal material, avoid improper medicinal material to mix and the risk that leads to.
In the automatic production device for the traditional Chinese medicine decoction pieces, the input end of the feeding conveyor 5 is connected with an automatic unpacking and feeding machine 12 for feeding the traditional Chinese medicine packages into the automatic unpacking and feeding machine so as to unpack the packages in which the traditional Chinese medicine is packaged and feed the packages into the production device. A draining machine 10 for reducing the surface moisture of the Chinese medicinal materials is arranged between the feeding conveyor 5 and the cleaning machine 1; so that the washed Chinese medicinal materials can be dried more quickly, and the inlet end of the washing machine 1 and the outlet end of the discharging conveyor 9 are respectively provided with a dust remover 11 to improve the cleanness of the Chinese medicinal materials. The middle section of the discharging conveyor 9 is provided with a vibrating screen and a color sorter which can vibrate, so that dried materials are screened to remove chips through the vibrating screen and then are sent to the color sorter to select unqualified products.

Claims (10)

1. An automated production device of herbal pieces-for traditional chinese medicine, its characterized in that: including cleaning machine (1) and desiccator (2) that wash and dry chinese-medicinal material respectively, two or more carry out the demulcent machine (3) that softens to different density chinese-medicinal material respectively, two or more carry out medicine cutting machine (4) that different specifications were cut to the chinese-medicinal material, the input and the output of cleaning machine are connected the feeding conveyer (5) and the branch material conveyer (6) of carrying the chinese-medicinal material respectively, each demulcent machine is connected respectively to the output of branch material conveyer, each demulcent machine is connected through material conveying machine (7) to the output of each demulcent machine, the output of each medicine cutting machine is again through material conveying machine (8) connection desiccator, the export conveyer (9) of seeing the chinese-medicinal material out is connected to the output of desiccator.
2. The automated production device of herbal pieces-of-chinese-medicine according to claim 1, wherein: the cleaning machine (1) comprises a turning cleaning mechanism for turning and cleaning the traditional Chinese medicinal materials and a rotary spraying mechanism capable of spraying water in a rotatable mode.
3. The automated production device of herbal pieces-of-chinese-medicine according to claim 1, wherein: the herbal medicine slicing machine (4) comprises a numerical control linear reciprocating herbal medicine slicing machine and a multifunctional herbal medicine slicing machine.
4. The automated production device of herbal pieces-of-chinese-medicine according to claim 1, wherein: the medicine infiltrating machine (3) comprises a mesh belt type continuous medicine infiltrating machine and a mesh belt type vacuum medicine infiltrating machine.
5. The automated production device of herbal pieces-of-chinese-medicine according to claim 4, wherein: the material distribution conveyor (6) comprises a translation conveyor for conveying the traditional Chinese medicinal materials to the mesh belt type continuous medicine moistening machine and an upward conveying conveyor for conveying the traditional Chinese medicinal materials to the mesh belt type vacuum medicine moistening machine, and the output end of the upward conveying conveyor is higher than the input end.
6. The automated apparatus for producing herbal pieces-of-chinese-medicinal according to claim 1, 4 or 5, wherein: the height of branch material conveyer output is higher than the input of demulcent machine.
7. The automated production device of herbal pieces-of-chinese-medicine according to claim 6, wherein: a connecting plate is arranged between the output end of the distributing conveyor and the input end of the medicine infiltrating machine, and the output end of the distributing conveyor and the input end of the medicine infiltrating machine are respectively provided with detachable coamings.
8. The automated production device of herbal pieces-of-chinese-medicine according to claim 7, wherein: the connecting plate is provided with a blowing mechanism for blowing the Chinese medicinal materials to the input end of the herbal medicine infiltrating machine.
9. The automated production device of herbal pieces-of-chinese-medicine according to claim 1, wherein: the feeding conveyor (5), the distribution conveyor (6), the feeding conveyor (7), the material conveyor (8) or the discharging conveyor (9) are provided with a cleaning mechanism for cleaning the conveyors and a drainage box for containing sewage, and the drainage box is connected to sewage treatment equipment through a drainage pipe.
10. The automated production device of herbal pieces-of-chinese-medicine according to claim 1, wherein: a draining machine (10) for reducing the surface moisture of the Chinese medicinal materials is arranged between the feeding conveyor (5) and the cleaning machine (1).
CN202021365079.5U 2020-07-13 2020-07-13 An automatic production device for Chinese herbal decoction pieces Active CN213608274U (en)

Priority Applications (1)

Application Number Priority Date Filing Date Title
CN202021365079.5U CN213608274U (en) 2020-07-13 2020-07-13 An automatic production device for Chinese herbal decoction pieces

Applications Claiming Priority (1)

Application Number Priority Date Filing Date Title
CN202021365079.5U CN213608274U (en) 2020-07-13 2020-07-13 An automatic production device for Chinese herbal decoction pieces

Publications (1)

Publication Number Publication Date
CN213608274U true CN213608274U (en) 2021-07-06

Family

ID=76641991

Family Applications (1)

Application Number Title Priority Date Filing Date
CN202021365079.5U Active CN213608274U (en) 2020-07-13 2020-07-13 An automatic production device for Chinese herbal decoction pieces

Country Status (1)

Country Link
CN (1) CN213608274U (en)

Similar Documents

Publication Publication Date Title
CN103273549B (en) Fully-automatic production line of manufacturing chopsticks by using plant branches
CN205727868U (en) Prawn is cleaned, sorts and refrigerating plant
CN209951803U (en) Automatic linkage line of herbal pieces-for massive medicinal materials
CN209951802U (en) Automatic linkage line of pretreatment of general type chinese-medicinal material
CN206316067U (en) A kind of tealeaves cleaning machine
CN208740067U (en) A kind of fruit cleans stripping and slicing robot automatically
CN107597593A (en) A kind of efficiently beans sorting elutriation system
CN111871820A (en) A kind of Chinese medicinal material processing medicinal material sorting device and its working method
CN213608274U (en) An automatic production device for Chinese herbal decoction pieces
CN111085286A (en) Preprocessing device of rice processing
CN214181129U (en) Multifunctional traditional Chinese medicinal material washing, moistening, cutting and drying linkage production line
CN103976298B (en) A kind of date palm process for producing line
CN203789055U (en) Date palm processing production line
CN205695337U (en) Device is cleaned in a kind of meat products processing conveying
CN112293765A (en) A kind of prickly pear cleaning equipment
CN103976297B (en) A kind of red date process for producing line
CN202588226U (en) Classification continuous production line for washing and peeling ginger
CN209031163U (en) A kind of cleaning device for stauntonvine processing
CN202146866U (en) Wind-washing system for wood chips
CN207238705U (en) A kind of multifunction clips bottle bottle washing machine
CN215898826U (en) Processing of dehydration tomato butyl is with batch conveyor
CN116810909A (en) Poria cocos production process
CN214710026U (en) Congeneric eel slaughtering running water operation panel
CN213663588U (en) Roxburgh rose cleaning equipment
CN217726459U (en) Integrated production line for processing pseudo-ginseng production places

Legal Events

Date Code Title Description
GR01 Patent grant
GR01 Patent grant
PP01 Preservation of patent right
PP01 Preservation of patent right

Effective date of registration: 20251128

Granted publication date: 20210706