CN213580334U - A household breast milk centrifugation and nutrition monitor - Google Patents

A household breast milk centrifugation and nutrition monitor Download PDF

Info

Publication number
CN213580334U
CN213580334U CN202022766656.8U CN202022766656U CN213580334U CN 213580334 U CN213580334 U CN 213580334U CN 202022766656 U CN202022766656 U CN 202022766656U CN 213580334 U CN213580334 U CN 213580334U
Authority
CN
China
Prior art keywords
breast milk
sample tube
support frame
analysis appearance
nutrition
Prior art date
Legal status (The legal status is an assumption and is not a legal conclusion. Google has not performed a legal analysis and makes no representation as to the accuracy of the status listed.)
Active
Application number
CN202022766656.8U
Other languages
Chinese (zh)
Inventor
陈瑛
胡小明
贾盛华
李莉
Current Assignee (The listed assignees may be inaccurate. Google has not performed a legal analysis and makes no representation or warranty as to the accuracy of the list.)
Capital Institute of Pediatrics
Original Assignee
Capital Institute of Pediatrics
Priority date (The priority date is an assumption and is not a legal conclusion. Google has not performed a legal analysis and makes no representation as to the accuracy of the date listed.)
Filing date
Publication date
Application filed by Capital Institute of Pediatrics filed Critical Capital Institute of Pediatrics
Priority to CN202022766656.8U priority Critical patent/CN213580334U/en
Application granted granted Critical
Publication of CN213580334U publication Critical patent/CN213580334U/en
Active legal-status Critical Current
Anticipated expiration legal-status Critical

Links

Images

Landscapes

  • Centrifugal Separators (AREA)

Abstract

本实用新型公开了一种家用型母乳离心和营养监测仪,包括母乳分析仪和离心机,所述离心机的顶部两侧各垂直固定设置有一个支撑架,所述母乳分析仪安装在两个支撑架之间的上部,所述母乳分析仪的底部中间位置固定安装有电动推杆,所述电动推杆的底部固定设置有加样针,所述离心机的内部固定安装有伺服电机,所述伺服电机的动力输出轴上固定安装有转盘,所述转盘的内部固定设置有样管套筒,所述样管套筒的内壁上设置有花键,所述样管套筒的内部插接有样管,所述样管的外壁上设置有与花键相配合的花键槽,所述电动推杆与加样针的连接位置活动安装有密封盖;本实用新型同时具备母乳离心和成分检测的功能,使用更加方便、快捷,成本更低。

Figure 202022766656

The utility model discloses a household breast milk centrifugation and nutrition monitor, which comprises a breast milk analyzer and a centrifuge. A support frame is vertically fixed on both sides of the top of the centrifuge, and the breast milk analyzer is installed on two In the upper part between the support frames, an electric push rod is fixedly installed at the middle position of the bottom of the breast milk analyzer, the bottom of the electric push rod is fixedly provided with a sample injection needle, and the inside of the centrifuge is fixedly installed with a servo motor, so A turntable is fixedly installed on the power output shaft of the servo motor, the inside of the turntable is fixedly provided with a sample tube sleeve, the inner wall of the sample tube sleeve is provided with a spline, and the interior of the sample tube sleeve is inserted There is a sample tube, the outer wall of the sample tube is provided with a spline groove matched with the spline, and a sealing cover is movably installed at the connection position of the electric push rod and the sample adding needle; the utility model has both breast milk centrifugation and component detection. function, the use is more convenient, fast, and the cost is lower.

Figure 202022766656

Description

Household breast milk centrifugation and nutrition monitor
Technical Field
The utility model belongs to the technical field of breast milk centrifugation and detection, concretely relates to domestic type breast milk centrifugation and nutrition monitor.
Background
Many on the market of centrifuge, centrifuge produces centrifugal force with the help of the high-speed rotation of pivot, makes different density, the material of equidimension separate, can reach the purpose of preliminary separation purification, is the essential instrument in laboratory.
The breast milk analyzer is an apparatus for analyzing the components of breast milk by a certain means, and aims to know the influence of different dietary structures of mothers on the nutritional components of breast milk and provide the nutrition of the breast milk to infants with higher quality by adjusting diet. The breast milk analyzer is of an infrared type and an ultrasonic type, the breast milk analyzer utilizes the breast milk and a detection reagent to generate biochemical reaction, the change is converted into the change of an electrical signal through an optical detection module, and a detection data value is obtained through calculation. The infrared breast milk analyzer on the market can only detect five items of fat, protein, lactose, energy and dry matter, can not detect moisture and density in milk, and can detect seven components of fat, protein, lactose, density, moisture, energy and total mineral substances.
However, at present, equipment for integrating two functions is lacking, so that the cost is high and the use is not convenient enough.
SUMMERY OF THE UTILITY MODEL
An object of the utility model is to provide a domestic type breast milk centrifugation and nutrition monitor to solve the problem that provides among the above-mentioned background art.
In order to achieve the above object, the utility model provides a following technical scheme: a household breast milk centrifugation and nutrition monitor comprises a breast milk analyzer and a centrifuge, wherein two sides of the top of the centrifuge are respectively and vertically and fixedly provided with a support frame, the breast milk analyzer is arranged at the upper part between the two supporting frames, an electric push rod is fixedly arranged at the middle position of the bottom of the breast milk analyzer, the bottom of the electric push rod is fixedly provided with a sample adding needle, the interior of the centrifuge is fixedly provided with a servo motor, a rotary table is fixedly arranged on a power output shaft of the servo motor, a sample tube sleeve is fixedly arranged in the rotary table, the inner wall of the sample tube sleeve is provided with a spline, the sample tube is inserted in the sample tube sleeve, the sample tube is characterized in that a spline groove matched with the spline is formed in the outer wall of the sample tube, a sealing cover is movably mounted at the connecting position of the electric push rod and the sample adding needle, and the outer diameter of the sealing cover is larger than that of the sample tube.
Preferably, two the relative one side upper portion of support frame is provided with the draw-in groove, be provided with the cardboard on the both sides side of milk analysis appearance, milk analysis appearance is connected for clamping with the support frame.
Preferably, the lower part of draw-in groove is provided with the supporting seat with support frame fixed connection, and the supporting seat is used for supporting breast milk analysis appearance.
Preferably, the top of support frame is installed the analysis appearance hasp, and the analysis appearance hasp comprises mount pad, damping pivot and jam plate, and the mount pad is fixed on the support frame, and the jam plate passes through the damping pivot to be connected with the mount pad rotation.
Compared with the prior art, the beneficial effects of the utility model are that: the utility model discloses when using, the sample tube that will be equipped with breast milk is put into the sample tube sleeve, be provided with the spline groove on the sample tube outer wall, be provided with the spline on the sample tube sleeve inner wall, thereby guarantee that the sample tube sleeve can drive the sample tube and rotate, later drive application of sample needle lapse through the electric putter extension and insert in the sample tube, sealed lid is at the sample tube top simultaneously, seal the sample tube, then start centrifuge, can drive the sample tube sleeve through servo motor and carry out high-speed rotation, thereby milk to in the sample tube is centrifuged, after the breast milk separation, the application of sample needle slowly rebound under electric putter's drive, thereby make the application of sample needle can detect every layer composition of breast milk after the layering, and it is more convenient to use, and is swift.
Drawings
The accompanying drawings are included to provide a further understanding of the invention, and are incorporated in and constitute a part of this specification, illustrate embodiments of the invention, and together with the description serve to explain the invention and not to limit the invention.
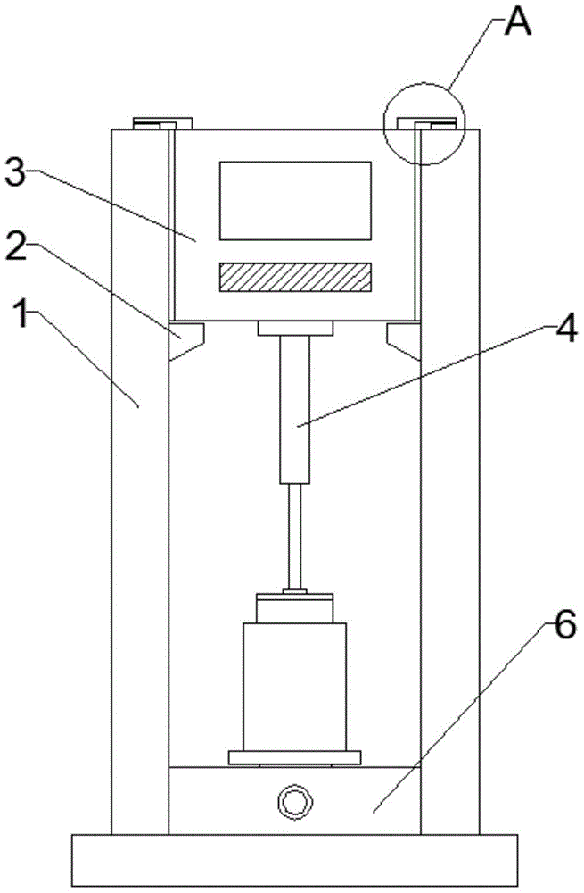
Fig. 1 is a schematic view of the overall structure of the present invention;
FIG. 2 is a schematic view of the internal structure of the centrifuge of the present invention;
fig. 3 is an enlarged schematic view of a portion a of fig. 1.
In the figure: 1. a support frame; 2. a supporting seat; 3. a breast milk analyzer; 4. an electric push rod; 5. a locking plate; 6. a centrifuge; 7. a servo motor; 8. a turntable; 9. a sample tube sleeve; 10. a spline; 11. a sample tube; 12. a spline groove; 13. a sample adding needle; 14. a sealing cover; 15. and (7) mounting a seat.
Detailed Description
The technical solutions in the embodiments of the present invention will be described clearly and completely with reference to the accompanying drawings in the embodiments of the present invention, and it is obvious that the described embodiments are only some embodiments of the present invention, not all embodiments. Based on the embodiments in the present invention, all other embodiments obtained by a person skilled in the art without creative work belong to the protection scope of the present invention.
In the description of the present invention, it should be noted that the terms "vertical", "upper", "lower", "horizontal", and the like indicate orientations or positional relationships based on the orientations or positional relationships shown in the drawings, and are only for convenience of description and simplification of description, but do not indicate or imply that the device or element referred to must have a specific orientation, be constructed in a specific orientation, and be operated, and thus should not be construed as limiting the present invention.
In the description of the present invention, it should also be noted that, unless otherwise explicitly specified or limited, the terms "disposed," "mounted," "connected," and "connected" are to be construed broadly, e.g., as meaning either a fixed connection, a removable connection, or an integral connection; can be mechanically or electrically connected; either directly or indirectly through intervening media, or through the communication between two elements. The specific meaning of the above terms in the present invention can be understood according to specific situations by those skilled in the art.
Referring to fig. 1-3, the present invention provides a technical solution: the utility model provides a domestic type breast milk centrifugation and nutrition monitor, including breast milk analysis appearance 3 and centrifuge 6, each vertical fixation in centrifuge 6's top both sides is provided with a support frame 1, breast milk analysis appearance 3 installs the upper portion between two support frames 1, breast milk analysis appearance 3's bottom intermediate position fixed mounting has electric putter 4, electric putter 4's fixed application of sample needle 13 that is provided with in bottom, centrifuge 6's inside fixed mounting has servo motor 7, fixed mounting has carousel 8 on servo motor 7's the power output shaft, carousel 8's inside is fixed and is provided with sample tube sleeve 9, be provided with spline 10 on sample tube sleeve 9's the inner wall, sample tube 11 has been pegged graft to sample tube sleeve 9's inside, be provided with on sample tube 11's the outer wall with spline 12 with spline 10 matched with, electric putter 4 and sample needle 13's hookup location movable mounting has sealed lid 14, sealed lid 14's outer diameter is greater than.
In this embodiment, preferably, the upper portion of the side face of one side opposite to the two support frames 1 is provided with a clamping groove, the side faces of two sides of the breast milk analyzer 3 are provided with clamping plates, and the breast milk analyzer 3 is connected with the support frames 1 in a clamping manner.
In this embodiment, preferably, the lower part of the clamping groove is provided with a supporting seat 2 fixedly connected with the supporting frame 1, and the supporting seat 2 is used for supporting the breast milk analyzer 3.
In this embodiment, preferably, the top of the support frame 1 is provided with an analyzer latch, the analyzer latch is composed of a mounting seat 15, a damping rotating shaft and a locking plate 5, the mounting seat 15 is fixed on the support frame 1, and the locking plate 5 is rotatably connected with the mounting seat 15 through the damping rotating shaft.
The utility model discloses theory of operation and use flow: the utility model discloses when using, the appearance pipe 11 that will be equipped with breast milk is put into appearance pipe sleeve 9, be provided with spline groove 12 on the appearance pipe 11 outer wall, be provided with spline 10 on the appearance pipe sleeve 9 inner wall, thereby guarantee that appearance pipe sleeve 9 can drive appearance pipe 11 and rotate, later drive application of sample needle 13 downstream through electric putter 4 extension and insert in appearance pipe 11, simultaneously sealed lid 14 covers at appearance pipe 11 top, seal appearance pipe 11, then start centrifuge 6, can drive appearance pipe sleeve 9 through servo motor 7 and carry out high-speed rotation, thereby centrifuging the breast milk in appearance pipe 11, after the breast milk separation, application of sample needle 13 is slowly rebound under electric putter 4's drive, thereby make application of sample needle 13 can detect every layer composition of breast milk after the layering, and is more convenient to use, and fast.
Although embodiments of the present invention have been shown and described, it will be appreciated by those skilled in the art that changes, modifications, substitutions and alterations can be made in these embodiments without departing from the principles and spirit of the invention, the scope of which is defined in the appended claims and their equivalents.

Claims (4)

1. The utility model provides a domestic type breast milk centrifugation and nutrition monitor, includes breast milk analysis appearance (3) and centrifuge (6), its characterized in that: each vertical fixation in top both sides of centrifuge (6) is provided with one support frame (1), the upper portion between two support frames (1) is installed in breast milk analysis appearance (3), the bottom intermediate position fixed mounting of breast milk analysis appearance (3) has electric putter (4), the fixed application of bottom of electric putter (4) is provided with application of sample needle (13), the inside fixed mounting of centrifuge (6) has servo motor (7), fixed mounting has carousel (8) on the power output shaft of servo motor (7), the inside fixed sample tube sleeve (9) that is provided with of carousel (8), be provided with spline (10) on the inner wall of sample tube sleeve (9), the inside grafting of sample tube sleeve (9) has sample tube (11), be provided with on the outer wall of sample tube (11) with spline groove (12) of spline (10) matched with, a sealing cover (14) is movably mounted at the connecting position of the electric push rod (4) and the sample adding needle (13), and the outer diameter of the sealing cover (14) is larger than that of the sample tube (11).
2. A home-use breast milk centrifugation and nutrition monitor as claimed in claim 1, wherein: two one side upper portion that support frame (1) is relative is provided with the draw-in groove, be provided with the cardboard on the both sides side of breast milk analysis appearance (3), breast milk analysis appearance (3) are connected for clamping with support frame (1).
3. A home-use breast milk centrifugation and nutrition monitor as claimed in claim 2, wherein: the lower part of draw-in groove is provided with supporting seat (2) with support frame (1) fixed connection, and supporting seat (2) are used for supporting breast milk analysis appearance (3).
4. A home-use breast milk centrifugation and nutrition monitor as claimed in claim 1, wherein: the top of support frame (1) is installed the analysis appearance hasp, and the analysis appearance hasp comprises mount pad (15), damping pivot and jam plate (5), and mount pad (15) are fixed on support frame (1), and jam plate (5) are rotated through damping pivot and mount pad (15) and are connected.
CN202022766656.8U 2020-11-25 2020-11-25 A household breast milk centrifugation and nutrition monitor Active CN213580334U (en)

Priority Applications (1)

Application Number Priority Date Filing Date Title
CN202022766656.8U CN213580334U (en) 2020-11-25 2020-11-25 A household breast milk centrifugation and nutrition monitor

Applications Claiming Priority (1)

Application Number Priority Date Filing Date Title
CN202022766656.8U CN213580334U (en) 2020-11-25 2020-11-25 A household breast milk centrifugation and nutrition monitor

Publications (1)

Publication Number Publication Date
CN213580334U true CN213580334U (en) 2021-06-29

Family

ID=76543521

Family Applications (1)

Application Number Title Priority Date Filing Date
CN202022766656.8U Active CN213580334U (en) 2020-11-25 2020-11-25 A household breast milk centrifugation and nutrition monitor

Country Status (1)

Country Link
CN (1) CN213580334U (en)

Similar Documents

Publication Publication Date Title
CN212143071U (en) Clinical laboratory's blood centrifugal device
CN213580334U (en) A household breast milk centrifugation and nutrition monitor
CN212410183U (en) Sampling device for food quality inspection
CN210646854U (en) Clinical laboratory uses blood sample centrifugal device
CN107179273A (en) A kind of Novel test section blood analyser
CN216956066U (en) Donated blood primary screening joint inspection device
CN216500055U (en) Novel centrifuge of high-efficient separation sample
CN215865959U (en) Water stratified sampling ware for environmental monitoring
CN212433184U (en) Biochemical immunodetection equipment of reproductive medicine
CN220559514U (en) Centrifugal device and laboratory automation sample pretreatment equipment
CN221157173U (en) A biological cell separator that is easy to take and put
CN223134442U (en) An exosome sample enrichment device
CN213148511U (en) A sample oscillation device for diabetes detection
CN222035220U (en) Centrifuge with sterilization function
CN222446560U (en) Biological safety isolation device for blood detection
CN113419054A (en) Dry-type blood analysis device for sample interpretation based on area array CMOS
CN114184325A (en) Detection apparatus is used in production of high strength centrifuging tube
CN219631600U (en) Exosome separator
CN219483018U (en) Detection equipment capable of centrifugally separating food samples
CN116371615B (en) Blood supernatant preparation device and preparation method thereof
CN220780793U (en) Centrifugal device for detection
CN219111906U (en) Polyester solution centrifugal device for laboratory
CN222401842U (en) Microorganism separation device for microorganism inspection
CN112295754B (en) Centrifuge drum positioning device
CN213398222U (en) Lung cancer image analyzer

Legal Events

Date Code Title Description
GR01 Patent grant
GR01 Patent grant