CN210646854U - Clinical laboratory uses blood sample centrifugal device - Google Patents

Clinical laboratory uses blood sample centrifugal device Download PDF

Info

Publication number
CN210646854U
CN210646854U CN201921038711.2U CN201921038711U CN210646854U CN 210646854 U CN210646854 U CN 210646854U CN 201921038711 U CN201921038711 U CN 201921038711U CN 210646854 U CN210646854 U CN 210646854U
Authority
CN
China
Prior art keywords
blood sample
clinical laboratory
groove
machine body
support body
Prior art date
Legal status (The legal status is an assumption and is not a legal conclusion. Google has not performed a legal analysis and makes no representation as to the accuracy of the status listed.)
Expired - Fee Related
Application number
CN201921038711.2U
Other languages
Chinese (zh)
Inventor
黄国虹
赵进
Current Assignee (The listed assignees may be inaccurate. Google has not performed a legal analysis and makes no representation or warranty as to the accuracy of the list.)
Peoples Hospital of Xinjiang Uygur Autonomous Region
Original Assignee
Peoples Hospital of Xinjiang Uygur Autonomous Region
Priority date (The priority date is an assumption and is not a legal conclusion. Google has not performed a legal analysis and makes no representation as to the accuracy of the date listed.)
Filing date
Publication date
Application filed by Peoples Hospital of Xinjiang Uygur Autonomous Region filed Critical Peoples Hospital of Xinjiang Uygur Autonomous Region
Priority to CN201921038711.2U priority Critical patent/CN210646854U/en
Application granted granted Critical
Publication of CN210646854U publication Critical patent/CN210646854U/en
Expired - Fee Related legal-status Critical Current
Anticipated expiration legal-status Critical

Links

Images

Landscapes

  • Centrifugal Separators (AREA)

Abstract

本实用新型公开了一种检验科用血液样品离心装置,包括机体,所述机体内部设置有隔板,所述机体内部底端安装有电机,所述电机的输出端连接有转动杆,所述转动杆的顶端贯穿隔板延伸至隔板上方,所述转动杆外周固定套装有试管架,所述试管架位于隔板上方,所述机体顶端通过铰链转动连接有封盖,所述机体内部侧壁上安装有若干均匀分布的加热器,所述加热器位于隔板上方,所述机体左端侧壁上开设有进风口,本实用新型使试管能够稳定地固定在试管架上,防止在离心过程中试管内部液体溅出的问题,且能够实现恒温离心的效果,防止低温对血液样品的离心造成影响。

Figure 201921038711

The utility model discloses a blood sample centrifuge device for laboratory use, comprising a body, a baffle plate is arranged inside the body, a motor is installed at the bottom end of the body, an output end of the motor is connected with a rotating rod, the The top of the rotating rod extends through the clapboard to the top of the clapboard, the outer circumference of the rotating rod is fixedly sleeved with a test tube rack, the test tube rack is located above the clapboard, the top of the body is rotatably connected with a cover through a hinge, the inner side of the body is A number of evenly distributed heaters are installed on the wall, the heaters are located above the partition plate, and an air inlet is provided on the side wall of the left end of the body. The problem of liquid splashing in the test tube can be achieved, and the effect of constant temperature centrifugation can be achieved to prevent the impact of low temperature on the centrifugation of blood samples.

Figure 201921038711

Description

Clinical laboratory uses blood sample centrifugal device
Technical Field
The utility model relates to the technical field of medical equipment, specifically be a clinical laboratory uses blood sample centrifugal device.
Background
The centrifugal technology is to utilize the strong centrifugal force generated by the high-speed rotation of an object to make the suspended particles in a rotating body settle or float, thereby achieving the purpose of concentrating or separating some particles from other particles. The suspension particles are cells, organelles, viruses, biological macromolecules and the like which are prepared into a suspension state. When the rotor of the centrifuge rotates at a high speed and the density of suspended particles is greater than that of surrounding media, the particles move away from the axis direction and are settled; if the density of the particles is lower than that of the surrounding medium, the particles move in the axial direction and float. Centrifugation is one of the most common methods for separating proteins, enzymes, nucleic acids and cellular subcomponents, and is also a common method for separation, purification or clarification in biochemical laboratories. The prior blood sample centrifugal device has the problems that the sample in a test tube is easy to spill out in the centrifugal process, and the like.
SUMMERY OF THE UTILITY MODEL
An object of the utility model is to provide a clinical laboratory uses blood sample centrifugal device to solve the problem that proposes among the above-mentioned background art.
In order to achieve the above object, the utility model provides a following technical scheme:
the utility model provides a clinical laboratory uses blood sample centrifugal device, includes the organism, the inside baffle that is provided with of organism, the motor is installed to the inside bottom of organism, the output of motor is connected with the dwang, the top of dwang is run through the baffle and is extended to the baffle top, the fixed cover of dwang periphery is equipped with the test-tube rack, the test-tube rack is located the baffle top, the organism top is rotated through the hinge and is connected with the closing cap, the side wall mounting has a plurality of evenly distributed's heater in the organism, the heater is located the baffle top, the air intake has been seted up on the organism left end lateral wall, has seted up the air outlet on the right-hand member lateral wall, the.
Preferably, a clamping block is arranged at the bottom end of the sealing cover, a clamping groove corresponding to the clamping block is formed in the upper end face of the machine body, and a sealing gasket covers the inner side wall of the clamping groove.
Preferably, the air inlet and the air outlet are both provided with filter screens.
Preferably, the test-tube rack includes the support body, the fixed suit of support body is in the dwang periphery, a plurality of test-tube slots have been seted up on the support body, the support body bottom is connected with the foundation ring through a plurality of connecting rods, the support body top is connected with the clamping ring through a plurality of evenly distributed's coupling mechanism.
Preferably, the lower end face of the pressing ring is covered with a rubber pad.
Preferably, coupling mechanism includes the dead lever, dead lever sliding connection is on the clamping ring, the top of dead lever is located the clamping ring top to fixed mounting has the handle, be connected with the spring between handle and the clamping ring, the spring suit is in the dead lever periphery, be provided with the stopper on the lateral wall of dead lever, the through-hole corresponding with the dead lever has been seted up on the support body surface, through-hole bottom intercommunication has the spacing groove, the logical groove corresponding with the stopper has been seted up to the one end of through-hole, the bottom and the spacing groove intercommunication that lead to the groove, the diameter of spacing groove is greater than the diameter of dead lever and the length sum of stopper.
Compared with the prior art, the beneficial effects of the utility model are that: the clamping block, the clamping groove and the sealing gasket are matched, so that the sealing cover and the machine body have better sealing performance, and external impurities are prevented from entering the machine body during centrifugation to influence the purity of a sample; the filter screen can prevent external dust from entering the machine body; the temperature monitoring during centrifugation can be realized by installing equipment such as a thermometer or a temperature sensor on the machine body, and the internal temperature of the machine body is maintained in a proper range by utilizing a heater, so that the constant temperature effect is achieved, and the centrifugation effect is improved; when the test tube is used, the test tube is placed in the test tube groove on the frame body, the bottom end of the test tube is placed on the bottom ring, and the test tube is pressed by the pressure ring, so that the auxiliary fixing effect on the test tube is achieved, and the problems that a test tube plug on the test tube falls off, an internal sample splashes out and the like in the centrifugal process can be prevented; the rubber pad has a buffering effect, and meanwhile, the air tightness of the connection between the compression ring and the test tube is improved; during the installation, after the stopper on the dead lever is aimed at logical groove, insert the spacing groove, rotatory dead lever makes the stopper follow logical groove below deflection and opens, and the spring provides decurrent pressure simultaneously, makes clamping ring and support body fixed connection, and during the dismantlement, rotatory dead lever makes stopper and spacing groove aim at, just can take the dead lever out, and it is convenient to dismantle. The utility model discloses make the test tube can fix on the test-tube rack steadily, prevent the problem of the inside liquid spill of test tube in centrifugal process, and can realize the centrifugal effect of constant temperature, prevent that low temperature from causing the influence to blood sample's centrifugation.
Drawings
FIG. 1 is a schematic view showing the construction of a blood sample centrifugation device for clinical laboratory;
FIG. 2 is a schematic view showing a structure of a connection mechanism in a blood sample centrifugation device for clinical laboratory.
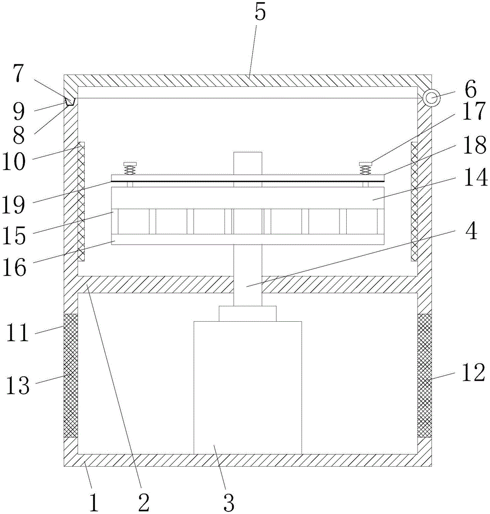
In the figure: 1-machine body, 2-partition board, 3-motor, 4-rotating rod, 5-sealing cover, 6-hinge, 7-clamping block, 8-clamping groove, 9-sealing gasket, 10-heater, 11-air inlet, 12-air outlet, 13-filter screen, 14-frame body, 15-connecting rod, 16-bottom ring, 17-connecting mechanism, 18-pressing ring, 19-rubber gasket, 20-fixing rod, 21-handle, 22-spring, 23-through hole, 24-limiting groove, 25-limiting block and 26-through groove.
Detailed Description
The technical solutions in the embodiments of the present invention will be described clearly and completely with reference to the accompanying drawings in the embodiments of the present invention, and it is obvious that the described embodiments are only some embodiments of the present invention, not all embodiments. Based on the embodiments in the present invention, all other embodiments obtained by a person skilled in the art without creative work belong to the protection scope of the present invention.
Referring to fig. 1-2, the present invention provides a technical solution: the utility model provides a clinical laboratory uses blood sample centrifugal device, includes organism 1, organism 1 is inside to be provided with baffle 2, motor 3 is installed to the inside bottom of organism 1, the output of motor 3 is connected with dwang 4, the top of dwang 4 runs through baffle 2 and extends to baffle 2 top, the fixed cover of dwang 4 periphery is equipped with the test-tube rack, the test-tube rack is located baffle 2 top, and the test tube of being equipped with the sample is located the test-tube rack, through the high-speed rotation of motor 3 drive test-tube rack, reaches centrifugal effect, organism 1 top is rotated through hinge 6 and is connected with closing cap 5, the installation has a plurality of evenly distributed's heater 10 on the inside lateral wall of organism 1, heater 10 is located baffle 2 top, through installing equipment such as thermometer or temperature sensor on organism 1, just can realize the control to the temperature during centrifugation to utilize heater 10 to maintain organism 1 inside temperature in suitable scope, reach the constant temperature effect, improve centrifugal effect, seted up air intake 11 on the 1 left end lateral wall of organism, seted up air outlet 12 on the right-hand member lateral wall, air intake 11 and air outlet 12 all are located baffle 2 below, and air intake 11 and air outlet 12 provide ventilation effect, make the heat that the during operation of motor 3 produced can discharge.
The bottom of closing cap 5 is provided with fixture block 7, draw-in groove 8 corresponding with fixture block 7 has been seted up to the up end of organism 1, 8 inside walls of draw-in groove coat have sealed the pad 9, fixture block 7 and draw-in groove 8, the cooperation of sealed pad 9 for have better leakproofness between closing cap 5 and the organism 1, outside impurity gets into organism 1 inside when preventing the centrifugation, influences sample purity.
All be provided with filter screen 13 in air intake 11 and the air outlet 12, filter screen 13 can prevent that external dust from getting into inside organism 1.
The test-tube rack includes support body 14, the fixed suit of support body 14 is in dwang 4 periphery, a plurality of test-tube slots have been seted up on the support body 14, 14 bottoms of support body are connected with bottom ring 16 through a plurality of connecting rods 15, 14 tops of support body are connected with clamping ring 18 through a plurality of evenly distributed's coupling mechanism 17, and during the use, the test tube is placed in the test-tube slot on support body 14, and the bottom of test tube is placed on bottom ring 16, and rethread clamping ring 18 pushes down the test tube, plays the auxiliary fixation to the test tube, can prevent simultaneously that the test-tube stopper on the test tube drops in centrifugal process, inside sample spill scheduling problem.
The lower end face of clamping ring 18 covers there is rubber pad 19, and rubber pad 19 has the cushioning effect, improves the gas tightness of being connected between clamping ring 18 and the test tube simultaneously.
The connecting mechanism 17 comprises a fixing rod 20, the fixing rod 20 is slidably connected to the pressing ring 18, the top end of the fixing rod 20 is located above the pressing ring 18 and fixedly provided with a handle 21, a spring 22 is connected between the handle 21 and the pressing ring 18, the spring 22 is sleeved on the periphery of the fixing rod 20, a limiting block 25 is arranged on the side wall of the fixing rod 20, the surface of the frame body 14 is provided with a through hole 23 corresponding to the fixing rod 20, the bottom end of the through hole 23 is communicated with a limiting groove 24, one end of the through hole 23 is provided with a through groove 26 corresponding to the limiting block 25, the bottom end of the through groove 26 is communicated with the limiting groove 24, the diameter of the limiting groove 24 is larger than the sum of the diameter of the fixing rod 20 and the length of the limiting block 25, during installation, the limiting block 25 on the fixing rod 20 is aligned to the through groove 26 and then inserted, meanwhile, the spring 22 provides downward pressure to fixedly connect the pressing ring 18 with the frame body 14, and when the fixing rod 20 is disassembled, the limiting block 25 is aligned with the limiting groove 24 by rotating the fixing rod 20, so that the fixing rod 20 can be drawn out, and the disassembly is convenient.
It is obvious to a person skilled in the art that the invention is not restricted to details of the above-described exemplary embodiments, but that it can be implemented in other specific forms without departing from the spirit or essential characteristics of the invention. The present embodiments are therefore to be considered in all respects as illustrative and not restrictive, the scope of the invention being indicated by the appended claims rather than by the foregoing description, and all changes which come within the meaning and range of equivalency of the claims are therefore intended to be embraced therein. Any reference sign in a claim should not be construed as limiting the claim concerned.
Furthermore, it should be understood that although the present description refers to embodiments, not every embodiment may contain only a single embodiment, and such description is for clarity only, and those skilled in the art should integrate the description, and the embodiments may be combined as appropriate to form other embodiments understood by those skilled in the art.

Claims (6)

1. A blood sample centrifugation device for clinical laboratory, includes organism (1), its characterized in that: a clapboard (2) is arranged inside the machine body (1), a motor (3) is arranged at the bottom end inside the machine body (1), the output end of the motor (3) is connected with a rotating rod (4), the top end of the rotating rod (4) penetrates through the partition plate (2) and extends to the upper part of the partition plate (2), a test tube rack is fixedly sleeved on the periphery of the rotating rod (4), the test tube rack is positioned above the clapboard (2), the top end of the machine body (1) is rotationally connected with a sealing cover (5) through a hinge (6), a plurality of heaters (10) which are uniformly distributed are arranged on the inner side wall of the machine body (1), the heater (10) is positioned above the clapboard (2), the side wall of the left end of the machine body (1) is provided with an air inlet (11), the side wall of the right end is provided with an air outlet (12), the air inlet (11) and the air outlet (12) are both positioned below the partition board (2).
2. A blood sample centrifugation device for clinical laboratory according to claim 1, wherein: the sealing structure is characterized in that a clamping block (7) is arranged at the bottom end of the sealing cover (5), a clamping groove (8) corresponding to the clamping block (7) is formed in the upper end face of the machine body (1), and a sealing gasket (9) covers the inner side wall of the clamping groove (8).
3. A blood sample centrifugation device for clinical laboratory according to claim 1, wherein: and filter screens (13) are arranged in the air inlet (11) and the air outlet (12).
4. A blood sample centrifugation device for clinical laboratory according to claim 1, wherein: the test-tube rack includes support body (14), the fixed suit in dwang (4) periphery in support body (14), a plurality of test-tube slots have been seted up on support body (14), support body (14) bottom is connected with bottom ring (16) through a plurality of connecting rods (15), support body (14) top is connected with clamping ring (18) through a plurality of evenly distributed's coupling mechanism (17).
5. A blood sample centrifugation device for clinical laboratory according to claim 4, wherein: the lower end face of the pressing ring (18) is covered with a rubber pad (19).
6. A blood sample centrifugation device for clinical laboratory according to claim 5, wherein: the connecting mechanism (17) comprises a fixing rod (20), the fixing rod (20) is connected to the pressing ring (18) in a sliding manner, the top end of the fixing rod (20) is positioned above the pressing ring (18), a handle (21) is fixedly arranged, a spring (22) is connected between the handle (21) and the press ring (18), the spring (22) is sleeved on the periphery of the fixed rod (20), a limit block (25) is arranged on the side wall of the fixed rod (20), the surface of the frame body (14) is provided with a through hole (23) corresponding to the fixed rod (20), the bottom end of the through hole (23) is communicated with a limiting groove (24), one end of the through hole (23) is provided with a through groove (26) corresponding to the limiting block (25), the bottom end of the through groove (26) is communicated with the limiting groove (24), and the diameter of the limiting groove (24) is larger than the sum of the diameter of the fixing rod (20) and the length of the limiting block (25).
CN201921038711.2U 2019-07-04 2019-07-04 Clinical laboratory uses blood sample centrifugal device Expired - Fee Related CN210646854U (en)

Priority Applications (1)

Application Number Priority Date Filing Date Title
CN201921038711.2U CN210646854U (en) 2019-07-04 2019-07-04 Clinical laboratory uses blood sample centrifugal device

Applications Claiming Priority (1)

Application Number Priority Date Filing Date Title
CN201921038711.2U CN210646854U (en) 2019-07-04 2019-07-04 Clinical laboratory uses blood sample centrifugal device

Publications (1)

Publication Number Publication Date
CN210646854U true CN210646854U (en) 2020-06-02

Family

ID=70825352

Family Applications (1)

Application Number Title Priority Date Filing Date
CN201921038711.2U Expired - Fee Related CN210646854U (en) 2019-07-04 2019-07-04 Clinical laboratory uses blood sample centrifugal device

Country Status (1)

Country Link
CN (1) CN210646854U (en)

Cited By (2)

* Cited by examiner, † Cited by third party
Publication number Priority date Publication date Assignee Title
CN113247424A (en) * 2021-05-19 2021-08-13 赣南医学院第一附属医院 Portable anemia detect reagent box
CN115402625A (en) * 2022-09-20 2022-11-29 江苏环亚医用科技集团股份有限公司 Medical treatment medicament is with multi-functional delivery box

Cited By (2)

* Cited by examiner, † Cited by third party
Publication number Priority date Publication date Assignee Title
CN113247424A (en) * 2021-05-19 2021-08-13 赣南医学院第一附属医院 Portable anemia detect reagent box
CN115402625A (en) * 2022-09-20 2022-11-29 江苏环亚医用科技集团股份有限公司 Medical treatment medicament is with multi-functional delivery box

Similar Documents

Publication Publication Date Title
CN210646854U (en) Clinical laboratory uses blood sample centrifugal device
CN108441423A (en) Instrument for extracting nucleic acid
CN112170025A (en) Prevent centrifugal pollution's stem cell rapid centrifuge
US4648863A (en) Apparatus for the pure preparation of particles, biological cell systems and colloids
CN208449626U (en) A kind of biomedicine centrifuge
CN108627655A (en) Centrifugation is incubated instrument
CN220473290U (en) Water suspended matter detection device
CN221046102U (en) Breathable pipe cover with good antibacterial effect
CN112779133B (en) Refining device for nucleic acid extraction and working method thereof
CN115386570B (en) A nucleic acid extraction device and method based on membrane adsorption.
CN216321987U (en) A fixing device for centrifuging tube biological fermentation
RU159947U1 (en) CENTRIFUGE
CN212914607U (en) A micro-extraction heating device
CN223516994U (en) Centrifuge tube capable of rapidly purifying protein
CN217199412U (en) A biologics storage device
CN211937423U (en) Liquid-based cell preservation solution refrigerated centrifuge
CN209406597U (en) A kind of traditional vacuum concentrating instrument
CN208357057U (en) A kind of clinical laboratory's centrifugal device
CN210965532U (en) Temperature-adjustable and controllable low-temperature high-speed centrifuge
CN211586040U (en) Membrane filtering device for quickly separating R-PE (polyethylene) and R-PC (polycarbonate)
CN219194972U (en) A nucleic acid automatic extraction device
CN223312219U (en) Detachable centrifugal equipment suitable for chromatographic sample bottle
CN221016634U (en) Centrifugal device
CN217989360U (en) Medical centrifuge tube
CN112985958B (en) A negative pressure balanced centrifuge bottle

Legal Events

Date Code Title Description
GR01 Patent grant
GR01 Patent grant
CF01 Termination of patent right due to non-payment of annual fee

Granted publication date: 20200602

CF01 Termination of patent right due to non-payment of annual fee