CN213553238U - Table is accomodate to tailstock - Google Patents

Table is accomodate to tailstock Download PDF

Info

Publication number
CN213553238U
CN213553238U CN202022145972.3U CN202022145972U CN213553238U CN 213553238 U CN213553238 U CN 213553238U CN 202022145972 U CN202022145972 U CN 202022145972U CN 213553238 U CN213553238 U CN 213553238U
Authority
CN
China
Prior art keywords
table top
sides
fixedly connected
movably connected
corners
Prior art date
Legal status (The legal status is an assumption and is not a legal conclusion. Google has not performed a legal analysis and makes no representation as to the accuracy of the status listed.)
Expired - Fee Related
Application number
CN202022145972.3U
Other languages
Chinese (zh)
Inventor
孙琼菲
黄榕
陈泽纯
陈宝梅
曾嘉
Current Assignee (The listed assignees may be inaccurate. Google has not performed a legal analysis and makes no representation or warranty as to the accuracy of the list.)
Nanfang Hospital of Southern Medical University
Original Assignee
Nanfang Hospital of Southern Medical University
Priority date (The priority date is an assumption and is not a legal conclusion. Google has not performed a legal analysis and makes no representation as to the accuracy of the date listed.)
Filing date
Publication date
Application filed by Nanfang Hospital of Southern Medical University filed Critical Nanfang Hospital of Southern Medical University
Priority to CN202022145972.3U priority Critical patent/CN213553238U/en
Application granted granted Critical
Publication of CN213553238U publication Critical patent/CN213553238U/en
Expired - Fee Related legal-status Critical Current
Anticipated expiration legal-status Critical

Links

Images

Landscapes

  • Accommodation For Nursing Or Treatment Tables (AREA)

Abstract

本实用新型公开了一种床尾收纳桌,包括桌面,所述桌面底部的两侧均安装有抽屉,所述桌面底部的左侧固定连接有升降杆,所述升降杆的底部固定连接有支撑架,所述支撑架底部的四角均通过转轴活动连接有万向轮,所述桌面的两侧均活动连接有支撑板,所述桌面两侧的前侧和后侧均开设有第一卡槽,所述桌面顶部的四角均开设有第二卡槽。本实用新型解决了现有的床尾收纳桌无法对听诊器、输液夹和仪器使用登记本等进行收纳放置,导致病床不整洁,使听诊器到处悬挂,容易造成器械污染,同时高度不能进行调节,不适用于不同身高人群的使用需求,并且不能增加使用面积和对物品进行阻挡,降低了使用效果的问题。

Figure 202022145972

The utility model discloses a bed end storage table, comprising a table top, drawers are installed on both sides of the bottom of the table top, a lifting rod is fixedly connected to the left side of the bottom of the table top, and a support frame is fixedly connected to the bottom of the lifting rod , the four corners of the bottom of the support frame are movably connected with universal wheels through the rotating shaft, the two sides of the table top are movably connected with support plates, and the front and rear sides of both sides of the table top are provided with first card slots, The four corners of the top of the desktop are all provided with second card slots. The utility model solves the problem that the existing bed end storage table cannot accommodate and place stethoscopes, infusion clips, instrument use registration books, etc., resulting in untidy hospital beds, making stethoscopes hang everywhere, easily causing equipment pollution, and at the same time, the height cannot be adjusted, which is not applicable It is suitable for the use needs of people of different heights, and it cannot increase the use area and block items, which reduces the problem of use effect.

Figure 202022145972

Description

Table is accomodate to tailstock
Technical Field
The utility model relates to the field of medical technology, specifically a table is accomodate to tailstock.
Background
ICU is intensive care ward promptly, also known as strengthen guardianship ward comprehensive treatment room, the treatment, the nursing, the recovery is all gone on in step, provide isolation place and equipment for severe or stupor patient, provide best nursing, comprehensive treatment, medical treatment combines, postoperative early rehabilitation, service such as joint nursing motion treatment, it places article and apparatus to need the tailstock to accomodate the table in nursing ward, but current tailstock accomodates the table and can't accomodate the stethoscope, infusion presss from both sides and the instrument uses registration book etc. and accomodates and place, lead to the sick bed untidy, make the stethoscope hang everywhere, cause the apparatus to pollute easily, the while height can not adjust, be not suitable for different height crowds' user demand, and can not increase the area of use and block article, the effect of using is reduced.
SUMMERY OF THE UTILITY MODEL
An object of the utility model is to provide a table is accomodate to tailstock, it highly can adjust to possess, can to the stethoscope, the infusion presss from both sides to accomodate with instrument use register etc. and places and can increase usable floor area and block the advantage that article go on, it can't accomodate the table to the stethoscope to have solved current tailstock, the infusion presss from both sides and instrument use register etc. accomodate and places, it is untidy to lead to the sick bed, make the stethoscope hang everywhere, cause the apparatus to pollute easily, highly can not adjust simultaneously, be not suitable for different height crowds' user demand, and can not increase usable floor area and block article, the problem of result of use has been reduced.
In order to achieve the above object, the utility model provides a following technical scheme: a bedside storage table comprises a table top, wherein drawers are respectively arranged on two sides of the bottom of the table top, a lifting rod is fixedly connected to the left side of the bottom of the table top, the bottom of the lifting rod is fixedly connected with a supporting frame, four corners of the bottom of the supporting frame are movably connected with universal wheels through rotating shafts, the two sides of the desktop are both movably connected with supporting plates, the front side and the rear side of the two sides of the desktop are both provided with first clamping grooves, the four corners of the top of the desktop are provided with second clamping grooves, the first clamping grooves are communicated with the second clamping grooves, the front side and the rear side of the supporting plate close to the desktop are both fixedly connected with clamping rods, one end of each clamping rod far away from the supporting plate extends to the inner cavity of the first clamping groove, the two sides of the front and the back of the desktop and the two sides of the front and the back of the supporting plate are both provided with sliding grooves, the inner cavity swing joint of spout has the slider, the one end of slider runs through the spout and extends to the outside and the fixedly connected with connecting plate of desktop and backup pad.
Preferably, one side of the universal wheel is movably connected with a brake block through a rotating shaft, the front of the drawer is fixedly connected with a handle, and the handle is U-shaped.
Preferably, a placing groove is formed in the rear side of the left side of the top of the desktop, and the placing groove is circular.
Compared with the prior art, the beneficial effects of the utility model are as follows:
1. the utility model discloses a desktop, the drawer, the lifter, the support frame, the universal wheel, a supporting plate, first draw-in groove, the second draw-in groove, the kelly, the spout, slider and connecting plate cooperate, it highly can adjust to possess, can be to the stethoscope, the infusion presss from both sides and uses register this etc. to accomodate and place and can increase usable floor area and block the advantage that article go on, it can't accomodate the table to the stethoscope to have solved current tailstock, the infusion presss from both sides and uses register this etc. to accomodate and place, it is untidy to lead to the sick bed, make the stethoscope hang everywhere, cause the apparatus to pollute easily, highly can not adjust simultaneously, be not suitable for different height crowds' user demand, and can not increase the usable floor area and block article, the problem of result of use is reduced.
2. The utility model discloses a set up the brake block, be convenient for accomodate the table to the tailstock and fix, prevent that it from removing at will, through setting up the handle, the drawer of being convenient for is pulled out, gets to the article of placing in the drawer and takes, through setting up the standing groove, is convenient for place little article and collects in the standing groove, prevents its loss.
Drawings
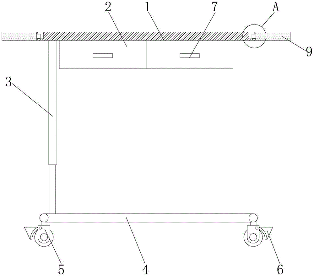
FIG. 1 is a schematic structural view of the present invention;
FIG. 2 is an enlarged schematic view of A of FIG. 1 according to the present invention;
FIG. 3 is a schematic top cross-sectional view of the present invention;
fig. 4 is an enlarged schematic view of B in fig. 3 according to the present invention;
fig. 5 is a schematic top view of the present invention;
fig. 6 is a schematic front view of the present invention.
In the figure: 1 desktop, 2 drawers, 3 lifter, 4 support frames, 5 universal wheels, 6 brake blocks, 7 handles, 8 standing grooves, 9 supporting plates, 10 first clamping grooves, 11 second clamping grooves, 12 clamping rods, 13 sliding grooves, 14 sliding blocks and 15 connecting plates.
Detailed Description
The technical solutions in the embodiments of the present invention will be described clearly and completely with reference to the accompanying drawings in the embodiments of the present invention, and it is obvious that the described embodiments are only some embodiments of the present invention, not all embodiments. Based on the embodiments in the present invention, all other embodiments obtained by a person skilled in the art without creative work belong to the protection scope of the present invention.
Referring to fig. 1-6, a tailstock storage table comprises a table top 1, drawers 2 are respectively installed on two sides of the bottom of the table top 1, a lifting rod 3 is fixedly connected to the left side of the bottom of the table top 1, a support frame 4 is fixedly connected to the bottom of the lifting rod 3, universal wheels 5 are respectively and movably connected to four corners of the bottom of the support frame 4 through rotating shafts, support plates 9 are respectively and movably connected to two sides of the table top 1, first clamping grooves 10 are respectively formed in the front sides and the rear sides of the two sides of the table top 1, second clamping grooves 11 are respectively formed in the four corners of the top of the table top 1, the first clamping grooves 10 are communicated with the second clamping grooves 11, clamping rods 12 are respectively and fixedly connected to the front side and the rear side of one side of the support plate 9, one end of each clamping rod 12 far away from the support plate 9 extends to an inner cavity of the first clamping groove 10, sliding grooves 13 are respectively formed in, one end of the sliding block 14 penetrates through the sliding groove 13 and extends to the outside of the tabletop 1 and the supporting plate 9, the connecting plate 15 is fixedly connected with the outside, one side of the universal wheel 5 is movably connected with a brake block 6 through a rotating shaft, the handle 7 is fixedly connected with the front face of the drawer 2, the handle 7 is U-shaped, the brake block 6 is arranged, the table can be conveniently stored at the tail of the bed and is prevented from moving randomly, the drawer 2 can be conveniently pulled out through arranging the handle 7, articles placed in the drawer 2 can be conveniently taken out, the placing groove 8 is formed in the rear side of the left side of the top of the tabletop 1 and is round, the placing groove 8 is convenient to place small articles in the placing groove 8 for collection, and is prevented from being lost, and the small articles can be conveniently collected through the tabletop 1, the drawer 2, the lifting rod 3, the supporting frame 4, the universal wheel 5, the supporting plate 9, the first clamping groove 10, the, Slider 14 and connecting plate 15 cooperate, it can adjust to possess the height, can be to the stethoscope, the infusion presss from both sides to accomodate with the instrument uses register etc. and places and can increase usable floor area and block the advantage that article blocked, it can't accomodate the table to the stethoscope to have solved current tailstock, the infusion presss from both sides and uses register etc. to accomodate and place, lead to the sick bed untidy, make the stethoscope hang everywhere, cause the apparatus to pollute easily, highly can not adjust simultaneously, be not suitable for different height crowds' user demand, and can not increase the usable floor area and block article, the problem of result of use has been reduced.
When in use, the table is convenient to move by arranging the universal wheel 5, the universal wheel 5 is provided with the brake block 6, the table can be fixed at any time, the left drawer 2 can accommodate the stethoscope, the right drawer 2 can accommodate the infusion clamp, the instrument use register book and the like, so that the sickbed is tidy, the phenomenon that the stethoscope is hung everywhere and is easy to pollute is changed, the sickbed is usually suitable for an ICU ward, the height of the table can be adjusted by the lifting rod 3 so as to meet the use requirements of people with different heights, when the clamping rod 12 is inserted into the first clamping groove 10, the use area of the table top 1 can be increased, the using effect of the table for accommodating the bed tail is better, when two sides of the table for accommodating the bed tail are required to be shielded to prevent articles from falling off, the supporting plate 9 is pulled out of the clamping rod 12 from the first clamping groove 10, the supporting plate 9 is upwards rotated to the top of the table top 1, the clamping rod 12 is inserted into the, can carry out vertical fixed to backup pad 9, play the effect that blocks, prevent that article from dropping.
All parts used in the application document are standard parts and can be purchased from the market, and the specific connection mode of all parts adopts conventional means such as bolts, rivets, welding and the like mature in the prior art, and detailed description is not given here.
In summary, the following steps: this desk is accomodate to tailstock, through desktop 1, drawer 2, lifter 3, support frame 4, universal wheel 5, backup pad 9, first draw-in groove 10, second draw-in groove 11, kelly 12, spout 13, slider 14 and connecting plate 15 cooperate, it can't accomodate the desk to the stethoscope to have solved current tailstock, the infusion presss from both sides and uses register this etc. to accomodate and place, lead to the sick bed untidy, make the stethoscope hang everywhere, cause the apparatus to pollute easily, highly can not adjust simultaneously, be not suitable for different height crowds' user demand, and can not increase the usable floor area and block article, the problem of result of use has been reduced.
Although embodiments of the present invention have been shown and described, it will be appreciated by those skilled in the art that changes, modifications, substitutions and alterations can be made in these embodiments without departing from the principles and spirit of the invention, the scope of which is defined in the appended claims and their equivalents.

Claims (3)

1.一种床尾收纳桌,包括桌面(1),其特征在于:所述桌面(1)底部的两侧均安装有抽屉(2),所述桌面(1)底部的左侧固定连接有升降杆(3),所述升降杆(3)的底部固定连接有支撑架(4),所述支撑架(4)底部的四角均通过转轴活动连接有万向轮(5),所述桌面(1)的两侧均活动连接有支撑板(9),所述桌面(1)两侧的前侧和后侧均开设有第一卡槽(10),所述桌面(1)顶部的四角均开设有第二卡槽(11),所述第一卡槽(10)与第二卡槽(11)连通,所述支撑板(9)靠近桌面(1)一侧的前侧和后侧均固定连接有卡杆(12),所述卡杆(12)远离支撑板(9)的一端延伸至第一卡槽(10)的内腔,所述桌面(1)正面和背面的两侧与支撑板(9)正面和背面的两侧均开设有滑槽(13),所述滑槽(13)的内腔活动连接有滑块(14),所述滑块(14)的一端贯穿滑槽(13)延伸至桌面(1)和支撑板(9)的外部并固定连接有连接板(15)。1. A bed end storage table, comprising a tabletop (1), characterized in that: drawers (2) are installed on both sides of the bottom of the tabletop (1), and a lift is fixedly connected to the left side of the bottom of the tabletop (1). A rod (3), the bottom of the lift rod (3) is fixedly connected with a support frame (4), and the four corners of the bottom of the support frame (4) are movably connected with a universal wheel (5) through a rotating shaft, and the table top ( 1) Both sides of the table top (1) are movably connected with support plates (9), the front and rear sides of both sides of the table top (1) are provided with first card slots (10), and the four corners of the top of the table top (1) are A second card slot (11) is provided, the first card slot (10) is communicated with the second card slot (11), and the front side and the rear side of the support plate (9) close to the desktop (1) side are both A clamping rod (12) is fixedly connected, and one end of the clamping rod (12) away from the support plate (9) extends to the inner cavity of the first clamping slot (10), and the front and back sides of the table top (1) are connected to the inner cavity of the first clamping slot (10). The support plate (9) is provided with sliding grooves (13) on both sides of the front and the back, the inner cavity of the sliding groove (13) is movably connected with a sliding block (14), and one end of the sliding block (14) runs through the sliding block (14). The groove (13) extends to the outside of the table top (1) and the support plate (9) and is fixedly connected with a connecting plate (15). 2.根据权利要求1所述的一种床尾收纳桌,其特征在于:所述万向轮(5)的一侧通过转轴活动连接有刹车块(6),所述抽屉(2)的正面固定连接有把手(7),所述把手(7)的形状为U型。2. A bed end storage table according to claim 1, characterized in that: one side of the universal wheel (5) is movably connected with a brake block (6) through a rotating shaft, and the front side of the drawer (2) is fixed A handle (7) is connected, and the handle (7) is U-shaped. 3.根据权利要求1所述的一种床尾收纳桌,其特征在于:所述桌面(1)顶部左侧的后侧开设有放置槽(8),所述放置槽(8)的形状为圆形。3. A bed end storage table according to claim 1, characterized in that: a placement slot (8) is provided on the rear side of the top left side of the table top (1), and the placement slot (8) is in the shape of a circle shape.
CN202022145972.3U 2020-09-25 2020-09-25 Table is accomodate to tailstock Expired - Fee Related CN213553238U (en)

Priority Applications (1)

Application Number Priority Date Filing Date Title
CN202022145972.3U CN213553238U (en) 2020-09-25 2020-09-25 Table is accomodate to tailstock

Applications Claiming Priority (1)

Application Number Priority Date Filing Date Title
CN202022145972.3U CN213553238U (en) 2020-09-25 2020-09-25 Table is accomodate to tailstock

Publications (1)

Publication Number Publication Date
CN213553238U true CN213553238U (en) 2021-06-29

Family

ID=76578474

Family Applications (1)

Application Number Title Priority Date Filing Date
CN202022145972.3U Expired - Fee Related CN213553238U (en) 2020-09-25 2020-09-25 Table is accomodate to tailstock

Country Status (1)

Country Link
CN (1) CN213553238U (en)

Similar Documents

Publication Publication Date Title
CN113599109A (en) Orthopedic postoperative is hospitalized with bed
CN213553238U (en) Table is accomodate to tailstock
CN207768678U (en) A kind of puncture bed
CN215738004U (en) Multifunctional bedside table for accompanying and attending bed
CN213851586U (en) A kind of table board for lymphoma nursing
CN213130397U (en) Obstetrical nursing sickbed
CN209827302U (en) A hospital bed with pull-out side frames
CN111068140B (en) An anti-fall infusion stand for hospital nursing infusion
CN211658561U (en) Nursing sickbed
CN217118787U (en) Detachable storage rack device mounted under sickbed
CN215271189U (en) Telescopic ABS dining table board convenient for patient to have dinner
CN216754822U (en) Nursing bed with storage cabinet
CN211910996U (en) Bedside cupboard is used in nursing
CN221950134U (en) Mobile carrier for nursing
CN214858749U (en) Medical bed with seat of sleeping in accompanying and attending to
CN215425639U (en) Postoperative rehabilitation nursing device for general surgery department
CN221106262U (en) Emergency nursing stretcher
CN212631069U (en) Device convenient for patient transfer
CN212788943U (en) Multifunctional medical sickbed
CN221533234U (en) Bedside table of sickbed
CN223799886U (en) Nursing bed convenient for storing articles
CN215308934U (en) Treatment vehicle for home hemodialysis
CN213851540U (en) Intracardiac branch of academic or vocational study medical bed with adjustable function
CN213552341U (en) Medical anesthesia table
CN220694767U (en) A ward bedside table

Legal Events

Date Code Title Description
GR01 Patent grant
GR01 Patent grant
CF01 Termination of patent right due to non-payment of annual fee

Granted publication date: 20210629

CF01 Termination of patent right due to non-payment of annual fee