CN213431663U - 一种全自动净烟艾灸理疗床 - Google Patents
一种全自动净烟艾灸理疗床 Download PDFInfo
- Publication number
- CN213431663U CN213431663U CN202021667737.6U CN202021667737U CN213431663U CN 213431663 U CN213431663 U CN 213431663U CN 202021667737 U CN202021667737 U CN 202021667737U CN 213431663 U CN213431663 U CN 213431663U
- Authority
- CN
- China
- Prior art keywords
- moxa
- smoke
- case
- moxibustion
- bed
- Prior art date
- Legal status (The legal status is an assumption and is not a legal conclusion. Google has not performed a legal analysis and makes no representation as to the accuracy of the status listed.)
- Expired - Fee Related
Links
- 238000000554 physical therapy Methods 0.000 title claims abstract description 20
- 235000019504 cigarettes Nutrition 0.000 title claims abstract description 9
- 239000000779 smoke Substances 0.000 claims abstract description 25
- 238000003958 fumigation Methods 0.000 claims description 47
- 239000002184 metal Substances 0.000 claims description 11
- 230000005540 biological transmission Effects 0.000 claims description 2
- 239000002956 ash Substances 0.000 abstract description 8
- 235000002918 Fraxinus excelsior Nutrition 0.000 abstract description 5
- 238000000605 extraction Methods 0.000 abstract description 4
- 235000010894 Artemisia argyi Nutrition 0.000 description 8
- 244000030166 artemisia Species 0.000 description 8
- UGFAIRIUMAVXCW-UHFFFAOYSA-N Carbon monoxide Chemical compound [O+]#[C-] UGFAIRIUMAVXCW-UHFFFAOYSA-N 0.000 description 5
- 239000003546 flue gas Substances 0.000 description 5
- 230000001276 controlling effect Effects 0.000 description 4
- 238000001467 acupuncture Methods 0.000 description 2
- 201000010099 disease Diseases 0.000 description 2
- 208000037265 diseases, disorders, signs and symptoms Diseases 0.000 description 2
- 230000000694 effects Effects 0.000 description 2
- 230000004048 modification Effects 0.000 description 2
- 238000012986 modification Methods 0.000 description 2
- 230000000391 smoking effect Effects 0.000 description 2
- 238000002560 therapeutic procedure Methods 0.000 description 2
- 206010000234 Abortion spontaneous Diseases 0.000 description 1
- 244000025254 Cannabis sativa Species 0.000 description 1
- 208000003251 Pruritus Diseases 0.000 description 1
- 230000000740 bleeding effect Effects 0.000 description 1
- 230000001684 chronic effect Effects 0.000 description 1
- 238000002485 combustion reaction Methods 0.000 description 1
- 238000010586 diagram Methods 0.000 description 1
- 239000003814 drug Substances 0.000 description 1
- 230000007613 environmental effect Effects 0.000 description 1
- 239000007789 gas Substances 0.000 description 1
- 230000036449 good health Effects 0.000 description 1
- 230000007803 itching Effects 0.000 description 1
- 239000000463 material Substances 0.000 description 1
- 230000005906 menstruation Effects 0.000 description 1
- 208000015994 miscarriage Diseases 0.000 description 1
- 230000001105 regulatory effect Effects 0.000 description 1
- 208000000995 spontaneous abortion Diseases 0.000 description 1
- 238000010792 warming Methods 0.000 description 1
Images
Landscapes
- Finger-Pressure Massage (AREA)
Abstract
本实用新型公开了一种全自动净烟艾灸理疗床,包括艾灸床本体,床板,艾熏箱,电机和丝杆,所述艾灸床本体的上表面固定床板,所述床板上设有艾熏孔,所述床板的下方设有艾熏箱,所述艾熏箱的顶部设有滑块,所述床板的底部设有与滑块相匹配的滑轨,所述艾熏箱通过滑轨与滑块的配合在床板的底面可移动连接,所述艾熏箱的一侧设有电机,所述丝杆通过螺纹配合穿过艾熏箱,使丝杆与电机的转轴可传动连接,所述艾灸床本体内设有抽风扇,所述抽风扇通过管道连接艾熏箱,所述电机的下方设有烟气净化器;该全自动净烟艾灸理疗床能够局部的对患者进行治疗,增大治疗效果,内部灰烬易于去除,且整体结构稳定使用简单方便,适合推广使用。
Description
技术领域
本实用新型涉及艾灸床技术领域,尤其涉及一种全自动净烟艾灸理疗床。
背景技术
艾灸在我国已有数千年历史,是传统中医针灸疗法的重要组成部分,早在春秋战国时期,已开始广泛使用艾灸法,如《庄子》中有“越人熏之以艾”,《孟子》中也记载有“七年之病求三年之艾”。艾灸是以艾为主要施灸材料,点燃后直接或间接熏灼体表穴位或病变部位的一种疗法,针对慢性虚弱性疾病和以风、寒、湿邪为患等疾病尤为适宜。艾叶性温,味辛、苦,具有散寒止痛、祛湿止痒、温经止血、调经安胎、回阳救逆等功效,制成艾绒后易于燃烧,气味芳香,火力温和。人们为了方便使用,发明了艾灸床,但是传统的艾灸床结构较为简单,只是单纯的对患者整体进行艾熏治疗,当患者其余部位处于健康良好状态时,再对其进行艾熏不仅影响良好健康的部位也浪费艾草,这种艾熏方式效果也不好,不能对患者局部进行艾熏治疗,且艾草燃烧后的灰烬不易处理,使用不便。
实用新型内容
本实用新型的目的是解决上述问题而提供一种能够局部的对患者进行治疗,增大治疗效果,内部灰烬易于去除,且整体结构稳定使用简单方便的全自动净烟艾灸理疗床。
为实现上述目的,本实用新型的技术方案为:一种全自动净烟艾灸理疗床,包括艾灸床本体,床板,艾熏箱,电机和丝杆,所述艾灸床本体的上表面固定床板,所述床板上设有艾熏孔,所述床板的下方设有艾熏箱,所述艾熏箱的顶部设有滑块,所述床板的底部设有与滑块相匹配的滑轨,所述艾熏箱通过滑轨与滑块的配合在床板的底面可移动连接,所述艾熏箱的一侧设有电机,所述丝杆通过螺纹配合穿过艾熏箱,使丝杆与电机的转轴可传动连接,所述艾灸床本体内设有抽风扇,所述抽风扇通过管道连接艾熏箱,所述电机的下方设有烟气净化器,所述烟气净化器的一端设有进风扇,另一端连接排气管。
优选的,所述艾熏箱包括抽屉、金属网与丝杆套筒,所述金属网设在艾熏箱的内腔底部,所述抽屉设在金属网的下方并与艾熏箱可拆卸连接,所述丝杆套筒设在抽屉的下方,所述丝杆通过螺纹配合穿过艾熏箱内的丝杆套筒连接电机。
优选的,所述丝杆套筒的两端设有耳板,所述丝杆套筒通过螺栓在耳板处固定在艾熏箱的侧壁上。
优选的,所述丝杆在远离电机的一端设有防止艾熏箱脱离的隔档块,所述隔档块通过拉杆固定在床板的底面。
优选的,所述抽屉在艾熏箱内的高度高于丝杆套筒。
优选的,所述艾熏孔在床板上呈人体结构状。
优选的,所述艾灸床本体的外侧设有控制电机的开关、正反转与转速的控制盒。
本实用新型公开一种全自动净烟艾灸理疗床,包括艾灸床本体,床板,艾熏箱,电机和丝杆,所述艾灸床本体的上表面固定床板,所述床板上设有艾熏孔,所述床板的下方设有艾熏箱,所述艾熏箱的顶部设有滑块,所述床板的底部设有与滑块相匹配的滑轨,所述艾熏箱通过滑轨与滑块的配合在床板的底面可移动连接,所述艾熏箱的一侧设有电机,所述丝杆通过螺纹配合穿过艾熏箱,使丝杆与电机的转轴可传动连接,所述艾灸床本体内设有抽风扇,所述抽风扇通过管道连接艾熏箱,所述电机的下方设有烟气净化器;该全自动净烟艾灸理疗床能够局部的对患者进行治疗,增大治疗效果,内部灰烬易于去除,且整体结构稳定使用简单方便,适合推广使用。
附图说明
图1为本实用新型一种全自动净烟艾灸理疗床的结构示意图。
图2为本实用新型图1的主视图。
图3为本实用新型图1的俯视图。
图4为本实用新型中丝杆套筒的结构示意图。
图5为本实用新型中艾熏箱的结构示意图。
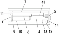
图中:1、艾灸床本体;2、床板;3、艾熏孔;4、艾熏箱;41、抽屉;42、金属网;43、丝杆套筒;44、耳板;5、电机;51、控制盒;6、丝杆;7、滑轨;8、隔档块;9、抽风扇;10、管道;11、拉杆;12、烟气净化器;13、进风扇;14、排气管。
具体实施方式
现在结合附图对本实用新型作进一步详细的说明。附图为简化的示意图,仅以示意方式说明本实用新型的基本结构,因此其仅显示与本实用新型有关的构成。
请参照图1-5,一种全自动净烟艾灸理疗床,包括艾灸床本体1,床板2,艾熏箱4,电机5和丝杆6,所述艾灸床本体1的上表面固定床板2,所述床板2上设有艾熏孔3,所述床板2的下方设有艾熏箱4,所述艾熏箱4的顶部设有滑块,所述床板2的底部设有与滑块相匹配的滑轨7,所述艾熏箱4通过滑轨7与滑块的配合在床板2的底面可移动连接,所述艾熏箱4的一侧设有电机5,所述丝杆6通过螺纹配合穿过艾熏箱4,使丝杆6与电机5的转轴可传动连接,所述艾灸床本体1内设有抽风扇9,所述抽风扇9通过管道10连接艾熏箱4,所述电机5的下方设有烟气净化器12,所述烟气净化器12的一端设有进风扇13,另一端连接排气管14,艾灸床本体1内一部分烟气通过艾熏孔3艾熏艾灸床本体1上的人体,另一部分烟气通过烟气净化器12排出艾灸床本体1外,不会污染空气,环保性强。
所述艾熏箱4包括抽屉41、金属网42与丝杆套筒43,所述金属网42设在艾熏箱4的内腔底部,所述抽屉41设在金属网42的下方并与艾熏箱4可拆卸连接,所述丝杆套筒43设在抽屉41的下方,所述丝杆6通过螺纹配合穿过艾熏箱4内的丝杆套筒43连接电机5,所述丝杆套筒43的两端设有耳板 44,所述丝杆套筒43通过螺栓在耳板44处固定在艾熏箱4的侧壁上,所述丝杆6在远离电机5的一端设有防止艾熏箱4脱离的隔档块8,所述丝杆6能够在隔档块8内转动,所述隔档块8通过拉杆11固定在床板2的底面,所述抽屉41在艾熏箱4内的高度高于丝杆套筒,43,所述艾熏孔3在床板2,上呈人体结构状,所述艾灸床本体1的外侧设有控制电机5的开关、正反转与转速的控制盒51。
所述艾灸床本体1的一侧设有开合与闭合的观察门,该观察门能够观察艾熏箱4在艾灸床本体1内的移动情况,也能开启清除艾草燃烧的灰烬。
该新型全自动净烟艾灸理疗床的在使用时,启动电机5,此时电机5的转轴转动带动丝杆6在艾熏箱4内转动,所述丝杆6转动将使艾熏箱4通过滑轨7与滑块的配合在床板2的底面可移动连接,此时艾熏箱4以滑轨7为轨迹在床板2下方移动;
所述艾熏箱4内燃烧艾草,燃烧后的灰烬经金属网42落至抽屉41内,抽取抽屉41时清除灰烬,而艾草燃烧后通过艾熏孔3艾熏床板2上的人体,当艾熏箱4内艾草燃烧不充分时启动抽风机9,抽风机9输送空气至艾熏箱4 内加快艾草燃烧;
所述床板2上的艾熏孔3呈人体结构状,可根据艾熏箱4的移动局部治疗患者的头部、颈部、背部、腰部、腿部等部位,患者按照艾熏孔3的形态躺至床板2上;当患者需要治疗头部时,将艾熏箱4移动至头部下方,其余部位的艾熏孔3用毯子盖合,此时艾熏箱4只单纯艾熏患者头部;当患者患者需要治疗背部时,将艾熏箱4移动至背部下方,其余部位的艾熏孔3用毯子盖合,此时艾熏箱4只单纯艾熏患者背部;以此类推,该全自动净烟艾灸理疗床能够对患者局部治疗,增大治疗效率,灰烬易于清除且整体结构稳定。
显然,上述实施例仅仅是为清楚地说明所作的举例,而并非对实施方式的限定。对于所属领域的普通技术人员来说,在上述说明的基础上还可以做出其它不同形式的变化或变动。这里无需也无法对所有的实施方式予以穷举。而由此所引伸出的显而易见的变化或变动仍处于本实用新型创造的保护范围之中。
Claims (7)
1.一种全自动净烟艾灸理疗床,包括艾灸床本体(1),床板(2),艾熏箱(4),电机(5)和丝杆(6),其特征在于:所述艾灸床本体(1)的上表面固定床板(2),所述床板(2)上设有艾熏孔(3),所述床板(2)的下方设有艾熏箱(4),所述艾熏箱(4)的顶部设有滑块,所述床板(2)的底部设有与滑块相匹配的滑轨(7),所述艾熏箱(4)通过滑轨(7)与滑块的配合在床板(2)的底面可移动连接,所述艾熏箱(4)的一侧设有电机(5),所述丝杆(6)通过螺纹配合穿过艾熏箱(4),使丝杆(6)与电机(5)的转轴可传动连接,所述艾灸床本体(1)内设有抽风扇(9),所述抽风扇(9)通过管道(10)连接艾熏箱(4),所述电机(5)的下方设有烟气净化器(12),所述烟气净化器(12)的一端设有进风扇(13),另一端连接排气管(14)。
2.根据权利要求1所述的一种全自动净烟艾灸理疗床,其特征在于:所述艾熏箱(4)包括抽屉(41)、金属网(42)与丝杆套筒(43),所述金属网(42)设在艾熏箱(4)的内腔底部,所述抽屉(41)设在金属网(42)的下方并与艾熏箱(4)可拆卸连接,所述丝杆套筒(43)设在抽屉(41)的下方,所述丝杆(6)通过螺纹配合穿过艾熏箱(4)内的丝杆套筒(43)连接电机(5)。
3.根据权利要求2所述的一种全自动净烟艾灸理疗床,其特征在于:所述丝杆套筒(43)的两端设有耳板(44),所述丝杆套筒(43)通过螺栓在耳板(44)处固定在艾熏箱(4)的侧壁上。
4.根据权利要求1所述的一种全自动净烟艾灸理疗床,其特征在于:所述丝杆(6)在远离电机(5)的一端设有防止艾熏箱(4)脱离的隔档块(8),所述隔档块(8)通过拉杆(11)固定在床板(2)的底面。
5.根据权利要求2所述的一种全自动净烟艾灸理疗床,其特征在于:所述抽屉(41)在艾熏箱(4)内的高度高于丝杆套筒(43)。
6.根据权利要求1所述的一种全自动净烟艾灸理疗床,其特征在于:所述艾熏孔(3)在床板(2)上呈人体结构状。
7.根据权利要求1所述的一种全自动净烟艾灸理疗床,其特征在于:所述艾灸床本体(1)的外侧设有控制电机(5)的开关、正反转与转速的控制盒(51)。
Priority Applications (1)
| Application Number | Priority Date | Filing Date | Title |
|---|---|---|---|
| CN202021667737.6U CN213431663U (zh) | 2020-08-12 | 2020-08-12 | 一种全自动净烟艾灸理疗床 |
Applications Claiming Priority (1)
| Application Number | Priority Date | Filing Date | Title |
|---|---|---|---|
| CN202021667737.6U CN213431663U (zh) | 2020-08-12 | 2020-08-12 | 一种全自动净烟艾灸理疗床 |
Publications (1)
| Publication Number | Publication Date |
|---|---|
| CN213431663U true CN213431663U (zh) | 2021-06-15 |
Family
ID=76309394
Family Applications (1)
| Application Number | Title | Priority Date | Filing Date |
|---|---|---|---|
| CN202021667737.6U Expired - Fee Related CN213431663U (zh) | 2020-08-12 | 2020-08-12 | 一种全自动净烟艾灸理疗床 |
Country Status (1)
| Country | Link |
|---|---|
| CN (1) | CN213431663U (zh) |
Cited By (3)
| Publication number | Priority date | Publication date | Assignee | Title |
|---|---|---|---|---|
| CN113456482A (zh) * | 2021-08-18 | 2021-10-01 | 湖南馨创科技开发有限公司 | 用于艾灸的可调式多功能人工智能躺床及其控制 |
| CN114344133A (zh) * | 2022-02-18 | 2022-04-15 | 昆山国通新能源科技有限公司 | 一种理疗熏蒸装置 |
| CN117064678A (zh) * | 2023-10-16 | 2023-11-17 | 烟台市飞马医疗科技有限公司 | 一种艾灸理疗床排烟净化设备 |
-
2020
- 2020-08-12 CN CN202021667737.6U patent/CN213431663U/zh not_active Expired - Fee Related
Cited By (5)
| Publication number | Priority date | Publication date | Assignee | Title |
|---|---|---|---|---|
| CN113456482A (zh) * | 2021-08-18 | 2021-10-01 | 湖南馨创科技开发有限公司 | 用于艾灸的可调式多功能人工智能躺床及其控制 |
| CN114344133A (zh) * | 2022-02-18 | 2022-04-15 | 昆山国通新能源科技有限公司 | 一种理疗熏蒸装置 |
| CN114344133B (zh) * | 2022-02-18 | 2023-10-24 | 昆山国通新能源科技有限公司 | 一种理疗熏蒸装置 |
| CN117064678A (zh) * | 2023-10-16 | 2023-11-17 | 烟台市飞马医疗科技有限公司 | 一种艾灸理疗床排烟净化设备 |
| CN117064678B (zh) * | 2023-10-16 | 2024-01-09 | 烟台市飞马医疗科技有限公司 | 一种艾灸理疗床排烟净化设备 |
Similar Documents
| Publication | Publication Date | Title |
|---|---|---|
| CN213431663U (zh) | 一种全自动净烟艾灸理疗床 | |
| CN108553289A (zh) | 一种艾灸设备 | |
| CN110123625A (zh) | 一种中医内科理疗用无烟无火背部艾灸装置 | |
| CN203001420U (zh) | 一种艾灸仪 | |
| CN110464636A (zh) | 一种家用无烟艾灸仪 | |
| CN108464931A (zh) | 一种新型无烟艾灸仪 | |
| CN105411843B (zh) | 一种座舱式多功能艾灸理疗装置 | |
| CN203988996U (zh) | 微正压下排烟式温针灸器 | |
| CN107334634A (zh) | 一种集中供热艾灸椅 | |
| CN202665970U (zh) | 医用集烟罩 | |
| CN213608200U (zh) | 一种消烟艾灸设备 | |
| CN110251393A (zh) | 一种自动艾灸器械 | |
| CN201861949U (zh) | 灸炙用盒子 | |
| CN206603926U (zh) | 一种手持式灸罐 | |
| CN212261797U (zh) | 一种悬灸床 | |
| CN207886432U (zh) | 一种热敏悬灸除湿医用无烟机 | |
| CN211272307U (zh) | 一种多功能艾灸筒 | |
| CN111568750B (zh) | 一种用于阴道艾灸仪的艾烟光热传递气道结构 | |
| CN204814831U (zh) | 一种新型艾灸盒 | |
| CN210205349U (zh) | 一种足部艾灸箱 | |
| CN208598797U (zh) | 艾灸沐足盒 | |
| CN209630174U (zh) | 一种用于熏艾的熏灸装置 | |
| CN213723539U (zh) | 一种新型艾灸床 | |
| CN222640841U (zh) | 一种艾灸床 | |
| CN215652575U (zh) | 一种用于除烟智能艾灸仪的艾灸箱 |
Legal Events
| Date | Code | Title | Description |
|---|---|---|---|
| GR01 | Patent grant | ||
| GR01 | Patent grant | ||
| CF01 | Termination of patent right due to non-payment of annual fee | ||
| CF01 | Termination of patent right due to non-payment of annual fee |
Granted publication date: 20210615 |