CN213347170U - 一种输血套件 - Google Patents
一种输血套件 Download PDFInfo
- Publication number
- CN213347170U CN213347170U CN202020517072.4U CN202020517072U CN213347170U CN 213347170 U CN213347170 U CN 213347170U CN 202020517072 U CN202020517072 U CN 202020517072U CN 213347170 U CN213347170 U CN 213347170U
- Authority
- CN
- China
- Prior art keywords
- blood
- plug
- blood transfusion
- tube
- connector
- Prior art date
- Legal status (The legal status is an assumption and is not a legal conclusion. Google has not performed a legal analysis and makes no representation as to the accuracy of the status listed.)
- Active
Links
- 239000008280 blood Substances 0.000 title claims abstract description 146
- 210000004369 blood Anatomy 0.000 title claims abstract description 146
- 239000007788 liquid Substances 0.000 claims description 18
- 238000007789 sealing Methods 0.000 claims description 14
- 239000003814 drug Substances 0.000 claims description 7
- 230000001681 protective effect Effects 0.000 claims description 7
- 239000002504 physiological saline solution Substances 0.000 claims description 6
- 239000012528 membrane Substances 0.000 claims description 3
- 230000006978 adaptation Effects 0.000 claims 1
- 238000001802 infusion Methods 0.000 abstract description 10
- 206010011409 Cross infection Diseases 0.000 abstract description 7
- 206010029803 Nosocomial infection Diseases 0.000 abstract description 7
- FAPWRFPIFSIZLT-UHFFFAOYSA-M Sodium chloride Chemical compound [Na+].[Cl-] FAPWRFPIFSIZLT-UHFFFAOYSA-M 0.000 abstract description 7
- 238000000034 method Methods 0.000 description 11
- 230000000694 effects Effects 0.000 description 9
- 238000004891 communication Methods 0.000 description 5
- 239000000243 solution Substances 0.000 description 5
- 238000003780 insertion Methods 0.000 description 4
- 230000037431 insertion Effects 0.000 description 4
- 238000011109 contamination Methods 0.000 description 3
- 238000013461 design Methods 0.000 description 3
- 239000011780 sodium chloride Substances 0.000 description 3
- 238000000926 separation method Methods 0.000 description 2
- 238000012546 transfer Methods 0.000 description 2
- 239000002699 waste material Substances 0.000 description 2
- HTTJABKRGRZYRN-UHFFFAOYSA-N Heparin Chemical compound OC1C(NC(=O)C)C(O)OC(COS(O)(=O)=O)C1OC1C(OS(O)(=O)=O)C(O)C(OC2C(C(OS(O)(=O)=O)C(OC3C(C(O)C(O)C(O3)C(O)=O)OS(O)(=O)=O)C(CO)O2)NS(O)(=O)=O)C(C(O)=O)O1 HTTJABKRGRZYRN-UHFFFAOYSA-N 0.000 description 1
- 238000013459 approach Methods 0.000 description 1
- 230000009286 beneficial effect Effects 0.000 description 1
- 238000010586 diagram Methods 0.000 description 1
- 238000006073 displacement reaction Methods 0.000 description 1
- 238000011010 flushing procedure Methods 0.000 description 1
- 229960002897 heparin Drugs 0.000 description 1
- 229920000669 heparin Polymers 0.000 description 1
- 238000006467 substitution reaction Methods 0.000 description 1
- 210000003462 vein Anatomy 0.000 description 1
Images
Landscapes
- Infusion, Injection, And Reservoir Apparatuses (AREA)
- Medical Preparation Storing Or Oral Administration Devices (AREA)
Abstract
本实用新型涉及一种输血套件,包括血袋和用于输血的输血器,血袋包括用于储存血液的袋体,袋体设置有连接管,连接管内设置有用于封闭连接管的隔膜,连接管外设置有外螺纹;输血器包括用于连接血袋的第一连接头及与第一连接头相连通的输液管,第一连接头设置有与外螺纹相适配的内螺纹,连接管或第一连接头内设置有插头,插头的一端为尖状结构,插头内设置有内部流道,通过所述内螺纹与外螺纹的配合,驱动插头沿连接管的长度方向移动,并插入隔膜内,使袋体与输液管的连通;本输血套件,不仅操作方便、安全性高,可以有效防止刺破血袋、降低医护人员被输血器刺伤的风险;而且更便于医护人员在输血前/后输送生理盐水,可以有效避免交叉感染。
Description
技术领域
本实用新型涉及医疗器械技术领域,具体涉及一种输血套件。
背景技术
输血是指将血液通过静脉输注给病人的一种治疗方法,在临床上应用广泛;目前,医院通常采用的是一次性血袋,这种一次性血袋包括袋体,在袋体的上端设置有挂孔,在袋体的下端设置有与袋体相连通的配血管和采血管;在进行输血时,医护人员需要将输液器一端的尖状插头(或针头)插入采血管中,以便与袋体相连通,输液器另一端的留置针、导管或针头连接即可。
然而,在临床操作中,医护人员在将尖状插头采血管的过程中,不便于准确的控制插入力度,非常容易出现插入深度过多,导致刺破血袋的问题,而且在插入的过程中,不便于控制插入的角度,也容易出现插偏而导致血袋破裂的问题,血袋破损后在,整个血袋就只能丢弃,不仅成本高昂,而且会造成血液的大大浪费,亟待解决。
实用新型内容
本实用新型的目的在于改善现有技术中所存在的不足,提供一种结构紧凑的输血套件,不仅操作方便,而且安全性高,可以有效防止刺破血袋、降低医护人员被输血器刺伤的风险。
本实用新型解决其技术问题所采用的技术方案是:
一种输血套件,包括血袋和用于输血的输血器,其中,所述血袋包括用于储存血液的袋体,所述袋体设置有用于连接输血器的连接管,所述连接管与所述袋体相连通,连接管内设置有用于封闭连接管的隔膜,连接管外设置有外螺纹;所述输血器包括用于连接血袋的第一连接头及与所述第一连接头相连通的输液管,所述第一连接头设置有与所述外螺纹相适配的内螺纹,所述连接管或第一连接头内设置有插头,所述插头的一端为尖状结构,插头内设置有内部流道,通过所述内螺纹与外螺纹的配合,驱动插头沿连接管的长度方向移动,并插入隔膜内,使袋体与输液管的连通。在本方案中,通过螺纹实现血袋与输血器的可拆卸连接,且在连接管与第一连接头通过螺纹连接在一起的过程中,使得插头尖状结构的一端逐渐接近并接触隔膜,最终刺穿隔膜,使得袋体与输液管通过设置于插头的内部流道相互连通,以便血液顺利进入输血器内;采用这样的结构设计,使得在连接输血管路的过程中,医护人员可以通过螺旋的方式使得输血器的插头与袋体连通,从而解决现有技术中,不便于准确控制插入力度,容易刺破血袋的问题,而由于连接管上外螺纹的长度及第一连接头上内螺纹的长度有限,使得在二者螺旋连接的过程中,驱动插头沿连接管长度方向的移动距离有限且为定值,且可以为插头的移动起到良好的导向作用,确保插头沿连接管长度方向移动,从而有效避免现有技术中,不便于控制插入的角度,容易出现插偏而导致血袋破裂的问题。
优选的,所述连接管为硬质管道。以便连接输血器。
优选的,所述隔膜为橡胶制成。具有一定的弹性,既可以使插头顺利的从隔膜的一侧插入到另一侧,实现隔膜作用两侧的连通,而且在拔出插头后,可以在弹力的作用下,自动封闭由插头所造成的插入孔,从而避免袋体内的血液流出。
一种方案中,所述第一连接头的一端设置有螺纹孔,另一端设置有内部通道,并与所述输液管相连,所述插头设置于所述螺纹孔内,并与所述内部通道相连通,所述内螺纹设置于所述螺纹孔的侧壁。在本方案中,所述插头固定于所述第一连接头内,在利用第一连接头连接血袋的连接管时,第一连接头与连接管通过内螺纹与外螺纹的配合相对旋转,使得插头的尖端逐渐挤压并刺破隔膜,当第一连接头旋转到位后,插头的两端分别位于隔膜的两侧,并利用插头内部的内部流道实现输血器与袋体的连通,以便顺利的进行输血;而在输血完成后,反向转动第一连接头,使得第一连接头与连接管逐渐分离,即可自动驱动插头退出隔膜,从而可以方便的分离袋体与输血器。
另一种方案中,所述插头设置于所述连接管内,并位于所述隔膜与连接管的端部之间,且插头与连接管构成移动副,所述第一连接头的一端设置有螺纹孔,另一端设置有内部通道,并与所述输液管相连,所述内螺纹设置于所述螺纹孔的侧壁,且所述内螺纹内还设置有用于推动插头移动的凸起。在本方案中,所述插头活动设置于连接管内,在利用第一连接头连接连接管时,第一连接头与连接管通过内螺纹与外螺纹的配合相对旋转,使得所述凸起接触并推动插头沿连接管的长度方向移动,插头在凸起的作用下逐渐挤压并刺破隔膜,当第一连接头旋转到位后,插头的两端分别位于隔膜的两侧,并利用插头内部的内部流道实现输血器与袋体的连通,以便顺利的进行输血。
为便于插头可以自动退出隔膜,进一步的,还包括复位弹簧,所述连接管内设置有滑道,所述滑道靠近隔膜的一端设置有第一挡块,远离隔膜的一端设置有第二挡块,所述插头远离隔膜的一端设置有滑块,所述滑块设置于所述滑道内,并与滑道构成移动副,所述复位弹簧的两端分别固定于第一挡块和滑块,用于为滑块提供沿第一挡块到第二挡块方向的弹力,所述第一挡块和第二挡块分别用于为滑块提供限位。在连接输血器的过程中,凸起推动滑块向第一挡块的方向移动,驱动复位弹簧压缩,以便在复位弹簧上积蓄弹力,以便在分离输血器和血袋时,随着第一连接头的逐渐退出,插头可以在复位弹簧弹力的作用下沿第一挡块到第二挡块的方向移动,从而使得插头可以自动退出隔膜。
为实现更好的密封效果,优选的,所述凸起为环状结构,所述滑块的端部设置有与所述凸起相适配的环状凹槽,且所述环状凹槽内设置有密封圈。在连接血袋与输血器时,凸起可以卡入所述环状凹槽内,并压紧所述密封圈,达到密封的效果。
为更方便的实现血液和生理盐水的交替输送,避免交叉感染,进一步的,所述输血器还包括第二连接头,所述第一连接头通过第一软管与所述输液管相连,所述第二连接头通过第二软管与所述输液管相连,且所述第一软管和第二软管分别设置有止液夹,所述第二连接头的端部为尖状结构,用于输送生理盐水。以便在输血之前及输血之后,方便、安全的输送生理盐水,可以有效避免交叉感染。
为避免污染连接管,优选的,还包括保护罩,所述保护罩设置有与所述连接管上的外螺纹相适配的内螺纹。保护罩可以利用螺纹连接的方式罩住连接管的端部,从而达到保护连接管,避免连接管被污染的问题。
为避免污染输血器,优选的,还包括外罩,所述第一连接头设置有外螺纹,所述外罩设置有与所述第一连接头上的外螺纹相适配的内螺纹。以便实现螺纹连接。
在更完善的方案中,所述输血器还包括滴壶、流量调节器、药液过滤器以及接头,所述滴壶、流量调节器及药液过滤器依次串联于所述输液管,所述接头设置于所述输液管的端部,用于可拆卸的连接留置针、导管或针头。
与现有技术相比,使用本实用新型提供的一种输血套件,具有以下有益效果:
1、本输血套件,结构紧凑、设计合理,不仅操作方便,而且安全性高,可以有效防止刺破血袋、降低医护人员被输血器刺伤的风险、减少血液资源的浪费。
2、本输血套件,可以在输血之前及输血之后,方便、安全的输送生理盐水,不仅操作更简便,而且可以有效避免交叉感染。
附图说明
为了更清楚地说明本实用新型实施例的技术方案,下面将对实施例中所需要使用的附图作简单地介绍,应当理解,以下附图仅示出了本实用新型的某些实施例,因此不应被看作是对范围的限定,对于本领域普通技术人员来讲,在不付出创造性劳动的前提下,还可以根据这些附图获得其他相关的附图。
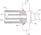
图1为本实用新型实施例1中提供的一种输血套件中,输血器与血袋连接在一起前的局部结构示意图。
图2为本实用新型实施例1中提供的一种输血套件中,输血器与血袋连接在一起后的局部结构示意图。
图3为本实用新型实施例1中提供的一种输血套件中,输血器的结构示意图。
图4为本实用新型实施例2中提供的一种输血套件中,血袋的局部结构示意图。
图5为本实用新型实施例2中提供的一种输血套件中,输血器的局部结构示意图。
图6为图4的右视图。
图7为本实用新型实施例2中提供的一种输血套件中,输血器与血袋连接在一起后的局部结构示意图。
图中标记说明
袋体101、连接管102、外螺纹103、隔膜104、耳片105、第一挡块106、第二挡块107、滑道108、复位弹簧109
第一连接头201、内螺纹202、输液管203、内部通道204、外罩205、第一软管206、凸起207
插头301、内部流道302、滑块303、环状凹槽304、密封圈305
第二连接头401、止液夹402、滴壶403、流量调节器404、药液过滤器405、接头406、第二软管407。
具体实施方式
下面将结合本实用新型实施例中附图,对本实用新型实施例中的技术方案进行清楚、完整地描述,显然,所描述的实施例仅仅是本实用新型一部分实施例,而不是全部的实施例。通常在此处附图中描述和示出的本实用新型实施例的组件可以以各种不同的配置来布置和设计。因此,以下对在附图中提供的本实用新型的实施例的详细描述并非旨在限制要求保护的本实用新型的范围,而是仅仅表示本实用新型的选定实施例。基于本实用新型的实施例,本领域技术人员在没有做出创造性劳动的前提下所获得的所有其他实施例,都属于本实用新型保护的范围。
实施例1
请参阅图1、图2及图3,本实施例中提供了一种输血套件,包括血袋和用于输血的输血器,其中,所述血袋包括用于储存血液的袋体101,所述袋体101设置有用于连接输血器的连接管102,所述连接管102与所述袋体101相连通,连接管102内设置有用于封闭连接管102的隔膜104,连接管102外设置有外螺纹103;所述输血器包括用于连接血袋的第一连接头201及与所述第一连接头201相连通的输液管203,所述第一连接头201设置有与所述外螺纹103相适配的内螺纹202,所述连接管102或第一连接头201内设置有插头301,所述插头301的一端为尖状结构,插头301内设置有内部流道302,通过所述内螺纹202与外螺纹103的配合,驱动插头301沿连接管102的长度方向移动,并插入隔膜104内,使袋体101与输液管203的连通。在本实施例中,通过螺纹实现血袋与输血器的可拆卸连接,且在连接管102与第一连接头201通过螺纹连接在一起的过程中,使得插头301尖状结构的一端逐渐接近并接触隔膜104,最终刺穿隔膜104,使得袋体101与输液管203通过设置于插头301的内部流道302相互连通,以便血液顺利进入输血器内;采用这样的结构设计,使得在连接输血管路的过程中,医护人员可以通过螺旋的方式使得输血器的插头301与袋体101连通,从而解决现有技术中,不便于准确控制插入力度,容易刺破血袋的问题,而由于连接管102上外螺纹103的长度及第一连接头201上内螺纹202的长度有限,使得在二者螺旋连接的过程中,驱动插头301沿连接管102长度方向的移动距离有限且为定值,且可以为插头301的移动起到良好的导向作用,确保插头301沿连接管102长度方向移动,从而有效避免现有技术中,不便于控制插入的角度,容易出现插偏而导致血袋破裂的问题。
作为优选,所述连接管102采用的是硬质管道,以便连接输血器;所述隔膜104采用橡胶制成;具有一定的弹性,既可以使插头301顺利的从隔膜104的一侧插入到另一侧,实现隔膜104作用两侧的连通,而且在拔出插头301后,可以在弹力的作用下,自动封闭由插头301所造成的插入孔,从而避免袋体101内的血液流出。
如图1及图2所示,作为举例,在本实施例所提供的一种方案中,所述第一连接头201的一端设置有螺纹孔,另一端设置有内部通道204,并与所述输液管203相连,所述插头301设置于所述螺纹孔内,并与所述内部通道204相连通,所述内螺纹202设置于所述螺纹孔的侧壁。在本方案中,所述插头301固定于所述第一连接头201内,在利用第一连接头201连接血袋的连接管102时,第一连接头201与连接管102通过内螺纹202与外螺纹103的配合相对旋转,使得插头301的尖端逐渐挤压并刺破隔膜104,当第一连接头201旋转到位后,插头301的两端分别位于隔膜104的两侧,并利用插头301内部的内部流道302实现输血器与袋体101的连通,以便顺利的进行输血;而在输血完成后,反向转动第一连接头201,使得第一连接头201与连接管102逐渐分离,即可自动驱动插头301退出隔膜104,从而可以方便的分离袋体101与输血器。
为便于医护人员在操作过程中着力,在进一步的方案中,如图1或图2所示,所述连接管102和第一连接头201的外侧分别设置有耳片105,所述医护人员可以通过握持耳片105驱动第一连接头201相对于连接管102转动,从而更方便、省力的实现连接。
在本实施例中,所述内部流道302可以贯穿插头301的两端,也可以一端贯穿插头301的一端,另一端贯穿插头301的侧面,如图2所示,可以有效防堵。
为避免污染连接管102,作为优选,还包括保护罩,所述保护罩设置有与所述连接管102上的外螺纹103相适配的内螺纹202;保护罩可以利用螺纹连接的方式罩住连接管102的端部,从而达到保护连接管102,避免连接管102被污染的问题。
同理,为避免污染输血器,作为优选,还包括外罩205,如图3所示,所述第一连接头201设置有外螺纹103,所述外罩205设置有与所述第一连接头201上的外螺纹103相适配的内螺纹202。以便采用螺纹连接的方式罩住第一连接头201的端部,达到保护第一连接头201,避免第一连接头201被污染的问题。
在更完善的方案中,所述输血器还包括滴壶402、流量调节器404、药液过滤器405以及接头406,所述滴壶402、流量调节器403及药液过滤器404依次串联于所述输液管203,所述接头406设置于所述输液管203的端部,用于可拆卸的连接留置针、导管或针头,所述接头406可以是锥形接头、螺旋接头等。
在更完善的方案中,所述血袋还设置有用于挂持的挂孔及与袋体101相连通的配血管等,这里不再一一举例说明。
实施例2
本实施例2与上述实施例1的主要区别在于,在实施例所提供的输血套件中,所述插头301设置于所述连接管102内,并位于所述隔膜104与连接管102的端部之间,且插头301与连接管102构成移动副,如图4-图7所示,所述第一连接头201的一端设置有螺纹孔,另一端设置有内部通道204,并与所述输液管203相连,所述内螺纹202设置于所述螺纹孔的侧壁,且所述内螺纹202内还设置有用于推动插头301移动的凸起207。在本方案中,所述插头301活动设置于连接管102内,在利用第一连接头201连接连接管102时,第一连接头201与连接管102通过内螺纹202与外螺纹103的配合相对旋转,使得所述凸起207接触并推动插头301沿连接管102的长度方向移动,插头301在凸起207的作用下逐渐挤压并刺破隔膜104,当第一连接头201旋转到位后,插头301的两端分别位于隔膜104的两侧,并利用插头301内部的内部流道302实现输血器与袋体101的连通,以便顺利的进行输血。
如图4及图7所示,为便于插头301可以自动退出隔膜104,在进一步的方案中,本输血套件还包括复位弹簧109,所述连接管102内设置有滑道108,所述滑道108靠近隔膜104的一端设置有第一挡块106,远离隔膜104的一端设置有第二挡块107,所述插头301远离隔膜104的一端设置有滑块303,所述滑块303设置于所述滑道108内,并与滑道108构成移动副,所述复位弹簧109的两端分别固定于第一挡块106和滑块303,用于为滑块303提供沿第一挡块106到第二挡块107方向的弹力,所述第一挡块106和第二挡块107分别用于为滑块303提供限位。在连接输血器的过程中,凸起207推动滑块303向第一挡块106的方向移动,驱动复位弹簧109压缩,以便在复位弹簧109上积蓄弹力,以便在分离输血器和血袋时,随着第一连接头201的逐渐退出,插头301可以在复位弹簧109弹力的作用下沿第一挡块106到第二挡块107的方向移动,从而使得插头301可以自动退出隔膜104。
如图4及图7所示,为实现更好的密封效果,作为一种优选的实施方式,所述凸起207可以采用环状结构(圆筒形结构),所述滑块303的端部设置有与所述凸起207相适配的环状凹槽304,且所述环状凹槽304内设置有密封圈305,如橡胶密封圈305等;在连接血袋与输血器时,凸起207可以卡入所述环状凹槽304内,并压紧所述密封圈305,如图7所示,从而达到密封的效果。
实施例3
目前,临床上在给病人进行输血时,需要先输生理盐水,再换上血袋输送血液,血液灌输完毕后,需再次换生理盐水袋冲洗输液管203内的血液,这样操作起来十分麻烦、费时费力,且容易造成交叉感染。为更方便的实现血液和生理盐水的交替输送,避免交叉感染,在本实施例所提供的输血套件中,所述输血器还包括第二连接头401,如图3所示,所述第一连接头201通过第一软管206与所述输液管203相连,所述第二连接头401通过第二软管407与所述输液管203相连,且所述第一软管206和第二软管407分别设置有止液夹,所述第二连接头401的端部为尖状结构,以便插入生理盐水袋或瓶中,用于输送生理盐水;从而使得,在输血之前及输血之后,医护人员可以通过调节止液夹的状态,方便、安全的输送生理盐水,可以有效避免交叉感染。
此外,当第一软管206有残余血液,而需要输注两袋及以上的血液时,可以取下第一软管206上的血袋,关闭流量调节器404,然后开启第一软管206上的止液夹402和第二软管407上的止液夹402,使得生理盐水可以经由第二软管407到第一软管206,并经由第一软管206排出,从而达到冲洗第一软管206的目的,非常的方便。
可以理解,所述止液夹可以采用现有技术中常用的止液夹,这里不再举例说明。
以上所述,仅为本实用新型的具体实施方式,但本实用新型的保护范围并不局限于此,任何熟悉本技术领域的技术人员在本实用新型揭露的技术范围内,可轻易想到变化或替换,都应涵盖在本实用新型的保护范围之内。
Claims (10)
1.一种输血套件,其特征在于,包括血袋和用于输血的输血器,其中,所述血袋包括用于储存血液的袋体,所述袋体设置有用于连接输血器的连接管,所述连接管与所述袋体相连通,连接管内设置有用于封闭连接管的隔膜,连接管外设置有外螺纹;所述输血器包括用于连接血袋的第一连接头及与所述第一连接头相连通的输液管,所述第一连接头设置有与所述外螺纹相适配的内螺纹,所述连接管或第一连接头内设置有插头,所述插头的一端为尖状结构,插头内设置有内部流道,通过所述内螺纹与外螺纹的配合,驱动插头沿连接管的长度方向移动,并插入隔膜内,使袋体与输液管的连通。
2.根据权利要求1所述的输血套件,其特征在于,所述连接管为硬质管道。
3.根据权利要求1所述的输血套件,其特征在于,所述隔膜为橡胶制成。
4.根据权利要求1所述的输血套件,其特征在于,所述第一连接头的一端设置有螺纹孔,另一端设置有内部通道,并与所述输液管相连,所述插头设置于所述螺纹孔内,并与所述内部通道相连通,所述内螺纹设置于所述螺纹孔的侧壁。
5.根据权利要求1所述的输血套件,其特征在于,所述插头设置于所述连接管内,并位于所述隔膜与连接管的端部之间,且插头与连接管构成移动副,所述第一连接头的一端设置有螺纹孔,另一端设置有内部通道,并与所述输液管相连,所述内螺纹设置于所述螺纹孔的侧壁,且所述内螺纹内还设置有用于推动插头移动的凸起。
6.根据权利要求5所述的输血套件,其特征在于,还包括复位弹簧,所述连接管内设置有滑道,所述滑道靠近隔膜的一端设置有第一挡块,远离隔膜的一端设置有第二挡块,所述插头远离隔膜的一端设置有滑块,所述滑块设置于所述滑道内,并与滑道构成移动副,所述复位弹簧的两端分别固定于第一挡块和滑块,用于为滑块提供沿第一挡块到第二挡块方向的弹力,所述第一挡块和第二挡块分别用于为滑块提供限位。
7.根据权利要求6所述的输血套件,其特征在于,所述凸起为环状结构,所述滑块的端部设置有与所述凸起相适配的环状凹槽,且所述环状凹槽内设置有密封圈。
8.根据权利要求1-7任一所述的输血套件,其特征在于,所述输血器还包括第二连接头,所述第一连接头通过第一软管与所述输液管相连,所述第二连接头通过第二软管与所述输液管相连,且所述第一软管和第二软管分别设置有止液夹,所述第二连接头的端部为尖状结构,用于输送生理盐水。
9.根据权利要求8所述的输血套件,其特征在于,还包括保护罩,所述保护罩设置有与所述连接管上的外螺纹相适配的内螺纹;还包括外罩,所述第一连接头设置有外螺纹,所述外罩设置有与所述第一连接头上的外螺纹相适配的内螺纹。
10.根据权利要求8所述的输血套件,其特征在于,所述输血器还包括滴壶、流量调节器、药液过滤器以及接头,所述滴壶、流量调节器及药液过滤器依次串联于所述输液管,所述接头设置于所述输液管的端部,用于可拆卸的连接留置针、导管或针头。
Priority Applications (1)
| Application Number | Priority Date | Filing Date | Title |
|---|---|---|---|
| CN202020517072.4U CN213347170U (zh) | 2020-04-10 | 2020-04-10 | 一种输血套件 |
Applications Claiming Priority (1)
| Application Number | Priority Date | Filing Date | Title |
|---|---|---|---|
| CN202020517072.4U CN213347170U (zh) | 2020-04-10 | 2020-04-10 | 一种输血套件 |
Publications (1)
| Publication Number | Publication Date |
|---|---|
| CN213347170U true CN213347170U (zh) | 2021-06-04 |
Family
ID=76125159
Family Applications (1)
| Application Number | Title | Priority Date | Filing Date |
|---|---|---|---|
| CN202020517072.4U Active CN213347170U (zh) | 2020-04-10 | 2020-04-10 | 一种输血套件 |
Country Status (1)
| Country | Link |
|---|---|
| CN (1) | CN213347170U (zh) |
Cited By (1)
| Publication number | Priority date | Publication date | Assignee | Title |
|---|---|---|---|---|
| CN113350591A (zh) * | 2021-06-17 | 2021-09-07 | 深圳市第二人民医院(深圳市转化医学研究院) | 一种新型血液净化设备液袋连接管 |
-
2020
- 2020-04-10 CN CN202020517072.4U patent/CN213347170U/zh active Active
Cited By (2)
| Publication number | Priority date | Publication date | Assignee | Title |
|---|---|---|---|---|
| CN113350591A (zh) * | 2021-06-17 | 2021-09-07 | 深圳市第二人民医院(深圳市转化医学研究院) | 一种新型血液净化设备液袋连接管 |
| CN113350591B (zh) * | 2021-06-17 | 2025-10-31 | 深圳市第二人民医院(深圳市转化医学研究院) | 一种血液置换设备液袋连接管 |
Similar Documents
| Publication | Publication Date | Title |
|---|---|---|
| US5352205A (en) | Bloodless insertion catheter assembly | |
| KR101618039B1 (ko) | 수축가능 캐뉼러를 구비한 유체 유동 제어 장치 | |
| CN204181960U (zh) | 一种留置针 | |
| CN203647794U (zh) | 安全型采血输液留置针组件 | |
| JPS62167571A (ja) | 液体の採取又は注入装置 | |
| CN213347170U (zh) | 一种输血套件 | |
| CN103691025A (zh) | 无针连接件式输液器 | |
| CN209270481U (zh) | 输液器 | |
| CN216963035U (zh) | 一种电动注射器用穿刺式吸药装置 | |
| WO2015027427A1 (zh) | 一种用于穿刺肝素帽的设备及血管通路系统 | |
| CN101015721A (zh) | 可防止血液外流的带抽血口的动静脉留置针 | |
| CN202637609U (zh) | 静脉留置针 | |
| CN205924041U (zh) | 密闭式采血输液接头改进装置 | |
| CN204307149U (zh) | 密闭式正压留置针 | |
| CN205697804U (zh) | 密闭式采血输液系统 | |
| CN216169199U (zh) | 一种免封管防回血静脉留置针 | |
| CN105832544A (zh) | 配药过滤连接器 | |
| CN210933104U (zh) | 一种一次性双重密闭式墨菲氏滴管输液器 | |
| CN207532605U (zh) | 一种新型防刺伤精密过滤输液器 | |
| CN109481783B (zh) | 安全型静脉留置针 | |
| JP2002248166A (ja) | 薬液注入具 | |
| CN205379514U (zh) | 一种缓释正压装置及其留置针 | |
| CN216091700U (zh) | 留置针式输液器 | |
| CN205252202U (zh) | 化疗专用输液器 | |
| CN217592871U (zh) | 一种动静脉内瘘安全采血器 |
Legal Events
| Date | Code | Title | Description |
|---|---|---|---|
| GR01 | Patent grant | ||
| GR01 | Patent grant |