CN213103593U - a dust removal device - Google Patents

a dust removal device Download PDF

Info

Publication number
CN213103593U
CN213103593U CN202021035472.8U CN202021035472U CN213103593U CN 213103593 U CN213103593 U CN 213103593U CN 202021035472 U CN202021035472 U CN 202021035472U CN 213103593 U CN213103593 U CN 213103593U
Authority
CN
China
Prior art keywords
dust
pipe
fixedly connected
water tank
dust removal
Prior art date
Legal status (The legal status is an assumption and is not a legal conclusion. Google has not performed a legal analysis and makes no representation as to the accuracy of the status listed.)
Active
Application number
CN202021035472.8U
Other languages
Chinese (zh)
Inventor
夏定胜
Current Assignee (The listed assignees may be inaccurate. Google has not performed a legal analysis and makes no representation or warranty as to the accuracy of the list.)
Anhui Shengnong Agricultural Group Co ltd
Original Assignee
Anhui Shengnong Agricultural Group Co ltd
Priority date (The priority date is an assumption and is not a legal conclusion. Google has not performed a legal analysis and makes no representation as to the accuracy of the date listed.)
Filing date
Publication date
Application filed by Anhui Shengnong Agricultural Group Co ltd filed Critical Anhui Shengnong Agricultural Group Co ltd
Priority to CN202021035472.8U priority Critical patent/CN213103593U/en
Application granted granted Critical
Publication of CN213103593U publication Critical patent/CN213103593U/en
Active legal-status Critical Current
Anticipated expiration legal-status Critical

Links

Images

Landscapes

  • Filtration Of Liquid (AREA)

Abstract

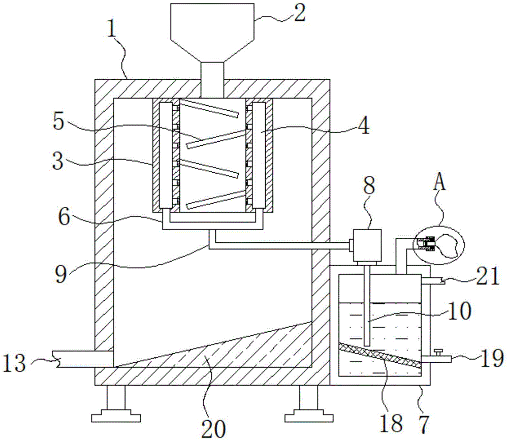
本实用新型涉及大米除尘技术领域,且公开了一种除尘装置,包括除尘箱,除尘箱顶部中心处固定连通有落米斗,除尘箱内部的上表面固定连接有除尘筒,且除尘筒侧壁上开设有环形腔,环形腔的内圈侧壁上开设有多个均匀分布的吸尘口,除尘筒的内壁从上至下依次固定连接多个倾斜交错分布的镂空板,环形腔的底部固定连通有U型管,除尘箱靠近底部的外侧壁上固定连接有水箱,水箱的顶部固定安装有吸尘泵,吸尘泵的输入端固定连通有吸尘管,且吸尘管的另一端与U型管固定连通,吸尘泵的输出端固定连通有排尘管。本实用新型方便对大米进行充分彻底的除尘,而且方便对去除的灰尘进行集中处理,避免灰尘散至空气中污染环境。

Figure 202021035472

The utility model relates to the technical field of rice dedusting, and discloses a dedusting device, comprising a dedusting box, a rice falling bucket is fixedly connected to the top center of the dedusting box, a dedusting cylinder is fixedly connected to the upper surface of the inner part of the dedusting box, and a side wall of the dedusting cylinder is fixedly connected. There is an annular cavity on the top, and a plurality of evenly distributed dust suction ports are opened on the inner ring side wall of the annular cavity. A U-shaped pipe is connected, a water tank is fixedly connected to the outer side wall of the dust box near the bottom, a vacuum pump is fixedly installed on the top of the water tank, and the input end of the vacuum pump is fixedly connected with a vacuum pipe, and the other end of the vacuum pipe is connected with the vacuum cleaner. The U-shaped pipe is fixedly connected, and the output end of the vacuum pump is fixedly connected with a dust discharge pipe. The utility model is convenient for fully and thoroughly dedusting the rice, and convenient for centralized treatment of the removed dust, so as to avoid the dust being scattered into the air and polluting the environment.

Figure 202021035472

Description

Dust removing device
Technical Field
The utility model relates to a rice dust removal technical field especially relates to a dust collector.
Background
The rice is one of the common staple foods in eating, and a large amount of dust is mixed in the rice in the processing process, especially the mixed dust cannot be thoroughly cleaned, so that the dust in the rice needs to be removed, the cleanness of the rice is ensured, and the edible mouthfeel of the rice is improved.
But current rice dust collector is when using, and not only inconvenient fully thoroughly removes dust to the rice, owing to do not set up dust collection device moreover, the dust is in the air of mostly direct discharge, easily causes the pollution to the air.
SUMMERY OF THE UTILITY MODEL
The utility model aims at solving the problems that the dust removal of the rice dust removal device in the prior art is insufficient and the removed dust cannot be centralized.
In order to achieve the above purpose, the utility model adopts the following technical scheme:
a dust removal device comprises a dust removal box, wherein a rice dropping hopper is fixedly communicated with the center of the top of the dust removal box, a dust removal barrel is fixedly connected to the upper surface of the inner part of the dust removal box, a ring cavity is formed in the side wall of the dust removal barrel, a plurality of dust suction ports which are uniformly distributed are formed in the side wall of the inner ring of the ring cavity, a plurality of obliquely and alternately distributed hollowed-out plates are sequentially and fixedly connected with the inner wall of the dust removal barrel from top to bottom, a U-shaped pipe is fixedly communicated with the bottom of the ring cavity, a water tank is fixedly connected to the outer side wall, close to the bottom, of the dust removal box, a dust suction pump is fixedly installed at the top of the water tank, a dust suction pipe is fixedly communicated with the input end of the dust suction pump, the other end of the dust suction pipe is fixedly communicated with the U-shaped pipe, a dust discharge pipe is fixedly communicated, the other end of the L-shaped pipe is connected with a dust filtering bag through a sealing butt joint mechanism, and a discharging pipe is fixedly communicated with the side wall of the dust removing box close to the bottom;
the sealing butt joint mechanism comprises an insertion pipe inserted in the L-shaped pipe, a sealing ring is fixedly sleeved on the outer pipe wall of the insertion pipe, one end, far away from the sealing ring, of the insertion pipe is fixedly communicated with the dust filter bag, external threads are arranged on the outer pipe wall of the end portion of the L-shaped pipe, the end portion of the L-shaped pipe is in threaded connection with a matched threaded cylinder, a bearing is fixedly connected in the threaded cylinder, and the inner ring of the bearing is fixedly sleeved with the outer pipe wall of the insertion pipe.
Preferably, a filter screen which is obliquely arranged is fixedly arranged in the water tank, a drain pipe is fixedly communicated with the position of the side wall of the water tank, which corresponds to the lower end of the filter screen, and a valve is arranged on the drain pipe.
Preferably, a matched rice blocking net is fixedly installed in a dust suction port of the annular cavity.
Preferably, a material guide plate is fixedly mounted on the lower surface inside the dust removing box, and the lower end of the material guide plate corresponds to the pipe opening of the discharge pipe.
Preferably, a water inlet pipe is fixedly communicated with the side wall of the water tank close to the top.
Compared with the prior art, the utility model provides a dust collector possesses following beneficial effect:
the dust removal device comprises a dust removal box, a rice falling bucket, a dust removal barrel, an annular cavity, hollowed-out plates, a U-shaped pipe, a water tank, a dust suction pump, a dust suction pipe, a dust discharge pipe, an L-shaped pipe, a sealing butt joint mechanism and a dust filter bag, wherein rice flows into the dust removal box through the rice falling bucket and flows down along a plurality of hollowed-out plates on the inner wall of the dust removal barrel, the dust suction pump is started, dust in the rice is conveniently adsorbed through a plurality of dust suction ports on the annular cavity, the falling time of the rice is delayed by the hollowed-out plates, so that the rice is conveniently and completely dedusted, the dust is introduced into the water tank through the U-shaped pipe, the dust suction pipe and the dust discharge pipe, the dust is conveniently absorbed through water in the water tank, gas after washing is finally discharged through the L-shaped pipe, the dust filter bag is convenient for further filtering the gas, the dust is prevented from being scattered into the air, and the sealing butt, thereby conveniently handle the dust that collects in the dirt filter bag as required.
The part that does not relate to among the device all is the same with prior art or can adopt prior art to realize, the utility model discloses the convenience carries out abundant thorough dust removal to the rice, and the convenience carries out centralized processing to the dust of getting rid of moreover, avoids the dust to scatter to polluted environment in the air.
Drawings
Fig. 1 is a schematic structural view of a dust removing device provided by the present invention;
FIG. 2 is an enlarged view of portion A of FIG. 1;
fig. 3 is a schematic structural view of the hollow-out plate of the dust removing device provided by the utility model.
In the figure: the device comprises a dust removal box 1, a rice dropping bucket 2, a dust removal barrel 3, an annular cavity 4, a hollow-out plate 5, a U-shaped pipe 6, a water tank 7, a dust suction pump 8, a dust suction pipe 9, a dust exhaust pipe 10, an L-shaped pipe 11, a dust filter bag 12, a discharge pipe 13, an insertion pipe 14, a sealing ring 15, a threaded barrel 16, a bearing 17, a filter screen 18, a blow-off pipe 19, a guide plate 20 and a water inlet pipe 21.
Detailed Description
The technical solutions in the embodiments of the present invention will be described clearly and completely with reference to the accompanying drawings in the embodiments of the present invention, and it is obvious that the described embodiments are only some embodiments of the present invention, not all embodiments.
In the description of the present invention, it is to be understood that the terms "upper", "lower", "front", "rear", "left", "right", "top", "bottom", "inner", "outer", and the like indicate orientations or positional relationships based on the orientations or positional relationships shown in the drawings, and are only for convenience of description and simplicity of description, and do not indicate or imply that the device or element being referred to must have a particular orientation, be constructed and operated in a particular orientation, and therefore, should not be construed as limiting the present invention.
Referring to fig. 1-3, a dust removing device comprises a dust removing box 1, a rice dropping bucket 2 is fixedly communicated at the center of the top of the dust removing box 1, a dust removing cylinder 3 is fixedly connected to the upper surface of the inner part of the dust removing box 1, a ring cavity 4 is arranged on the side wall of the dust removing cylinder 3, a plurality of dust collecting ports which are uniformly distributed are arranged on the side wall of the inner ring of the ring cavity 4, a plurality of obliquely and alternately distributed hollow plates 5 are sequentially and fixedly connected to the inner wall of the dust removing cylinder 3 from top to bottom, a U-shaped pipe 6 is fixedly communicated with the bottom of the ring cavity 4, a water tank 7 is fixedly connected to the outer side wall of the dust removing box 1 close to the bottom, a dust collecting pump 8 is fixedly arranged at the top of the water tank 7, a dust collecting pipe 9 is fixedly communicated with the input end of the dust collecting pump 8, the other end of the dust collecting pipe 9 is fixedly communicated, the top of the water tank 7 is fixedly communicated with an L-shaped pipe 11, the other end of the L-shaped pipe 11 is connected with a dust filtering bag 12 through a sealing butt joint mechanism, and the side wall of the dust removing box 1 close to the bottom is fixedly communicated with a discharge pipe 13;
the sealed butt-joint mechanism comprises an insertion pipe 14 inserted in an L-shaped pipe 11, a sealing ring 15 is fixedly sleeved on the outer pipe wall of the insertion pipe 14, one end, far away from the sealing ring 15, of the insertion pipe 14 is fixedly communicated with a dust filtering bag 12, external threads are arranged on the outer pipe wall of the end part of the L-shaped pipe 11, a matched threaded barrel 16 is connected with the end part of the L-shaped pipe 11 in a threaded manner, a bearing 17 is fixedly connected in the threaded barrel 16, an inner ring of the bearing 17 is fixedly sleeved with the outer pipe wall of the insertion pipe 14, rice flows into the dust removing box 1 through the rice falling hopper 2 and falls along the plurality of hollow plates 5 on the inner wall of the dust removing barrel 3, a dust collecting pump 8 is started, dust in the rice is conveniently adsorbed through a plurality of dust collecting ports on the annular cavity 4, the plurality of hollow plates 5 delay the falling time of the rice, so that the rice is conveniently and thoroughly and fully removed, absorb the dust through the water convenience in the water tank 7, gas after the washing is discharged via L type pipe 11 at last, dust filter bag 12 conveniently does further filtration processing to gas, avoid the dust to scatter to the air in, rotate threaded cylinder 16, conveniently drive intubate 14 through bearing 17 and slide along L type pipe 11, thereby conveniently dismantle dust filter bag 12, conveniently handle the dust of collecting in dust filter bag 12, insert intubate 14 in L type pipe 11, the leakproofness of grafting department can be guaranteed to sealing ring 15, it makes it and L type pipe 11 threaded connection to rotate threaded cylinder 16, can accomplish dust filter bag 12's installation.
The filter screen 18 that the slope set up is installed to fixed mounting in the water tank 7, and the fixed intercommunication in position department that the lateral wall of water tank 7 corresponds the filter screen 18 low side has blow off pipe 19, and installs the valve on the blow off pipe 19, opens the valve, through blow off pipe 19 conveniently with the impurity discharge on the filter screen 18.
A matched rice blocking net is fixedly arranged in the dust absorption port of the annular cavity 4, so that rice is prevented from entering the annular cavity 4.
The lower surface fixed mounting of dust removal case 1 inside has stock guide 20, and the low end of stock guide 20 is corresponding with the mouth of pipe of discharging pipe 13, and the rice after the convenient dust removal can thoroughly flow out.
A water inlet pipe 21 is fixedly communicated with the side wall of the water tank 7 close to the top, so that water can be supplemented into the water tank 7 conveniently.
In the utility model, rice flows into the dust removing box 1 through the rice dropping bucket 2, falls along the hollow plates 5 on the inner wall of the dust removing barrel 3, the dust suction pump 8 is started, dust in the rice is conveniently adsorbed through the dust suction ports on the annular cavity 4, the falling time of the rice is delayed by the hollow plates 5, thereby the rice is conveniently and thoroughly dedusted, the dust is introduced into the water tank 7 through the U-shaped pipe 6, the dust suction pipe 9 and the dust exhaust pipe 10, the dust is conveniently absorbed through water in the water tank 7, gas after washing is finally exhausted through the L-shaped pipe 11, the gas is conveniently filtered by the dust filtering bag 12, the dust is prevented from being dispersed into the air, the threaded barrel 16 is rotated, the inserting pipe 14 is conveniently driven to slide along the L-shaped pipe 11 through the bearing 17, thereby the dust filtering bag 12 is conveniently disassembled, the dust collected in the dust filtering bag 12 is conveniently treated, the insertion pipe 14 is inserted into the L-shaped pipe 11, the sealing ring 15 can ensure the sealing performance of the insertion position, and the threaded cylinder 16 is rotated to be in threaded connection with the L-shaped pipe 11, so that the dust filter bag 12 can be installed.
The above, only be the concrete implementation of the preferred embodiment of the present invention, but the protection scope of the present invention is not limited thereto, and any person skilled in the art is in the technical scope of the present invention, according to the technical solution of the present invention and the utility model, the concept of which is equivalent to replace or change, should be covered within the protection scope of the present invention.

Claims (5)

1.一种除尘装置,包括除尘箱(1),其特征在于,所述除尘箱(1)顶部中心处固定连通有落米斗(2),所述除尘箱(1)内部的上表面固定连接有除尘筒(3),且除尘筒(3)侧壁上开设有环形腔(4),所述环形腔(4)的内圈侧壁上开设有多个均匀分布的吸尘口,所述除尘筒(3)的内壁从上至下依次固定连接多个倾斜交错分布的镂空板(5),所述环形腔(4)的底部固定连通有U型管(6),所述除尘箱(1)靠近底部的外侧壁上固定连接有水箱(7),所述水箱(7)的顶部固定安装有吸尘泵(8),所述吸尘泵(8)的输入端固定连通有吸尘管(9),且吸尘管(9)的另一端与U型管(6)固定连通,所述吸尘泵(8)的输出端固定连通有排尘管(10),且排尘管(10)另一端延伸至水箱(7)内腔设置,所述水箱(7)的顶部固定连通有L型管(11),所述L型管(11)的另一端通过密封对接机构连接有滤尘袋(12),所述除尘箱(1)靠近底部的侧壁上固定连通有出料管(13);1. A dedusting device, comprising a dedusting box (1), characterized in that a rice hopper (2) is fixedly connected to the center of the top of the dedusting box (1), and a top surface inside the dedusting box (1) is fixed A dust removal cylinder (3) is connected, and an annular cavity (4) is opened on the side wall of the dust removal cylinder (3), and a plurality of evenly distributed dust suction ports are opened on the inner ring side wall of the annular cavity (4), so The inner wall of the dust removal cylinder (3) is sequentially fixedly connected with a plurality of hollow plates (5) which are distributed in an obliquely staggered manner from top to bottom, the bottom of the annular cavity (4) is fixedly connected with a U-shaped pipe (6), and the dust removal box (1) A water tank (7) is fixedly connected to the outer side wall near the bottom, a suction pump (8) is fixedly installed on the top of the water tank (7), and the input end of the suction pump (8) is fixedly connected with a suction pump (8). A dust pipe (9), and the other end of the dust suction pipe (9) is fixedly connected with the U-shaped pipe (6), and the output end of the dust suction pump (8) is fixedly connected with a dust discharge pipe (10), and the dust discharge The other end of the pipe (10) extends to the inner cavity of the water tank (7), the top of the water tank (7) is fixedly connected with an L-shaped pipe (11), and the other end of the L-shaped pipe (11) is connected by a sealing butt joint mechanism A dust filter bag (12) is provided, and a discharge pipe (13) is fixedly connected to the side wall of the dust box (1) near the bottom; 所述密封对接机构包括插设在L型管(11)内的插管(14),且插管(14)的外管壁上固定套接有密封环(15),所述插管(14)远离密封环(15)的一端与滤尘袋(12)固定连通,所述L型管(11)端部的外管壁上设有外螺纹,且L型管(11)的端部螺纹连接有匹配的螺纹筒(16),所述螺纹筒(16)内固定连接有轴承(17),且轴承(17)的内圈与插管(14)的外管壁固定套接。The sealing and docking mechanism includes an intubation tube (14) inserted into the L-shaped tube (11), and a sealing ring (15) is fixedly sleeved on the outer tube wall of the intubation tube (14). The intubation tube (14) ) one end away from the sealing ring (15) is in fixed communication with the dust filter bag (12). There is a matching threaded cylinder (16), a bearing (17) is fixedly connected in the threaded cylinder (16), and the inner ring of the bearing (17) is fixedly sleeved with the outer pipe wall of the cannula (14). 2.根据权利要求1所述的一种除尘装置,其特征在于,所述水箱(7)内固定安装有倾斜设置的过滤网(18),所述水箱(7)的侧壁对应过滤网(18)低端的位置处固定连通有排污管(19),且排污管(19)上安装有阀门。2 . The dust removal device according to claim 1 , wherein a filter screen ( 18 ) arranged obliquely is fixedly installed in the water tank ( 7 ), and the side wall of the water tank ( 7 ) corresponds to the filter screen ( 2 . 18) A sewage pipe (19) is fixedly connected to the position of the low end, and a valve is installed on the sewage pipe (19). 3.根据权利要求1所述的一种除尘装置,其特征在于,所述环形腔(4)的吸尘口内固定安装有匹配的挡米网。3 . The dust removal device according to claim 1 , wherein a matching rice-blocking net is fixedly installed in the dust suction port of the annular cavity ( 4 ). 4 . 4.根据权利要求1所述的一种除尘装置,其特征在于,所述除尘箱(1)内部的下表面固定安装有导料板(20),且导料板(20)的低端与出料管(13)的管口相对应。4. A dust removal device according to claim 1, characterized in that a material guide plate (20) is fixedly installed on the lower surface inside the dust removal box (1), and the lower end of the material guide plate (20) is connected to the The orifice of the discharge pipe (13) is corresponding. 5.根据权利要求1所述的一种除尘装置,其特征在于,所述水箱(7)靠近顶部的侧壁上固定连通有进水管(21)。5 . The dust removal device according to claim 1 , wherein a water inlet pipe ( 21 ) is fixedly connected to the side wall of the water tank ( 7 ) near the top. 6 .
CN202021035472.8U 2020-06-08 2020-06-08 a dust removal device Active CN213103593U (en)

Priority Applications (1)

Application Number Priority Date Filing Date Title
CN202021035472.8U CN213103593U (en) 2020-06-08 2020-06-08 a dust removal device

Applications Claiming Priority (1)

Application Number Priority Date Filing Date Title
CN202021035472.8U CN213103593U (en) 2020-06-08 2020-06-08 a dust removal device

Publications (1)

Publication Number Publication Date
CN213103593U true CN213103593U (en) 2021-05-04

Family

ID=75671328

Family Applications (1)

Application Number Title Priority Date Filing Date
CN202021035472.8U Active CN213103593U (en) 2020-06-08 2020-06-08 a dust removal device

Country Status (1)

Country Link
CN (1) CN213103593U (en)

Cited By (1)

* Cited by examiner, † Cited by third party
Publication number Priority date Publication date Assignee Title
CN113414345A (en) * 2021-06-23 2021-09-21 晋江鹏发机械有限公司 Resin sand regeneration system and regeneration method

Cited By (1)

* Cited by examiner, † Cited by third party
Publication number Priority date Publication date Assignee Title
CN113414345A (en) * 2021-06-23 2021-09-21 晋江鹏发机械有限公司 Resin sand regeneration system and regeneration method

Similar Documents

Publication Publication Date Title
CN214581654U (en) An indoor air pollution purification device
CN112657304A (en) Energy-saving air purification equipment and use method thereof
CN112675648B (en) Energy-saving air purification equipment and use method thereof
CN106492575B (en) A kind of efficient central dust-removing system
CN213103593U (en) a dust removal device
CN211676982U (en) Coal dressing dust collector
CN218130875U (en) Combined bag-type dust collector
CN211438707U (en) Environment-friendly welding machine
CN112460662A (en) Self-cleaning range hood
CN217168090U (en) Dust collection cabinet
CN208599452U (en) A kind of dried-air drier that can remove chalk dust removing
CN217431139U (en) Cloth bag dust removal equipment for industrial waste gas treatment
CN209501192U (en) Furniture processes dust-extraction unit
CN208033035U (en) A kind of material dust-extraction unit
CN222239255U (en) A dust cleaning device for bag type dust collector
CN217041815U (en) Water filtering dust removal device capable of self-cleaning
CN216537618U (en) Construction site air dust removal purification equipment
CN219376581U (en) Cotton dust collecting device
CN211753621U (en) Self-cleaning formula cement manufacture smoke and dust filter tube
CN219922371U (en) Novel dust collector
CN216537611U (en) Flue gas filters dust collector for chemical industry
CN109464875A (en) Furniture processes dust-extraction unit
CN216481158U (en) Constant temperature centrifugal oil fume purifier
CN219072375U (en) Cloth bag pulse ventilation equipment
CN214415868U (en) Deslagging agent silo dust collector

Legal Events

Date Code Title Description
GR01 Patent grant
GR01 Patent grant