CN212689545U - Corner pole setting device for lifting aluminum alloy climbing frame - Google Patents

Corner pole setting device for lifting aluminum alloy climbing frame Download PDF

Info

Publication number
CN212689545U
CN212689545U CN202021392631.XU CN202021392631U CN212689545U CN 212689545 U CN212689545 U CN 212689545U CN 202021392631 U CN202021392631 U CN 202021392631U CN 212689545 U CN212689545 U CN 212689545U
Authority
CN
China
Prior art keywords
corner
fixed
support
block
pole
Prior art date
Legal status (The legal status is an assumption and is not a legal conclusion. Google has not performed a legal analysis and makes no representation as to the accuracy of the status listed.)
Active
Application number
CN202021392631.XU
Other languages
Chinese (zh)
Inventor
潘志维
潘俊文
潘俊豪
Current Assignee (The listed assignees may be inaccurate. Google has not performed a legal analysis and makes no representation or warranty as to the accuracy of the list.)
Guangdong Zoulong Aluminum Industry Co ltd
Original Assignee
Guangdong Zoulong Aluminum Industry Co ltd
Priority date (The priority date is an assumption and is not a legal conclusion. Google has not performed a legal analysis and makes no representation as to the accuracy of the date listed.)
Filing date
Publication date
Application filed by Guangdong Zoulong Aluminum Industry Co ltd filed Critical Guangdong Zoulong Aluminum Industry Co ltd
Priority to CN202021392631.XU priority Critical patent/CN212689545U/en
Application granted granted Critical
Publication of CN212689545U publication Critical patent/CN212689545U/en
Active legal-status Critical Current
Anticipated expiration legal-status Critical

Links

Images

Landscapes

  • Ladders (AREA)

Abstract

本实用新型公开了一种升降铝合金爬架转角立杆装置,涉及立杆装置技术领域,为解决现有的升降铝合金爬架转角立杆装置使用时不方便进行连接固定的问题。所述转角固定连接立杆的上方安装有连接顶块,所述转角固定连接立杆上方的外部安装有固定支撑块,所述固定支撑块的下方安装有加强固定块,所述转角固定连接立杆的下方安装有稳定底座,所述转角固定连接立杆的一侧安装有支撑横杆,所述支撑横杆的下方安装有支撑斜杆,所述支撑横杆的一侧安装有第一支撑立杆,所述第一支撑立杆的上方安装有顶块,所述第一支撑立杆的一侧安装有第二支撑立杆。

Figure 202021392631

The utility model discloses a lifting aluminum alloy climbing frame corner vertical pole device, which relates to the technical field of vertical pole devices, in order to solve the problem of inconvenient connection and fixing when the existing lifting aluminum alloy climbing frame corner vertical pole device is used. A connection top block is installed above the corner fixed connection pole, a fixed support block is installed outside the upper part of the corner fixed connection pole, a reinforcement fixed block is installed below the fixed support block, and the corner fixed connection pole is installed. A stable base is installed under the rod, a support crossbar is installed on one side of the corner fixed connection vertical rod, a support oblique rod is installed under the support crossbar, and a first support is installed on one side of the support crossbar A vertical pole, a top block is installed above the first supporting vertical pole, and a second supporting vertical pole is installed on one side of the first supporting vertical pole.

Figure 202021392631

Description

Corner pole setting device for lifting aluminum alloy climbing frame
Technical Field
The utility model relates to a pole setting technical field specifically is a frame corner pole setting device is climbed to lift aluminum alloy.
Background
The pole setting is the component part of engineering construction scaffold frame engineering, reads like the literal meaning, is the pole of standing up, and the pole setting has many requirements in the aspect of interval, connection etc. if: the vertical rods need to be butted by adopting a butting fastener, and are not lapped, and the vertical rods are arranged in a staggered manner, so that the stress among the rods is evenly distributed, and the overall stability is enhanced; the climbing frame is also called a lifting frame, can be divided into hydraulic type, electrodynamic type, manual pull type and other main types according to the power source, is a novel scaffold system developed in recent years, is mainly applied to high-rise shear wall type floors, can ascend or descend upwards along buildings, and makes the scaffold technology completely changed by the system: firstly, the frame does not need to be turned over; secondly, the dismounting process of the scaffold (the scaffold is used till the construction is finished after one-time assembly) is omitted, the scaffold is not limited by the height of a building, the manpower and the materials are greatly saved, the traditional scaffold is greatly improved in the safety angle, and the scaffold has great development advantages in high-rise buildings; the aluminum alloy is an alloy with a certain amount of other alloying elements added on the basis of aluminum, and is one of light metal materials.
However, the existing lifting aluminum alloy climbing frame corner upright device is inconvenient to connect and fix when in use; therefore, the existing requirements are not met, and the lifting aluminum alloy climbing frame corner upright device is provided for the requirements.
SUMMERY OF THE UTILITY MODEL
An object of the utility model is to provide a frame corner pole setting device is climbed to lift aluminum alloy to current lift aluminum alloy who proposes in the solution above-mentioned background art climbs frame corner pole setting device inconvenient the problem of connecting fixedly when using.
In order to achieve the above object, the utility model provides a following technical scheme: the utility model provides a lift aluminum alloy climbs a corner pole setting device, includes corner fixed connection pole setting, the connection kicking block is installed to the top of corner fixed connection pole setting, the externally mounted of corner fixed connection pole setting top has fixed supporting shoe, the below of fixed supporting shoe is installed and is strengthened the fixed block, stabilizing base is installed to the below of corner fixed connection pole setting, the support horizontal pole is installed to one side of corner fixed connection pole setting, the below of supporting the horizontal pole is installed and is supported the down tube, support one side of horizontal pole and install first support pole setting, the kicking block is installed to the top of first support pole setting, the second is installed to one side of first support pole setting and is supported the pole setting.
Preferably, the corner fixed connection upright rod, the fixed supporting block and the reinforced fixing block are of an integrated structure.
Preferably, the strengthening rib is installed to the inside one side of second support pole setting, the strengthening rib is provided with a plurality of, and a plurality of strengthening rib distributes in proper order, the front end of second support pole setting below is installed fixed connection board, the second supports pole setting and the equal welded connection of fixed connection board and strengthening rib.
Preferably, the inside both sides of fixed connection board all are provided with the installation fixed orifices, the inside intermediate position department of fixed connection board is provided with connects fixed mouthful, the fixed block is all installed at the both ends of connecting fixed mouthful.
Preferably, strengthen the both sides of fixed block and all install the side and connect the fixed block, strengthen the fixed block and the fixed block structure as an organic whole is connected to the side, the inside of fixed block is connected to the side is provided with the side and connects the fixed orifices.
Preferably, the fixed supporting block is externally provided with a corner connecting fixed disk, the fixed supporting block and the corner connecting fixed disk are of an integrated structure, a corner connector is arranged in the corner connecting fixed disk, the corner connector is provided with a plurality of corner connectors which are sequentially distributed, the reinforcing rib supporting block is arranged above the corner connecting fixed disk, and the reinforcing rib supporting block is connected with the corner connecting fixed disk and the fixed supporting block in a welding manner.
Compared with the prior art, the beneficial effects of the utility model are that:
1. the utility model discloses a set up fixed stay piece, corner connection fixed disk, corner connector and strengthening rib supporting shoe, during the use, when needing to be connected lifting aluminum alloy climbing frame and corner fixed connection pole setting, can carry out welded connection through the splice bar with the corner connector in the corner connection fixed disk outside the fixed stay piece with the connecting rod, the connected mode is various, the operation of being convenient for, the strengthening rib supporting shoe makes the connection stable, reliable;
2. the utility model discloses a set up strengthening rib, first support pole setting, second support pole setting, support the horizontal pole and support the down tube, during the use, support the horizontal pole and supported the down tube and ensured the steadiness of being connected between corner fixed connection pole setting and first support pole setting and the second support pole setting for whole factor of safety is higher, through being provided with a plurality of strengthening ribs, makes first support pole setting and second support to connect more firm between the pole setting, and wholeness can be perfect more.
Drawings
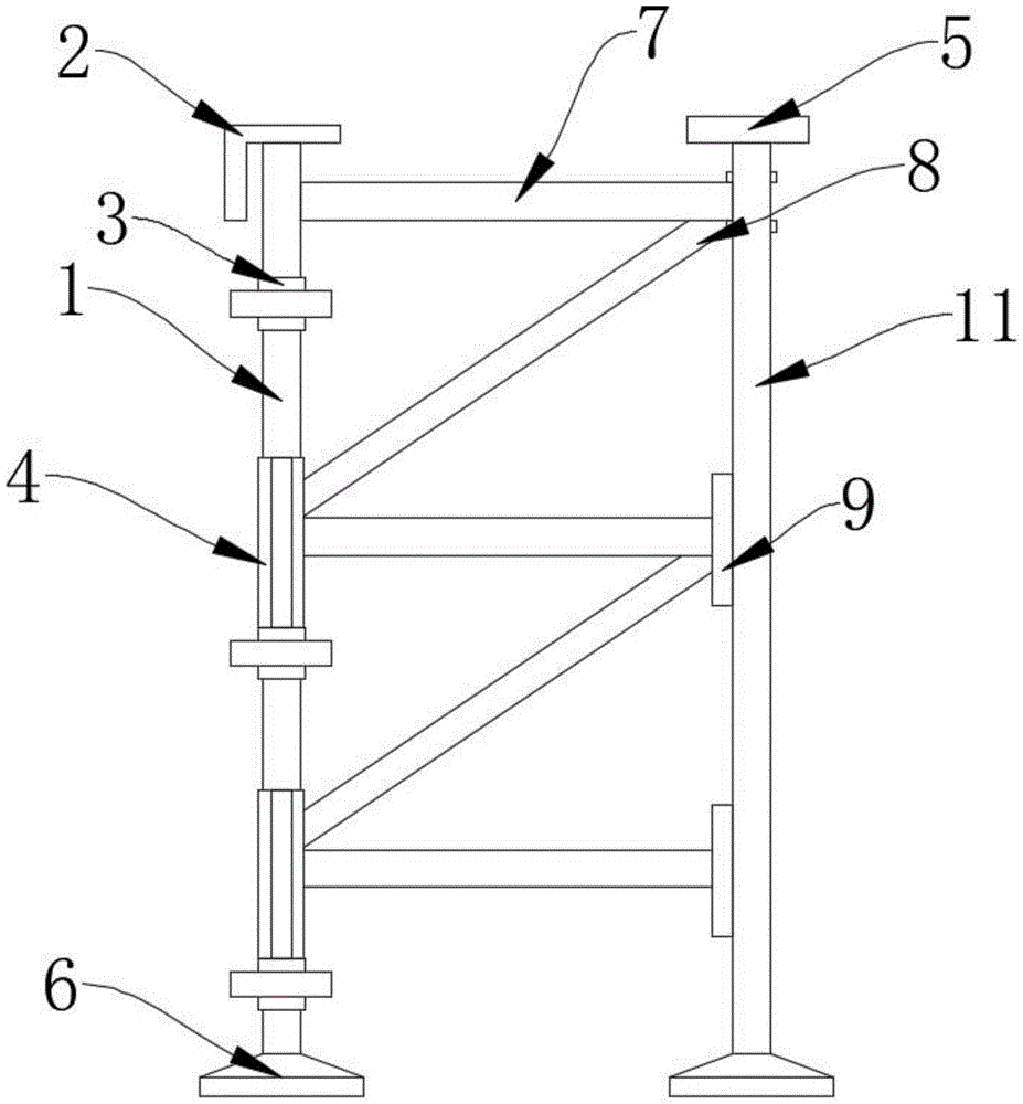
Fig. 1 is a front view of a corner pole erecting device of a lifting aluminum alloy climbing frame of the utility model;
fig. 2 is a schematic structural view of the corner fixed connection upright rod of the present invention;
fig. 3 is a schematic structural view of the first and second supporting vertical rods of the present invention;
fig. 4 is a perspective view of the fixing support block of the present invention.
In the figure: 1. the corner is fixedly connected with the upright rod; 2. connecting the top block; 3. fixing a supporting block; 4. reinforcing the fixed block; 5. a top block; 6. a stabilizing base; 7. a support rail; 8. supporting the diagonal rods; 9. fixing the connecting plate; 10. reinforcing ribs; 11. a first support upright rod; 12. a second supporting upright rod; 13. mounting a fixing hole; 14. connecting the fixed port; 15. a fixed block; 16. the side is connected with a fixed block; 17. the side is connected with a fixing hole; 18. the corner is connected with the fixed disc; 19. a corner connector; 20. and reinforcing rib supporting blocks.
Detailed Description
The technical solutions in the embodiments of the present invention will be described clearly and completely with reference to the accompanying drawings in the embodiments of the present invention, and it is obvious that the described embodiments are only some embodiments of the present invention, not all embodiments.
Referring to fig. 1-4, the present invention provides an embodiment: the utility model provides a lift aluminum alloy climbs a corner pole setting device, including corner fixed connection pole setting 1, connect kicking block 2 is installed to the top of corner fixed connection pole setting 1, the externally mounted of 1 top of corner fixed connection pole setting has fixed support shoe 3, the below of fixed support shoe 3 is installed and is strengthened fixed block 4, structural stability is strong, stabilizing base 6 is installed to the below of corner fixed connection pole setting 1, support horizontal pole 7 is installed to one side of corner fixed connection pole setting 1, support down tube 8 is installed to the below of support horizontal pole 7, support one side of horizontal pole 7 and install first support pole setting 11, kicking block 5 is installed to the top of first support pole setting 11, second support pole setting 12 is installed to one side of first support pole setting 11, support stability is higher.
Further, corner fixed connection pole setting 1 and fixed bolster 3 and enhancement fixed block 4 are a body structure, stable in structure.
Further, the strengthening rib 10 is installed to the inside one side of second support pole setting 12, and strengthening rib 10 is provided with a plurality of, and a plurality of strengthening rib 10 distributes in proper order, and fixed connection board 9 is installed to the front end of second support pole setting 12 below, and second support pole setting 12 and fixed connection board 9 and the equal welded connection of strengthening rib 10, and welded connection's gas tightness and water proofness are all better, and structural rigidity is also great.
Further, both sides of the inside of the fixed connection plate 9 are provided with installation fixing holes 13, a connection fixing port 14 is arranged at the middle position of the inside of the fixed connection plate 9, and fixing blocks 15 are installed at both ends of the connection fixing port 14, so that the fixing is facilitated.
Further, strengthen the both sides of fixed block 4 and all install the side and connect fixed block 16, strengthen fixed block 4 and side and connect fixed block 16 structure as an organic whole, the inside of fixed block 16 is connected to the side is provided with side connection fixed orifices 17, simple structure, and stability is high.
Further, the external mounting of fixed supporting shoe 3 has corner connection fixed disk 18, fixed supporting shoe 3 and corner connection fixed disk 18 structure as an organic whole, the inside of corner connection fixed disk 18 is provided with corner connector 19, corner connector 19 is provided with a plurality of, and a plurality of corner connector 19 distributes in proper order, reinforcing rib supporting shoe 20 is installed to the top of corner connection fixed disk 18, reinforcing rib supporting shoe 20 is connected fixed disk 18 with the corner and the equal welded connection of fixed supporting shoe 3, structural wholeness is good.
The working principle is as follows: when in use, the stabilizing base 6 is fixed with the installation ground through the fixing foot bolt, so that the corner fixed connecting upright rod 1 is fixed with the first supporting upright rod 11 and the second supporting upright rod 12, the reinforcing ribs 10 ensure the connection fixity between the first supporting upright rod 11 and the second supporting upright rod 12, one end of the supporting cross rod 7 and one end of the supporting diagonal rod 8 pass through the connecting and fixing port 14 inside the fixed connecting plate 9 and are welded and connected through the fixing block 15, the stability of relative support is ensured, a connecting rod can respectively pass through the side connecting and fixing holes 17 inside the side connecting and fixing blocks 16 at the two sides of the reinforcing fixing block 4 and the mounting and fixing holes 13 inside the fixed connecting plate 9 to be connected through a fastener, so that the overall supporting stability is higher, when the connecting rod is required to be connected with the lifting aluminum alloy climbing frame, the connecting rod can be welded and connected with the connecting port corner 19 inside the corner connecting fixing disc 18 outside the fixed, the connected mode is various, and the stability of connection has been ensured to strengthening rib supporting shoe 20.
It is obvious to a person skilled in the art that the invention is not restricted to details of the above-described exemplary embodiments, but that it can be implemented in other specific forms without departing from the spirit or essential characteristics of the invention. The present embodiments are therefore to be considered in all respects as illustrative and not restrictive, the scope of the invention being indicated by the appended claims rather than by the foregoing description, and all changes which come within the meaning and range of equivalency of the claims are therefore intended to be embraced therein. Any reference sign in a claim should not be construed as limiting the claim concerned.

Claims (6)

1.一种升降铝合金爬架转角立杆装置,包括转角固定连接立杆(1),其特征在于:所述转角固定连接立杆(1)的上方安装有连接顶块(2),所述转角固定连接立杆(1)上方的外部安装有固定支撑块(3),所述固定支撑块(3)的下方安装有加强固定块(4),所述转角固定连接立杆(1)的下方安装有稳定底座(6),所述转角固定连接立杆(1)的一侧安装有支撑横杆(7),所述支撑横杆(7)的下方安装有支撑斜杆(8),所述支撑横杆(7)的一侧安装有第一支撑立杆(11),所述第一支撑立杆(11)的上方安装有顶块(5),所述第一支撑立杆(11)的一侧安装有第二支撑立杆(12)。1. A lifting and lowering aluminum alloy climbing frame corner pole device, comprising a corner fixed connecting pole (1), characterized in that: a connecting top block (2) is installed above the corner fixed connecting pole (1), so A fixed support block (3) is installed on the outside above the corner fixed connection pole (1), a reinforcement fixed block (4) is installed below the fixed support block (3), and the corner fixed connection pole (1) A stable base (6) is installed below the corner, a support crossbar (7) is installed on one side of the corner fixed connection pole (1), and a support diagonal rod (8) is installed below the support crossbar (7). , a first support rod (11) is installed on one side of the support crossbar (7), a top block (5) is installed above the first support rod (11), and the first support rod A second support pole (12) is installed on one side of (11). 2.根据权利要求1所述的一种升降铝合金爬架转角立杆装置,其特征在于:所述转角固定连接立杆(1)与固定支撑块(3)和加强固定块(4)均为一体结构。2. A lifting aluminum alloy climbing frame corner pole device according to claim 1, characterized in that: the corner fixed connection pole (1), the fixed support block (3) and the reinforcement fixed block (4) are all one structure. 3.根据权利要求1所述的一种升降铝合金爬架转角立杆装置,其特征在于:所述第二支撑立杆(12)内部的一侧安装有加强筋(10),所述加强筋(10)设置有若干个,且若干个加强筋(10)依次分布,所述第二支撑立杆(12)下方的前端安装有固定连接板(9),所述第二支撑立杆(12)与固定连接板(9)和加强筋(10)均焊接连接。3. A lifting and lowering aluminum alloy climbing frame corner pole device according to claim 1, characterized in that: a reinforcing rib (10) is installed on one side inside the second support pole (12), and the reinforcement A plurality of ribs (10) are provided, and the plurality of reinforcing ribs (10) are distributed in sequence, and a fixed connecting plate (9) is installed at the front end below the second supporting vertical rod (12). The second supporting vertical rod (12) 12) It is welded to the fixed connecting plate (9) and the reinforcing rib (10). 4.根据权利要求3所述的一种升降铝合金爬架转角立杆装置,其特征在于:所述固定连接板(9)内部的两侧均设置有安装固定孔(13),所述固定连接板(9)内部的中间位置处设置有连接固定口(14),所述连接固定口(14)的两端均安装有固定块(15)。4. A lifting and lowering aluminum alloy climbing frame corner pole device according to claim 3, characterized in that: both sides inside the fixed connecting plate (9) are provided with mounting fixing holes (13), and the fixing A connection fixing port (14) is provided at a middle position inside the connecting plate (9), and fixing blocks (15) are installed at both ends of the connection fixing port (14). 5.根据权利要求1所述的一种升降铝合金爬架转角立杆装置,其特征在于:所述加强固定块(4)的两侧均安装有侧连接固定块(16),所述加强固定块(4)和侧连接固定块(16)为一体结构,所述侧连接固定块(16)的内部设置有侧连接固定孔(17)。5. A lifting and lowering aluminum alloy climbing frame corner vertical pole device according to claim 1, characterized in that: side connection fixing blocks (16) are installed on both sides of the reinforcing fixing block (4), and the reinforcing fixing block (4) is installed on both sides. The fixing block (4) and the side connecting fixing block (16) have an integral structure, and the side connecting fixing block (16) is provided with a side connecting fixing hole (17) inside. 6.根据权利要求1所述的一种升降铝合金爬架转角立杆装置,其特征在于:所述固定支撑块(3)的外部安装有转角连接固定盘(18),所述固定支撑块(3)和转角连接固定盘(18)为一体结构,所述转角连接固定盘(18)的内部设置有转角连接口(19),所述转角连接口(19)设置有若干个,且若干个转角连接口(19)依次分布,所述转角连接固定盘(18)的上方安装有加强筋支撑块(20),所述加强筋支撑块(20)与转角连接固定盘(18)和固定支撑块(3)均焊接连接。6 . The lifting and lowering aluminum alloy climbing frame corner vertical pole device according to claim 1 , wherein a corner connection fixing plate ( 18 ) is installed on the outside of the fixed support block ( 3 ), and the fixed support block (3) It is an integral structure with the corner connection fixing plate (18), the corner connection fixing plate (18) is provided with a corner connection port (19) inside, and the corner connection port (19) is provided with several, and several The corner connection ports (19) are distributed in sequence, and a reinforcing rib support block (20) is installed above the corner connection fixing plate (18). The support blocks (3) are all connected by welding.
CN202021392631.XU 2020-07-15 2020-07-15 Corner pole setting device for lifting aluminum alloy climbing frame Active CN212689545U (en)

Priority Applications (1)

Application Number Priority Date Filing Date Title
CN202021392631.XU CN212689545U (en) 2020-07-15 2020-07-15 Corner pole setting device for lifting aluminum alloy climbing frame

Applications Claiming Priority (1)

Application Number Priority Date Filing Date Title
CN202021392631.XU CN212689545U (en) 2020-07-15 2020-07-15 Corner pole setting device for lifting aluminum alloy climbing frame

Publications (1)

Publication Number Publication Date
CN212689545U true CN212689545U (en) 2021-03-12

Family

ID=74897455

Family Applications (1)

Application Number Title Priority Date Filing Date
CN202021392631.XU Active CN212689545U (en) 2020-07-15 2020-07-15 Corner pole setting device for lifting aluminum alloy climbing frame

Country Status (1)

Country Link
CN (1) CN212689545U (en)

Similar Documents

Publication Publication Date Title
CN212689545U (en) Corner pole setting device for lifting aluminum alloy climbing frame
CN107043072B (en) Inverted beam integrated inner climbing tower crane support device and implementation method
CN215407325U (en) Climbing frame building connecting assembly
CN111734203B (en) A kind of built-in tower upper section assembled emergency repair tower device
CN210685313U (en) Safe convenient house steel connection structure
CN114991452A (en) Nonstandard cable-stayed hanging basket support and installation method
CN212271565U (en) Sectional type integral lifting aluminum alloy climbing frame
CN210117915U (en) Single-floor climbing frame and climbing system
CN210885037U (en) Tower crane fixing structure
CN213391149U (en) Attached lifting operation safety protection platform frame
CN222101594U (en) Support structure for the construction of upper three-flight stairs
CN219411759U (en) Assembled lower hanging operation platform based on sliding mode lifting system
CN207749819U (en) A kind of all steel modularization attachment type raise scaffold
CN206580473U (en) Exempt from the integration of falling beam inner climbing crane tower support meanss
CN212689543U (en) Aluminum alloy climbs frame with firm type truss connection spare
CN219011881U (en) A kind of scaffolding hanging point truss
CN221590506U (en) Lower hanging protection device for attached climbing frame
CN216007787U (en) Template system is pour to double-deck shear force wall unilateral
CN213015322U (en) Aluminum climbing frame with reinforcing structure
CN212773380U (en) Lower hanger structure for scaffold
CN215167879U (en) Climbing frame reinforcement system
CN222275764U (en) A steel structure beam-column rigid connection node
CN217106082U (en) A scaffolding lifting system
CN221972657U (en) Quick assembly installs elevator steel construction well additional
CN221941885U (en) A combined platform for high-rise residential buildings to quickly insert elevators into the shaft for construction

Legal Events

Date Code Title Description
GR01 Patent grant
GR01 Patent grant
PE01 Entry into force of the registration of the contract for pledge of patent right
PE01 Entry into force of the registration of the contract for pledge of patent right

Denomination of utility model: A lifting and lowering aluminum alloy scaffold corner vertical rod device

Granted publication date: 20210312

Pledgee: Agricultural Bank of China Co.,Ltd. Sihui Sub branch

Pledgor: GUANGDONG ZOULONG ALUMINUM INDUSTRY CO.,LTD.

Registration number: Y2025980059861