CN212635872U - A paper cutter for carton board - Google Patents

A paper cutter for carton board Download PDF

Info

Publication number
CN212635872U
CN212635872U CN202020899948.6U CN202020899948U CN212635872U CN 212635872 U CN212635872 U CN 212635872U CN 202020899948 U CN202020899948 U CN 202020899948U CN 212635872 U CN212635872 U CN 212635872U
Authority
CN
China
Prior art keywords
pair
conveyor belt
guide plate
central
driving
Prior art date
Legal status (The legal status is an assumption and is not a legal conclusion. Google has not performed a legal analysis and makes no representation as to the accuracy of the status listed.)
Expired - Fee Related
Application number
CN202020899948.6U
Other languages
Chinese (zh)
Inventor
韩鹏飞
Current Assignee (The listed assignees may be inaccurate. Google has not performed a legal analysis and makes no representation or warranty as to the accuracy of the list.)
Shaoxing Shangyu Wei Xin Packing Articles Co ltd
Original Assignee
Shaoxing Shangyu Wei Xin Packing Articles Co ltd
Priority date (The priority date is an assumption and is not a legal conclusion. Google has not performed a legal analysis and makes no representation as to the accuracy of the date listed.)
Filing date
Publication date
Application filed by Shaoxing Shangyu Wei Xin Packing Articles Co ltd filed Critical Shaoxing Shangyu Wei Xin Packing Articles Co ltd
Priority to CN202020899948.6U priority Critical patent/CN212635872U/en
Application granted granted Critical
Publication of CN212635872U publication Critical patent/CN212635872U/en
Expired - Fee Related legal-status Critical Current
Anticipated expiration legal-status Critical

Links

Images

Landscapes

  • Making Paper Articles (AREA)

Abstract

本实用新型公开了一种纸箱板的裁纸机,切割刀中心柱上设置有若干前后均匀分布的圆盘切割刀;下支撑中心柱上设置有若干前后均匀分布的圆形板状的支撑盘;支撑盘的圆柱面上端的水平切面与进料传送带的上表面平齐;一对主支撑板的左部之间旋转设置有中心传递座;中心传递座的上端面右端成型有落料槽;落料槽内移动设置有推行板;当中心传递座自左向右倾斜向上时,落料槽的底面与上导向板的倾斜部的上倾斜面平齐;当中心传递座水平时,落料槽的底面与出料传送带的上表面平齐;本实用新型优点在于:纸箱板裁切进料和出料处于同一侧,这样操作人员进出料省时省力;同时纸箱板不会意外折叠变形,保证后续纸箱的稳定性。

Figure 202020899948

The utility model discloses a paper cutting machine for carton boards. A central column of a cutting knife is provided with a plurality of disc cutting knives that are evenly distributed in the front and rear; ; The horizontal section at the upper end of the cylindrical surface of the support plate is flush with the upper surface of the feeding conveyor belt; a center transfer seat is rotatably arranged between the left parts of a pair of main support plates; the right end of the upper end surface of the center transfer seat is formed with a blanking groove; A push plate is installed in the blanking chute; when the center transfer seat is inclined upward from left to right, the bottom surface of the blanking chute is flush with the upper inclined surface of the inclined part of the upper guide plate; when the center transfer seat is horizontal, the blanking The bottom surface of the groove is flush with the upper surface of the discharging conveyor belt; the advantages of the utility model are: the cutting and feeding of the carton board and the discharging are on the same side, so that the operator saves time and effort when feeding and discharging; at the same time, the carton board will not be accidentally folded and deformed, Ensure the stability of subsequent cartons.

Figure 202020899948

Description

Paper cutter for carton board
Technical Field
The utility model relates to a technical field of paper cutter, concretely relates to paper cutter of carton board.
Background
The paper cutting machine is a special device for cutting the paper box board, in particular to a corrugated board, the existing paper cutting device is simple in structure, single in function and low in environmental requirement, and can be operated and used in a common factory, a worker puts the paper board into the paper cutting structure on one side of the table board of the paper cutting machine, cuts the paper board into small pieces, and the small pieces are fixed in a split charging mode, so that the operation can be completed.
During traditional equipment operation, the workman will at first send into the cardboard from trimmer one side and cut paper equipment in, goes to the opposite side again and carries out the partial shipment, and the round trip movement easily causes workman tired like this, wastes time and energy.
SUMMERY OF THE UTILITY MODEL
The utility model aims at providing a paper cutter of carton board is not causing the operation to waste time and energy with one side in the unloading of present paper cutter work, is provided.
The utility model provides an above-mentioned technical problem's technical scheme as follows: a paper cutter for a carton board comprises a bracket; the bracket comprises a pair of main supporting plates which are symmetrically arranged front and back; a feeding conveyor belt is arranged between the upper ends of the right parts of the main supporting plates, and a discharging conveyor belt is arranged between the lower ends of the right parts of the main supporting plates; the feeding conveyor belt horizontally conveys the materials from right to left; the discharging conveyor belt horizontally conveys the materials from left to right; an upper guide plate is formed between the pair of main supporting plates; the upper guide plate consists of a horizontal part at the right side and an inclined part which is inclined upwards from left to right at the left side; the upper guide plate is positioned on the left side of the feeding conveyor belt, and the upper end surface of the horizontal part of the upper guide plate is flush with the upper surface of the feeding conveyor belt; a cutting knife central column and a lower supporting central column which are distributed up and down are rotatably arranged between the pair of main supporting plates; the rotating central shafts of the cutting knife central column and the lower supporting central column are positioned on the same vertical surface; the cutting knife central column and the lower support central column are positioned between the upper guide plate and the feeding conveyor belt; a plurality of disc cutters which are uniformly distributed in the front and back are arranged on the central column of the cutter; a plurality of round plate-shaped supporting discs which are uniformly distributed at the front and the back are arranged on the lower supporting central column; a circular ring groove-shaped limiting ring groove is formed on the supporting disc; the lower end of the disc cutter is inserted into the limit ring groove; the horizontal tangent plane of the upper end of the cylindrical surface of the supporting disc is flush with the upper surface of the feeding conveyor belt; a central transmission seat is rotatably arranged between the left parts of the pair of main supporting plates; a charging chute is formed at the right end of the upper end surface of the central transfer seat; a pushing plate is arranged in the charging chute; when the central transfer seat is inclined upwards from left to right, the bottom surface of the charging chute is flush with the upper inclined surface of the inclined part of the upper guide plate; when the central transfer base is horizontal, the bottom surface of the charging chute is flush with the upper surface of the discharging conveyor belt.
Preferably, a pair of driving rollers distributed up and down are rotatably arranged between the left parts of the pair of main supporting plates; the rotating central shafts of the pair of driving rollers are positioned on the same vertical plane; the pair of driving rollers are positioned between the cutting knife central column and the feeding conveyor belt; the pair of driving rollers is used for driving the carton board to move from right to left; the horizontal tangent plane of the upper end of the lower driving roller is flush with the upper surface of the feeding conveyor belt.
Preferably, a central transmission central shaft is fixed at the lower left corner of the central transmission seat; the central transmission central shaft is pivoted between the pair of main supporting plates and is driven by a motor.
Preferably, the front and rear side walls of the charging chute are respectively formed with a pushing driving groove; a push driving threaded rod is pivoted between the left side wall and the right side wall of the push driving groove; a pushing driving motor is fixed on the left side wall of the pushing driving groove; the left end of the push driving threaded rod is fixedly connected with an output shaft of a push driving motor on the corresponding side; the front end surface and the rear end surface of the pushing plate are respectively provided with a pushing driving block matched with the pushing driving groove; the pushing driving block is in threaded connection with the pushing driving threaded rod on the corresponding side.
Preferably, a lower guide plate is arranged between the pair of main support plates; the lower guide plate is positioned between the upper guide plate and the left part of the discharge conveyor belt; the lower guide plate consists of a horizontal part at the right side and an inclined part which is inclined downwards from left to right at the left side; the distance between the lower end surface of the horizontal part of the lower guide plate and the upper surface of the discharging conveyor belt is the same as the thickness of the carton board.
Preferably, a lower driving roller is rotatably disposed between the pair of main support plates; the lower driving roller is positioned at the right side of the lower guide plate and positioned at the upper side of the discharging conveyor belt; the lower drive roller cooperates with the outfeed conveyor belt and serves to drive the carton board horizontally from left to right.
Preferably, the upper right corners of the end surfaces of the pair of main supporting plates, which are close to each other, are respectively provided with a material guiding plate; the guide plate consists of a transverse vertical part at the left part and a vertical inclined part at the right part; the distance between the left ends of the vertical inclined parts of the pair of the guide plates is smaller than the distance between the right ends; the pair of material guiding plates are positioned on the upper side of the feeding conveyor belt; the distance between a pair of guide plates is adjustable.
Preferably, the end surfaces of the pair of fuse plates, which are far away from the vertical inclined parts, are respectively formed with front and rear guide rods arranged in the front and rear directions; the front and rear guide rods penetrate through the main supporting plates on the corresponding sides in the front and rear direction; the end surfaces of the transverse vertical parts of the pair of guide plates, which are far away from each other, are respectively pivoted with an adjusting screw rod; the adjusting screw rod vertically penetrates in the front-back direction and is screwed on the main supporting plate on the corresponding side; one end of the adjusting screw rod, which is far away from the material guiding plate, is fixed with a rotary driving handle.
The beneficial effects of the utility model reside in that: the paper box board is cut, fed and discharged at the same side, so that the feeding and discharging of operators are time-saving and labor-saving; meanwhile, the carton board cannot be folded and deformed accidentally, and the stability of the subsequent carton is ensured.
Drawings
Fig. 1 is a schematic top view of the present invention;
FIG. 2 is a schematic structural view of a cross section of the present invention during feeding;
FIG. 3 is a schematic structural view of a cross section of the discharging device of the present invention;
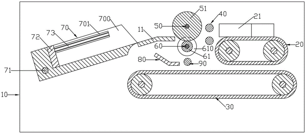
in the figure, 10, a main supporting plate; 11. an upper guide plate; 20. a feed conveyor; 21. a fuse plate; 211. adjusting the screw rod; 212. a rotation driving handle; 213. front and rear guide rods; 30. a discharge conveyor belt; 40. a drive roller; 50. a cutting knife center post; 51. a disc cutter; 60. a lower support center column; 61. a support disc; 610. A limiting ring groove; 70. a central transfer base; 700. a charging chute; 701. pushing the driving groove; 71. a central transfer central axis; 72. a pushing plate; 73. pushing the driving threaded rod; 80. a lower guide plate; 90. a lower drive roller.
Detailed Description
As shown in fig. 1 to 3, a paper cutter for a carton board includes a bracket; the bracket comprises a pair of main supporting plates 10 which are symmetrically arranged front and back; a feeding conveyor belt 20 is arranged between the upper ends of the right parts of the main supporting plates 10, and a discharging conveyor belt 30 is arranged between the lower ends of the right parts; the feeding conveyor belt 20 horizontally conveys from right to left; the discharging conveyor belt 30 horizontally conveys from left to right; an upper guide plate 11 is formed between the pair of main support plates 10; the upper guide plate 11 is composed of a horizontal part on the right side and an inclined part inclined upwards from left to right on the left side; the upper guide plate 11 is positioned on the left side of the feeding conveyor 20 and the upper end surface of the horizontal part of the upper guide plate 11 is flush with the upper surface of the feeding conveyor 20; a cutter central column 50 and a lower support central column 60 which are distributed up and down are rotatably arranged between the pair of main supporting plates 10; the rotation central axes of the cutter central column 50 and the lower support central column 60 are on the same vertical plane; the cutter central column 50 and the lower support central column 60 are positioned between the upper guide plate 11 and the feeding conveyor belt 20; a plurality of disc cutters 51 which are uniformly distributed front and back are arranged on the cutter central column 50; a plurality of circular plate-shaped supporting discs 61 which are uniformly distributed in the front and back are arranged on the lower supporting central column 60; a circular ring groove-shaped limiting ring groove 610 is formed on the supporting plate 61; the lower end of the disc cutter 51 is inserted into the limit ring groove 610; the horizontal tangent plane of the upper end of the cylindrical surface of the supporting disc 61 is flush with the upper surface of the feeding conveyor belt 20; a central transmission seat 70 is rotatably arranged between the left parts of the pair of main supporting plates 10; a charging chute 700 is formed at the right end of the upper end face of the central transfer seat 70; a pushing plate 72 is arranged in the charging chute 700; when the central transfer base 70 is inclined upward from left to right, the bottom surface of the charging chute 700 is flush with the upper inclined surface of the inclined portion of the upper guide plate 11; when the central transfer shoe 70 is level, the bottom surface of the chute 700 is level with the upper surface of the outfeed conveyor 30.
As shown in fig. 1 to 3, a pair of driving rollers 40 distributed up and down are rotatably arranged between the left parts of the pair of main supporting plates 10; the rotation center axes of the pair of driving rollers 40 are on the same vertical plane; a pair of drive rollers 40 are located between the cutter center post 50 and the feed conveyor 20; a pair of driving rollers 40 for driving the cardboard box to move from right to left; the horizontal section of the upper end of the lower drive roller 40 is flush with the upper surface of the feed conveyor belt 20.
As shown in fig. 1 to 3, a central transmission central shaft 71 is fixed to the lower left corner of the central transmission base 70; the central transfer central shaft 71 is pivoted between a pair of main support plates 10 and is driven by a motor.
As shown in fig. 1 to 3, push driving grooves 701 are formed on the front and rear side walls of the charging chute 700; a push driving threaded rod 73 is pivoted between the left side wall and the right side wall of the push driving groove 701; a pushing driving motor is fixed on the left side wall of the pushing driving groove 701; the left end of the push driving threaded rod 73 is fixedly connected with the output shaft of the push driving motor on the corresponding side; the front end surface and the rear end surface of the pushing plate 72 are respectively provided with a pushing driving block matched with the pushing driving groove 701; the push drive block is screwed to the push drive threaded rod 73 on the corresponding side.
As shown in fig. 1 to 3, a lower guide plate 80 is provided between a pair of main support plates 10; the lower guide plate 80 is positioned between the upper guide plate 11 and the left portion of the outfeed conveyor belt 30; the lower guide plate 80 is composed of a horizontal portion on the right side and an inclined portion inclined downward from left to right on the left side; the distance between the lower end surface of the horizontal portion of the lower guide plate 80 and the upper surface of the outfeed conveyor 30 is the same as the thickness of the carton board.
As shown in fig. 1 to 3, a lower driving roller 90 is rotatably provided between a pair of main support plates 10; the lower drive roller 90 is located to the right of the lower guide plate 80 and on the upper side of the outfeed conveyor belt 30; the lower drive roller 90 cooperates with the outfeed conveyor 30 and serves to drive the carton board horizontally from left to right.
As shown in fig. 1 to 3, the upper right corners of the end surfaces of the pair of main support plates 10 close to each other are respectively provided with a material guiding plate 21; the guide plate 21 is composed of a lateral vertical portion at the left and a vertical inclined portion at the right; the interval between the left ends of the vertical inclined portions of the pair of the fuse plates 21 is smaller than the interval between the right ends; a pair of guide plates 21 are located on the upper side of the feeding conveyor 20; the spacing between a pair of the primer plates 21 is adjustably set.
As shown in fig. 1, front and rear guide rods 213 are formed on the end surfaces of the pair of fuse plates 21 away from the vertical inclined portions; the front and rear guide rods 213 pass through the main support plates 10 of the corresponding sides in the front and rear directions; the end surfaces of the pair of guide plates 21 far away from the transverse vertical parts are respectively pivoted with an adjusting screw 211; the adjusting screw rod 211 vertically penetrates in the front-back direction and is screwed on the main supporting plate 10 on the corresponding side; a rotary driving handle 212 is fixed to one end of the adjusting screw 211 remote from the primer plate 21.
The working principle of a paper cutter of the carton board;
in an initial state, as shown in fig. 1 and 2, the central transfer base 70 is inclined upwards from left to right, the bottom surface of the charging chute 700 is flush with the upper inclined surface of the inclined part of the upper guide plate 11, and the pushing plate 72 is positioned at the leftmost end of the charging chute 700;
when the automatic paper box cutting machine works, an operator places a paper box board on the feeding conveyor belt 20, the paper box board is horizontally conveyed to the left under the action of the feeding conveyor belt 20, the paper box board passes through the pair of driving rollers 40, then is cut into a plurality of pieces under the action of the plurality of disc cutting knives 51 in a rotating state, finally enters the blanking groove 700 of the central transfer seat 70, then the central transfer seat 70 is changed into a horizontal state from an inclined state, the bottom surface of the blanking groove 700 is flush with the upper surface of the discharging conveyor belt 30, then the pushing plate 72 moves rightwards, the cut paper box board is pushed to reach the upper surface of the discharging conveyor belt 30, and thus the cut paper box board is horizontally discharged rightwards under the action of the discharging conveyor belt 30, and the operator performs split charging;
thus, the cutting, feeding and discharging of the carton board are at the same side, and the feeding and discharging of operators are time-saving and labor-saving; meanwhile, due to the transmission of the central transmission seat 70, the carton board cannot be folded and deformed accidentally, and the stability of the subsequent carton is ensured.
The above description is only for the preferred embodiment of the present invention, and for those skilled in the art, there are variations on the detailed description and the application scope according to the idea of the present invention, and the content of the description should not be construed as a limitation to the present invention.

Claims (8)

1. A paper cutter of carton board which characterized in that: comprises a bracket; the bracket comprises a pair of main supporting plates (10) which are symmetrically arranged front and back; a feeding conveyor belt (20) is arranged between the upper ends of the right parts of the main supporting plates (10), and a discharging conveyor belt (30) is arranged between the lower ends of the right parts; the feeding conveyor belt (20) horizontally conveys from right to left; the discharging conveyor belt (30) horizontally conveys from left to right; an upper guide plate (11) is formed between the pair of main support plates (10); the upper guide plate (11) consists of a horizontal part at the right side and an inclined part which is inclined upwards from left to right at the left side; the upper guide plate (11) is positioned at the left side of the feeding conveyor belt (20) and the upper end surface of the horizontal part of the upper guide plate (11) is flush with the upper surface of the feeding conveyor belt (20); a cutting knife central column (50) and a lower supporting central column (60) which are distributed up and down are rotatably arranged between the pair of main supporting plates (10); the rotating central shafts of the cutting knife central column (50) and the lower supporting central column (60) are positioned on the same vertical surface; the cutting knife central column (50) and the lower supporting central column (60) are positioned between the upper guide plate (11) and the feeding conveyor belt (20); a plurality of disc cutters (51) which are uniformly distributed in the front and back are arranged on the cutter central column (50); a plurality of round plate-shaped supporting discs (61) which are uniformly distributed in the front and at the back are arranged on the lower supporting central column (60); a circular ring groove-shaped limiting ring groove (610) is formed on the supporting disc (61); the lower end of the disc cutter (51) is inserted into the limit ring groove (610); the horizontal section of the upper end of the cylindrical surface of the supporting disc (61) is flush with the upper surface of the feeding conveyor belt (20); a central transmission seat (70) is rotatably arranged between the left parts of the pair of main supporting plates (10); a charging chute (700) is formed at the right end of the upper end surface of the central transfer seat (70); a pushing plate (72) is arranged in the charging chute (700); when the central transfer seat (70) inclines upwards from left to right, the bottom surface of the charging chute (700) is flush with the upper inclined surface of the inclined part of the upper guide plate (11); when the central transfer base (70) is horizontal, the bottom surface of the charging chute (700) is flush with the upper surface of the discharging conveyor belt (30).
2. A paper cutter for carton boards according to claim 1 characterised in that: a pair of driving rollers (40) which are distributed up and down are rotatably arranged between the left parts of the pair of main supporting plates (10); the rotating central shafts of the pair of driving rollers (40) are positioned on the same vertical plane; a pair of drive rollers (40) are positioned between the cutting knife center post (50) and the feeding conveyor belt (20); a pair of driving rollers (40) for driving the carton board to move from right to left; the horizontal section of the upper end of the lower driving roller (40) is flush with the upper surface of the feeding conveyor belt (20).
3. A paper cutter for carton boards according to claim 1 characterised in that: a central transmission central shaft (71) is fixed at the left lower corner of the central transmission seat (70); the central transmission central shaft (71) is pivoted between the pair of main supporting plates (10) and is driven by a motor.
4. A paper cutter for carton boards according to claim 1 characterised in that: the front side wall and the rear side wall of the charging chute (700) are respectively provided with a pushing driving groove (701); a push driving threaded rod (73) is pivoted between the left side wall and the right side wall of the push driving groove (701); a pushing driving motor is fixed on the left side wall of the pushing driving groove (701); the left end of the push driving threaded rod (73) is fixedly connected with an output shaft of a push driving motor on the corresponding side; the front end surface and the rear end surface of the pushing plate (72) are respectively provided with a pushing driving block matched with the pushing driving groove (701); the pushing driving block is screwed on the pushing driving threaded rod (73) on the corresponding side.
5. A paper cutter for carton boards according to claim 1 characterised in that: a lower guide plate (80) is arranged between the pair of main support plates (10); the lower guide plate (80) is positioned between the upper guide plate (11) and the left part of the discharge conveyor belt (30); the lower guide plate (80) consists of a horizontal part at the right side and an inclined part which is inclined downwards from left to right at the left side; the distance between the lower end surface of the horizontal part of the lower guide plate (80) and the upper surface of the discharging conveyor belt (30) is the same as the thickness of the carton board.
6. The paper cutter of the carton board according to claim 5, characterized in that: a lower driving roller (90) is rotatably arranged between the pair of main supporting plates (10); the lower driving roller (90) is positioned at the right side of the lower guide plate (80) and positioned at the upper side of the discharging conveyor belt (30); a lower drive roller (90) cooperates with the outfeed conveyor (30) and serves to drive the carton board horizontally from left to right.
7. A paper cutter for carton boards according to claim 1 characterised in that: the upper right corners of the end surfaces of the pair of main supporting plates (10) close to each other are respectively provided with a material guiding plate (21); the guide plate (21) consists of a transverse vertical part at the left part and a vertical inclined part at the right part; the distance between the left ends of the vertical inclined parts of the pair of the guide plates (21) is smaller than the distance between the right ends; a pair of guide plates (21) are positioned on the upper side of the feeding conveyor belt (20); the distance between a pair of guide plates (21) can be adjusted.
8. The paper cutter of the carton board according to claim 7, characterized in that: front and rear guide rods (213) arranged in the front and rear directions are respectively formed on the end surfaces, far away from the vertical inclined parts, of the pair of guide plates (21); the front and rear guide rods (213) penetrate through the main supporting plates (10) on the corresponding sides in the front and rear directions; the end surfaces of the pair of guide plates (21) far away from the transverse vertical parts are respectively pivoted with an adjusting screw rod (211); the adjusting screw rod (211) vertically penetrates in the front-back direction and is screwed on the main supporting plate (10) on the corresponding side; one end of the adjusting screw rod (211) far away from the guide plate (21) is fixed with a rotary driving handle (212).
CN202020899948.6U 2020-05-26 2020-05-26 A paper cutter for carton board Expired - Fee Related CN212635872U (en)

Priority Applications (1)

Application Number Priority Date Filing Date Title
CN202020899948.6U CN212635872U (en) 2020-05-26 2020-05-26 A paper cutter for carton board

Applications Claiming Priority (1)

Application Number Priority Date Filing Date Title
CN202020899948.6U CN212635872U (en) 2020-05-26 2020-05-26 A paper cutter for carton board

Publications (1)

Publication Number Publication Date
CN212635872U true CN212635872U (en) 2021-03-02

Family

ID=74797474

Family Applications (1)

Application Number Title Priority Date Filing Date
CN202020899948.6U Expired - Fee Related CN212635872U (en) 2020-05-26 2020-05-26 A paper cutter for carton board

Country Status (1)

Country Link
CN (1) CN212635872U (en)

Similar Documents

Publication Publication Date Title
CN101579866A (en) Disk type flaking machine
CN110757888B (en) Slotting equipment is stabilized in carton production
CN212241263U (en) Cutting device is used in processing of packing cardboard convenient to waste recovery
CN212635872U (en) A paper cutter for carton board
CN110303718B (en) Grooving mechanism of print grooving machine
CN214686851U (en) Microcomputer slicer convenient to adjust
CN111546432B (en) Automatic plate punching equipment
CN212795228U (en) Cardboard cutting machine for paper product production
CN112092132A (en) Disc chipper with material pressing system
CN212123520U (en) A corrugated paper die-cutting waste recycling device
CN221543090U (en) Material feeding unit of panel guillootine
CN217861840U (en) Drum chipper
CN108687832A (en) A kind of cardboard cutting device that eccentric wheel rotation is adjusted
CN219838253U (en) Line pressing device for production of paper boxes
CN221394455U (en) Transverse cutting mechanism of food packaging machine
CN217671379U (en) Raw material shearing device for packaging carton processing
CN221561638U (en) Corrugated board die cutting device with paper scrap recycling function
CN215473753U (en) Material returning and integrating assembly for printing thin knife cutting machine
CN217968608U (en) Grooving machine for paper production
CN221456918U (en) Automatic paste box machine paper separating equipment
CN214927487U (en) Carton groover convenient to quick processing
CN219631530U (en) Cardboard box leftover material reducing mechanism
US1985479A (en) Device for forming pulp chips
CN222061356U (en) Thin knife slitting line pressing machine
CN221456914U (en) Tapping equipment for corrugated case processing

Legal Events

Date Code Title Description
GR01 Patent grant
GR01 Patent grant
CF01 Termination of patent right due to non-payment of annual fee
CF01 Termination of patent right due to non-payment of annual fee

Granted publication date: 20210302