CN212561230U - A kind of drainage culvert structure - Google Patents

A kind of drainage culvert structure Download PDF

Info

Publication number
CN212561230U
CN212561230U CN202020974917.2U CN202020974917U CN212561230U CN 212561230 U CN212561230 U CN 212561230U CN 202020974917 U CN202020974917 U CN 202020974917U CN 212561230 U CN212561230 U CN 212561230U
Authority
CN
China
Prior art keywords
water
culvert
culvert body
stilling
pool
Prior art date
Legal status (The legal status is an assumption and is not a legal conclusion. Google has not performed a legal analysis and makes no representation as to the accuracy of the status listed.)
Expired - Fee Related
Application number
CN202020974917.2U
Other languages
Chinese (zh)
Inventor
罗绍蔚
陈阳
傅光柳
曾龙天
童金
Current Assignee (The listed assignees may be inaccurate. Google has not performed a legal analysis and makes no representation or warranty as to the accuracy of the list.)
Fujian Wanshan Water Conservancy And Hydropower Design Co ltd
Original Assignee
Fujian Wanshan Water Conservancy And Hydropower Design Co ltd
Priority date (The priority date is an assumption and is not a legal conclusion. Google has not performed a legal analysis and makes no representation as to the accuracy of the date listed.)
Filing date
Publication date
Application filed by Fujian Wanshan Water Conservancy And Hydropower Design Co ltd filed Critical Fujian Wanshan Water Conservancy And Hydropower Design Co ltd
Priority to CN202020974917.2U priority Critical patent/CN212561230U/en
Application granted granted Critical
Publication of CN212561230U publication Critical patent/CN212561230U/en
Expired - Fee Related legal-status Critical Current
Anticipated expiration legal-status Critical

Links

Images

Landscapes

  • Sewage (AREA)

Abstract

本实用新型涉及一种放水涵洞结构,涉及水利建筑技术领域,其包括涵洞本体,涵洞本体内设置有引水管,涵洞本体的出口处设置有消力池,消力池与涵洞本体的中心线一致,消力池远离涵洞本体的一侧设置有连接渠,且连接渠的中心线与消力池的中心线形成夹角,消力池底部低于引水管的下端。本实用新型具有减缓涵洞本体出口处的水流速度,使水流变为漫流状态,避免出口水流对连接渠造成冲蚀破坏的效果。

Figure 202020974917

The utility model relates to a water discharge culvert structure, which relates to the technical field of water conservancy construction. The utility model comprises a culvert body, a water diversion pipe is arranged in the culvert body, a stilling pool is arranged at the exit of the culvert body, and the centerline of the stilling pool and the culvert body is consistent. , the side of the stilling pool away from the culvert body is provided with a connecting channel, and the centerline of the connecting channel and the centerline of the stilling pool form an included angle, and the bottom of the stilling pool is lower than the lower end of the diversion pipe. The utility model has the effect of slowing down the water flow speed at the outlet of the culvert body, making the water flow into a flooded state, and avoiding the erosion and damage to the connecting channel caused by the outlet water flow.

Figure 202020974917

Description

Water drainage culvert structure
Technical Field
The utility model belongs to the technical field of the technique of water conservancy building and specifically relates to a culvert structure drains is related to.
Background
Because the water resource is unevenly distributed in time and space, a large amount of hydraulic engineering needs to be built for irrigation, drainage, waterlogging reduction and cross-drainage basin water transfer, and the normal operation of industrial, agricultural and people life is ensured. The culvert is a cave type water conservancy facility and is arranged in a drainage channel under a roadbed, one end of the culvert is communicated with a reservoir, and the other end of the culvert is communicated with an irrigation ditch.
Among the prior art, publication number CN 208604503U's patent discloses a culvert structure for hydraulic engineering, including water service mouth, water pipe mounting and working shaft, the water service mouth is located the both ends of culvert body, install the door frame on the connecting axle, and the internal surface of door frame is fixed with the filter screen, the inner wall of culvert body is opened there is the water sucking mouth, and the inside pipe that absorbs water that has preset of avris of culvert body to the pipe that absorbs water is connected with the pump that absorbs water, the inner wall surface mounting of culvert body has at a distance from the net, the inner wall at the culvert body is installed to the water pipe mounting, and water pipe mounting and outlet pipe are connected, working shaft and outlet pipe are connected, and install the sprinkler head on the outlet pipe. This culvert structure for hydraulic engineering can carry out effectual filtration to the rubbish in the rivers, ensures that rubbish can not a large amount of entering into the culvert, and it is more convenient to clear up, can carry out effectual row to water simultaneously and lead to can prevent the desiccation crack of culvert bottom, design is more reasonable.
The above prior art solutions have the following drawbacks: when water is discharged to an irrigation ditch through the culvert, the irrigation ditch, a farmland or other structures are easily eroded and damaged due to the high water flow speed at the outlet of the culvert.
SUMMERY OF THE UTILITY MODEL
The utility model aims at providing a culvert structure of draining, it has the effect of reducing the culvert and going out water and produce the erosion destruction to other structures to the not enough of prior art existence.
The above object of the present invention can be achieved by the following technical solutions: the utility model provides a culvert structure drains, includes the culvert body, this internal leading water pipe that is provided with of culvert, the exit of culvert body is provided with the pool that disappears, the pool that disappears is unanimous with the central line of culvert body, the one side that the culvert body was kept away from to the pool that disappears is provided with the connection canal, just the central line of connection canal and the central line in pool that disappears form the contained angle, the pool bottom that disappears is less than the lower extreme of leading water pipe.
By adopting the technical scheme, the arrangement of the stilling basin ensures that the speed of the flowing water flowing out of the water conduit in the culvert body is reduced, the flowing water is changed into a cross flow state, so that the erosion damage to structures near the culvert body, particularly the connecting channel after the flowing water flows out of the outlet of the culvert body is avoided, and the service life of the structures such as the connecting channel is prolonged.
The present invention may be further configured in a preferred embodiment as: the culvert body is kept away from in the pond of decontaminating, the one end of decontaminating the pond is provided with the pond of decontaminating, be provided with the sludge pump in the pond of decontaminating, the bottom in the pond of decontaminating is less than the pond bottom of decontaminating, be provided with the direction slope between pond of decontaminating and the pond of decontaminating, the slope of direction sets up.
Through adopting above-mentioned technical scheme, the setting on direction slope, the mud in the pond of being convenient for disappear gets into the pond of decontaminating, and the pond of decontaminating collects the back centralized processing with the mud in the pond of disappearing, avoids mud to store up in the pond of disappearing for a long time.
The present invention may be further configured in a preferred embodiment as: and a water stopping gate is arranged at the tail end of the stilling pool.
Through adopting above-mentioned technical scheme, the water that the interception sluice gate can intercept and get into the pond of decontaminating, conveniently clears up the mud in the pond of decontaminating.
The present invention may be further configured in a preferred embodiment as: and a water stop strip is arranged at the lower end of the water stop gate.
Through adopting above-mentioned technical scheme, the ability of cutting off the water of water gate can be strengthened to the sealing strip, reduces rivers and to the pond of decontaminating, can clear up the mud in the pond of decontaminating this moment, and clears up the pond of decontaminating.
The present invention may be further configured in a preferred embodiment as: and a water interception wall is arranged at the outlet of the culvert body and is obliquely arranged.
Through adopting above-mentioned technical scheme, the basement rock of culvert body can be consolidated to the position that the cut-off wall set up, plays the effect that prevents the culvert body and leak.
The present invention may be further configured in a preferred embodiment as: a protection slope is arranged above the water intercepting wall, and a loam layer, a geotextile layer, a broken stone cushion layer and a block stone cushion layer are sequentially arranged on the protection slope from bottom to top.
By adopting the technical scheme, the arrangement of the protection slope ensures that the structure above the culvert body is more stable, the seepage effect can be effectively achieved, and rainwater is prevented from accumulating above the culvert body to cause larger pressure on the culvert body; the loam intensity is high and light, can avoid it to cause great pressure to the cut-off wall after absorbing water, and the geotechnological cloth layer can play the anti-effect of oozing well, and the rainwater then can easily infiltrate in rubble bed course and block stone bed course.
The present invention may be further configured in a preferred embodiment as: and a sealing edge is arranged on the end surface of the upper end of the protection slope.
Through adopting above-mentioned technical scheme, the banding makes the structure of bank protection more firm.
The present invention may be further configured in a preferred embodiment as: the bank protection is the echelonment setting.
By adopting the technical scheme, the slope protection arranged in the ladder shape not only can save materials, but also has the buffer function,
the present invention may be further configured in a preferred embodiment as: and a trash rack is arranged at the inlet of the culvert body.
Through adopting above-mentioned technical scheme, floating garbage such as leaf, solid rubbish of trash can be intercepted to the trash rack, avoids floating garbage to get into and blocks up the leading pipe in the leading pipe.
To sum up, the utility model discloses a following at least one useful technological effect:
through the action of the stilling pool, flowing water at the outlet of the culvert body is changed into a diffused flow state, so that the erosion damage of culvert outlet water to a connecting channel, a farmland, a house or other structures is effectively reduced;
by arranging the sewage disposal tank, the sludge can be collected and then centralized, so that the residue of the sludge in the stilling tank is reduced;
through the setting of trash rack, can intercept floating garbage such as leaf, solid rubbish of culvert body entrance, avoid floating garbage to block up the leading water pipe.
Drawings
FIG. 1 is a schematic sectional view showing the overall structure of the present embodiment;
FIG. 2 is an enlarged schematic view of portion A of FIG. 1;
FIG. 3 is a cross-sectional view of the culvert body at the exit in this embodiment;
FIG. 4 is a top view of the culvert body outlet in this embodiment;
fig. 5 is a schematic structural view of the water cut-off gate in the present embodiment.
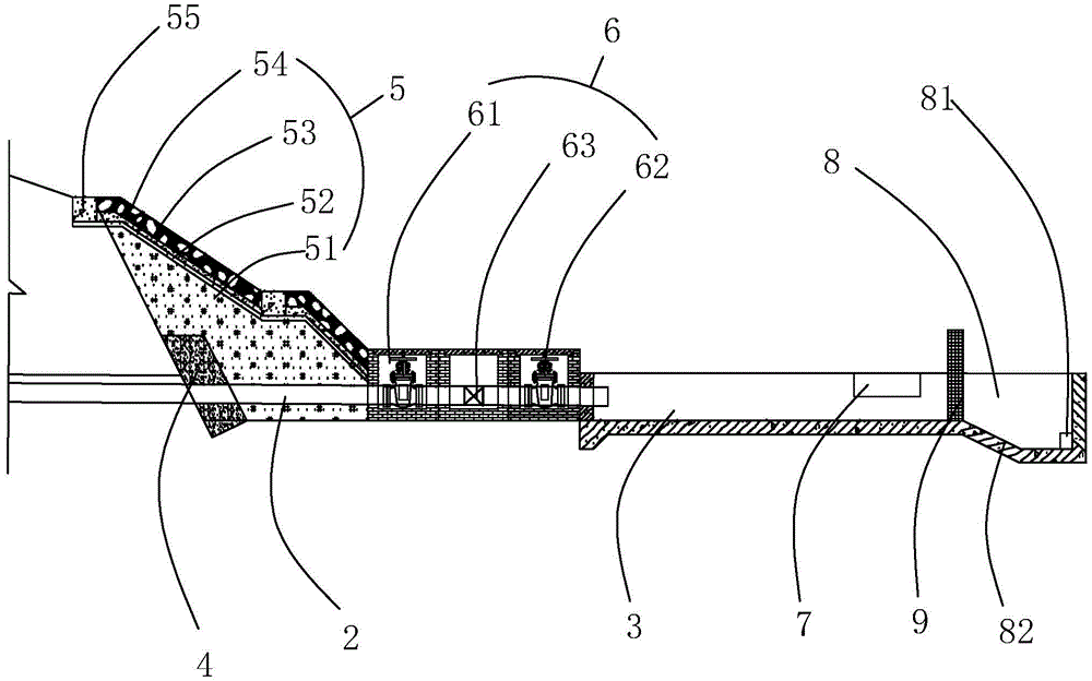
Reference numerals: 1. a culvert body; 11. reinforcing the grouting hole; 12. a trash rack; 2. a water conduit; 3. a stilling pool; 4. a water cut-off wall; 5. slope protection; 51. a layer of loam; 52. a geotextile layer; 53. a gravel cushion layer; 54. a stone block cushion layer; 55. sealing edges; 6. a gate valve well; 61. a service valve; 62. a working valve; 63. a tee joint; 64. a high canal; 65. a low channel; 7. a connecting channel; 8. a sewage disposal pool; 81. a sludge pump; 82. guiding a slope; 9. a water shut-off gate; 91. a water stop strip.
Detailed Description
The present invention will be described in further detail with reference to the accompanying drawings.
Referring to the figure 1, for the utility model discloses a culvert structure drains, including culvert body 1, be provided with leading water pipe 2 in the culvert body 1, the entry linkage reservoir delivery port of culvert body 1, the exit linkage of culvert body 1 has stilling pool 3, can reduce the rivers speed of leading water pipe 2 exit outflow, lets rivers become the torrent state in stilling pool 3, irrigates the task in following the diversion in stilling pool 3 to other canals or farmland again.
Be provided with multichannel reinforcement grout hole 11 on the culvert body 1, reinforcement grout hole 11 endotheca is equipped with the rock core pipe, and the lower extreme and the leading water pipe 2 of rock core pipe are connected, and the upper end is exposed on the road surface, makes things convenient for the staff to carry out the operation of being in milk, injects clay grout in reinforcement grout hole 11, space around the supplementary leading water pipe 2.
With reference to fig. 2 and 3, the water interception walls 4 are arranged at the inlet and the outlet of the culvert body 1, the water interception walls 4 are obliquely arranged, and the water interception walls 4 are formed by pouring concrete, so that the stability and the safety of the inlet and the outlet structures of the culvert body 1 can be improved, and a good anti-seepage effect is achieved. The inlet of the culvert body 1 is provided with the trash rack 12 which can intercept solid floating garbage such as leaves in a reservoir and prevent the solid floating garbage from entering the water conduit 2 to block the water conduit 2.
Referring to fig. 3, be located the cut-off wall 4 top of culvert body 1 exit and be provided with bank protection 5, bank protection 5 sets gradually loam layer 51, geotechnological cloth layer 52, rubble bed course 53 and block stone bed course 54 from lower supreme, can play the infiltration well, prevent reverse infiltration and improve the effect of structural strength around the cut-off wall 4. And bank protection 5 is the echelonment and distributes, is provided with banding 55 on the horizontal plane of bank protection 5, and banding 55 adopts concrete placement to form, improves the overall structure stability of bank protection 5.
Referring to fig. 3 and 4, the stilling pool 3 coincides with the center line of the culvert body 1, and the bottom of the stilling pool 3 is lower than the lower surface of the penstock 2, i.e., water flowing out of the penstock 2 can be temporarily stored in the stilling pool 3. The exit of culvert body 1 is provided with gate valve well 6, is provided with service valve 61 and work valve 62 in the gate valve well 6, and service valve 61 and work valve 62 all communicate with leading water pipe 2, are convenient for inspect and overhaul leading water pipe 2. A tee joint 63 is arranged between the maintenance valve 61 and the working valve 62, one end of the tee joint 63 is communicated with the water conduit 2, and the other two ends of the tee joint are respectively externally connected with a high channel 64 and a low channel 65, so that the auxiliary maintenance function is achieved. The positions where the maintenance valve 61, the working valve 62 and the tee joint 63 are connected with the water conduit 2 are all provided with water stop rings, and the water stop rings adopt water-swelling rubber strips to play roles of sealing and preventing water seepage at the positions of pipeline connection.
One end of the stilling pool 3, which is far away from the water conduit 2, is provided with a connecting channel 7, the central line of the connecting channel 7 forms an included angle with the central line of the stilling pool 3, namely, the connecting channel 7 is arranged on the side surface of the stilling pool 3, and the connecting channel 7 is communicated with other irrigation channels and farmland channels to drain water flow to the place needing irrigation. One end of the stilling pool 3, which is far away from the water conduit 2, is provided with a sewage disposal pool 8, the bottom height of the sewage disposal pool 8 is lower than the bottom height of the stilling pool 3, and a sludge pump 81 is arranged in the sewage disposal pool 8. Because rivers are to speed slowdown in the absorption basin 3, mud in the rivers can deposit, along with the constantly promotion of rivers, mud gets into the pond 8 that decontaminates, is pumped to sludge treatment equipment by sludge pump 81 again and is handled.
A guide slope 82 is arranged between the sewage disposal pool 8 and the stilling pool 3, the guide slope 82 is obliquely arranged, the upper end of the guide slope 82 is connected with the stilling pool 3, the lower end of the guide slope 82 is connected with the sewage disposal pool 8, and sludge can flow to the sewage disposal pool 8 along the guide slope 82. The end of absorption basin 3 is provided with cuts water gate 9 (combine fig. 5), is provided with sealing rod 91 on the lower extreme of cutting water gate 9, and sealing rod 91 adopts and meets water inflation rubber strip, and the both sides of cutting water gate 9 respectively with two inside walls butt of absorption basin 3. When the sludge in the cleaning pond 8 needs to be cleaned, the water interception gate 9 is put down, the water flow in the stilling pond 3 is intercepted, the sludge is prevented from flowing into the cleaning pond 8 again, the sludge pump 81 is started, and the sludge in the cleaning pond 8 can be treated in a unified mode.
The implementation principle of the embodiment is as follows: water in the reservoir flows into a stilling pool 3 through a water conduit 2, solid floating garbage is intercepted by a trash rack 12 at the inlet of the culvert body 1, after the water flow enters the stilling pool 3, the water flow speed is slowed down and then is guided into other irrigation water channels through a connecting channel 7, and sludge in the stilling pool 3 enters a cleaning pool 8 through a guide slope 82; when the sludge in the cleaning pond 8 is accumulated to the required cleaning, the water interception gate 9 is put down, the sludge pump 81 is started, the sludge in the cleaning pond 8 is pumped out to the sludge treatment equipment for treatment, and after the cleaning is finished, the water interception gate 9 is lifted.
The embodiment of this specific implementation mode is the preferred embodiment of the present invention, not limit according to this the utility model discloses a protection scope, so: all equivalent changes made according to the structure, shape and principle of the utility model are covered within the protection scope of the utility model.

Claims (9)

1.一种放水涵洞结构,包括涵洞本体(1),其特征在于:所述涵洞本体(1)内设置有引水管(2),所述涵洞本体(1)的出口处设置有消力池(3),所述消力池(3)与涵洞本体(1)的中心线一致,所述消力池(3)远离涵洞本体(1)的一侧设置有连接渠(7),且所述连接渠(7)的中心线与消力池(3)的中心线形成夹角,所述消力池(3)底部低于引水管(2)的下端。1. A water discharge culvert structure, comprising a culvert body (1), characterized in that: a water diversion pipe (2) is provided in the culvert body (1), and a stilling pool is provided at the exit of the culvert body (1) (3), the stilling pool (3) is consistent with the center line of the culvert body (1), the side of the stilling pool (3) away from the culvert body (1) is provided with a connecting channel (7), and the The center line of the connecting channel (7) forms an included angle with the center line of the stilling basin (3), and the bottom of the stilling basin (3) is lower than the lower end of the water diversion pipe (2). 2.根据权利要求1所述的一种放水涵洞结构,其特征在于:所述消力池(3)远离涵洞本体(1)的一端设置有清污池(8),所述清污池(8)内设置有污泥泵(81),所述清污池(8)的底端低于消力池(3)底端,所述清污池(8)与消力池(3)之间设置有导向坡(82),所述导向坡(82)倾斜设置。2. A water discharge culvert structure according to claim 1, characterized in that: one end of the stilling pool (3) away from the culvert body (1) is provided with a cleaning pool (8), and the cleaning pool ( 8) A sludge pump (81) is provided inside, the bottom end of the cleaning tank (8) is lower than the bottom end of the stilling tank (3), and the distance between the cleaning tank (8) and the stilling tank (3) is A guide slope (82) is provided between, and the guide slope (82) is inclined. 3.根据权利要求2所述的一种放水涵洞结构,其特征在于:所述消力池(3)的末端设置有截水闸门(9)。3 . The water discharge culvert structure according to claim 2 , characterized in that: the end of the stilling pool ( 3 ) is provided with a water intercepting gate ( 9 ). 4 . 4.根据权利要求3所述的一种放水涵洞结构,其特征在于:所述截水闸门(9)的下端设置有止水条(91)。4 . The water discharge culvert structure according to claim 3 , wherein a water stop strip ( 91 ) is provided at the lower end of the water intercepting gate ( 9 ). 5 . 5.根据权利要求1所述的一种放水涵洞结构,其特征在于:所述涵洞本体(1)出口处设置有截水墙(4),所述截水墙(4)倾斜设置。5 . The water discharge culvert structure according to claim 1 , wherein a water intercepting wall ( 4 ) is arranged at the exit of the culvert body ( 1 ), and the water intercepting wall ( 4 ) is inclined. 6 . 6.根据权利要求5所述的一种放水涵洞结构,其特征在于:所述截水墙(4)上方设置有护坡(5),所述护坡(5)由下至上依次设置为亚粘土层(51)、土工布层(52)、碎石垫层(53)和块石垫层(54)。6 . The water discharge culvert structure according to claim 5 , wherein a slope protection ( 5 ) is arranged above the cut-off wall ( 4 ), and the slope protection ( 5 ) is sequentially arranged as a loam layer from bottom to top. 7 . (51), geotextile layer (52), crushed stone cushion (53) and block stone cushion (54). 7.根据权利要求6所述的一种放水涵洞结构,其特征在于:所述护坡(5)上端端面上设置有封边(55)。7 . The water discharge culvert structure according to claim 6 , characterized in that: an edge seal ( 55 ) is provided on the upper end face of the slope protection ( 5 ). 8 . 8.根据权利要求7所述的一种放水涵洞结构,其特征在于:所述护坡(5)呈阶梯状设置。8 . The water discharge culvert structure according to claim 7 , wherein the slope protection ( 5 ) is arranged in a stepped shape. 9 . 9.根据权利要求1所述的一种放水涵洞结构,其特征在于:所述涵洞本体(1)的入口处设置有拦污栅(12)。9 . The water discharge culvert structure according to claim 1 , wherein a trash rack ( 12 ) is arranged at the entrance of the culvert body ( 1 ). 10 .
CN202020974917.2U 2020-06-02 2020-06-02 A kind of drainage culvert structure Expired - Fee Related CN212561230U (en)

Priority Applications (1)

Application Number Priority Date Filing Date Title
CN202020974917.2U CN212561230U (en) 2020-06-02 2020-06-02 A kind of drainage culvert structure

Applications Claiming Priority (1)

Application Number Priority Date Filing Date Title
CN202020974917.2U CN212561230U (en) 2020-06-02 2020-06-02 A kind of drainage culvert structure

Publications (1)

Publication Number Publication Date
CN212561230U true CN212561230U (en) 2021-02-19

Family

ID=74637638

Family Applications (1)

Application Number Title Priority Date Filing Date
CN202020974917.2U Expired - Fee Related CN212561230U (en) 2020-06-02 2020-06-02 A kind of drainage culvert structure

Country Status (1)

Country Link
CN (1) CN212561230U (en)

Cited By (1)

* Cited by examiner, † Cited by third party
Publication number Priority date Publication date Assignee Title
CN115613528A (en) * 2022-10-10 2023-01-17 国网新源控股有限公司 Flood discharge culverts for pumped storage power plants

Cited By (1)

* Cited by examiner, † Cited by third party
Publication number Priority date Publication date Assignee Title
CN115613528A (en) * 2022-10-10 2023-01-17 国网新源控股有限公司 Flood discharge culverts for pumped storage power plants

Similar Documents

Publication Publication Date Title
CN105297872A (en) LID type city rainwater closed conduit with functions of water permeating, storing, purifying and draining
CN210826984U (en) Sponge urban road rainwater irrigation canals and ditches system
CN108757027A (en) Multi-functional lobby water system in a kind of tunnel
CN212561230U (en) A kind of drainage culvert structure
CN112832353A (en) Urban underground sewage pipeline laying system
CN210529412U (en) Integrated rainwater recycling system for sponge cities in super-large square
CN205224230U (en) LID type urban rainwater oozes and holds clean drainage closed conduit
CN112502092A (en) Water gate and pump station double-layer integrated structure and operation method thereof
CN107354949A (en) Water recycling system for foundation pits of subway stations adjacent to high slopes
CN215562326U (en) Prevention and control system for blocking, shunting and water-stone separation of debris flow
CN211057970U (en) Rainwater collection and utilization system for municipal engineering
CN112095742A (en) A landfill leachate drainage system
CN107434301B (en) Vegetation filters slot
CN111255042A (en) Ecological tree pool with floater for automatically controlling initial rainwater drainage and working method
CN206337480U (en) Ecological side drain
CN212689073U (en) Green energy-saving building rainwater collecting and processing system
CN110185051A (en) Deep narrow excavation water discharge method
CN213572248U (en) Landfill leachate drainage guide system
CN213572245U (en) A rainwater purification and storage system in mining areas based on LID technology
CN212835459U (en) Interim drainage system of foundation ditch
CN210947085U (en) Basement with drainage structure
CN212316594U (en) Road surface structure device for filtering and draining water
CN211735669U (en) Leachate drainage guide structure
CN112973271A (en) A structure that is used for shallow water river collection water intaking water purification in mountain area
CN206337482U (en) Ecological side drain and its seepage well

Legal Events

Date Code Title Description
GR01 Patent grant
GR01 Patent grant
CF01 Termination of patent right due to non-payment of annual fee

Granted publication date: 20210219

CF01 Termination of patent right due to non-payment of annual fee