CN212493888U - A kind of sand and gravel sorting machine for construction - Google Patents

A kind of sand and gravel sorting machine for construction Download PDF

Info

Publication number
CN212493888U
CN212493888U CN202020923534.2U CN202020923534U CN212493888U CN 212493888 U CN212493888 U CN 212493888U CN 202020923534 U CN202020923534 U CN 202020923534U CN 212493888 U CN212493888 U CN 212493888U
Authority
CN
China
Prior art keywords
screen box
shell
vibrating screen
box
wall
Prior art date
Legal status (The legal status is an assumption and is not a legal conclusion. Google has not performed a legal analysis and makes no representation as to the accuracy of the status listed.)
Expired - Fee Related
Application number
CN202020923534.2U
Other languages
Chinese (zh)
Inventor
侯品芳
Current Assignee (The listed assignees may be inaccurate. Google has not performed a legal analysis and makes no representation or warranty as to the accuracy of the list.)
Fujian Hongxiang Construction Engineering Co ltd
Original Assignee
Individual
Priority date (The priority date is an assumption and is not a legal conclusion. Google has not performed a legal analysis and makes no representation as to the accuracy of the date listed.)
Filing date
Publication date
Application filed by Individual filed Critical Individual
Priority to CN202020923534.2U priority Critical patent/CN212493888U/en
Application granted granted Critical
Publication of CN212493888U publication Critical patent/CN212493888U/en
Expired - Fee Related legal-status Critical Current
Anticipated expiration legal-status Critical

Links

Images

Landscapes

  • Combined Means For Separation Of Solids (AREA)

Abstract

本实用新型公开了一种建筑用砂石分选机,包括外壳和震动筛盒,所述震动筛盒两端均设有滑杆,外壳两端均设有插接盒,滑杆插接在插接盒内,且滑杆和插接盒之间设有复位弹簧,所述外壳一侧内壁固定安装有支撑杆,支撑杆一侧外壁嵌接有轴承,轴承内插接有短轴,短轴一端焊接有齿轮,且短轴外壁上套接有轻质锤,轻质锤的一端位于震动筛盒内,震动筛盒内固定安装有倾斜放置的筛网盒。本实用新型通过轻质锤、齿条以及齿轮的设置,当震动筛盒来回移动时带动齿条与齿轮啮合使得轻质锤上下摆动,进而对筛网盒以及滑板进行敲击,使得卡接在筛网盒内的沙子以及停留在滑板上的沙子受力震动,从而解决现有技术中的堵塞问题,提高了装置的处理能力。

Figure 202020923534

The utility model discloses a sand and gravel sorting machine for construction, which comprises a casing and a vibrating screen box. Both ends of the vibrating screen box are provided with sliding rods, and both ends of the casing are provided with plug-in boxes. The sliding rods are plugged into Inside the plug box, and a return spring is arranged between the sliding rod and the plug box, a support rod is fixedly installed on the inner wall of one side of the casing, a bearing is embedded in the outer wall of one side of the support rod, and a short shaft is inserted into the bearing, and the short shaft is inserted into the bearing. A gear is welded on one end of the shaft, and a light hammer is sleeved on the outer wall of the short shaft. Through the arrangement of the lightweight hammer, the rack and the gear, when the vibration screen box moves back and forth, the utility model drives the rack to mesh with the gear, so that the lightweight hammer swings up and down, and then the screen box and the slide plate are knocked to make the clamping The sand in the screen box and the sand staying on the sliding plate are vibrated by force, thereby solving the problem of clogging in the prior art and improving the processing capacity of the device.

Figure 202020923534

Description

Sand and stone separator for building
Technical Field
The utility model relates to a grit sorting technology field especially relates to a grit sorter for building.
Background
Sandstone belongs to loose materials, but the general hardness of grains of sandstone is larger, the sandstone is stable in chemical properties under the surface environment, and the sandstone is often used as a high-quality building material and a concrete raw material and widely applied to the fields of houses, roads, railways, engineering and the like due to good hardness and stable chemical properties of sandstone.
If an authorized notice number is CN205110095U discloses a grit sorter, the support frame left side is provided with first motor, and first motor is installed on first backup pad, and first motor and first connecting axle one end are connected. But do not solve the problem that the gravel glues and blocks up the screen cloth box on the screen cloth box among the current grit sorting unit, for this reason we provide a grit sorter for building.
SUMMERY OF THE UTILITY MODEL
The utility model aims at solving the defects existing in the prior art and providing a building sand and stone separator.
In order to achieve the above purpose, the utility model adopts the following technical scheme:
the utility model provides a grit sorter for building, includes shell and reciprocating sieve box, reciprocating sieve box both ends all are equipped with the slide bar, and the shell both ends all are equipped with the grafting box, and the slide bar is pegged graft in the grafting box, and is equipped with reset spring between slide bar and the grafting box, shell one side inner wall fixed mounting has the bracing piece, and bracing piece one side outer wall scarf joint has the bearing, and it has the minor axis to peg graft in the bearing, and minor axis one end welding has the gear, and has cup jointed the light hammer on the minor axis outer wall, and the one end of light hammer is located the reciprocating sieve box, and fixed mounting has the screen cloth box that the slope was placed in the reciprocating sieve box, the one end welding that the reciprocating sieve box is close to the bracing piece has the rack, and the rack forms gear engagement with.
Furthermore, a motor is fixedly mounted on one side of the shell, an eccentric wheel is welded at one end of an output shaft of the motor, and the eccentric wheel and the roller form eccentric fit.
Furthermore, the top end of the shell is provided with a feeding hopper, and the bottom end of the shell is provided with supporting legs.
Furthermore, a sliding plate which is obliquely arranged is fixedly arranged in the vibrating screen box.
Furthermore, the light weight hammer is located between slide and the screen cloth box, and the screen cloth box passes the reciprocating sieve box and the one end of shell is equipped with the gate fence.
Furthermore, the vibrating screen box and the bottom end of the shell are both provided with openings, the openings are provided with flexible connections, and the flexible connections are connected with discharge hoppers.
Furthermore, the outer wall of one side of the shell is provided with an observation window and an access door.
The utility model has the advantages that:
1. the eccentric wheel is driven by the motor to enable the vibrating screen box to move back and forth, so that the filtering capacity of the device is improved, sand is always in a moving state, screening is convenient to complete, and the practicability of the device is improved.
2. Through the setting of light weight hammer, rack and gear, drive rack and gear engagement when reciprocating sieve box make the light weight hammer luffing motion, and then strike screen cloth box and slide for the sand of joint in screen cloth box and the sand atress vibrations that stops on the slide, thereby solve the jam problem among the prior art, improved the throughput of device.
3. Through the setting of access door and observation window, convenient to use person observes and overhauls the inside condition, has improved the practical convenience of device.
Drawings
FIG. 1 is a schematic view of a cross-sectional structure of a building sand-stone separator provided by the present invention;
FIG. 2 is an enlarged schematic structural view of point A of the building sandstone sorter provided by the present invention;
fig. 3 is the utility model provides a structural schematic is looked forward of building grit sorter.
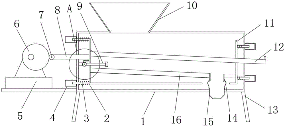
In the figure: 1. a housing; 2. a slide bar; 3. a return spring; 4. a plug box; 5. a motor; 6. an eccentric wheel; 7. a roller; 8. a push rod; 9. a light weight hammer; 10. feeding a hopper; 11. a vibrating screen box; 12. a screen box; 13. supporting legs; 14. soft connection; 15. a discharge hopper; 16. a slide plate; 17. a support bar; 18. a rack; 19. a gear; 20. an access door.
Detailed Description
The technical solutions in the embodiments of the present invention will be described clearly and completely with reference to the accompanying drawings in the embodiments of the present invention, and it is obvious that the described embodiments are only some embodiments of the present invention, not all embodiments.
Referring to fig. 1-3, a building sandstone sorter comprises a shell 1 and a vibrating screen box 11, wherein two ends of the vibrating screen box 11 are respectively provided with a slide bar 2, two ends of the shell 1 are respectively provided with an inserting box 4, the slide bars 2 are inserted into the inserting box 4, and a return spring 3 is arranged between the slide bars 2 and the inserting box 4, so that the slide bars 2 can move back and forth in the inserting box 4, a support bar 17 is fixedly arranged on the inner wall of one side of the shell 1, a bearing is embedded and connected on the outer wall of one side of the support bar 17, a short shaft is inserted and connected in the bearing, a gear 19 is welded at one end of the short shaft, a light weight hammer 9 is sleeved and connected on the outer wall of the short shaft, the light weight hammer 9 rotates along with the rotation of the gear 19, a vertical strip-shaped groove is arranged on the outer wall of one side of the vibrating screen box 11, one end of the light weight hammer 9 penetrates through the strip-shaped groove to be positioned, when the vibrating screen box 11 moves back and forth, the rack 18 is driven to be meshed with the gear 19, so that the light weight hammer 9 swings up and down in the strip-shaped groove, and then the screen box 12 and the sliding plate 16 above and below the light weight hammer are knocked, sand clamped in the screen box 12 and sand staying on the sliding plate 16 are vibrated under stress and fall and slide from the screen box 12, and therefore the problem of blockage in the prior art is solved, the filtering capacity of the device is improved, a door fence is arranged at one end, through which the screen box 12 penetrates the vibrating screen box 11 and the shell 1, of the vibrating screen box 11, the rack 18 is welded at one end, close to the supporting rod 17, of the vibrating screen box 11, the rack 18 and the gear 19 form gear meshing, a push rod 8 is welded at one end of the vibrating screen box 11, the push rod 8 penetrates one end of the shell 1, a roller 7 is fixedly installed at the outer wall of one side of the shell 1, eccentric wheel 6 forms eccentric cooperation with gyro wheel 7, and motor 5 drives eccentric wheel 6 and rotates for eccentric wheel 6 makes a round trip to extrude gyro wheel 7, and then makes the reciprocating motion of reciprocating sieve box 11, makes the sand be in the motion state always, is convenient for accomplish the screening, and reciprocating sieve box 11 and shell 1 bottom all are equipped with the opening, and the opening part is equipped with flexible coupling 14, and flexible coupling 14 is connected with discharge hopper 15, is convenient for collect the qualified fine sand of screening.
It should be noted that, 1 top of shell is equipped with feeding funnel 10, and 1 bottom of shell is equipped with supporting leg 13, and 1 one side outer wall of shell is equipped with observation window and access door 20, and the person of facilitating the use observes and overhauls the internal conditions, has improved the practical convenience of device.
The working principle is as follows: during the use, put into reciprocating sieve box 11 with grit from feeding funnel 10 in, motor 5 drives eccentric wheel 6 and rotates, make eccentric wheel 6 to the gyro wheel 7 extrusion of making a round trip, again because the existence of reset spring 3 and then make reciprocating sieve box 11 back and forth movement, make the sand be in the motion state always, be convenient for accomplish the screening, and in reciprocating sieve box 11, drive rack 18 and gear 19 meshing, make light hammer 9 luffing motion in the bar inslot, and then strike screen cloth box 12 and slide 16, make the sand of joint in screen cloth box 12 and the sand atress vibrations that stops on slide 16, drop from screen cloth box 12, the landing, the filter capacity of device has been improved, thick grit granule can be followed the tail end department of screen cloth box 12 and opened the door fence and take out.
The above, only be the concrete implementation of the preferred embodiment of the present invention, but the protection scope of the present invention is not limited thereto, and any person skilled in the art is in the technical scope of the present invention, according to the technical solution of the present invention and the utility model, the concept of which is equivalent to replace or change, should be covered within the protection scope of the present invention.

Claims (7)

1. The building gravel separator comprises a shell (1) and a vibrating screen box (11) and is characterized in that slide rods (2) are arranged at two ends of the vibrating screen box (11), plug-in boxes (4) are arranged at two ends of the shell (1), the slide rods (2) are plugged in the plug-in boxes (4), a reset spring (3) is arranged between the slide rods (2) and the plug-in boxes (4), a support rod (17) is fixedly arranged on the inner wall of one side of the shell (1), a bearing is embedded and connected on the outer wall of one side of the support rod (17), a short shaft is inserted and connected in the bearing, a gear (19) is welded at one end of the short shaft, a light weight hammer (9) is sleeved and connected on the outer wall of the short shaft, one end of the light weight hammer (9) is located in the vibrating screen box (11), a screen box (12) which is obliquely arranged is fixedly arranged in the vibrating screen box (11), and a rack (, the rack (18) and the gear (19) form gear engagement, a push rod (8) is welded at one end of the vibrating screen box (11), and a roller (7) is fixedly mounted at one end, penetrating through the shell (1), of the push rod (8).
2. The building gravel separator as claimed in claim 1, wherein a motor (5) is fixedly installed at one side of the housing (1), an eccentric wheel (6) is welded at one end of an output shaft of the motor (5), and the eccentric wheel (6) and the roller (7) form eccentric fit.
3. The building sandstone separator as claimed in claim 1, wherein a feeding hopper (10) is arranged at the top end of the shell (1), and supporting legs (13) are arranged at the bottom end of the shell (1).
4. A building sand and stone separator as claimed in claim 1, wherein a slide plate (16) is fixedly installed in the vibrating screen box (11) in an inclined position.
5. A building sandstone separator as claimed in claim 4, wherein said light weight hammer (9) is located between the sliding plate (16) and the screen box (12), and the screen box (12) has a door fence at one end passing through the vibrating screen box (11) and the housing (1).
6. A building sandstone separator as claimed in claim 1 or 5, wherein the vibrating screen box (11) and the bottom end of the shell (1) are provided with openings, the openings are provided with flexible connections (14), and the flexible connections (14) are connected with a discharge hopper (15).
7. The building sand and stone separator as claimed in claim 1, wherein an observation window and an access door (20) are provided on the outer wall of one side of the housing (1).
CN202020923534.2U 2020-05-27 2020-05-27 A kind of sand and gravel sorting machine for construction Expired - Fee Related CN212493888U (en)

Priority Applications (1)

Application Number Priority Date Filing Date Title
CN202020923534.2U CN212493888U (en) 2020-05-27 2020-05-27 A kind of sand and gravel sorting machine for construction

Applications Claiming Priority (1)

Application Number Priority Date Filing Date Title
CN202020923534.2U CN212493888U (en) 2020-05-27 2020-05-27 A kind of sand and gravel sorting machine for construction

Publications (1)

Publication Number Publication Date
CN212493888U true CN212493888U (en) 2021-02-09

Family

ID=74390485

Family Applications (1)

Application Number Title Priority Date Filing Date
CN202020923534.2U Expired - Fee Related CN212493888U (en) 2020-05-27 2020-05-27 A kind of sand and gravel sorting machine for construction

Country Status (1)

Country Link
CN (1) CN212493888U (en)

Cited By (1)

* Cited by examiner, † Cited by third party
Publication number Priority date Publication date Assignee Title
CN112871650A (en) * 2021-03-09 2021-06-01 日昌升建筑新材料设计研究院有限公司 Visual shale shaker protection casing

Cited By (1)

* Cited by examiner, † Cited by third party
Publication number Priority date Publication date Assignee Title
CN112871650A (en) * 2021-03-09 2021-06-01 日昌升建筑新材料设计研究院有限公司 Visual shale shaker protection casing

Similar Documents

Publication Publication Date Title
CN108927323B (en) Working method of building sandstone screening device
KR101782330B1 (en) Screen for screening soil with composite vibration function
CN114918125B (en) Screening plant for road engineering
CN207086319U (en) A kind of particle vibration sieve with scraper plate
CN111451142A (en) Energy-concerving and environment-protective type building engineering construction building materials sieving mechanism for grit
CN212493888U (en) A kind of sand and gravel sorting machine for construction
CN212040635U (en) Novel vibrating screen
CN218835142U (en) Sand screening device for production of wet-mixed mortar
CN211070799U (en) Grit screening plant for building engineering
CN215278508U (en) Grit sieving mechanism for building engineering
CN212310064U (en) Impurity screening device based on river sand for building
CN219664346U (en) Recycled concrete material vibrating screen
CN212733036U (en) Automatic dredging and blockage preventing device of high-efficiency powder concentrator
CN110369253B (en) Screening sand device is used in road and bridge construction
CN218591113U (en) Cement stabilized macadam screening plant that gathers materials
CN112156974A (en) Concrete sand screening device and screening method thereof
CN214766740U (en) A sand screening device for construction
CN213032969U (en) A kind of circulating sieve device for processing
CN206689013U (en) A kind of sand grains multi-stage screening apparatus for building
CN117046594A (en) Building solid waste recovery processing device
CN111330674A (en) Environment-friendly dust-free cone stone crusher
CN212943198U (en) Device of abandonment concrete preparation reclaimed sand
CN210058387U (en) Hydraulic stone crushing device for construction site
CN210935782U (en) Linear vibration dewatering screen for mineral separation
CN223128155U (en) A sand and gravel crusher with grading function

Legal Events

Date Code Title Description
GR01 Patent grant
GR01 Patent grant
TR01 Transfer of patent right

Effective date of registration: 20230103

Address after: Floor 9, Internet Industrial Park, Yinxi Street, Fuqing City, Fuzhou City, Fujian Province, 350300

Patentee after: Fujian Hongxiang Construction Engineering Co.,Ltd.

Address before: 350200 No.102, block 5, Heyang building, Hexia street, Wuhang Town, Changle City, Fuzhou City, Fujian Province

Patentee before: Hou Pinfang

TR01 Transfer of patent right
CF01 Termination of patent right due to non-payment of annual fee

Granted publication date: 20210209

CF01 Termination of patent right due to non-payment of annual fee