CN212470814U - Interior wall grinding equipment for construction engineering - Google Patents
Interior wall grinding equipment for construction engineering Download PDFInfo
- Publication number
- CN212470814U CN212470814U CN202020594681.XU CN202020594681U CN212470814U CN 212470814 U CN212470814 U CN 212470814U CN 202020594681 U CN202020594681 U CN 202020594681U CN 212470814 U CN212470814 U CN 212470814U
- Authority
- CN
- China
- Prior art keywords
- fixedly connected
- pipe
- motor
- base
- sleeved
- Prior art date
- Legal status (The legal status is an assumption and is not a legal conclusion. Google has not performed a legal analysis and makes no representation as to the accuracy of the status listed.)
- Withdrawn - After Issue
Links
Images
Landscapes
- Finish Polishing, Edge Sharpening, And Grinding By Specific Grinding Devices (AREA)
Abstract
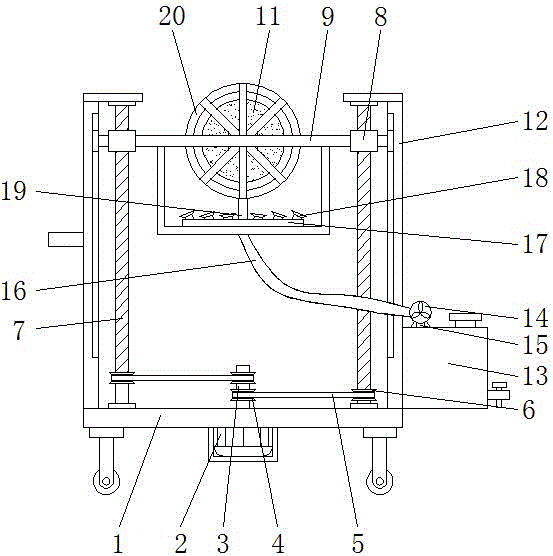
本实用新型公开了建筑工程用内墙打磨设备,包括底座,所述底座底部的中轴处设置有第一电机,所述第一电机的输出端固定连接有转轴,所述转轴的顶部贯穿底座并延伸至底座的顶部,所述转轴的表面套接有主皮带轮,主皮带轮的表面套设有皮带,皮带内表面的外侧套设有副皮带轮。本实用新型通过第一电机带动转轴进行转动,转轴会带动螺纹杆进行转动,螺纹杆带动螺纹套进行移动,螺纹套带动横杆进行移动,横杆带动第二电机进行移动,第二电机带动打磨盘进行移动,从而方便上下打磨,打磨时,通过风机和第二吸尘头的配合,将打磨产生的一部分灰尘吸入,通过第一吸尘头,将打磨飞溅且并未被第二吸尘头吸入的灰尘吸入,并排至过滤箱内。
The utility model discloses an interior wall grinding device for construction engineering, which comprises a base, a first motor is arranged at the central axis of the bottom of the base, an output end of the first motor is fixedly connected with a rotating shaft, and the top of the rotating shaft penetrates through the base and extends to the top of the base, the surface of the rotating shaft is sleeved with a main pulley, the surface of the main pulley is sleeved with a belt, and the outer side of the inner surface of the belt is sleeved with a secondary pulley. The utility model drives the rotating shaft to rotate through the first motor, the rotating shaft drives the threaded rod to rotate, the threaded rod drives the threaded sleeve to move, the threaded sleeve drives the crossbar to move, the crossbar drives the second motor to move, and the second motor drives the grinding The disc moves to facilitate up and down grinding. During grinding, part of the dust generated by grinding is sucked in through the cooperation of the fan and the second vacuum head. The inhaled dust is sucked in and discharged into the filter box.
Description
Claims (5)
Priority Applications (1)
| Application Number | Priority Date | Filing Date | Title |
|---|---|---|---|
| CN202020594681.XU CN212470814U (en) | 2020-04-21 | 2020-04-21 | Interior wall grinding equipment for construction engineering |
Applications Claiming Priority (1)
| Application Number | Priority Date | Filing Date | Title |
|---|---|---|---|
| CN202020594681.XU CN212470814U (en) | 2020-04-21 | 2020-04-21 | Interior wall grinding equipment for construction engineering |
Publications (1)
| Publication Number | Publication Date |
|---|---|
| CN212470814U true CN212470814U (en) | 2021-02-05 |
Family
ID=74450541
Family Applications (1)
| Application Number | Title | Priority Date | Filing Date |
|---|---|---|---|
| CN202020594681.XU Withdrawn - After Issue CN212470814U (en) | 2020-04-21 | 2020-04-21 | Interior wall grinding equipment for construction engineering |
Country Status (1)
| Country | Link |
|---|---|
| CN (1) | CN212470814U (en) |
Cited By (2)
| Publication number | Priority date | Publication date | Assignee | Title |
|---|---|---|---|---|
| CN115464482A (en) * | 2022-09-06 | 2022-12-13 | 江西省城建房屋建筑工程公司 | Wall high accuracy grinding device with dust absorption function |
| CN119880503A (en) * | 2025-01-23 | 2025-04-25 | 河南省第四地质矿产调查院有限公司 | Hydraulic loop geological investigation sampling structure and sampling method |
-
2020
- 2020-04-21 CN CN202020594681.XU patent/CN212470814U/en not_active Withdrawn - After Issue
Cited By (2)
| Publication number | Priority date | Publication date | Assignee | Title |
|---|---|---|---|---|
| CN115464482A (en) * | 2022-09-06 | 2022-12-13 | 江西省城建房屋建筑工程公司 | Wall high accuracy grinding device with dust absorption function |
| CN119880503A (en) * | 2025-01-23 | 2025-04-25 | 河南省第四地质矿产调查院有限公司 | Hydraulic loop geological investigation sampling structure and sampling method |
Similar Documents
| Publication | Publication Date | Title |
|---|---|---|
| CN212470814U (en) | Interior wall grinding equipment for construction engineering | |
| CN210968025U (en) | Numerically controlled fraise machine convenient to collection dirt | |
| CN211029396U (en) | Automatic grinding equipment for machining | |
| CN209239817U (en) | A kind of grinding machine with collection waste material function | |
| CN216179067U (en) | A wall grinding device for building decoration and decoration | |
| CN214559437U (en) | Industrial dust-collecting and dust-removing device | |
| CN213004238U (en) | Special wall polisher of building | |
| CN218504065U (en) | Steel grating grinding device | |
| CN213144696U (en) | Energy-saving air compressor with high-efficient heat dissipation function | |
| CN213615688U (en) | Double-end-face grinding machine with automatic cleaning function | |
| CN215999836U (en) | Interior spiral shell is grinding device for tee bend processing convenient to clearance piece | |
| CN213258946U (en) | Dust collector for ceramic polishing | |
| CN112405164A (en) | Wood floor polisher | |
| CN221063651U (en) | Dust collection device for repairing cultural relics | |
| CN222493752U (en) | Quick clamping device for valve machining | |
| CN214642297U (en) | Flat grinder who possesses function of cleaning | |
| CN222445744U (en) | A cleaning device for air conditioner maintenance filter | |
| CN223466106U (en) | Power connector front housing surface machining tool | |
| CN221658772U (en) | Polishing device for precision parts | |
| CN218785408U (en) | A wall grinding device for housing construction in municipal engineering | |
| CN221696245U (en) | Sharpening machine for transverse bar milling cutter of roller | |
| CN220361587U (en) | LED full-automatic die bonder hardware | |
| CN216504099U (en) | Polishing device of cutting machine for processing customized fixed denture | |
| CN211103095U (en) | Wall polishing equipment for construction convenient to use | |
| CN218592706U (en) | A vacuum cleaner for grinding concrete |
Legal Events
| Date | Code | Title | Description |
|---|---|---|---|
| GR01 | Patent grant | ||
| GR01 | Patent grant | ||
| TR01 | Transfer of patent right | ||
| TR01 | Transfer of patent right |
Effective date of registration: 20210507 Address after: Room 629, 6 / F, 49 Zhengyang Street, Tanghuai Park, Shanxi comprehensive reform demonstration zone, Taiyuan City, Shanxi Province 030000 Patentee after: HaoChen Construction Technology Co.,Ltd. Address before: 557700 No.90, fengxiangping village, Jinbao Township, Zhenyuan County, Qiandongnan Miao and Dong Autonomous Prefecture, Guizhou Province Patentee before: Yang Jiyin |
|
| CP03 | Change of name, title or address | ||
| CP03 | Change of name, title or address |
Address after: Room 629, 6 / F, 49 Zhengyang Street, Tanghuai Park, Shanxi comprehensive reform demonstration zone, Taiyuan City, Shanxi Province 030000 Patentee after: Haochen Construction Technology Co.,Ltd. Country or region after: China Address before: Room 629, 6 / F, 49 Zhengyang Street, Tanghuai Park, Shanxi comprehensive reform demonstration zone, Taiyuan City, Shanxi Province 030000 Patentee before: HaoChen Construction Technology Co.,Ltd. Country or region before: China |
|
| AV01 | Patent right actively abandoned | ||
| AV01 | Patent right actively abandoned | ||
| AV01 | Patent right actively abandoned |
Granted publication date: 20210205 Effective date of abandoning: 20250621 |
|
| AV01 | Patent right actively abandoned |
Granted publication date: 20210205 Effective date of abandoning: 20250621 |
