CN212281641U - A surgical anesthesia rack - Google Patents

A surgical anesthesia rack Download PDF

Info

Publication number
CN212281641U
CN212281641U CN202020403104.8U CN202020403104U CN212281641U CN 212281641 U CN212281641 U CN 212281641U CN 202020403104 U CN202020403104 U CN 202020403104U CN 212281641 U CN212281641 U CN 212281641U
Authority
CN
China
Prior art keywords
drawer
cabinet
electric telescopic
surgical
bottom plate
Prior art date
Legal status (The legal status is an assumption and is not a legal conclusion. Google has not performed a legal analysis and makes no representation as to the accuracy of the status listed.)
Expired - Fee Related
Application number
CN202020403104.8U
Other languages
Chinese (zh)
Inventor
肖高鹏
李俞锦
Current Assignee (The listed assignees may be inaccurate. Google has not performed a legal analysis and makes no representation or warranty as to the accuracy of the list.)
First Peoples Hospital of Yunnan Province
Original Assignee
First Peoples Hospital of Yunnan Province
Priority date (The priority date is an assumption and is not a legal conclusion. Google has not performed a legal analysis and makes no representation as to the accuracy of the date listed.)
Filing date
Publication date
Application filed by First Peoples Hospital of Yunnan Province filed Critical First Peoples Hospital of Yunnan Province
Priority to CN202020403104.8U priority Critical patent/CN212281641U/en
Application granted granted Critical
Publication of CN212281641U publication Critical patent/CN212281641U/en
Expired - Fee Related legal-status Critical Current
Anticipated expiration legal-status Critical

Links

Images

Landscapes

  • Apparatus For Disinfection Or Sterilisation (AREA)
  • Physical Water Treatments (AREA)

Abstract

本实用新型公开了一种外科手术麻醉架,包括底板、万向自锁轮、出水管和进水管,所述底板上设置有电动伸缩杆和清洗柜,所述第一抽屉和第二抽屉设置在收纳柜上,所述消毒柜设置在第一抽屉的左侧,所述清洗柜内设置有污水箱和净水箱,所述出水管两端分别与污水箱和盥洗池连接,所述进水管两端分别与水龙头和净水箱连接。该外科手术麻醉架,设置有清洗柜,可将使用过后的手术器械在盥洗池内及时进行清洗,防止手术器械因长时间放置导致清洗不干净,同时设置有污水箱,可将污水进行收集防止滋生细菌,设置有紫外线消毒灯,可将清洗过后的手术器械放进消毒柜内通过紫外线消毒灯的照射进行消毒,从而确保手术器械的卫生质量。

Figure 202020403104

The utility model discloses a surgical anesthesia rack, which comprises a bottom plate, a universal self-locking wheel, a water outlet pipe and a water inlet pipe, an electric telescopic rod and a cleaning cabinet are arranged on the bottom plate, and the first drawer and the second drawer are provided with On the storage cabinet, the disinfection cabinet is arranged on the left side of the first drawer, the cleaning cabinet is provided with a sewage tank and a clean water tank, the two ends of the water outlet pipe are respectively connected to the sewage tank and the wash basin, and the water inlet pipe The two ends are respectively connected with the faucet and the clean water tank. The surgical anesthesia rack is provided with a cleaning cabinet, which can clean the used surgical instruments in the wash basin in time to prevent the surgical instruments from being unclean due to long-term placement, and is also provided with a sewage tank, which can collect sewage to prevent breeding The bacteria are equipped with ultraviolet disinfection lamps, and the cleaned surgical instruments can be put into the disinfection cabinet for disinfection by the irradiation of ultraviolet disinfection lamps, so as to ensure the hygienic quality of the surgical instruments.

Figure 202020403104

Description

Anesthesia frame for surgical operation
Technical Field
The utility model relates to the technical field of surgery, in particular to a surgical anesthesia frame.
Background
The anesthesia frame is the must instrument of surgery operation room, is the instrument that is used for placing the narcotic drugs and surgical instruments when performing the operation, through the massive retrieval, finds among the prior art typically be CN204484320U as disclosing, the utility model discloses a multi-functional anesthesia frame, including anesthesia frame bottom plate, support column and lift post, anesthesia frame bottom plate upside right-hand member is equipped with the support column, and the support column upside is equipped with the lift post, and the lift post passes through adjusting bolt and is connected with the support column, and lift post upper end is equipped with the steering sleeve, and steering sleeve left end outer wall upper level is equipped with the connecting rod, the utility model discloses multi-functional anesthesia frame, degassing unit can disinfect to medical supplies, puts the thing drawer and can place medical supplies, conveniently takes and has practiced thrift the space, and when the supporting legs fell to ground, can support anesthesia frame, prolong its life. Because medical personnel's height is different, need frequently follow the anesthesia frame and take article when using the anesthesia frame to perform the operation, and its height can not be adjusted according to doctor's height demand to traditional anesthesia frame structure, adaptability is relatively poor, and traditional anesthesia frame is to collecting the rubbish that can not produce in the operation to the polluted environment, traditional anesthesia frame does not possess belt cleaning device simultaneously, can not clean the surgical instruments after using, consequently need use surgery anesthesia frame.
SUMMERY OF THE UTILITY MODEL
An object of the utility model is to provide a surgical operation anesthesia frame, because medical personnel's height is different to propose in solving above-mentioned background art, need frequently follow the anesthesia frame and take article when using the anesthesia frame to perform the operation, and its height can not be adjusted according to doctor's height demand to traditional anesthesia frame structural fixation, adaptability is relatively poor, and traditional anesthesia frame is collected the rubbish that can not produce in the operation, thereby the polluted environment, traditional anesthesia frame does not possess belt cleaning device simultaneously, can not carry out abluent problem to the surgical instruments after using.
In order to achieve the above object, the utility model provides a following technical scheme: the utility model provides a surgical operation anesthesia frame, includes bottom plate, universal auto-lock wheel, outlet pipe and inlet tube, be provided with electric telescopic handle and washing cabinet on the bottom plate, and electric telescopic handle sets up the front side at washing cabinet, the electric telescopic handle top is provided with the diaphragm, and is provided with sterilizer and first drawer on the diaphragm, first drawer and second drawer set up at the storage cabinet, the sterilizer sets up in the left side of first drawer, and the top of first drawer is provided with the second drawer, be provided with bilge tank and clean water tank in the washing cabinet, and wash the cabinet top and be provided with tap and wash basin, the outlet pipe both ends are connected with bilge tank and wash basin respectively, the inlet tube both ends are connected with tap and clean water tank respectively, and the one end that the inlet tube is close to the clean water tank is provided with the liquid pump.
Preferably, universal auto-lock wheel symmetry sets up in the bottom of bottom plate, and is provided with the garbage bin on the bottom plate, and the garbage bin setting is on electric telescopic handle's right side simultaneously.
Preferably, the top of the inner side of the disinfection cabinet is provided with an ultraviolet disinfection lamp.
Preferably, a first tray and a second tray are respectively arranged above the disinfection cabinet and the second drawer.
Preferably, the ultraviolet disinfection lamp, the electric telescopic rod and the liquid pump are electrically connected.
Preferably, the first drawer and the second drawer respectively form a drawing structure with the storage cabinet.
Compared with the prior art, the beneficial effects of the utility model are that: the anesthesia frame for the surgical operation is provided with a plurality of anesthesia racks,
(1) the cleaning cabinet is arranged, used surgical instruments can be cleaned in time in the washing basin, the surgical instruments are prevented from being unclean due to long-time placement, the sewage tank is arranged, sewage can be collected, bacteria breeding is prevented, the ultraviolet disinfection lamp is arranged, the cleaned surgical instruments can be placed in the disinfection cabinet to be disinfected through irradiation of the ultraviolet disinfection lamp, and therefore the sanitary quality of the surgical instruments is guaranteed;
(2) be provided with electric telescopic handle, can adjust electric telescopic handle height according to medical personnel's needs to make things convenient for medical personnel to take narcotic drugs and apparatus from first drawer and second drawer, be provided with the medical waste that the garbage bin can produce the operation in-process and collect, thereby avoid medical waste polluted environment.
Drawings
FIG. 1 is a schematic front view of the present invention;
fig. 2 is a schematic rear view of the present invention;
fig. 3 is a schematic view of the top view structure of the present invention.
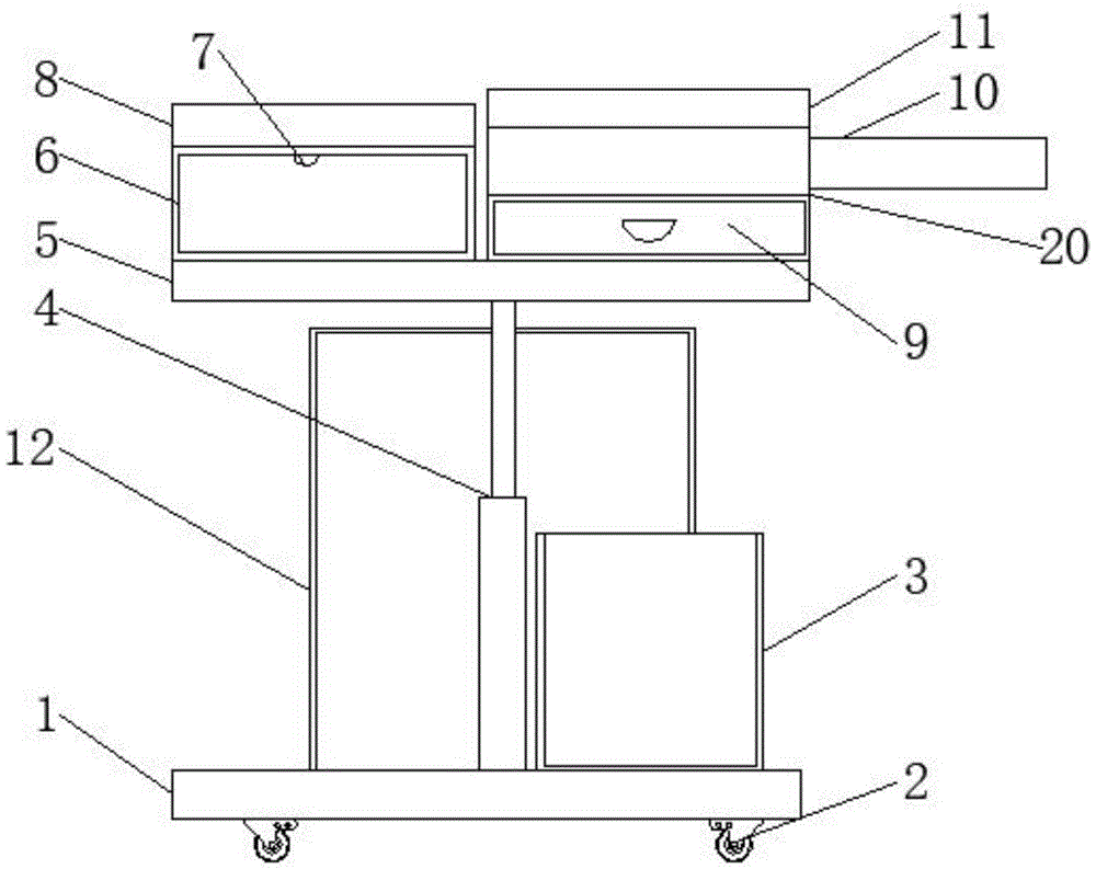
In the figure: 1. the bottom plate, 2, universal auto-lock wheel, 3, garbage bin, 4, electric telescopic handle, 5, diaphragm, 6, sterilizer, 7, ultraviolet ray disinfection lamp, 8, first tray, 9, first drawer, 10, second drawer, 11, second tray, 12, wash the cabinet, 13, sewage case, 14, the water purification case, 15, outlet pipe, 16, the liquid pump, 17, the inlet tube, 18, tap, 19, wash-basin, 20, accomodate the cabinet.
Detailed Description
The technical solutions in the embodiments of the present invention will be described clearly and completely with reference to the accompanying drawings in the embodiments of the present invention, and it is obvious that the described embodiments are only some embodiments of the present invention, not all embodiments. Based on the embodiments in the present invention, all other embodiments obtained by a person skilled in the art without creative work belong to the protection scope of the present invention.
Referring to fig. 1-3, the present invention provides a technical solution: a surgical anesthesia rack is disclosed, as shown in figures 1 and 3, an electric telescopic rod 4 and a cleaning cabinet 12 are arranged on a bottom plate 1, the electric telescopic rod 4 is arranged at the front side of the cleaning cabinet 12, universal auto-lock wheels 2 are symmetrically arranged at the bottom of the bottom plate 1, a garbage can 3 is arranged on the bottom plate 1, the garbage can 3 is arranged at the right side of the electric telescopic rod 4, the anesthesia rack can be freely moved according to the self-demand by utilizing the universal auto-lock wheels 2, the garbage can 3 is convenient for collecting garbage generated in the operation and preventing the environment from being polluted, a transverse plate 5 is arranged at the top of the electric telescopic rod 4, a disinfection cabinet 6 and a first drawer 9 are arranged on the transverse plate 5, an ultraviolet disinfection lamp 7 is arranged at the top of the inner side of the disinfection cabinet 6, the ultraviolet disinfection lamp 7 is convenient for disinfecting the instruments, thereby ensuring that the sanitary quality of the instruments meets the standard, the first drawer 9 and a second drawer 10, first drawer 9 and second drawer 10 constitute the pull structure with cabinet 20 respectively, the pull direction of first drawer 9 and second drawer 10 is different, thereby prevent that it from sheltering from each other, be convenient for medical personnel take the apparatus in first drawer 9 and the second drawer 10, sterilizer 6 sets up the left side at first drawer 9, and the top of first drawer 9 is provided with second drawer 10, sterilizer 6 and the top of second drawer 10 are provided with first tray 8 and second tray 11 respectively, first tray 8 and second tray 11 can deposit a large amount of instruments that have passed after using, be convenient for enlarge the storage space of anesthesia frame.
As shown in fig. 1 and 2, a sewage tank 13 and a clean water tank 14 are arranged in the cleaning cabinet 12, a water tap 18 and a wash basin 19 are arranged above the cleaning cabinet 12, two ends of a water outlet pipe 15 are respectively connected with the sewage tank 13 and the wash basin 19, two ends of a water inlet pipe 17 are respectively connected with the water tap 18 and the clean water tank 14, a liquid pump 16 is arranged at one end of the water inlet pipe 17 close to the clean water tank 14, the ultraviolet disinfection lamp 7, the electric telescopic rod 4 and the liquid pump 16 are electrically connected, the length of the electric telescopic rod 4 can be adjusted according to the self requirement, so that the height of the anesthesia rack is adjusted, and the use of the anesthesia rack by medical staff.
The working principle is as follows: when the anesthesia rack for surgical operation is used, firstly, the anesthesia rack is moved to a working area by using the universal self-locking wheel 2 and is connected with an external power supply, then medical staff can operate the electric telescopic rod 4 to adjust the height of the anesthesia rack according to the self requirement, thereby being convenient to take surgical instruments and anesthetic drugs stored in the first drawer 9 and the second drawer 10, meanwhile, the first tray 8 and the second tray 11 can store a large amount of used surgical instruments, the garbage can 3 is convenient to store medical garbage generated in the operation, after the operation is completed, the used instruments can be put into the wash basin 19 for cleaning, water in the clean water tank 14 flows out from the water tap 18 through the water inlet pipe 17 under the action of the liquid pump 16, thereby cleaning the instruments in the wash basin 19, sewage in the wash basin 19 flows into the tank 13 through the water outlet pipe 15, the instruments can be put into the disinfection cabinet 6 after cleaning, the ultraviolet sterilizing lamp 7 is activated to sterilize it, thus ensuring the hygienic quality of the instruments, and after sterilization is completed, it is put into the first drawer 9 and the second drawer 10, which completes the whole work, and the contents not described in detail in this specification are well known to those skilled in the art.
The terms "central," "longitudinal," "lateral," "front," "rear," "left," "right," "vertical," "horizontal," "top," "bottom," "inner," "outer," and the like are used in the orientation or positional relationship indicated in the drawings for ease of description, but are not intended to indicate or imply that the device or element so referred to must have a particular orientation, be constructed and operated in a particular orientation, and are not to be considered limiting of the scope of the invention.
Although the present invention has been described in detail with reference to the foregoing embodiments, it will be apparent to those skilled in the art that modifications may be made to the embodiments or portions thereof without departing from the spirit and scope of the invention.

Claims (6)

1. The utility model provides a surgical operation anesthesia frame, includes bottom plate (1), universal auto-lock wheel (2), outlet pipe (15) and inlet tube (17), its characterized in that: the cleaning device is characterized in that an electric telescopic rod (4) and a cleaning cabinet (12) are arranged on the bottom plate (1), the electric telescopic rod (4) is arranged on the front side of the cleaning cabinet (12), a transverse plate (5) is arranged at the top of the electric telescopic rod (4), a disinfection cabinet (6) and a first drawer (9) are arranged on the transverse plate (5), the first drawer (9) and a second drawer (10) are arranged on a storage cabinet (20), the disinfection cabinet (6) is arranged on the left side of the first drawer (9), the second drawer (10) is arranged above the first drawer (9), a sewage tank (13) and a water purifying tank (14) are arranged in the cleaning cabinet (12), a faucet (18) and a wash basin (19) are arranged above the cleaning cabinet (12), two ends of the water outlet pipe (15) are respectively connected with the sewage tank (13) and the wash basin (19), two ends of the faucet (17) are respectively connected with the water purifying tank (18) and the wash basin (14), and a liquid pump (16) is arranged at one end of the water inlet pipe (17) close to the water purifying tank (14).
2. A surgical anesthesia rack of claim 1, wherein: universal auto-lock wheel (2) symmetry sets up in the bottom of bottom plate (1), and is provided with garbage bin (3) on bottom plate (1), and garbage bin (3) set up the right side at electric telescopic handle (4) simultaneously.
3. A surgical anesthesia rack of claim 1, wherein: and an ultraviolet disinfection lamp (7) is arranged at the top of the inner side of the disinfection cabinet (6).
4. A surgical anesthesia rack of claim 1, wherein: a first tray (8) and a second tray (11) are respectively arranged above the disinfection cabinet (6) and the second drawer (10).
5. A surgical anesthesia rack of claim 3, wherein: the ultraviolet disinfection lamp (7), the electric telescopic rod (4) and the liquid pump (16) are electrically connected.
6. A surgical anesthesia rack of claim 1, wherein: the first drawer (9) and the second drawer (10) respectively form a drawing structure with the storage cabinet (20).
CN202020403104.8U 2020-03-26 2020-03-26 A surgical anesthesia rack Expired - Fee Related CN212281641U (en)

Priority Applications (1)

Application Number Priority Date Filing Date Title
CN202020403104.8U CN212281641U (en) 2020-03-26 2020-03-26 A surgical anesthesia rack

Applications Claiming Priority (1)

Application Number Priority Date Filing Date Title
CN202020403104.8U CN212281641U (en) 2020-03-26 2020-03-26 A surgical anesthesia rack

Publications (1)

Publication Number Publication Date
CN212281641U true CN212281641U (en) 2021-01-05

Family

ID=73961108

Family Applications (1)

Application Number Title Priority Date Filing Date
CN202020403104.8U Expired - Fee Related CN212281641U (en) 2020-03-26 2020-03-26 A surgical anesthesia rack

Country Status (1)

Country Link
CN (1) CN212281641U (en)

Similar Documents

Publication Publication Date Title
CN209847971U (en) Orthopedics wound washes nursing device
CN101951852A (en) Mobile body disinfection apparatus
CN112190782A (en) General surgery department operation wound nursing instrument
CN108113830A (en) Multifunctional medical operating bed
CN210409064U (en) Emergency department is with disinfection case for apparatus
CN212281641U (en) A surgical anesthesia rack
CN111760113A (en) Wound cleaning and disinfecting device for four limbs
CN211132281U (en) Ultrasonic department probe disinfecting equipment
CN112107448A (en) Multi-functional debridement aseptic nursing equipment of branch of academic or vocational study
CN216496665U (en) Degassing unit is used in comprehensive nursing
CN209996668U (en) multifunctional bedside nursing working vehicle
CN211023112U (en) Clinical operation frame of using of department of general surgery
CN214232178U (en) A kind of beauty plastic equipment disinfection device
CN209916874U (en) Auxiliary disinfecting device for bladder irrigation
CN210812760U (en) Degassing unit is deposited in special use of instrument for department of neurology
CN211461632U (en) Atomizing cleaning and sterilizing device suitable for gynecological clinical nursing
CN215607191U (en) Multifunctional basic nursing vehicle
CN211131876U (en) A kind of replacement device that is convenient for wound dressing change
CN208989184U (en) Nursing table for nursing in operating room
CN217566860U (en) Disinfection pond with disinfection and support function
CN112515882A (en) Negative pressure urinal for women
CN211560852U (en) Multipurpose combination tool for general surgery department
CN215194022U (en) A medical institution patient toilet disinfection machine
CN215536056U (en) Cross infection prevention medical tray for critical care
CN218713600U (en) Stainless steel hand brushing pool for cleaning operating room

Legal Events

Date Code Title Description
GR01 Patent grant
GR01 Patent grant
CF01 Termination of patent right due to non-payment of annual fee

Granted publication date: 20210105

CF01 Termination of patent right due to non-payment of annual fee