CN212242870U - 一种移动巡检操作机器人 - Google Patents

一种移动巡检操作机器人 Download PDF

Info

Publication number
CN212242870U
CN212242870U CN202020578716.0U CN202020578716U CN212242870U CN 212242870 U CN212242870 U CN 212242870U CN 202020578716 U CN202020578716 U CN 202020578716U CN 212242870 U CN212242870 U CN 212242870U
Authority
CN
China
Prior art keywords
pair
frame
adjusting
rectangular
chassis
Prior art date
Legal status (The legal status is an assumption and is not a legal conclusion. Google has not performed a legal analysis and makes no representation as to the accuracy of the status listed.)
Withdrawn - After Issue
Application number
CN202020578716.0U
Other languages
English (en)
Inventor
甄圣超
Current Assignee (The listed assignees may be inaccurate. Google has not performed a legal analysis and makes no representation or warranty as to the accuracy of the list.)
Hefei Zhongke Shengu Technology Development Co ltd
Original Assignee
Individual
Priority date (The priority date is an assumption and is not a legal conclusion. Google has not performed a legal analysis and makes no representation as to the accuracy of the date listed.)
Filing date
Publication date
Application filed by Individual filed Critical Individual
Priority to CN202020578716.0U priority Critical patent/CN212242870U/zh
Application granted granted Critical
Publication of CN212242870U publication Critical patent/CN212242870U/zh
Withdrawn - After Issue legal-status Critical Current
Anticipated expiration legal-status Critical

Links

Images

Landscapes

  • Manipulator (AREA)

Abstract

本实用新型涉及一种移动巡检操作机器人,属于机器人技术领域。包括机械臂和底盘;机械臂为协作机器人;底盘包括底盘本体、四只移动轮、四只减速电机、前悬架机构和后悬架机构,前悬架机构和后悬架机构为结构相同的悬架机构;悬架机构包括一对结构相同的减震调节悬架机构、中间支架和连接架;使一对减震调节悬架机构形成两个独立悬架机构;底盘本体的顶面沿长度方向固定设有一对导轨,机械臂通过机械臂安装板和一对导轨的配合活动设于底盘本体顶部。移动巡检作业时,底盘适应不同的路面环境,机械臂适用于在巡检作业中对姿态和位置要求严苛的环境中。本实用新型实现在巡检任务中对一些对空间、位置限制较多情况下的顺利执行巡检任务。

Description

一种移动巡检操作机器人
技术领域
本实用新型属于机器人技术领域,具体涉及一种移动巡检操作机器人。
背景技术
移动巡检是一种利用现代移动终端技术、移动通讯技术、计算机技术等现代科技实现在移动中完成巡检的技术。移动巡检技术用于解决人工巡检所面临的人力消耗大,记录结果不完善等问题。传统的移动巡检技术采用的移动巡检机器人多数只具有记录的功能,在工作现场操作工作设备的能力较差,往往还需要后续的人员跟踪处理,人力消耗较大。
现有的移动巡检机器人多采用移动底盘—升降台—云台—视觉传感器的结构,其中移动底盘往往采用电机—减速器—移动轮的传动方式,这种结构在处理较为简单的巡检任务时(如在室内地面规整的电站记录直接显示在外的仪器仪表的工作状况和各个被测量的示数),可以较为理想地完成任务,这种移动底盘也能顺利保证其负载设备具有较好的稳定性。但在较为复杂的环境中工作时,如在室外路面状况不好时运行,并需采集在电气柜内部的仪表示数,甚至需要做出一定的交互操作(如按下对应的按钮、被测设备需要现场启动等情况)才能完成巡检工作的情况下,现有的移动巡检机器人其移动底盘就无法保证负载的巡检设备还能正常工作,尤其是在面对平坦度很差的路面时,其移动底盘的稳定性会受到很大的影响,且会将路面的震动直接反馈到负载的巡检设备,对移动底盘和负载巡检设备的工作稳定性影响很大,往往不能正常完成巡检工作,而且其负载的巡检设备提高了整体巡检机器人重心的高度,在这种情况下甚至可能出现倾覆、损坏设备的危险。
实用新型内容
为了解决现有移动巡检机器人操作能力差的问题,本实用新型提供一种移动巡检操作机器人。
一种移动巡检操作机器人包括机械臂和底盘。所述机械臂为协作机器人;所述底盘包括底盘本体1、四只移动轮3、四只减速电机11、前悬架机构和后悬架机构,所述前悬架机构和后悬架机构为结构相同的悬架机构;
每只减速电机11输出轴通过轮毂连接件7固定连接着对应的一只移动轮3;
所述悬架机构包括一对结构相同的减震调节悬架机构、中间支架14和连接架13;
所述中间支架14为倒置的U形支架;
所述减震调节悬架机构包括减震器82、摆杆机构和调节杆机构;所述摆杆机构包括一个矩形摆动框架,位于上部;调节杆机构包括一个矩形调节框架,位于下部,且矩形摆动框架和矩形调节框架上下平行;矩形摆动框架的一端和矩形调节框架的一端分别固定连接着直立的电机安装支架85,矩形摆动框架的另一端和矩形调节框架的另一端分别固定连接着中间支架14两侧边的一端;中间支架14两侧边的另一端分别固定连接着另一个减震调节悬架机构的矩形摆动框架的另一端和矩形调节框架的另一端,使一对减震调节悬架机构形成两个独立悬架机构;
所述连接架13为U形支架,连接架13的底部固定连接着中间支架14的顶部,且连接架13的两侧边分别平行着电机安装支架85;所述减震器82的一端活动连接着连接架13的一侧边,减震器82的另一端活动连接着对应的矩形摆动框架;所述连接架13固定连接着底盘本体1的底部;
每只减速电机11对应固定设于电机安装支架85上;
所述底盘本体1的顶面沿长度方向固定设有一对导轨2,所述机械臂通过机械臂安装板30和一对导轨2的配合活动设于底盘本体1顶部;
移动巡检作业时,所述底盘适应不同的路面环境,所述机械臂适用于在巡检作业中对姿态和位置要求严苛的环境中,驱使夹爪19和视觉传感器20以不同的姿态到达不同的采集位置。
进一步限定的技术方案如下:
所述摆杆机构包括一对摆杆83、一对连接柱87和一对支撑柱86;一根连接柱87的两端分别固定连接着一对摆杆83的一端,另一根连接柱87的两端分别固定连接着一对摆杆83的另一端形成一个矩形摆动框架,一对支撑柱86的两端分别固定连接着一对摆杆83,且平行位于所述矩形摆动框架内。
所述调节杆机构包括一对调节杆89和一对连接杆88,一根连接杆88的两端分别固定连接着一对调节杆89的两端形成一个矩形调节框架;
所述调节杆89包括一对连接头891和伸缩调节管895;伸缩调节管895的两端为螺纹管;连接头891上设有转动半球892,转动半球892与连接头891转动连接;连接头891的外部固定连接着固定杆893,且固定杆893垂直于转动半球892的轴心线,固定杆893为螺杆,一对连接头891分别通过固定杆893固定设于伸缩调节管895两端,且固定杆893上的螺母894固定连接着伸缩调节管895的管端,用于调节固定杆893伸入伸缩调节管895的长度。
所述电机安装支架85呈直立竖板状,中部开设有电机安装孔,两侧竖边向一侧弯曲形成翻边,所述矩形摆动框架的一端和矩形调节框架的一端分别固定连接着电机安装支架85的两侧翻边。
所述底盘本体1长度方向的一端为前端,另一端为后端;所述前端固定设有前盖板5,前盖板6上设有激光传感器6;所述后端固定设有后盖板9。
所述减震器82为磁流变减震器。
所述减震器82的一端通过U形安装架81活动连接着连接架13的一侧边,减震器82的另一端通过U形固定架84活动连接着对应的矩形摆动框架的支撑柱86。
所述机械臂为具有六个自由度的六轴机械臂,包括六只伺服驱动电机和六个旋转副串联的连杆机构,每只伺服驱动电机驱动一个旋转副的旋转。
本实用新型的有益技术效果体现在以下方面:
(1)本实用新型通过在移动底盘上设置前悬架机构和后悬架机构,可以增加移动底盘和移动轮之间的柔性,使路面反馈给移动轮的震动可以被吸收,不直接传导给移动地盘本体和上面负载的机械臂、夹爪和视觉传感器,使得移动底盘和负载的巡检设备在路面情况较差时能够保持较好的稳定性。
(2)本实用新型在移动底盘上负载了机械臂、夹爪和视觉传感器作为巡检设备,相比于传统的升降台和云台这种只具有简单升降和旋转运动的机构,机械臂和夹爪具有更高的自由度和更好的操作能力,更高的自由度可以使夹爪和视觉传感器在空间中的位置和姿态具有更多的选择,可以实现在巡检任务中对一些对空间位置限制较多的设备(如间距过小不允许移动巡检机器人进入)顺利执行巡检任务;在面对一些需要进行一定的操作的场景时(如打开电气柜柜门、按下按钮等),机械臂搭配夹爪并使用视觉传感器完成视觉伺服定位就可以完成任务要求,具有更好的操作能力。
附图说明
图1为本实用新型结构示意图。
图2为图1的后视示意图。
图3为底盘结构示意图。
图4为图3的仰视结构示意图。
图5为图3的后视图。
图6为本实用新型悬架结构示意图。
图7为图6的爆炸示意图。
图8为调节杆结构示意图。
图9为协作机器人结构示意图。
图10为本实用新型移动巡检操作机器人作业示意图。
图11为本实用新型移动巡检操作机器人另一作业示意图。
图12为本实用新型控制流程示意图。
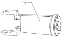
上图中序号:移动底盘本体1、移动导轨2、移动轮3、急停按钮4、前盖板5、激光传感器6、轮毂连接件7、悬架机构8、U形安装架81、减震器82、摆杆83、U形固定架84、电机安装支架85、支撑柱86、连接柱87、连接杆88、调节杆89、连接头891、转动半球892、固定杆893、螺母894、伸缩调节管895、后盖板9、传感器支架10、减速电机11、操作面板12、连接架13、中间支架14;机械臂安装板15、机械臂16、末端连接件17、夹爪固定板18、夹爪19、视觉传感器20;控制单元21、移动控制模块211、运动控制模块212、视觉处理模块213。
具体实施方式
下面结合附图,通过实施例对本实用新型作进一步说明。
实施例1
参见图1和图2,一种移动巡检操作机器人包括机械臂和底盘。机械臂为协作机器人。参见图3和图4,底盘包括底盘本体1、四只移动轮3、四只减速电机11、前悬架机构和后悬架机构,所述前悬架机构和后悬架机构为结构相同的悬架机构。
参见图6,悬架机构包括一对结构相同的减震调节悬架机构、中间支架14和连接架13;中间支架14为倒置的U形支架。
参见图7,减震调节悬架机构包括减震器82、摆杆机构和调节杆机构。减震器82为磁流变减震器。摆杆机构包括一对摆杆83、一对连接柱87和一对支撑柱86;一根连接柱87的两端分别固定连接着一对摆杆83的一端,另一根连接柱87的两端分别固定连接着一对摆杆83的另一端形成一个矩形摆动框架,一对支撑柱86的两端分别固定连接着一对摆杆83,且平行位于矩形摆动框架内。矩形摆动框架位于上部。调节杆机构包括一对调节杆89和一对连接杆88,一根连接杆88的两端分别固定连接着一对调节杆89的两端形成一个矩形调节框架。参见图8,调节杆89包括一对连接头891和伸缩调节管895;伸缩调节管895的两端为螺纹管;连接头891上设有转动半球892,转动半球892与连接头891转动连接;连接头891的外部固定连接着固定杆893,且固定杆893垂直于转动半球892的轴心线,固定杆893为螺杆,一对连接头891分别通过固定杆893固定设于伸缩调节管895两端,且固定杆893上的螺母894固定连接着伸缩调节管895的管端,用于调节固定杆893伸入伸缩调节管895的长度。矩形调节框架位于下部。矩形摆动框架和矩形调节框架上下平行。矩形摆动框架的一端和矩形调节框架的一端分别固定连接着直立的电机安装支架85,矩形摆动框架的另一端和矩形调节框架的另一端分别固定连接着中间支架14两侧边的一端;中间支架14两侧边的另一端分别固定连接着另一个减震调节悬架机构的矩形摆动框架的另一端和矩形调节框架的另一端,使一对减震调节悬架机构形成两个独立悬架机构。
参见图6,连接架13为U形支架,连接架13的底部固定连接着中间支架14的顶部,且连接架13的两侧边分别平行着电机安装支架85;减震器82的上端通过U形安装架81活动连接着连接架13的一侧边,减震器82的下端通过U形固定架84活动连接着对应的矩形摆动框架。连接架13固定连接着底盘本体1的底部。
每只减速电机11对应设于电机安装支架85上,且减速电机11的输出轴通过轮毂连接件7固定连接着对应的一只移动轮3。
参见图3,底盘本体1长度方向的一端为前端,另一端为后端。所述前端固定安装前盖板5,前盖板5上安装有激光传感器6;参见图5,所述后端固定安装有后盖板9。
参见图3,底盘本体1的顶面沿长度方向固定安装有一对导轨2,机械臂通过机械臂安装板30和一对导轨2的配合活动安装于底盘本体1顶部,见图1和图2。
机械臂16为协作机器人,具有六个自由度的六轴机械臂;包括六只伺服驱动电机和六个旋转副串联的连杆机构,每只伺服驱动电机驱动一个旋转副的旋转。机械臂4的末端由近及远依次连接有末端连接件17、夹爪固定板18、夹爪19,见图9;夹爪19的一侧连接有视觉传感器20,底盘内部还安装有控制单元21。
参见图12,控制单元21包括移动控制模块211、运动控制模块212和视觉控制视觉控制模块213;移动控制模块211用于控制移动底盘的行进动作,运动控制模块212用于解算机械臂416的运动学和动力学正逆解,视觉控制模块213用于处理视觉传感器20的视觉信号。控制单元21用于总体控制各个传感器、移动底盘、机械臂16和夹爪19等部件的运动。
移动巡检作业时,底盘适应不同的路面环境,机械臂适用于在巡检作业中对姿态和位置要求严苛的环境中,驱使夹爪19和视觉传感器20以不同的姿态到达不同的采集位置。
实施例2
参见图10,移动巡检操作机器人在巡检工作过程中,由激光传感器6采集周边地理信息,并将这些信息传入至移动控制模块211,移动控制模块211对传入的信息进行分析,实时构建地图,确定移动巡检机器人的地理位置和周边环境,所述视觉传感器20收集到电气柜的外在特征后,将该特征传入至视觉处理模块213,视觉处理模块213将采集到的特征与预置信息进行对比,判断视觉传感器20所采集的特征是否为目标特征,当确定视觉传感器20采集到的特征是目标特征时,控制单元21将该电气柜作为待操作目标,并通过移动控制模块211控制移动底盘1靠近电气柜,在这一过程中,移动控制模块211实时判断移动底盘1的地理位置,防止与外物发生碰撞,同时判断移动底盘1是否到达指定位置,当移动底盘1到达指定位置后,运动控制模块212控制机械臂16做对应的姿态变换,使得电气柜把手处于夹爪719的可夹取空间内,同时控制单元21控制夹爪19工作,夹取电气柜的把手,夹紧锁定后,运动控制模块212按照预置命令控制机械臂16做相对的轨迹变换,带动夹爪719以指定的姿态到指定的空间点,使得电气柜的柜门可以顺利打开,完成上述操作后,控制单元21控制夹爪19恢复初始状态,松开把手,然后运动控制模块212控制机械臂16做相应的运动变换,使得视觉传感器20可以正对电气柜中的仪器仪表,采集信息,采集完成后,所述移动巡检机器人将会逆序上述步骤,将电气柜柜门关闭,进行下一台电气柜信息的采集。
实施例3
参见图11,所述移动巡检操作机器人针对不同高度、不同方位的仪表进行巡检操作工作,所述激光传感器6实时采集周边环境信息,构建环境地图,移动控制模块211对激光传感器6的信息进行分析,与内置地图进行比较,以确定底盘移动地盘1的实时位置和待巡检操作设备的位置,并控制底盘移动地盘1到达预定位置,展开巡检操作工作,当到达预定位置后,运动控制模块212控制机械臂16进行相应的姿态变换,使得夹爪19上的视觉传感器20可以以恰当的姿态采集待采集信息,采集完成后,运动控制模块212控制机械臂16再次进行姿态变换,使得视觉传感器20可以分别以恰当的姿态面对其他设备的操作面板,完成采集工作,在这一过程中,某些待巡检操作的设备可能需要采取相应的操作,如开启、关闭等,这时控制单元21会按照预置命令控制夹爪19处于夹紧状态,运动控制模块212控制机械臂16进行相应的运动变换,视觉传感器20采集按钮的形状变化,并上传由视觉处理模块213判断按钮是否被按下或者拨动到对应的挡位,完成对操作面板按钮的操作。
以上内容并非对本实用新型的结构、形状作任何形式上的限制。凡是依据本实用新型的技术实质对以上实施例所作的任何简单修改、等同变化与修饰,均仍属于本实用新型技术方案的范围内。

Claims (8)

1.一种移动巡检操作机器人,包括机械臂和底盘;所述机械臂为协作机器人;所述底盘包括底盘本体(1)、四只移动轮(3)、四只减速电机(11)、前悬架机构和后悬架机构,所述前悬架机构和后悬架机构为结构相同的悬架机构;其特征在于:
每只减速电机(11)输出轴通过轮毂连接件(7)固定连接着对应的一只移动轮(3);
所述悬架机构包括一对结构相同的减震调节悬架机构、中间支架(14)和连接架(13);
所述中间支架(14)为倒置的U形支架;
所述减震调节悬架机构包括减震器(82)、摆杆机构和调节杆机构;所述摆杆机构包括一个矩形摆动框架,位于上部;调节杆机构包括一个矩形调节框架,位于下部,且矩形摆动框架和矩形调节框架上下平行;矩形摆动框架的一端和矩形调节框架的一端分别固定连接着直立的电机安装支架(85),矩形摆动框架的另一端和矩形调节框架的另一端分别固定连接着中间支架(14)两侧边的一端;中间支架(14)两侧边的另一端分别固定连接着另一个减震调节悬架机构的矩形摆动框架的另一端和矩形调节框架的另一端,使一对减震调节悬架机构形成两个独立悬架机构;
所述连接架(13)为U形支架,连接架(13)的底部固定连接着中间支架(14)的顶部,且连接架(13)的两侧边分别平行着电机安装支架(85);所述减震器(82)的一端活动连接着连接架(13)的一侧边,减震器(82)的另一端活动连接着对应的矩形摆动框架;所述连接架(13)固定连接着底盘本体(1)的底部;
每只减速电机(11)对应固定设于电机安装支架(85)上;
所述底盘本体(1)的顶面沿长度方向固定设有一对导轨(2),所述机械臂通过机械臂安装板(30)和一对导轨(2)的配合活动设于底盘本体(1)顶部;
移动巡检作业时,所述底盘适应不同的路面环境,所述机械臂适用于在巡检作业中对姿态和位置要求严苛的环境中,驱使夹爪(19)和视觉传感器(20)以不同的姿态到达不同的采集位置。
2.根据权利要求1所述的一种移动巡检操作机器人,其特征在于:所述摆杆机构包括一对摆杆(83)、一对连接柱(87)和一对支撑柱(86);一根连接柱(87)的两端分别固定连接着一对摆杆(83)的一端,另一根连接柱(87)的两端分别固定连接着一对摆杆(83)的另一端形成一个矩形摆动框架,一对支撑柱(86)的两端分别固定连接着一对摆杆(83),且平行位于所述矩形摆动框架内。
3.根据权利要求1所述的一种移动巡检操作机器人,其特征在于:所述调节杆机构包括一对调节杆(89)和一对连接杆(88),一根连接杆(88)的两端分别固定连接着一对调节杆(89)的两端形成一个矩形调节框架;
所述调节杆(89)包括一对连接头(891)和伸缩调节管(895);伸缩调节管(895)的两端为螺纹管;连接头(891)上设有转动半球(892),转动半球(892)与连接头(891)转动连接;连接头(891)的外部固定连接着固定杆(893),且固定杆(893)垂直于转动半球(892)的轴心线,固定杆(893)为螺杆,一对连接头(891)分别通过固定杆(893)固定设于伸缩调节管(895)两端,且固定杆(893)上的螺母894固定连接着伸缩调节管(895)的管端,用于调节固定杆(893)伸入伸缩调节管(895)的长度。
4.根据权利要求1所述的一种移动巡检操作机器人,其特征在于:所述电机安装支架(85)呈直立竖板状,中部开设有电机安装孔,两侧竖边向一侧弯曲形成翻边,所述矩形摆动框架的一端和矩形调节框架的一端分别固定连接着电机安装支架(85)的两侧翻边。
5.根据权利要求1所述的一种移动巡检操作机器人,其特征在于:所述底盘本体(1)长度方向的一端为前端,另一端为后端;所述前端上固定设有前盖板(5),前盖板(5)上设有激光传感器(6);所述后端上固定设有后盖板(9)。
6.根据权利要求1所述的一种移动巡检操作机器人,其特征在于:所述减震器(82)为磁流变减震器。
7.根据权利要求1所述的一种移动巡检操作机器人,其特征在于:所述减震器(82)的一端通过U形安装架(81)活动连接着连接架(13)的一侧边,减震器(82)的另一端通过U形固定架(84)活动连接着对应的矩形摆动框架的支撑柱(86)。
8.根据权利要求1所述的一种移动巡检操作机器人,其特征在于:所述机械臂设置为具有六个自由度的六轴机械臂,包括六只伺服驱动电机和六个旋转副串联的连杆机构,每只伺服驱动电机驱动一个旋转副的旋转。
CN202020578716.0U 2020-04-17 2020-04-17 一种移动巡检操作机器人 Withdrawn - After Issue CN212242870U (zh)

Priority Applications (1)

Application Number Priority Date Filing Date Title
CN202020578716.0U CN212242870U (zh) 2020-04-17 2020-04-17 一种移动巡检操作机器人

Applications Claiming Priority (1)

Application Number Priority Date Filing Date Title
CN202020578716.0U CN212242870U (zh) 2020-04-17 2020-04-17 一种移动巡检操作机器人

Publications (1)

Publication Number Publication Date
CN212242870U true CN212242870U (zh) 2020-12-29

Family

ID=74002305

Family Applications (1)

Application Number Title Priority Date Filing Date
CN202020578716.0U Withdrawn - After Issue CN212242870U (zh) 2020-04-17 2020-04-17 一种移动巡检操作机器人

Country Status (1)

Country Link
CN (1) CN212242870U (zh)

Cited By (4)

* Cited by examiner, † Cited by third party
Publication number Priority date Publication date Assignee Title
CN111376667A (zh) * 2020-04-17 2020-07-07 甄圣超 一种移动巡检操作机器人
CN115441340A (zh) * 2022-10-10 2022-12-06 国网山东省电力公司蒙阴县供电公司 电气柜室安装维护辅助机器人
CN116587959A (zh) * 2023-04-10 2023-08-15 中电大丰风力发电有限公司 一种基于电站检测用轮式巡检机器人
CN116945140A (zh) * 2023-08-30 2023-10-27 广东电网有限责任公司东莞供电局 一种巡检机器人操作机械臂结构

Cited By (6)

* Cited by examiner, † Cited by third party
Publication number Priority date Publication date Assignee Title
CN111376667A (zh) * 2020-04-17 2020-07-07 甄圣超 一种移动巡检操作机器人
CN111376667B (zh) * 2020-04-17 2024-02-13 合肥中科深谷科技发展有限公司 一种移动巡检操作机器人
CN115441340A (zh) * 2022-10-10 2022-12-06 国网山东省电力公司蒙阴县供电公司 电气柜室安装维护辅助机器人
CN115441340B (zh) * 2022-10-10 2023-10-24 国网山东省电力公司蒙阴县供电公司 电气柜室安装维护辅助机器人
CN116587959A (zh) * 2023-04-10 2023-08-15 中电大丰风力发电有限公司 一种基于电站检测用轮式巡检机器人
CN116945140A (zh) * 2023-08-30 2023-10-27 广东电网有限责任公司东莞供电局 一种巡检机器人操作机械臂结构

Similar Documents

Publication Publication Date Title
CN212242870U (zh) 一种移动巡检操作机器人
CN111376667B (zh) 一种移动巡检操作机器人
EP2876457B1 (en) Electrical energy meter verification system and robot therefor
CN101168252A (zh) 手臂升降式高压输电线路自动巡检机器人
CN109193452A (zh) 一种输电线巡检机器人
CN113119139A (zh) 基于六自由度机械臂的果蔬采摘机
CN116616046A (zh) 一种果蔬采摘方法、采摘机器人
CN111941385A (zh) 一种配电房巡检机器人
CN220274305U (zh) 一种适用于采摘多种果蔬的采摘机器人
CN115931374B (zh) 一种自动导航车综合检测装置
CN109193457B (zh) 一种输电线路沿地线巡线机器人
CN116458388A (zh) 香菇采摘机器人
CN109048843B (zh) 一种捡球机器人
CN114378784A (zh) 一种分体式轨道巡检机器人
CN211415245U (zh) 一种采摘机器人
CN111618821A (zh) 环境检测取样机器人
CN219293984U (zh) 一种数据中心巡检机器人
CN112917481A (zh) 一种基于Delta机械臂的猕猴桃采摘装置
CN218971109U (zh) 高精度移动式高空作业平台
CN112238907A (zh) 一种可多地形平稳行走的智能机器人
CN212044703U (zh) 一种用于移动机器人的室外用移动底盘
CN217308345U (zh) 一种具有独立悬挂机构的机器人
CN209001467U (zh) 一种输电线路沿地线巡线机器人水平避障结构
CN223053460U (zh) 一种山药挖掘装置
CN111328539A (zh) 一种自走式黄花菜采摘机

Legal Events

Date Code Title Description
GR01 Patent grant
GR01 Patent grant
TR01 Transfer of patent right

Effective date of registration: 20210202

Address after: No.99, Jinxiu Avenue, Jingkai District, Hefei City, Anhui Province

Patentee after: Chen Feng

Address before: 230001 Jinwan Jiayuan, Baohe District, Hefei City, Anhui Province

Patentee before: Zhen Shengchao

TR01 Transfer of patent right
TR01 Transfer of patent right

Effective date of registration: 20210831

Address after: 230088 China (Anhui) pilot Free Trade Zone, Hefei City, Anhui Province

Patentee after: HEFEI ZHONGKE SHENGU TECHNOLOGY DEVELOPMENT Co.,Ltd.

Address before: No.99, Jinxiu Avenue, Jingkai District, Hefei City, Anhui Province

Patentee before: Chen Feng

TR01 Transfer of patent right
AV01 Patent right actively abandoned

Granted publication date: 20201229

Effective date of abandoning: 20240213

AV01 Patent right actively abandoned

Granted publication date: 20201229

Effective date of abandoning: 20240213

AV01 Patent right actively abandoned
AV01 Patent right actively abandoned