CN212169170U - Aluminum plate quick cutting machine - Google Patents
Aluminum plate quick cutting machine Download PDFInfo
- Publication number
- CN212169170U CN212169170U CN202020821620.2U CN202020821620U CN212169170U CN 212169170 U CN212169170 U CN 212169170U CN 202020821620 U CN202020821620 U CN 202020821620U CN 212169170 U CN212169170 U CN 212169170U
- Authority
- CN
- China
- Prior art keywords
- fixed
- cutting machine
- plate
- aluminum plate
- water
- Prior art date
- Legal status (The legal status is an assumption and is not a legal conclusion. Google has not performed a legal analysis and makes no representation as to the accuracy of the status listed.)
- Expired - Fee Related
Links
Images
Landscapes
- Shearing Machines (AREA)
Abstract
本实用新型公开了一种铝板快速裁剪机,包括裁剪台,裁剪台顶端的一侧固定设有两个固定板,固定板一侧的顶部固定设有两个固定杆,两个固定杆的外壁滑动连接有滑块,滑块底端的中部固定设有推板,裁剪台两端的一侧固定设有支架板,支架板的底端固定安装有两个气缸,两个气缸的伸缩端均固定设有压板,裁剪台顶端的另一侧固定设有两个立板,两个立板的顶部转动连接有转杆,转杆外壁的一侧固定设有两个长杆,两个长杆外壁底端的一侧固定设有U型架,U型架外壁的中部转动连接有压辊,本实用新型中推板和一个固定板以及气缸和压板对铝板的一侧进行限位,压辊将铝板的另一侧固定住,切割机在切割时,出刀槽两侧的铝板都被固定。
The utility model discloses an aluminum plate rapid cutting machine, which comprises a cutting table, two fixing plates are fixedly arranged on one side of the top of the cutting table, two fixing rods are fixedly arranged on the top of one side of the fixing plate, and the outer walls of the two fixing rods are A slider is slidably connected, a push plate is fixed in the middle of the bottom end of the slider, a bracket plate is fixed on one side of both ends of the cutting table, two cylinders are fixedly installed at the bottom end of the bracket plate, and the telescopic ends of the two cylinders are fixedly installed. There is a pressure plate, and two vertical plates are fixed on the other side of the top of the cutting table. The top of the two vertical plates is rotatably connected with a rotating rod. One side of the outer wall of the rotating rod is fixed with two long rods, and the bottom of the outer wall of the two long rods is fixed. One side of the end is fixedly provided with a U-shaped frame, and the middle part of the outer wall of the U-shaped frame is rotatably connected with a pressing roller. The other side is fixed. When the cutting machine is cutting, the aluminum plates on both sides of the slot are fixed.
Description
技术领域technical field
本实用新型涉及一种剪裁机,特别涉及一种铝板快速裁剪机。The utility model relates to a cutting machine, in particular to a rapid cutting machine for aluminum plates.
背景技术Background technique
铝板是把厚度在0.2mm以上至500mm以下,200mm宽度以上,长度16m以内的铝材料称之为铝板材或者铝片材,0.2mm以下为铝材,200mm宽度以内为排材或者条材(当然随着大设备的进步,最宽可做到600mm的铝板也比较多)。铝板是指用铝锭轧制加工而成的矩形板材,分为纯铝板,合金铝板,薄铝板,中厚铝板,花纹铝板。铝板在进行加工时,通常需要进行水洗、去油、酸洗、碱洗、水洗、烘干、裁切、覆膜和收集这几道工序。Aluminum plate refers to aluminum materials with a thickness of more than 0.2mm to less than 500mm, a width of more than 200mm, and a length of less than 16m called aluminum plates or aluminum sheets, aluminum materials less than 0.2mm, and rows or strips within 200mm width (of course. With the progress of large equipment, there are many aluminum plates with a maximum width of 600mm). Aluminum plate refers to a rectangular plate rolled and processed from aluminum ingots. It is divided into pure aluminum plate, alloy aluminum plate, thin aluminum plate, medium and thick aluminum plate, and patterned aluminum plate. When the aluminum plate is processed, it usually needs to carry out several processes of water washing, degreasing, acid washing, alkali washing, water washing, drying, cutting, film coating and collection.
对铝板进行裁剪,现有的加工方式常常采用裁剪机裁剪,然而现有的还存在着一些不足之处,现有裁剪机对待裁剪铝板的固定限位结构较为简单,对待裁剪铝板的固定效果一般,并且只对待裁剪铝板的一侧进行固定限位,因此在对铝板进行裁剪时,铝板会发生较大的抖动,影响裁剪效果,良品率较低,同时在切割时会导致铝板与切割机的刀片之间的角度发生偏移,甚至会出现刀片被卡死的情况,存在一定的安全隐患,基于此,提供一种铝板快速裁剪机及其使用方法。For cutting aluminum plates, the existing processing methods often use cutting machines to cut, but there are still some shortcomings. The existing cutting machines have a relatively simple fixed limit structure for cutting aluminum plates, and the fixing effect of cutting aluminum plates is general. , and only one side of the aluminum plate to be cut is fixed and limited, so when the aluminum plate is cut, the aluminum plate will shake greatly, affecting the cutting effect, and the yield is low. At the same time, it will cause the aluminum plate and the cutting machine. The angle between the blades is shifted, and the blade may even be stuck, and there is a certain safety hazard. Based on this, a rapid cutting machine for aluminum plates and a method for using the same are provided.
实用新型内容Utility model content
本实用新型的目的在于提供一种铝板快速裁剪机,以解决上述背景技术中提出的现有裁剪机对待裁剪铝板的固定限位结构较为简单,对待裁剪铝板的固定效果一般,并且只对待裁剪铝板的一侧进行固定限位的问题。The purpose of the present utility model is to provide a fast cutting machine for aluminum plates, so as to solve the problem that the existing cutting machine proposed in the above-mentioned background technology has a relatively simple fixing and limiting structure of the aluminum plate to be cut, the fixing effect of the aluminum plate to be cut is general, and only the aluminum plate to be cut is to be cut. The problem of fixing the limit on one side.
为实现上述目的,本实用新型提供如下技术方案:一种铝板快速裁剪机,包括裁剪台,所述裁剪台顶端的一侧固定设有两个固定板,所述固定板一侧的顶部固定设有两个固定杆,两个所述固定杆的外壁滑动连接有滑块,所述滑块底端的中部固定设有推板,所述裁剪台两端的一侧固定设有支架板,所述支架板的底端固定安装有两个气缸,两个所述气缸的伸缩端均固定设有压板,两个所述压板的顶端均设有防滑纹,所述裁剪台顶端的中部开设有出刀槽,所述裁剪台顶端的另一侧固定设有两个立板,两个所述立板的顶部转动连接有转杆,所述转杆外壁的一侧固定设有两个长杆,两个所述长杆外壁底端的一侧固定设有U型架,所述U型架外壁的中部转动连接有压辊,所述裁剪台的底端固定设有支撑柜。In order to achieve the above purpose, the present utility model provides the following technical solutions: an aluminum plate rapid cutting machine, comprising a cutting table, one side of the top of the cutting table is fixedly provided with two fixing plates, and the top of one side of the fixing plate is fixedly provided with two fixing plates. There are two fixed rods, the outer walls of the two fixed rods are slidably connected with sliders, the middle of the bottom end of the slider is fixed with a push plate, and one side of the two ends of the cutting table is fixed with a bracket plate, the bracket The bottom end of the plate is fixedly installed with two cylinders, the telescopic ends of the two cylinders are fixedly provided with pressure plates, the tops of the two pressure plates are provided with anti-skid lines, and the middle of the top of the cutting table is provided with a knife slot. , the other side of the top of the cutting table is fixed with two vertical plates, the top of the two vertical plates is rotatably connected with a rotating rod, and one side of the outer wall of the rotating rod is fixed with two long rods, two A U-shaped frame is fixed on one side of the bottom end of the outer wall of the long rod, a pressing roller is rotatably connected to the middle of the outer wall of the U-shaped frame, and a support cabinet is fixed at the bottom end of the cutting table.
作为本实用新型的一种优选技术方案,所述支撑柜的内部固定设有底座,所述底座顶端的一侧固定安装有两个液压油缸,所述液压油缸的伸缩端固定设有升降台,所述升降台的顶端固定安装有切割机,所述切割机刀片的位置与出刀槽的位置相匹配。As a preferred technical solution of the present invention, a base is fixed inside the support cabinet, two hydraulic cylinders are fixedly installed on one side of the top of the base, and a lift table is fixed at the telescopic end of the hydraulic cylinder. A cutting machine is fixedly installed on the top of the lifting platform, and the position of the blade of the cutting machine matches the position of the knife slot.
作为本实用新型的一种优选技术方案,两个所述滑块顶端的一侧均开设有插槽,两个所述插槽的内部均卡合连接有楔形块,两个所述楔形块的一侧分别与对应固定杆的外壁接触连接。As a preferred technical solution of the present invention, a slot is opened on one side of the top of the two sliders, and a wedge-shaped block is connected to the inside of the two slots. One side is respectively contacted and connected with the outer wall of the corresponding fixing rod.
作为本实用新型的一种优选技术方案,两个所述长杆外壁底端的中部均固定设有拉伸弹簧,所述裁剪台顶端的另一侧还固定设有两个卡钩,两个所述卡钩分别与对应拉伸弹簧底部的圆环挂接。As a preferred technical solution of the present invention, tension springs are fixed at the middle of the bottom ends of the outer walls of the two long rods, and two hooks are fixed at the other side of the top of the cutting table. The hooks are respectively connected with the rings at the bottom of the corresponding extension springs.
作为本实用新型的一种优选技术方案,两个所述固定板相互靠近的一侧均贴合设有吸水海绵,两个所述固定板的顶端均固定设有水囊,两个所述水囊外壁的一侧开设有多个出水微孔,所述出水微孔的位置与吸水海绵的位置相匹配,两个所述水囊外壁的顶部均开设有进水口,两个所述进水口的内部均设有密封塞。As a preferred technical solution of the present invention, two sides of the fixing plates close to each other are fitted with water-absorbing sponges, and the tops of the two fixing plates are fixedly provided with water bladders, and the two water One side of the outer wall of the bag is provided with a plurality of water outlet micro-holes, the positions of the water outlet micro-holes match the position of the water-absorbing sponge, the tops of the outer walls of the two water bags are provided with water inlets, and the two water inlets are provided with water inlets. There are sealing plugs inside.
作为本实用新型的一种优选技术方案,所述支撑柜一端的中部固定设有侧板,所述侧板的顶端放置有收集箱,所述收集箱两端的顶部均滑动连接有L型卡块,所述裁剪台两端的另一侧均固定设有卡柱,两个所述卡柱分别与对应L型卡块挂接。As a preferred technical solution of the present invention, the middle part of one end of the support cabinet is fixed with a side plate, the top of the side plate is placed with a collection box, and the tops of both ends of the collection box are slidably connected with L-shaped clamping blocks , the other sides of the two ends of the cutting table are fixedly provided with clamping columns, and the two clamping columns are respectively connected with the corresponding L-shaped clamping blocks.
作为本实用新型的一种优选技术方案,两个所述气缸、两个液压油缸和切割机分别与通过气缸开关、液压油缸开关和切割机开关与外接电源电性连接。As a preferred technical solution of the present invention, the two air cylinders, the two hydraulic oil cylinders and the cutting machine are respectively electrically connected to an external power source through the air cylinder switch, the hydraulic oil cylinder switch and the cutting machine switch.
一种铝板快速裁剪机使用方法,在对待裁剪铝板进行裁剪时,滑动所述滑块带动推板推动待裁剪铝板向靠近一个固定板的方向运动,所述推板和一个固定板对待裁剪铝板的两侧进行限位,完成限位后,两个所述楔形块插入对应的插槽,两个所述楔形块将对应固定杆卡住,使得两个所述滑块保持固定,两个所述气缸的伸缩端向下运动,带动压板对待裁剪铝板的顶端进行固定,两个所述液压油缸推动升降台向上运动,所述切割机的刀片从出刀槽伸出,将待裁剪铝板切断。A method of using an aluminum plate fast cutting machine. When cutting an aluminum plate to be cut, sliding the slider drives a push plate to push the to-be-cut aluminum plate to move in a direction close to a fixed plate. The two sides are limited. After the limit is completed, the two wedge-shaped blocks are inserted into the corresponding slots, and the two wedge-shaped blocks clamp the corresponding fixing rods, so that the two sliding blocks remain fixed, and the two wedge-shaped blocks remain fixed. The telescopic end of the cylinder moves downward, driving the pressure plate to fix the top of the aluminum plate to be cut, the two hydraulic cylinders push the lifting platform to move upward, and the blade of the cutting machine protrudes from the knife slot to cut the aluminum plate to be cut.
优选,待裁剪铝板在进行裁剪时,所述压辊将被裁剪铝板的一侧固定住,所述收集箱用于接收裁剪完毕的铝板,两个所述L型卡块卡在对应卡柱上,使得收集箱保持稳定。Preferably, when the aluminum plate to be cut is being cut, the pressing roller will be fixed on one side of the cut aluminum plate, the collection box is used to receive the cut aluminum plate, and the two L-shaped blocks are clamped on the corresponding clamping posts. , so that the collection box remains stable.
优选,两个所述水囊内部的水通过出水微孔流出,润湿吸水海绵,所述切割机进行裁剪时,会有细小的铝粉飞溅,湿润的所述吸水海绵将飞溅的铝粉吸附掉。Preferably, the water inside the two water bladders flows out through the water outlet micropores to wet the water-absorbing sponge. When the cutting machine is cutting, there will be small splashes of aluminum powder, and the wetted water-absorbing sponge will absorb the splashed aluminum powder. Lose.
与现有技术相比,本实用新型的有益效果是:Compared with the prior art, the beneficial effects of the present utility model are:
1.本实用新型一种铝板快速裁剪机及其使用方法,推板和一个固定板的配合完成待裁剪铝板左右两侧的限位,减小待裁剪铝板切割时左右两侧的位移,气缸带动压板下落将待裁剪铝板固定住,推板和一个固定板以及气缸和压板对待裁剪铝板的一侧进行限位和固定,压辊在拉伸弹簧的作用下将被裁剪铝板的另一侧固定住,切割机在对待裁剪铝板进行切割时,出刀槽两侧的铝板都被固定,对待裁剪铝板的固定效果好,待裁剪铝板切割的过程中的抖动小,有利于提高成品质量,并且切割机刀片的磨损较小,有利于提高刀片的使用寿命;1. The utility model is a rapid cutting machine for aluminum plates and a method of using the same. The cooperation of the push plate and a fixed plate completes the limit on the left and right sides of the aluminum plate to be cut, and reduces the displacement of the left and right sides when the aluminum plate to be cut is cut. The falling of the pressure plate will fix the aluminum plate to be cut, the push plate and a fixing plate, the cylinder and the pressure plate will limit and fix one side of the aluminum plate to be cut, and the pressure roller will be fixed by the other side of the aluminum plate to be cut under the action of the tension spring. , When the cutting machine cuts the aluminum plate to be cut, the aluminum plates on both sides of the slot are fixed, the fixing effect of the aluminum plate to be cut is good, and the vibration during the cutting process of the aluminum plate to be cut is small, which is conducive to improving the quality of the finished product, and the cutting machine The wear of the blade is small, which is beneficial to improve the service life of the blade;
2.本实用新型一种铝板快速裁剪机,两个水囊内部的水通过出水微孔流出,润湿吸水海绵,湿润的吸水海绵将飞溅的铝粉吸附掉,有利于减小粉尘污染。2. The utility model is a rapid cutting machine for aluminum plates. The water inside the two water bladders flows out through the water outlet micropores to wet the water-absorbing sponge, and the wet water-absorbing sponge absorbs the splashed aluminum powder, which is beneficial to reduce dust pollution.
附图说明Description of drawings
图1为本实用新型的结构示意图;Fig. 1 is the structural representation of the utility model;
图2为本实用新型中支撑柜内部的结构示意图;Fig. 2 is the structural representation inside the support cabinet in the utility model;
图3为本实用新型图1中A处局部放大图;Fig. 3 is a partial enlarged view at A in Fig. 1 of the utility model;
图4为本实用新型中滑块的剖视图;4 is a cross-sectional view of a slider in the utility model;
图5为本实用新型中裁剪台顶端的另一侧和中部的结构示意图。5 is a schematic structural diagram of the other side and the middle of the top of the cutting table in the present invention.
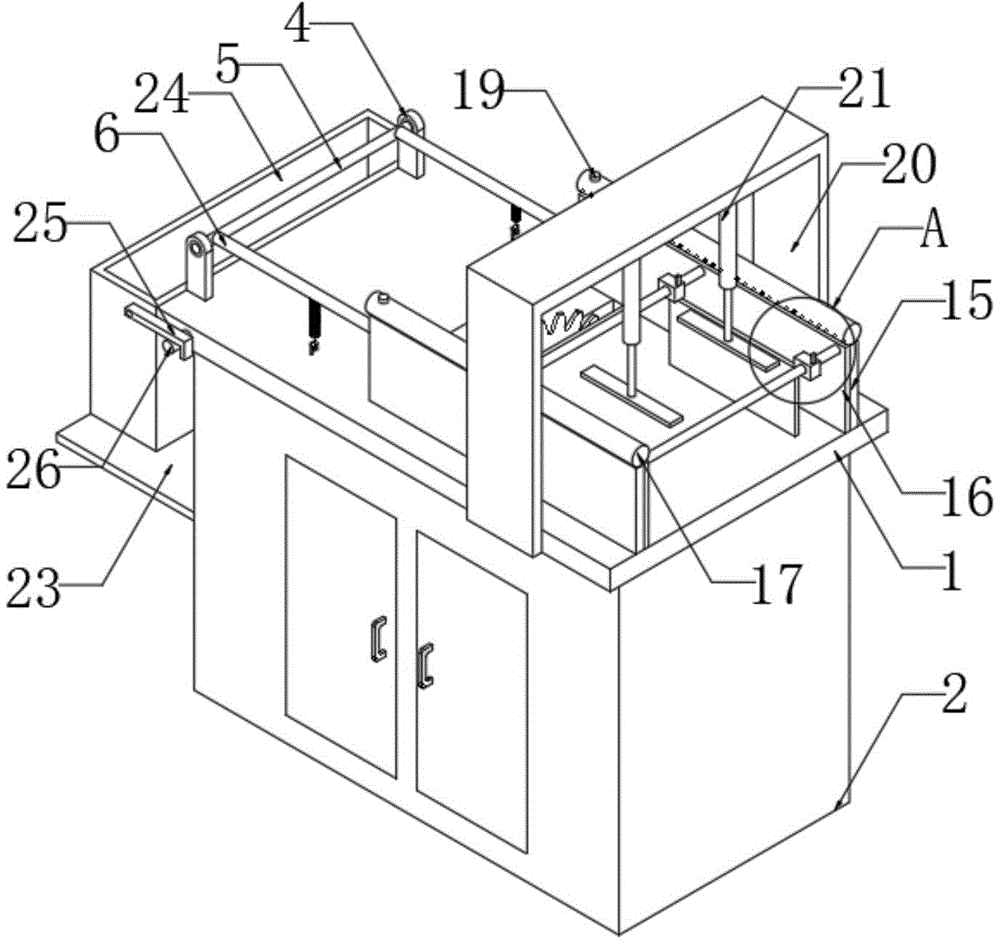
图中:1、裁剪台;2、支撑柜;3、出刀槽;4、立板;5、转杆;6、长杆;7、U型架;8、压辊;9、拉伸弹簧;10、卡钩;11、底座;12、液压油缸;13、升降台;14、切割机;15、固定板;16、吸水海绵;17、水囊;18、出水微孔;19、密封塞;20、支架板;21、气缸;22、压板;23、侧板;24、收集箱;25、L型卡块;26、卡柱;27、固定杆;28、滑块;29、插槽;30、楔形块;31、推板。In the picture: 1. Cutting table; 2. Support cabinet; 3. Knife slot; 4. Vertical plate; 5. Rod; 6. Long rod; 7. U-shaped frame; 8. Press roller; 9. Tension spring ; 10, hook; 11, base; 12, hydraulic cylinder; 13, lift table; 14, cutting machine; 15, fixed plate; 16, water absorbing sponge; 17, water bladder; 18, water outlet hole; 19, sealing plug ;20, bracket plate; 21, cylinder; 22, pressure plate; 23, side plate; 24, collection box; 25, L-shaped clip; 26, clip column; 27, fixed rod; 28, slider; 29, slot ; 30, wedge block; 31, push plate.
具体实施方式Detailed ways
下面将结合本实用新型实施例中的附图,对本实用新型实施例中的技术方案进行清楚、完整地描述,显然,所描述的实施例仅仅是本实用新型一部分实施例,而不是全部的实施例。基于本实用新型中的实施例,本领域普通技术人员在没有做出创造性劳动前提下所获得的所有其他实施例,都属于本实用新型保护的范围。The technical solutions in the embodiments of the present utility model will be clearly and completely described below with reference to the accompanying drawings in the embodiments of the present utility model. Obviously, the described embodiments are only a part of the embodiments of the present utility model, rather than all the implementations. example. Based on the embodiments of the present invention, all other embodiments obtained by those of ordinary skill in the art without creative work fall within the protection scope of the present invention.
请参阅图1-5,本实用新型提供了一种铝板快速裁剪机的技术方案:Please refer to Figures 1-5, the present utility model provides a technical scheme of an aluminum plate rapid cutting machine:
根据图1-5所示,包括裁剪台1,裁剪台1顶端的一侧固定设有两个固定板15,固定板15一侧的顶部固定设有两个固定杆27,两个固定杆27的外壁滑动连接有滑块28,两个滑块28顶端的一侧均开设有插槽29,两个插槽29的内部均卡合连接有楔形块30,两个楔形块30的一侧分别与对应固定杆27的外壁接触连接,滑块28底端的中部固定设有推板31,滑动滑块28带动推板31移动,推动待裁剪铝板向靠近一个固定板15的方向移动,通过推板31和一个固定板15的配合完成待裁剪铝板左右两侧的限位,减小待裁剪铝板切割时左右两侧的位移,裁剪台1两端的一侧固定设有支架板20,支架板20的底端固定安装有两个气缸21,两个气缸21的伸缩端均固定设有压板22,两个压板22的顶端均设有防滑纹,气缸21带动压板22下落将待裁剪铝板固定住,推板31和一个固定板15以及气缸21和压板22对待裁剪铝板的一侧进行限位和固定。As shown in FIGS. 1-5 , it includes a cutting table 1 , two fixing
裁剪台1顶端的中部开设有出刀槽3,裁剪台1顶端的另一侧固定设有两个立板4,两个立板4的顶部转动连接有转杆5,转杆5外壁的一侧固定设有两个长杆6,两个长杆6外壁底端的一侧固定设有U型架7,U型架7外壁的中部转动连接有压辊8,两个长杆6外壁底端的中部均固定设有拉伸弹簧9,裁剪台1顶端的另一侧还固定设有两个卡钩10,两个卡钩10分别与对应拉伸弹簧9底部的圆环挂接,压辊8在拉伸弹簧9的作用下将被裁剪铝板的另一侧固定住,裁剪台1的底端固定设有支撑柜2,支撑柜2的内部固定设有底座11,底座11顶端的一侧固定安装有两个液压油缸12,液压油缸12的伸缩端固定设有升降台13,升降台13的顶端固定安装有切割机14,切割机14刀片的位置与出刀槽3的位置相匹配,两个液压油缸12推动升降台13向上运动,切割机14的刀片从出刀槽3伸出,将待裁剪铝板切断,两个气缸21、两个液压油缸12和切割机14分别与通过气缸开关、液压油缸开关和切割机开关与外接电源电性连接。The middle of the top of the cutting table 1 is provided with a
然后,两个固定板15相互靠近的一侧均贴合设有吸水海绵16,两个固定板15的顶端均固定设有水囊17,两个水囊17外壁的一侧开设有多个出水微孔18,出水微孔18的位置与吸水海绵16的位置相匹配,出水微孔18的孔径很小,水流出的速度较慢,但是在水囊17内部有水时,会一直漏水,漏出的水被吸水海绵16吸收,使得吸水海绵16保持湿润,两个水囊17外壁的顶部均开设有进水口,两个进水口的内部均设有密封塞19。Then, the sides of the two fixing
最后,支撑柜2一端的中部固定设有侧板23,侧板23的顶端放置有收集箱24,被裁剪的铝板会被缓慢推动至收集箱24,并最终掉落至收集箱24的内部,完成收集,收集箱24两端的顶部均滑动连接有L型卡块25,裁剪台1两端的另一侧均固定设有卡柱26,两个卡柱26分别与对应L型卡块25挂接,被裁剪铝板掉落至收集箱24的内部时会带动收集箱24发生抖动,设有的L型卡块25和卡柱26用于固定住收集箱24,使得收集箱24保持稳定。Finally, the middle part of one end of the
具体使用时,本实用新型一种铝板快速裁剪机及其使用方法,首先将待裁剪铝板放置到裁剪台1的顶端,在对待裁剪铝板进行裁剪时,先将楔形块30拔掉,滑动滑块28带动推板31推动待裁剪铝板向靠近一个固定板15的方向运动,推板31和一个固定板15对待裁剪铝板的两侧进行限位,完成限位后,再将两个楔形块30插入对应的插槽29,两个楔形块30将对应固定杆27卡住,使得两个滑块28保持固定,推动待裁剪铝板向靠近出刀槽3的方向移动,压辊8在拉伸弹簧9的作用下将被裁剪铝板的另一侧固定住,将待裁剪铝板推动至合适距离后,打开气缸开关,两个气缸21的伸缩端向下运动,带动压板22对待裁剪铝板的顶端进行固定,然后打开液压油缸开关和切割机开关,两个液压油缸12推动升降台13向上运动,切割机14的刀片从出刀槽3伸出,将待裁剪铝板切断,切割完毕后液压油缸12带动切割机14收回,然后控制气缸21升起,继续推动待裁剪铝板进行切割,被裁剪的铝板会被慢慢推动至收集箱24的内部被集中起来,收集箱24用于接收裁剪完毕的铝板,收集箱24满了之后,转动L型卡块25,使得L型卡块25脱离卡柱26,换上新的收集箱24,并转动L型卡块25,使得两个L型卡块25卡在对应卡柱26上,使得收集箱24保持稳定,打开密封塞19,向水囊17的内部加水,两个水囊17内部的水通过出水微孔18流出,润湿吸水海绵16,切割机14进行裁剪时,会有细小的铝粉飞溅,湿润的吸水海绵16将飞溅的铝粉吸附掉。When specifically used, the utility model is a rapid cutting machine for aluminum plates and a method of using the same. First, the aluminum plate to be cut is placed on the top of the cutting table 1. When the aluminum plate to be cut is cut, the
在本实用新型的描述中,需要理解的是,指示的方位或位置关系为基于附图所示的方位或位置关系,仅是为了便于描述本实用新型和简化描述,而不是指示或暗示所指的装置或元件必须具有特定的方位、以特定的方位构造和操作,因此不能理解为对本实用新型的限制。In the description of the present invention, it should be understood that the indicated orientation or positional relationship is based on the orientation or positional relationship shown in the accompanying drawings, which is only for the convenience of describing the present invention and simplifying the description, rather than indicating or implying the indicated The device or element must have a specific orientation, be constructed and operated in a specific orientation, and therefore should not be construed as a limitation of the present invention.
在本实用新型中,除非另有明确的规定和限定,例如,可以是固定连接,也可以是可拆卸连接,或成一体;可以是机械连接,也可以是电连接;可以是直接相连,也可以通过中间媒介间接相连,可以是两个元件内部的连通或两个元件的相互作用关系,除非另有明确的限定,对于本领域的普通技术人员而言,可以根据具体情况理解上述术语在本实用新型中的具体含义。In the present utility model, unless otherwise expressly specified and limited, for example, it may be a fixed connection, a detachable connection, or an integrated; it may be a mechanical connection or an electrical connection; it may be a direct connection, or a It can be indirectly connected through an intermediate medium, it can be the internal communication between two elements or the interaction relationship between the two elements, unless otherwise clearly defined, for those of ordinary skill in the art, the above terms can be understood according to specific situations in this document. The specific meaning in the utility model.
尽管已经示出和描述了本实用新型的实施例,对于本领域的普通技术人员而言,可以理解在不脱离本实用新型的原理和精神的情况下可以对这些实施例进行多种变化、修改、替换和变型,本实用新型的范围由所附权利要求及其等同物限定。Although the embodiments of the present invention have been shown and described, it will be understood by those skilled in the art that various changes and modifications can be made to these embodiments without departing from the principles and spirit of the present invention , alternatives and modifications, the scope of the present invention is defined by the appended claims and their equivalents.
Claims (7)
Priority Applications (1)
| Application Number | Priority Date | Filing Date | Title |
|---|---|---|---|
| CN202020821620.2U CN212169170U (en) | 2020-05-18 | 2020-05-18 | Aluminum plate quick cutting machine |
Applications Claiming Priority (1)
| Application Number | Priority Date | Filing Date | Title |
|---|---|---|---|
| CN202020821620.2U CN212169170U (en) | 2020-05-18 | 2020-05-18 | Aluminum plate quick cutting machine |
Publications (1)
| Publication Number | Publication Date |
|---|---|
| CN212169170U true CN212169170U (en) | 2020-12-18 |
Family
ID=73775173
Family Applications (1)
| Application Number | Title | Priority Date | Filing Date |
|---|---|---|---|
| CN202020821620.2U Expired - Fee Related CN212169170U (en) | 2020-05-18 | 2020-05-18 | Aluminum plate quick cutting machine |
Country Status (1)
| Country | Link |
|---|---|
| CN (1) | CN212169170U (en) |
Cited By (1)
| Publication number | Priority date | Publication date | Assignee | Title |
|---|---|---|---|---|
| CN111496312A (en) * | 2020-05-18 | 2020-08-07 | 张家港润盛科技材料有限公司 | Aluminum plate rapid cutting machine and using method thereof |
-
2020
- 2020-05-18 CN CN202020821620.2U patent/CN212169170U/en not_active Expired - Fee Related
Cited By (2)
| Publication number | Priority date | Publication date | Assignee | Title |
|---|---|---|---|---|
| CN111496312A (en) * | 2020-05-18 | 2020-08-07 | 张家港润盛科技材料有限公司 | Aluminum plate rapid cutting machine and using method thereof |
| CN111496312B (en) * | 2020-05-18 | 2024-07-02 | 张家港润盛科技材料有限公司 | Quick cutting machine for aluminum plate and application method of quick cutting machine |
Similar Documents
| Publication | Publication Date | Title |
|---|---|---|
| CN208946257U (en) | A kind of film cutting device | |
| CN205056871U (en) | A pole piece collecting device | |
| CN111496312B (en) | Quick cutting machine for aluminum plate and application method of quick cutting machine | |
| CN212169170U (en) | Aluminum plate quick cutting machine | |
| CN217802006U (en) | Sponge pressing structure on sponge cutting machine | |
| CN216427783U (en) | A cutting knife compatible with positioning function | |
| CN215550942U (en) | Bubble-proof 3D laminating device | |
| CN219445200U (en) | Sound-permeable membrane cutting device | |
| CN209272238U (en) | A pole piece cutting device | |
| CN213672194U (en) | Aluminum alloy plate slitting device working without scraps | |
| CN205702673U (en) | A kind of aluminium strip rolls up efficient intercept device | |
| CN213592978U (en) | A paper cutter for single-sided printing equipment | |
| CN211518852U (en) | Flexible printing device for packaging carton | |
| CN222661901U (en) | A special box panel processing and cutting device | |
| CN216781275U (en) | Cutting device is used in processing of lithium cell aluminium foil | |
| CN217733578U (en) | Cutting device for processing non-woven bag fabric | |
| CN220240207U (en) | Polar plate segmentation equipment | |
| CN219280334U (en) | Cloth cuts operation panel | |
| CN223131369U (en) | A shaping device for diamond semiconductor production | |
| CN223722381U (en) | Graphene film sealing and cutting equipment | |
| CN216274937U (en) | Glass fibre bulked tectorial membrane filter cloth processing is with tailorring equipment | |
| CN218082909U (en) | Rubber slab production cutting device | |
| CN222021765U (en) | A cutting and forming machine for processing rubber lining | |
| CN216067832U (en) | Clear useless cross cutting machine | |
| CN216759316U (en) | Polishing device with automatic paper changing function for vehicle body production |
Legal Events
| Date | Code | Title | Description |
|---|---|---|---|
| GR01 | Patent grant | ||
| GR01 | Patent grant | ||
| CF01 | Termination of patent right due to non-payment of annual fee |
Granted publication date: 20201218 |
|
| CF01 | Termination of patent right due to non-payment of annual fee |
