CN212164889U - Atomizer and aerosol generating device - Google Patents
Atomizer and aerosol generating device Download PDFInfo
- Publication number
- CN212164889U CN212164889U CN202020532377.2U CN202020532377U CN212164889U CN 212164889 U CN212164889 U CN 212164889U CN 202020532377 U CN202020532377 U CN 202020532377U CN 212164889 U CN212164889 U CN 212164889U
- Authority
- CN
- China
- Prior art keywords
- cigarette holder
- liquid storage
- liquid
- atomizer
- locking position
- Prior art date
- Legal status (The legal status is an assumption and is not a legal conclusion. Google has not performed a legal analysis and makes no representation as to the accuracy of the status listed.)
- Active
Links
Images
Classifications
-
- A—HUMAN NECESSITIES
- A24—TOBACCO; CIGARS; CIGARETTES; SIMULATED SMOKING DEVICES; SMOKERS' REQUISITES
- A24F—SMOKERS' REQUISITES; MATCH BOXES; SIMULATED SMOKING DEVICES
- A24F40/00—Electrically operated smoking devices; Component parts thereof; Manufacture thereof; Maintenance or testing thereof; Charging means specially adapted therefor
- A24F40/40—Constructional details, e.g. connection of cartridges and battery parts
- A24F40/48—Fluid transfer means, e.g. pumps
- A24F40/485—Valves; Apertures
-
- A—HUMAN NECESSITIES
- A24—TOBACCO; CIGARS; CIGARETTES; SIMULATED SMOKING DEVICES; SMOKERS' REQUISITES
- A24F—SMOKERS' REQUISITES; MATCH BOXES; SIMULATED SMOKING DEVICES
- A24F40/00—Electrically operated smoking devices; Component parts thereof; Manufacture thereof; Maintenance or testing thereof; Charging means specially adapted therefor
- A24F40/10—Devices using liquid inhalable precursors
-
- A—HUMAN NECESSITIES
- A24—TOBACCO; CIGARS; CIGARETTES; SIMULATED SMOKING DEVICES; SMOKERS' REQUISITES
- A24F—SMOKERS' REQUISITES; MATCH BOXES; SIMULATED SMOKING DEVICES
- A24F40/00—Electrically operated smoking devices; Component parts thereof; Manufacture thereof; Maintenance or testing thereof; Charging means specially adapted therefor
- A24F40/40—Constructional details, e.g. connection of cartridges and battery parts
-
- A—HUMAN NECESSITIES
- A24—TOBACCO; CIGARS; CIGARETTES; SIMULATED SMOKING DEVICES; SMOKERS' REQUISITES
- A24F—SMOKERS' REQUISITES; MATCH BOXES; SIMULATED SMOKING DEVICES
- A24F40/00—Electrically operated smoking devices; Component parts thereof; Manufacture thereof; Maintenance or testing thereof; Charging means specially adapted therefor
- A24F40/40—Constructional details, e.g. connection of cartridges and battery parts
- A24F40/42—Cartridges or containers for inhalable precursors
-
- A—HUMAN NECESSITIES
- A24—TOBACCO; CIGARS; CIGARETTES; SIMULATED SMOKING DEVICES; SMOKERS' REQUISITES
- A24F—SMOKERS' REQUISITES; MATCH BOXES; SIMULATED SMOKING DEVICES
- A24F7/00—Mouthpieces for pipes; Mouthpieces for cigar or cigarette holders
- A24F7/02—Mouthpieces for pipes; Mouthpieces for cigar or cigarette holders with detachable connecting members
Landscapes
- Containers And Packaging Bodies Having A Special Means To Remove Contents (AREA)
Abstract
本实用新型公开了一种雾化器,其包括储液件、雾化组件及烟嘴,储液件上形成有用于存储气溶胶形成基质的储液腔,雾化组件安装在储液件上,雾化组件上设置有雾化腔以及与雾化腔连通的进液口,烟嘴沿轴向可滑动地套设在雾化组件的外部,烟嘴相对储液件可于第一锁定位置和第二锁定位置之间滑动,当烟嘴滑动至第一锁定位置时,烟嘴关闭所述进液口,当烟嘴由第一锁定位置滑动至第二锁定位置时,烟嘴打开进液口进而使得进液口与储液腔连通。本实用新型的雾化器,可改变储液腔与雾化腔之间的连通关系,有效解决了雾化器长时间不使用时气溶胶形成基质发生变质及泄漏的问题。本实用新型还公开了一种带有该雾化器的气溶胶发生装置。
The utility model discloses an atomizer, which comprises a liquid storage part, an atomization assembly and a cigarette holder. A liquid storage cavity for storing aerosol-forming substrates is formed on the liquid storage part, and the atomization assembly is installed on the liquid storage part; The atomization assembly is provided with an atomization cavity and a liquid inlet communicated with the atomization cavity, the cigarette holder is slidably sleeved on the outside of the atomization assembly along the axial direction, and the cigarette holder can be positioned at the first locking position and the second relative to the liquid storage member. Sliding between the locking positions, when the mouthpiece slides to the first locking position, the mouthpiece closes the liquid inlet, and when the mouthpiece slides from the first locking position to the second locking position, the mouthpiece opens the liquid inlet so that the liquid inlet is connected to the liquid inlet. The fluid reservoir is connected. The atomizer of the utility model can change the communication relationship between the liquid storage chamber and the atomization chamber, and effectively solve the problems of deterioration and leakage of the aerosol-forming substrate when the atomizer is not used for a long time. The utility model also discloses an aerosol generating device with the atomizer.
Description
技术领域technical field
本实用新型涉及气溶胶发生装置,特别地,涉及一种雾化器及气溶胶发生装置。The utility model relates to an aerosol generating device, in particular to an atomizer and an aerosol generating device.
背景技术Background technique
目前,市面上现有的气溶胶发生装置,其通过电源装置对雾化器中的雾化组件进行供电,使雾化组件在电驱动作用下加热气溶胶形成基质以形成烟雾,烟雾供用户吸食。At present, the existing aerosol generating devices on the market supply power to the atomizing components in the atomizer through the power supply device, so that the atomizing components heat the aerosol to form a matrix under the action of electric driving to form smoke, and the smoke is for the user to inhale .
传统的雾化器,由于用于存储气溶胶形成基质的储液腔与雾化组件始终处于连通状态,当长时间不使用时,雾化组件可能会因长时间与气溶胶形成基质接触进而变质,同时,当雾化组件吸附的气溶胶形成基质饱和时,气溶胶形成基质极易通过进气通道渗漏至雾化器外部,从而造成泄漏,影响用户的使用体验。In traditional atomizers, since the liquid storage chamber for storing the aerosol-forming substrate is always in communication with the atomizing component, when it is not used for a long time, the atomizing component may deteriorate due to contact with the aerosol-forming substrate for a long time. At the same time, when the aerosol-forming matrix adsorbed by the atomizing component is saturated, the aerosol-forming matrix is easily leaked to the outside of the atomizer through the air intake channel, thereby causing leakage and affecting the user experience.
实用新型内容Utility model content
基于此,有必要提供一种可防止气溶胶形成基质变质及泄漏的雾化器;Based on this, it is necessary to provide an atomizer that can prevent the deterioration and leakage of the aerosol-forming substrate;
还有必要提供一种带有该雾化器的气溶胶发生装置。It is also necessary to provide an aerosol generating device with the atomizer.
本实用新型解决其技术问题所采用的技术方案是:一种雾化器,所述雾化器包括储液件、雾化组件及烟嘴,所述储液件上形成有用于存储气溶胶形成基质的储液腔,所述雾化组件安装在所述储液件上,所述雾化组件上设置有雾化腔以及与所述雾化腔连通的进液口,所述烟嘴沿轴向可滑动地套设在所述雾化组件的外部,所述烟嘴相对所述储液件可于第一锁定位置和第二锁定位置之间滑动,当所述烟嘴滑动至所述第一锁定位置时,所述烟嘴关闭所述进液口,当所述烟嘴由所述第一锁定位置滑动至所述第二锁定位置时,所述烟嘴打开所述进液口进而使得所述进液口与所述储液腔连通。The technical solution adopted by the utility model to solve the technical problem is: an atomizer, the atomizer includes a liquid storage part, an atomization assembly and a cigarette holder, and a matrix for storing aerosol formation is formed on the liquid storage part A liquid storage cavity, the atomization assembly is installed on the liquid storage member, the atomization assembly is provided with an atomization cavity and a liquid inlet communicated with the atomization cavity, and the cigarette holder can be axially The cigarette holder is slidably sleeved on the outside of the atomizing assembly, and the mouthpiece can slide between a first locking position and a second locking position relative to the liquid storage member. When the mouthpiece slides to the first locking position , the mouthpiece closes the liquid inlet, and when the mouthpiece slides from the first locking position to the second locking position, the mouthpiece opens the liquid inlet so that the liquid inlet is connected to the liquid inlet. The liquid storage chamber is communicated.
进一步地,所述烟嘴沿轴向开设有通孔,所述烟嘴通过所述通孔套设在所述雾化组件的外部,当所述烟嘴滑动至所述第一锁定位置时,所述通孔的孔壁关闭所述进液口使得所述进液口与所述储液腔错开,当所述烟嘴由所述第一锁定位置滑动至所述第二锁定位置时,所述进液口穿过所述通孔后与所述储液腔连通。Further, the cigarette holder is provided with a through hole in the axial direction, and the cigarette holder is sleeved on the outside of the atomizing assembly through the through hole. When the cigarette holder slides to the first locking position, the through hole is opened. The hole wall of the hole closes the liquid inlet so that the liquid inlet is staggered from the liquid storage cavity. When the cigarette holder slides from the first locking position to the second locking position, the liquid inlet After passing through the through hole, it communicates with the liquid storage chamber.
进一步地,所述烟嘴沿轴向可滑动地套设在所述储液件的外部,所述储液件的外壁上设置有锁定部,所述烟嘴的内壁上沿所述烟嘴插入所述储液件的方向依次设置有第一卡合部和第二卡合部,或者,所述烟嘴的内壁上设置有锁定部,所述储液件的外壁上沿所述烟嘴插入所述储液件的方向依次设置有第一卡合部和第二卡合部,当滑动所述烟嘴至所述锁定部与所述第一卡合部卡合时,所述烟嘴处于所述第一锁定位置,当滑动所述烟嘴至锁定部与所述第二卡合部卡合时,所述烟嘴处于所述第二锁定位置。Further, the cigarette holder is axially slidably sleeved on the outside of the liquid storage member, the outer wall of the liquid storage member is provided with a locking portion, and the inner wall of the cigarette holder is inserted into the storage member along the cigarette holder. A first engaging portion and a second engaging portion are sequentially arranged in the direction of the liquid component, or a locking portion is provided on the inner wall of the cigarette holder, and the liquid storage component is inserted into the liquid storage component along the cigarette holder on the outer wall of the cigarette holder. A first engaging portion and a second engaging portion are sequentially arranged in the direction of the cigarette holder. When the cigarette holder is slid until the locking portion is engaged with the first engaging portion, the cigarette holder is in the first locking position. When sliding the mouthpiece until the locking portion is engaged with the second engaging portion, the mouthpiece is in the second locking position.
进一步地,所述储液件的一端具有开口,所述雾化组件安装在所述储液件的开口的底部,所述烟嘴封闭所述储液件的开口,所述储液腔由所述储液件及所述烟嘴围设的空间构成。Further, one end of the liquid storage member has an opening, the atomizing assembly is installed at the bottom of the opening of the liquid storage member, the cigarette holder closes the opening of the liquid storage member, and the liquid storage cavity is formed by the The liquid storage part and the space surrounded by the cigarette holder are formed.
进一步地,所述烟嘴包括烟嘴壳体和封液件,所述封液件配合安装在所述烟嘴壳体内,所述封液件封闭所述储液件的开口,所述封液件的下端面上对应所述通孔沿所述封液件的轴向向下延伸形成有密封管,所述通孔部分由所述密封管的内腔形成,所述雾化组件可滑动地密封所述密封管。Further, the mouthpiece includes a mouthpiece casing and a liquid sealing member, the liquid sealing member is fitted in the mouthpiece casing, the liquid sealing member closes the opening of the liquid storage member, and the lower portion of the liquid sealing member is installed in the mouthpiece casing. A sealing tube is formed on the end surface corresponding to the through hole extending downward along the axial direction of the liquid sealing member, the through hole is partially formed by the inner cavity of the sealing tube, and the atomizing assembly slidably seals the Seal the tube.
进一步地,所述烟嘴壳体的下端套设在所述储液件的外部,所述第一卡合部和所述第二卡合部均设置在所述烟嘴壳体的内壁上,所述密封管的下端面与所述储液腔的腔底壁之间的轴向距离等于所述第一卡合部与所述第二卡合部之间的轴向距离。Further, the lower end of the cigarette holder casing is sleeved on the outside of the liquid storage member, the first engaging portion and the second engaging portion are both arranged on the inner wall of the cigarette holder casing, and the The axial distance between the lower end surface of the sealing tube and the cavity bottom wall of the liquid storage cavity is equal to the axial distance between the first engaging portion and the second engaging portion.
进一步地,所述储液件的底部中心处沿所述储液件的轴向背离所述储液腔设置有安装管,所述雾化组件包括雾化套管,所述雾化套管的下端密封安装在所述安装管内,所述雾化腔由所述雾化套管的内部空间形成,所述进液口开设在所述雾化套管的侧壁上。Further, a mounting tube is provided at the bottom center of the liquid storage member away from the liquid storage cavity along the axial direction of the liquid storage member, and the atomization assembly includes an atomization sleeve, and the atomization sleeve is The lower end is sealed and installed in the installation pipe, the atomization cavity is formed by the inner space of the atomization sleeve, and the liquid inlet is opened on the side wall of the atomization sleeve.
进一步地,所述安装管的下端安装有通气件,所述通气件两端贯通,所述通气件的内腔与所述雾化腔连通,所述通气件的顶部设置有一凸出结构,所述通气件的开口贯通所述凸出结构。Further, a ventilation member is installed at the lower end of the installation pipe, the two ends of the ventilation member are connected, the inner cavity of the ventilation member is communicated with the atomization cavity, and the top of the ventilation member is provided with a protruding structure, so The opening of the ventilation member penetrates through the protruding structure.
进一步地,所述雾化器还包括底座,所述底座安装在所述储液件相对所述烟嘴的一端,所述底座上开设有进气口,所述烟嘴上开设有出气口,所述进气口及所述出气口均与所述雾化腔连通。Further, the atomizer further includes a base, the base is installed on the end of the liquid storage member opposite to the cigarette holder, an air inlet is opened on the base, an air outlet is opened on the cigarette holder, the Both the air inlet and the air outlet communicate with the atomizing chamber.
一种气溶胶发生装置,所述气溶胶发生装置包括前述任一项所述的雾化器,所述气溶胶发生装置还包括电源装置,所述电源装置与所述雾化器电性连接。An aerosol generating device, the aerosol generating device includes the atomizer described in any one of the foregoing, the aerosol generating device further includes a power supply device, and the power supply device is electrically connected to the atomizer.
本实用新型的有益效果是:本实用新型提供的雾化器或气溶胶发生装置,通过滑动烟嘴从而调节烟嘴的锁定位置,可改变储液腔与雾化腔之间的连通关系,也可有效解决雾化器长时间不使用时气溶胶形成基质发生变质及泄漏的问题。The beneficial effects of the utility model are: the atomizer or aerosol generating device provided by the utility model can adjust the locking position of the cigarette holder by sliding the cigarette holder, which can change the communication relationship between the liquid storage cavity and the atomizing cavity, and can also effectively Solve the problem of deterioration and leakage of the aerosol-forming matrix when the atomizer is not used for a long time.
附图说明Description of drawings
下面结合附图和实施例对本实用新型作进一步说明。The utility model will be further described below in conjunction with the accompanying drawings and embodiments.
图1是本实用新型的气溶胶发生装置中雾化器的剖视图(关闭进液口状态);Fig. 1 is the sectional view (closed liquid inlet state) of atomizer in the aerosol generating device of the present utility model;
图2是图1所示气溶胶发生装置中A处的局部放大图;Fig. 2 is a partial enlarged view of A in the aerosol generating device shown in Fig. 1;
图3是图1所示气溶胶发生装置中雾化器的另一剖视图(打开进液口状态);Fig. 3 is another sectional view of the atomizer in the aerosol generating device shown in Fig. 1 (in the state of opening the liquid inlet);
图4是图3所示气溶胶发生装置中B处的局部放大图。FIG. 4 is a partial enlarged view of B in the aerosol generating device shown in FIG. 3 .
图中零部件名称及编号分别为:The names and numbers of the parts in the figure are:
雾化器100 储液件10 储液腔101Atomizer 100
第一卡合部102 第二卡合部103 安装管104First
通气件105 雾化组件20 雾化腔201
进液口202 雾化套管21 吸液件22
发热件23 烟嘴30 通孔301
锁定部302 烟嘴壳体31 出气口311Locking
安装柱312 抵持缘313 封液件32mounting
底座40 电极柱41 进气口401
密封管321
具体实施方式Detailed ways
现在结合附图对本实用新型作详细的说明。此图为简化的示意图,仅以示意方式说明本实用新型的基本结构,因此其仅显示与本实用新型有关的构成。The present utility model will now be described in detail in conjunction with the accompanying drawings. This figure is a simplified schematic diagram, and only illustrates the basic structure of the present invention in a schematic way, so it only shows the structure related to the present invention.
请参阅图1、图3,本实用新型提供了一种气溶胶发生装置,该气溶胶发生装置包括雾化器100以及与雾化器100电性连接的电源装置(图未示出)。使用时,所述电源装置向雾化器100提供电能,雾化器100通电后加热气溶胶形成基质,气溶胶形成基质在加热作用下被雾化形成烟雾,烟雾供用户吸食。Please refer to FIG. 1 and FIG. 3 , the present invention provides an aerosol generating device, the aerosol generating device includes an
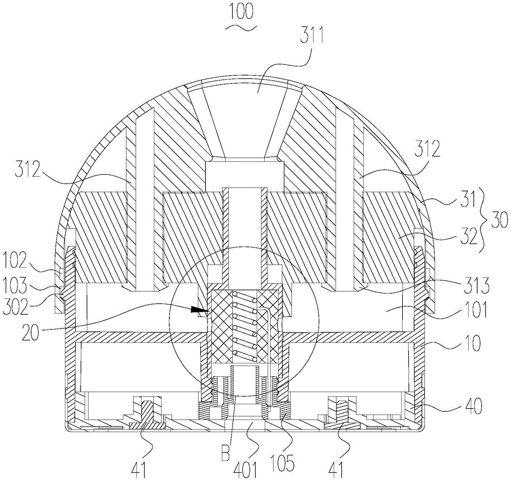
请参阅图1-图4,雾化器100包括储液件10、雾化组件20以及烟嘴30,储液件10上形成有用于存储气溶胶形成基质的储液腔101,雾化组件20安装在储液件10上,雾化组件20上设置有雾化腔201以及与雾化腔201连通的进液口202,烟嘴30沿轴向可滑动地套设在雾化组件20的外部,烟嘴30相对储液件10可于第一锁定位置和第二锁定位置之间滑动,所述第一锁定位置和所述第二锁定位置为烟嘴30与储液件10保持相对固定的位置,当烟嘴30滑动至所述第一锁定位置时,烟嘴30关闭所述进液口202,当烟嘴30由所述第一锁定位置滑动至所述第二锁定位置时,烟嘴30打开进液口202进而使得进液口202与储液腔101连通。1-4, the
请参阅图1、图2,当雾化器100未被使用时,将烟嘴30滑动至所述第一锁定位置,此时,进液口202被烟嘴30关闭,储液腔101内的气溶胶形成基质无法通过进液口202,也就避免了气溶胶形成基质与雾化腔201连通,从而避免气溶胶形成基质变质及泄漏;请参阅图3、图4,当雾化器100被使用时,将烟嘴30滑动至所述第二锁定位置,此时,进液口202被烟嘴30打开,储液腔101内的气溶胶形成基质便能够经由进液口202进入至雾化腔201内,从而被加热雾化形成烟雾。通过滑动烟嘴30从而调节烟嘴30的锁定位置,可改变储液腔101与雾化腔201之间的连通关系,方便用户使用的同时,也可有效解决雾化器100长时间不使用时气溶胶形成基质发生变质及泄漏的问题,提升了用户的使用体验。Please refer to FIG. 1 and FIG. 2 , when the
储液件10大致呈上端具有开口的中空筒状结构,雾化组件20安装在储液件10的开口的底部,烟嘴30大致呈下端具有开口的中空结构,烟嘴30封闭储液件10的开口,储液腔101由储液件10及烟嘴30围设的空间构成。烟嘴30沿轴向开设有通孔301,烟嘴30通过通孔301套设在雾化组件20的外部。请参阅图1、图2,当烟嘴30滑动至所述第一锁定位置时,通孔301的孔壁关闭进液口202使得进液口202与储液腔101错开;请参阅图3、图4,当烟嘴30由所述第一锁定位置滑动至所述第二锁定位置时,进液口202移出通孔301后与储液腔101连通。The
烟嘴30沿轴向可滑动地套设在储液件10的外部,储液件10的外壁上设置有锁定部302,烟嘴30的内壁上沿烟嘴30插入储液件10的方向依次设置有第一卡合部102和第二卡合部103,锁定部302与第一卡合部102及第二卡合部103均配合。当滑动烟嘴30至锁定部302与第一卡合部102卡合时,烟嘴30相对储液件10处于所述第一锁定位置,当滑动烟嘴30至锁定部302与第二卡合部103卡合时,烟嘴30相对储液件10处于所述第二锁定位置。锁定部302与第一卡合部102及第二卡合部103的设置,一方面,实现了烟嘴30与储液件10之间连接作用,另一方面,对相对储液件10滑动烟嘴30起到定位作用,方便用户操作。在其他未示出的实施方式中,烟嘴30的内壁上设置有锁定部302,所述储液件10的外壁上沿所述烟嘴30插入所述储液件10的方向依次设置有第一卡合部102和第二卡合部103。The
本实施方式中,锁定部302为凸设在储液件10外壁上的凸起,第一卡合部102和第二卡合部103均为凹设在烟嘴30内壁上的凹槽,可以理解地,在其他未示出的实施方式中,锁定部302为凹设在储液件10外壁上的凹槽,第一卡合部102和第二卡合部103均为凸设在烟嘴30内壁上的凸起,此处不作限定。In this embodiment, the locking
另外,本实施方式中,气溶胶形成基质在将烟嘴30安装在储液件10上之前便注入在储液腔101内,在其他实施方式中,还可以通过在储液件10上设置与储液腔101连通的注液孔,用户通过所述注液孔向储液腔101内注液,注液方式此处不作限定。In addition, in this embodiment, the aerosol-forming substrate is injected into the
请参阅图3、图4,雾化组件20包括雾化套管21以及安装雾化套管21内的吸液件22和发热件23。在一个具体的实施方式中,储液件10的底部中心处沿储液件10的轴向背离储液腔101设置有安装管104,安装管104的下端开口,安装管104的上端贯通储液件10的底壁,雾化套管21的下端密封安装在安装管104内。Please refer to FIG. 3 and FIG. 4 , the atomizing
雾化腔201由雾化套管21的下部空间形成,进液口202开设在雾化套管21的侧壁上。吸液件22和发热件23相互接触且收容于雾化腔201内,其中,吸液件22用于吸收储液腔101内的气溶胶形成基质,发热件23用于加热吸液件22上吸收的气溶胶形成基质进而产生烟雾。具体地,吸液件22对应进液口202与雾化套管21的内壁相贴合,发热件23收容于吸液件22的内腔中。本实施方式中,吸液件22为棉花,发热件23为螺旋形加热丝。可以理解地,在其他未示出的实施方式中,吸液件22还可以是纤维绳、多孔陶瓷或多孔石墨等易于吸收液体的元件,发热件23还可以是加热片、加热网等,可替代的,吸液件22和发热件23组合的整体还可以是超声雾化装置等,此处不作限定。The
另外,在一个具体的实施方式中,进液口202具有两个,且两个进液口202设置在雾化套管21相对的侧壁上,保证了气溶胶形成基质能够经由雾化组件20的两侧均匀进入,保证了均匀雾化,提升了口感。可以理解地,进液口202还可以只有一个或两个以上。In addition, in a specific embodiment, there are two
使用时,用户滑动烟嘴30使其相对储液件10处于所述第二锁定位置,此时,储液腔101内的气溶胶形成基质经由进液口202进入至雾化腔201内从而被吸液件22吸收,发热件23通电后加热吸液件22上的气溶胶形成基质,气溶胶形成基质在加热作用下雾化形成烟雾。When in use, the user slides the
请参阅图3,在一个具体的实施方式中,烟嘴30包括烟嘴壳体31和封液件32。具体地,烟嘴壳体31大致呈下端具有开口的中空筒状结构,封液件32配合安装在烟嘴壳体31内,其中,封液件32封闭储液件10的开口,烟嘴壳体31的下端套设在储液件10的外部,第一卡合部102和第二卡合部103均设置在烟嘴壳体31的内壁上。可以理解地,封液件32由硅胶或橡胶等具有良好密封性能的密封材料制成,以提升密封性,防止储液腔101内的气溶胶形成基质发生泄漏。Referring to FIG. 3 , in a specific embodiment, the
在一个具体的实施方式中,通孔301开设在封液件32上,封液件32的下端面上对应通孔301沿封液件32的轴向向下延伸形成有密封管321,密封管321两端贯通,通孔301部分由密封管321的内腔形成,雾化套管21可滑动地密封密封管321。具体地,滑动烟嘴30时,可使得密封管321的内管壁打开或关闭进液口202。In a specific embodiment, the through
请再次参阅图1、图2,在一个具体的实施方式中,当锁定部302与第二卡合部103卡合时,密封管321的下端面与储液腔101的腔底壁之间的轴向距离等于第一卡合部102与第二卡合部103之间的轴向距离,如此,当烟嘴30移动至所述第一锁定位置,即,锁定部302与第一卡合部102卡合时,密封管321的下端面与储液腔101的腔底壁相抵持,从而能够将储液腔101与雾化组件20的雾化套管21隔离开,避免了雾化套管21因长时间与气溶胶形成基质接触而被腐蚀破坏。Please refer to FIGS. 1 and 2 again. In a specific embodiment, when the locking
另外,通孔301的纵截面形状与雾化套管21的纵截面形状均呈“凸”字型结构,使得雾化套管21与通孔301相互配合,且限制了烟嘴30相对雾化组件20的滑动行程。In addition, the longitudinal cross-sectional shape of the through
在一个具体的实施方式中,烟嘴壳体31的顶部开设有出气口311,出气口311与雾化组件20的雾化套管21的内腔连通,从而实现出气口311与雾化腔201之间的连通作用。用户抽吸操作时,形成于雾化腔201内的烟雾依次通过雾化套管31的内腔及出气口311后进入至用户口中。In a specific embodiment, an
在一个具体的实施方式中,烟嘴壳体31顶部的内壁上向下凸设有安装柱312,安装柱312贯穿封液件32,从而对封液件32的安装起到固定和限位作用。进一步地,安装柱312的下端凸设有抵持缘313,抵持缘313与封液件32的下端面相抵持,从而防止封液件32轻易与安装柱312脱离。本实施方式中,安装柱312具有两个,且两个安装柱312相对设置,提升了封液件32与烟嘴壳体31之间的连接稳定性。可以理解地,在其他未示出的实施方式中,封液件32还可以通过卡接、胶粘等方式与烟嘴壳体31连接,还可以理解地,封液件32可以省略,此时,通孔301设置在烟嘴壳体31上,雾化组件20的进液口202依靠烟嘴壳体31打开或关闭。In a specific embodiment, a mounting
请参阅图1、图3,雾化器100还包括底座40,底座40安装在储液件10相对烟嘴30的一端,底座40的底部安装有两个电极柱41,两个电极柱41与雾化组件20的两个电极引脚分别电性连接,具体地,两个电极柱41与发热件23的两个引脚分别电性连接。当所述电源装置与雾化器100连接时,所述电源装置的正、负极与两个电极柱41分别电性连接,如此,实现了所述电源装置向雾化组件20供电的功能。另外,所述电源装置与雾化器100之间的连接方式可以为螺纹连接、卡接等,此处不作限定。Please refer to FIG. 1 and FIG. 3 , the
另外,安装管104的下端安装有通气件105,通气件105大致呈两端贯通的中空管状结构,底座40的底部对应通气件105开设有进气口401,进气口401与外部大气连通,通气件105的内腔与雾化腔201及进气口401均连通,当用户抽吸操作时,外部大气可依次经由进气口401及通气件105的内腔进入至雾化腔201内并与生成的烟雾混合,最终进入至用户口中。In addition, a
进一步地,通气件105的顶部设置有一凸出结构,通气件105的开口贯通所述凸出结构,如此,当雾化腔201内有多余的气溶胶形成基质或冷凝液时,以上液体会向所述凸出结构的两侧流动,进而避免由通气件105的开口流出,从而导致漏液。为了提升密封性,防止气溶胶形成基质泄漏,通气件105由硅胶或橡胶等密封材料制成。Further, a protruding structure is provided on the top of the
本实用新型提供的气溶胶发生装置,当烟嘴30滑动至所述第一锁定位置时,烟嘴30关闭所述进液口202,此时,雾化腔201与储液腔101分隔开,避免了雾化组件20长期浸泡在气溶胶形成基质中而损坏,当烟嘴30由所述第一锁定位置滑动至所述第二锁定位置时,烟嘴30打开进液口202进而使得进液口202与储液腔101连通,此时,用户可正常使用。通过滑动烟嘴30从而调节烟嘴30的锁定位置,可改变储液腔101与雾化腔201之间的连通关系,方便用户使用的同时,也可有效解决雾化器100长时间不使用时气溶胶形成基质发生变质及泄漏的问题。In the aerosol generating device provided by the present invention, when the
本实用新型提供的气溶胶发生装置,因其具有上述雾化器100全部的技术特征,故具有与上述雾化器100相同的技术效果。Since the aerosol generating device provided by the present invention has all the technical features of the above-mentioned
以上述依据本实用新型的理想实施例为启示,通过上述的说明内容,相关的工作人员完全可以在不偏离本实用新型的范围内,进行多样的变更以及修改。本项实用新型的技术范围并不局限于说明书上的内容,必须要根据权利要求范围来确定其技术性范围。Taking the above ideal embodiments according to the present invention as inspiration, through the above descriptions, relevant staff can make various changes and modifications without departing from the scope of the present invention. The technical scope of the present utility model is not limited to the content in the description, and its technical scope must be determined according to the scope of the claims.
Claims (10)
Priority Applications (4)
| Application Number | Priority Date | Filing Date | Title |
|---|---|---|---|
| CN202020532377.2U CN212164889U (en) | 2020-04-11 | 2020-04-11 | Atomizer and aerosol generating device |
| PCT/CN2021/000080 WO2021203777A1 (en) | 2020-04-11 | 2021-04-09 | Atomizer and aerosol generation device |
| EP21784592.4A EP4133951A4 (en) | 2020-04-11 | 2021-04-09 | ATOMIZER AND AEROSOL GENERATION DEVICE |
| US18/045,475 US20230110108A1 (en) | 2020-04-11 | 2022-10-11 | Atomizer and aerosol generation device |
Applications Claiming Priority (1)
| Application Number | Priority Date | Filing Date | Title |
|---|---|---|---|
| CN202020532377.2U CN212164889U (en) | 2020-04-11 | 2020-04-11 | Atomizer and aerosol generating device |
Publications (1)
| Publication Number | Publication Date |
|---|---|
| CN212164889U true CN212164889U (en) | 2020-12-18 |
Family
ID=73769053
Family Applications (1)
| Application Number | Title | Priority Date | Filing Date |
|---|---|---|---|
| CN202020532377.2U Active CN212164889U (en) | 2020-04-11 | 2020-04-11 | Atomizer and aerosol generating device |
Country Status (4)
| Country | Link |
|---|---|
| US (1) | US20230110108A1 (en) |
| EP (1) | EP4133951A4 (en) |
| CN (1) | CN212164889U (en) |
| WO (1) | WO2021203777A1 (en) |
Cited By (7)
| Publication number | Priority date | Publication date | Assignee | Title |
|---|---|---|---|---|
| WO2021203777A1 (en) * | 2020-04-11 | 2021-10-14 | 常州市派腾电子技术服务有限公司 | Atomizer and aerosol generation device |
| CN114098160A (en) * | 2021-11-29 | 2022-03-01 | 深圳市真味生物科技有限公司 | Essence and spice storage equipment convenient to store for electronic atomizer |
| WO2023124738A1 (en) * | 2021-12-29 | 2023-07-06 | 深圳市卓尔悦电子科技有限公司 | Atomizer and aerosol generating device |
| CN116406830A (en) * | 2021-12-29 | 2023-07-11 | 深圳市卓尔悦电子科技有限公司 | Nebulizer and aerosol generating device |
| CN117258091A (en) * | 2023-11-17 | 2023-12-22 | 深圳市康唯普科技有限公司 | Sleep-aiding aerosol generating device and control method thereof |
| JP2024538878A (en) * | 2021-11-02 | 2024-10-24 | フィリップ・モーリス・プロダクツ・ソシエテ・アノニム | Aerosol generating device having a housing |
| RU2845902C2 (en) * | 2021-11-02 | 2025-08-27 | Филип Моррис Продактс С.А. | Aerosol-generating device with casing |
Families Citing this family (3)
| Publication number | Priority date | Publication date | Assignee | Title |
|---|---|---|---|---|
| US12245641B1 (en) * | 2023-05-02 | 2025-03-11 | Victor Amar | Electronic vaporizing device having a flexible mouthpiece |
| WO2024234441A1 (en) * | 2023-05-18 | 2024-11-21 | 爱奇迹(香港)有限公司 | Atomization assembly and atomization device |
| CN116784523A (en) * | 2023-06-20 | 2023-09-22 | 卓尔悦国际控股有限公司 | Atomizer and aerosol generating device |
Family Cites Families (13)
| Publication number | Priority date | Publication date | Assignee | Title |
|---|---|---|---|---|
| US9839240B2 (en) * | 2013-12-26 | 2017-12-12 | Huizhou Kimree Technology Co., Ltd. Shenzhen Branch | Atomization apparatus, electronic cigarette, and assembly method therefor |
| CN104824847B (en) * | 2015-03-10 | 2018-07-10 | 深圳麦克韦尔股份有限公司 | Electronic cigarette |
| CN205456070U (en) * | 2016-02-26 | 2016-08-17 | 深圳市合元科技有限公司 | Liquid atomizer can be annotated and electron cigarette of this atomizer is used |
| CN205813573U (en) * | 2016-05-19 | 2016-12-21 | 深圳麦克韦尔股份有限公司 | Electronic cigarette and nebulizer thereof |
| CN108323814B (en) * | 2017-01-20 | 2023-12-01 | 常州市派腾电子技术服务有限公司 | Liquid storage components, atomizers and electronic cigarettes |
| CN206687166U (en) * | 2017-04-10 | 2017-12-01 | 深圳市新宜康科技有限公司 | The electronic smoke atomizer structure and electronic smoke atomizer of controllable tobacco juice |
| CN210017869U (en) * | 2018-12-26 | 2020-02-07 | 常州市派腾电子技术服务有限公司 | Cartridges and Electronic Cigarettes |
| CN209436272U (en) * | 2019-01-16 | 2019-09-27 | 常州市派腾电子技术服务有限公司 | Pods and Electronic Cigarettes |
| CN209660456U (en) * | 2019-01-16 | 2019-11-22 | 常州市派腾电子技术服务有限公司 | Smoke grenade and electronic cigarette |
| CN209594764U (en) * | 2019-02-28 | 2019-11-08 | 深圳市优维尔科技有限公司 | A kind of atomizer and suction unit that bunker is isolated |
| EP3725170A1 (en) * | 2019-04-19 | 2020-10-21 | Shenzhen Innokin Technology Co., Ltd. | Atomization generating device having a leak-proof structure |
| CN210158009U (en) * | 2019-05-15 | 2020-03-20 | 常州市派腾电子技术服务有限公司 | Atomizers and Electronic Cigarettes |
| CN212164889U (en) * | 2020-04-11 | 2020-12-18 | 常州市派腾电子技术服务有限公司 | Atomizer and aerosol generating device |
-
2020
- 2020-04-11 CN CN202020532377.2U patent/CN212164889U/en active Active
-
2021
- 2021-04-09 WO PCT/CN2021/000080 patent/WO2021203777A1/en not_active Ceased
- 2021-04-09 EP EP21784592.4A patent/EP4133951A4/en active Pending
-
2022
- 2022-10-11 US US18/045,475 patent/US20230110108A1/en active Pending
Cited By (9)
| Publication number | Priority date | Publication date | Assignee | Title |
|---|---|---|---|---|
| WO2021203777A1 (en) * | 2020-04-11 | 2021-10-14 | 常州市派腾电子技术服务有限公司 | Atomizer and aerosol generation device |
| JP2024538878A (en) * | 2021-11-02 | 2024-10-24 | フィリップ・モーリス・プロダクツ・ソシエテ・アノニム | Aerosol generating device having a housing |
| RU2845902C2 (en) * | 2021-11-02 | 2025-08-27 | Филип Моррис Продактс С.А. | Aerosol-generating device with casing |
| CN114098160A (en) * | 2021-11-29 | 2022-03-01 | 深圳市真味生物科技有限公司 | Essence and spice storage equipment convenient to store for electronic atomizer |
| CN114098160B (en) * | 2021-11-29 | 2023-12-22 | 深圳市真味生物科技有限公司 | Essence spices storage facilities for electronic atomizer convenient to storage |
| WO2023124738A1 (en) * | 2021-12-29 | 2023-07-06 | 深圳市卓尔悦电子科技有限公司 | Atomizer and aerosol generating device |
| CN116406830A (en) * | 2021-12-29 | 2023-07-11 | 深圳市卓尔悦电子科技有限公司 | Nebulizer and aerosol generating device |
| CN117258091A (en) * | 2023-11-17 | 2023-12-22 | 深圳市康唯普科技有限公司 | Sleep-aiding aerosol generating device and control method thereof |
| CN117258091B (en) * | 2023-11-17 | 2024-02-09 | 深圳市康唯普科技有限公司 | Sleep-aiding aerosol generating device and control method thereof |
Also Published As
| Publication number | Publication date |
|---|---|
| US20230110108A1 (en) | 2023-04-13 |
| EP4133951A1 (en) | 2023-02-15 |
| WO2021203777A1 (en) | 2021-10-14 |
| EP4133951A4 (en) | 2024-05-01 |
Similar Documents
| Publication | Publication Date | Title |
|---|---|---|
| CN212164889U (en) | Atomizer and aerosol generating device | |
| CN211746948U (en) | Atomizer and aerosol generating device thereof | |
| CN212164888U (en) | Atomizer and aerosol generating device thereof | |
| CN211746950U (en) | Atomizer and aerosol generating device thereof | |
| CN211672451U (en) | Atomizer and aerosol generating device | |
| CN210203317U (en) | Atomizers and Electronic Cigarettes | |
| CN211458847U (en) | Atomizer and aerosol generating device | |
| WO2020048513A1 (en) | Atomizing device and electronic atomizing equipment | |
| CN217065382U (en) | Atomizer and aerosol generating device | |
| CN210726699U (en) | Heating element, atomizing head, atomizer and electronic cigarette | |
| CN212167376U (en) | Double-air-passage air inlet structure, power supply device and aerosol generating device | |
| WO2021159915A1 (en) | Atomizer and aerosol generation apparatus with same | |
| WO2021227742A1 (en) | Atomizer and aerosol generating device having same | |
| WO2022022123A1 (en) | Liquid storage assembly, atomizer and aerosol generation device thereof | |
| CN212464879U (en) | Nebulizer and aerosol generating device | |
| WO2022100171A1 (en) | Atomizer and aerosol generating device | |
| WO2022022122A1 (en) | Atomizer and aerosol generating device with same | |
| WO2021136514A1 (en) | Atomizer, and aerosol generation device | |
| CN209518264U (en) | Atomizer and electronic cigarette | |
| CN216651326U (en) | Electronic atomization device and atomizer and atomization assembly thereof | |
| CN210017899U (en) | Atomizer and electronic cigarette | |
| CN210124327U (en) | Atomizers and Electronic Cigarettes | |
| CN116584703B (en) | An aerosol generating device | |
| CN217089584U (en) | Electronic atomization device and atomizer thereof | |
| CN213215336U (en) | Atomizer and electronic cigarette |
Legal Events
| Date | Code | Title | Description |
|---|---|---|---|
| GR01 | Patent grant | ||
| GR01 | Patent grant |
