CN212152749U - 一种抗静电的面料用拉毛机构 - Google Patents

一种抗静电的面料用拉毛机构 Download PDF

Info

Publication number
CN212152749U
CN212152749U CN202020273489.0U CN202020273489U CN212152749U CN 212152749 U CN212152749 U CN 212152749U CN 202020273489 U CN202020273489 U CN 202020273489U CN 212152749 U CN212152749 U CN 212152749U
Authority
CN
China
Prior art keywords
fixedly connected
roller
fabric
movable rod
pulling mechanism
Prior art date
Legal status (The legal status is an assumption and is not a legal conclusion. Google has not performed a legal analysis and makes no representation as to the accuracy of the status listed.)
Expired - Fee Related
Application number
CN202020273489.0U
Other languages
English (en)
Inventor
张俞龙
方明
费小林
Current Assignee (The listed assignees may be inaccurate. Google has not performed a legal analysis and makes no representation or warranty as to the accuracy of the list.)
Haining Shunlong Dyeing And Finishing Co ltd
Original Assignee
Haining Shunlong Dyeing And Finishing Co ltd
Priority date (The priority date is an assumption and is not a legal conclusion. Google has not performed a legal analysis and makes no representation as to the accuracy of the date listed.)
Filing date
Publication date
Application filed by Haining Shunlong Dyeing And Finishing Co ltd filed Critical Haining Shunlong Dyeing And Finishing Co ltd
Priority to CN202020273489.0U priority Critical patent/CN212152749U/zh
Application granted granted Critical
Publication of CN212152749U publication Critical patent/CN212152749U/zh
Expired - Fee Related legal-status Critical Current
Anticipated expiration legal-status Critical

Links

Images

Landscapes

  • Treatment Of Fiber Materials (AREA)

Abstract

本实用新型公开了一种抗静电的面料用拉毛机构,包括载板、针辊本体和传动装置,所述载板的上表面贴合设置有面料本体,所述壳体的内侧转动连接有针辊本体,所述连接管靠近针辊本体的一端固定连接有清毛梳,所述箱体的内侧设置有收集盒,所述连接管外侧的下表面通过螺栓固定连接有连接架,所述活动杆的外侧套设有弹簧,所述活动块的中部转动连接有压辊,所述载板的左端通过螺栓固定连接有固定框,且固定框内侧的上端转动连接有导布辊,所述固定框内侧的下端转动连接有输布辊,所述壳体的外侧设置有传动装置。该抗静电的面料用拉毛机构,便于对针辊上的毛絮进行清理,避免出现卡塞现象,另外方便对面料进行固定。

Description

一种抗静电的面料用拉毛机构
技术领域
本实用新型涉及面料用拉毛装置相关技术领域,具体为一种抗静电的面料用拉毛机构。
背景技术
根据不同的生产要求,往往需要对面料进行拉毛、拉绒和造粒等加工处理,拉毛是利用针辊的转动对面料进行起毛加工,拉毛后的面料更加柔软,且保暖性更好。
但是,针辊在拉毛的过程中,不便于对针辊上的毛絮进行清理,容易造成卡塞现象,影响后续的拉毛效果,降低了拉毛机的实用性,因此,我们提供一种抗静电的面料用拉毛机构,以便于解决上述中提出的问题。
实用新型内容
本实用新型的目的在于提供一种抗静电的面料用拉毛机构,以解决上述背景技术中提出的不便于对针辊上的毛絮进行清理,容易造成卡塞现象,影响后续的拉毛效果,降低了实用性的问题。
为实现上述目的,本实用新型提供如下技术方案:一种抗静电的面料用拉毛机构,包括载板、针辊本体和传动装置,所述载板的上表面贴合设置有面料本体,且载板的上方固定连接有壳体,所述壳体的内侧转动连接有针辊本体,且壳体的右侧通过螺栓固定连接有连接管,所述连接管靠近针辊本体的一端固定连接有清毛梳,且连接管的右端通过螺栓固定连接在箱体的左侧壁上,所述箱体的内侧设置有收集盒,且箱体的右侧壁上固定连接有真空吸气管,所述连接管外侧的下表面通过螺栓固定连接有连接架,且连接架的前后两端均贯穿连接有活动杆,所述活动杆的外侧套设有弹簧,且活动杆的下端固定连接有活动块,所述活动块的中部转动连接有压辊,所述载板的左端通过螺栓固定连接有固定框,且固定框内侧的上端转动连接有导布辊,所述固定框内侧的下端转动连接有输布辊,所述壳体的外侧设置有传动装置。
优选的,所述连接管下表面的倾斜角度等于清毛梳的倾斜角度,且清毛梳的左端与针辊本体采用卡合的方式相连接。
优选的,所述收集盒在箱体上构成拆卸结构,且收集盒横截面的面积尺寸等于箱体内侧的面积尺寸。
优选的,所述活动杆在连接架上构成滑动结构,且活动杆的纵截面呈“T”字形结构。
优选的,所述压辊在连接架上构成升降结构,且压辊的下侧贴合设置在面料本体的外表面。
优选的,所述导布辊关于输布辊的垂直中轴线对称设置,且导布辊和输布辊的外表面均与面料本体呈贴合设置。
与现有技术相比,本实用新型的有益效果是:该抗静电的面料用拉毛机构,便于对针辊上的毛絮进行清理,避免出现卡塞现象,另外方便对面料进行固定,使后续拉毛更加稳定;
1、设有清毛梳和收集盒,清毛梳在针辊本体上呈倾斜设置,且清毛梳与针辊本体采用卡合的方式相连接,通过真空吸气管产生吸力后,使毛絮进入收集盒的内侧完成收集,便于对针辊本体上的毛絮进行清理,避免出现卡塞现象;
2、设有活动杆和压辊,通过弹簧的弹性形变,使压辊通过活动杆在连接架上构成升降结构,压辊的下侧与面料本体的外表面呈贴合设置,通过压辊压住面料,便于对面料进行固定,方便后续的拉毛处理;
3、设有导布辊和输布辊,导布辊关于输布辊的垂直中轴线对称设置,且导布辊和输布辊的外侧均与面料本体呈贴合设置,便于面料的输送,使输送起来更加的稳定。
附图说明
图1为本实用新型正视剖面结构示意图;
图2为本实用新型连接架与活动杆连接侧视结构示意图;
图3为本实用新型壳体与传动装置连接正视结构示意图;
图4为本实用新型针辊本体与清毛梳连接俯视剖面结构示意图。
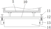
图中:1、载板;2、面料本体;3、壳体;4、针辊本体;5、连接管;6、清毛梳;7、箱体;8、收集盒;9、真空吸气管;10、连接架;11、活动杆;12、弹簧;13、活动块;14、压辊;15、固定框;16、导布辊;17、输布辊;18、传动装置。
具体实施方式
下面将结合本实用新型实施例中的附图,对本实用新型实施例中的技术方案进行清楚、完整地描述,显然,所描述的实施例仅仅是本实用新型一部分实施例,而不是全部的实施例。基于本实用新型中的实施例,本领域普通技术人员在没有做出创造性劳动前提下所获得的所有其他实施例,都属于本实用新型保护的范围。
请参阅图1-4,本实用新型提供一种技术方案:一种抗静电的面料用拉毛机构,包括载板1、面料本体2、壳体3、针辊本体4、连接管5、清毛梳6、箱体7、收集盒8、真空吸气管9、连接架10、活动杆11、弹簧12、活动块13、压辊14、固定框15、导布辊16、输布辊17和传动装置18,载板1的上表面贴合设置有面料本体2,且载板1的上方固定连接有壳体3,壳体3的内侧转动连接有针辊本体4,且壳体3的右侧通过螺栓固定连接有连接管5,连接管5靠近针辊本体4的一端固定连接有清毛梳6,且连接管5的右端通过螺栓固定连接在箱体7的左侧壁上,箱体7的内侧设置有收集盒8,且箱体7的右侧壁上固定连接有真空吸气管9,连接管5外侧的下表面通过螺栓固定连接有连接架10,且连接架10的前后两端均贯穿连接有活动杆11,活动杆11的外侧套设有弹簧12,且活动杆11的下端固定连接有活动块13,活动块13的中部转动连接有压辊14,载板1的左端通过螺栓固定连接有固定框15,且固定框15内侧的上端转动连接有导布辊16,固定框15内侧的下端转动连接有输布辊17,壳体3的外侧设置有传动装置18。
如图1和图4中连接管5下表面的倾斜角度等于清毛梳6的倾斜角度,且清毛梳6的左端与针辊本体4采用卡合的方式相连接,收集盒8在箱体7上构成拆卸结构,且收集盒8横截面的面积尺寸等于箱体7内侧的面积尺寸,通过真空吸气管9产生吸力后,使毛絮进入收集盒8的内侧完成收集,便于对针辊本体4上的毛絮进行清理,避免出现卡塞现象。
如图2和图1中活动杆11在连接架10上构成滑动结构,且活动杆11的纵截面呈“T”字形结构,压辊14在连接架10上构成升降结构,且压辊14的下侧贴合设置在面料本体2的外表面,通过压辊14压住面料,便于对面料进行固定,方便后续的拉毛处理。
如图3和图1中导布辊16关于输布辊17的垂直中轴线对称设置,且导布辊16和输布辊17的外表面均与面料本体2呈贴合设置,便于面料的输送,使输送起来更加的稳定。
工作原理:在使用该抗静电的面料用拉毛机构时,首先根据附图2和图1所示,通过弹簧12的弹性形变,使活动杆11带动活动块13在连接架10上向下滑动,并使压辊14的下侧贴合设置在面料本体2的外表面,对面料进行固定,根据附图1和图3所示,导布辊16和输布辊17的外侧均与面料本体2呈贴合设置,启动传动装置18运转工作,使导布辊16和输布辊17均在固定框15的内侧进行转动,并使面料在载板1的上表面进行移动,传动装置18运转工作时,使针辊本体4在壳体3的内侧进行转动,钩动面料进行拉毛处理,根据附图1和图4所示,清毛梳6在针辊本体4上呈倾斜设置,且清毛梳6与针辊本体4采用卡合的方式相连接,针辊本体4在转动的过程中,通过清毛梳6对卡塞在针辊本体4上的毛絮进行清理,箱体7的右侧固定连接有真空吸气管9,通过真空吸气管9产生吸力,清理出的毛絮通过连接管5进入收集盒8的内侧完成收集,这就是抗静电的面料用拉毛机构使用的整个过程。
尽管已经示出和描述了本实用新型的实施例,对于本领域的普通技术人员而言,可以理解在不脱离本实用新型的原理和精神的情况下可以对这些实施例进行多种变化、修改、替换和变型,本实用新型的范围由所附权利要求及其等同物限定。

Claims (6)

1.一种抗静电的面料用拉毛机构,包括载板(1)、针辊本体(4)和传动装置(18),其特征在于:所述载板(1)的上表面贴合设置有面料本体(2),且载板(1)的上方固定连接有壳体(3),所述壳体(3)的内侧转动连接有针辊本体(4),且壳体(3)的右侧通过螺栓固定连接有连接管(5),所述连接管(5)靠近针辊本体(4)的一端固定连接有清毛梳(6),且连接管(5)的右端通过螺栓固定连接在箱体(7)的左侧壁上,所述箱体(7)的内侧设置有收集盒(8),且箱体(7)的右侧壁上固定连接有真空吸气管(9),所述连接管(5)外侧的下表面通过螺栓固定连接有连接架(10),且连接架(10)的前后两端均贯穿连接有活动杆(11),所述活动杆(11)的外侧套设有弹簧(12),且活动杆(11)的下端固定连接有活动块(13),所述活动块(13)的中部转动连接有压辊(14),所述载板(1)的左端通过螺栓固定连接有固定框(15),且固定框(15)内侧的上端转动连接有导布辊(16),所述固定框(15)内侧的下端转动连接有输布辊(17),所述壳体(3)的外侧设置有传动装置(18)。
2.根据权利要求1所述的一种抗静电的面料用拉毛机构,其特征在于:所述连接管(5)下表面的倾斜角度等于清毛梳(6)的倾斜角度,且清毛梳(6)的左端与针辊本体(4)采用卡合的方式相连接。
3.根据权利要求1所述的一种抗静电的面料用拉毛机构,其特征在于:所述收集盒(8)在箱体(7)上构成拆卸结构,且收集盒(8)横截面的面积尺寸等于箱体(7)内侧的面积尺寸。
4.根据权利要求1所述的一种抗静电的面料用拉毛机构,其特征在于:所述活动杆(11)在连接架(10)上构成滑动结构,且活动杆(11)的纵截面呈“T”字形结构。
5.根据权利要求1所述的一种抗静电的面料用拉毛机构,其特征在于:所述压辊(14)在连接架(10)上构成升降结构,且压辊(14)的下侧贴合设置在面料本体(2)的外表面。
6.根据权利要求1所述的一种抗静电的面料用拉毛机构,其特征在于:所述导布辊(16)关于输布辊(17)的垂直中轴线对称设置,且导布辊(16)和输布辊(17)的外表面均与面料本体(2)呈贴合设置。
CN202020273489.0U 2020-03-09 2020-03-09 一种抗静电的面料用拉毛机构 Expired - Fee Related CN212152749U (zh)

Priority Applications (1)

Application Number Priority Date Filing Date Title
CN202020273489.0U CN212152749U (zh) 2020-03-09 2020-03-09 一种抗静电的面料用拉毛机构

Applications Claiming Priority (1)

Application Number Priority Date Filing Date Title
CN202020273489.0U CN212152749U (zh) 2020-03-09 2020-03-09 一种抗静电的面料用拉毛机构

Publications (1)

Publication Number Publication Date
CN212152749U true CN212152749U (zh) 2020-12-15

Family

ID=73714514

Family Applications (1)

Application Number Title Priority Date Filing Date
CN202020273489.0U Expired - Fee Related CN212152749U (zh) 2020-03-09 2020-03-09 一种抗静电的面料用拉毛机构

Country Status (1)

Country Link
CN (1) CN212152749U (zh)

Cited By (2)

* Cited by examiner, † Cited by third party
Publication number Priority date Publication date Assignee Title
CN113699647A (zh) * 2021-08-02 2021-11-26 福建思嘉环保材料科技有限公司 一种充气床用高强度空间布生产工艺及拉丝设备
CN119640535A (zh) * 2025-01-16 2025-03-18 盐城市丰泰纺织科技有限公司 一种抗静电面料的拉毛设备及其使用方法

Cited By (3)

* Cited by examiner, † Cited by third party
Publication number Priority date Publication date Assignee Title
CN113699647A (zh) * 2021-08-02 2021-11-26 福建思嘉环保材料科技有限公司 一种充气床用高强度空间布生产工艺及拉丝设备
CN119640535A (zh) * 2025-01-16 2025-03-18 盐城市丰泰纺织科技有限公司 一种抗静电面料的拉毛设备及其使用方法
CN119640535B (zh) * 2025-01-16 2025-11-18 盐城市丰泰纺织科技有限公司 一种抗静电面料的拉毛设备及其使用方法

Similar Documents

Publication Publication Date Title
CN212152749U (zh) 一种抗静电的面料用拉毛机构
CN110735312A (zh) 一种纺织加工用循环除尘装置
CN216615246U (zh) 一种具有除杂结构的纺织专用开松机
CN211471644U (zh) 一种畜牧业用羊毛清洗装置
CN204530062U (zh) 一种梳棉机盖板清理装置
CN220550366U (zh) 一种针纺织品加工用除尘装置
CN220318175U (zh) 一种纺织面料磨毛装置
CN219527070U (zh) 一种面料表面抗起球处理装置
CN213951705U (zh) 一种纺织品表面处理装置
CN215047556U (zh) 一种棉腈混纺纱输送用除尘装置
CN105149262A (zh) 电力安全帽清洁装置
CN211171007U (zh) 一种纺织用并条机送料装置
CN116876140A (zh) 一种高保暖乔绒布制备工艺
CN211570946U (zh) 一种纺织布料碎屑收集装置
CN221822520U (zh) 一种毛巾包边设备
CN220520728U (zh) 一种纺织用并条机
CN210541413U (zh) 一种平板拖把清洁工具
CN220888079U (zh) 一种面料加工用面料表面除尘装置
CN216630052U (zh) 一种防止滤袋破损的除尘滤袋清灰装置
CN207362563U (zh) 一种高效的纺织清洁器
CN220079505U (zh) 一种布料表面整理装置
CN205741448U (zh) 一种设置吸尘装置的导布辊
CN211920354U (zh) 一种保暖阻燃多功能面料拉绒装置的输料机构
CN221837290U (zh) 一种羊绒面料的绒毛清理收集装置
CN218779202U (zh) 一种棉布加工用表面除尘装置

Legal Events

Date Code Title Description
GR01 Patent grant
GR01 Patent grant
CF01 Termination of patent right due to non-payment of annual fee
CF01 Termination of patent right due to non-payment of annual fee

Granted publication date: 20201215