CN211941270U - A processing device for plates - Google Patents
A processing device for plates Download PDFInfo
- Publication number
- CN211941270U CN211941270U CN201921842382.7U CN201921842382U CN211941270U CN 211941270 U CN211941270 U CN 211941270U CN 201921842382 U CN201921842382 U CN 201921842382U CN 211941270 U CN211941270 U CN 211941270U
- Authority
- CN
- China
- Prior art keywords
- linear motor
- motor
- cutting
- shaped
- driving end
- Prior art date
- Legal status (The legal status is an assumption and is not a legal conclusion. Google has not performed a legal analysis and makes no representation as to the accuracy of the status listed.)
- Expired - Fee Related
Links
Images
Landscapes
- Finish Polishing, Edge Sharpening, And Grinding By Specific Grinding Devices (AREA)
Abstract
本实用新型为一种用于板材的处理装置,涉及板材加工领域,解决了现有技术中的加工设备,均为切割,切割完毕的时候,还需要人工进行打孔以及进行打磨,费时费力的问题。技术特征包括工作台、设置在操作台上的切割机构、打磨机构以及打孔机构;所述切割机构包括第一门型框架、滑动部、升降部以及切割部;所述第一门型框架设置在工作台上表面的左端,所述滑动部安装在第一门型框架内下表面,所述升降部设置在滑动部的下表面,所述切割部安装在升降部上;所述打磨机构用于对板材进行打磨;所述打孔机构用于对板材进行打孔。本装置操作简单,造价低廉,可以切割不同长度不同尺寸的板材,切割完毕时还可以进行打孔以及打磨,节省了人力物力。
The utility model relates to a processing device for plates, which relates to the field of plate processing, and solves the problem that the processing equipment in the prior art is all cutting. question. The technical features include a workbench, a cutting mechanism, a grinding mechanism and a punching mechanism arranged on the operating table; the cutting mechanism includes a first portal frame, a sliding part, a lifting part and a cutting part; the first portal frame is provided with At the left end of the upper surface of the worktable, the sliding part is installed on the inner lower surface of the first portal frame, the lifting part is arranged on the lower surface of the sliding part, and the cutting part is installed on the lifting part; the grinding mechanism is used for For grinding the plate; the punching mechanism is used for punching the plate. The device has simple operation and low cost, can cut plates of different lengths and sizes, and can also perform drilling and grinding when the cutting is completed, saving manpower and material resources.
Description
技术领域technical field
本实用新型涉及板材加工技术领域,特别涉及一种用于板材的处理装置。The utility model relates to the technical field of sheet metal processing, in particular to a processing device for sheet materials.
背景技术Background technique
柜子的使用始于夏商周时期,那时称为"椟"。到了明清时期,柜子成为室内必备的家具,且形制已定型。明清柜子按形制可分为方角柜、圆角柜、亮格柜,形制不同,其构成部件也有不同。柜类家具主要是指以木材、人造板或金属等材料制成的各种用途不同的柜子。The use of cabinets began in the Xia, Shang and Zhou dynasties, when it was called "椟". In the Ming and Qing Dynasties, the cabinet became the necessary furniture in the room, and the shape has been finalized. Cabinets in Ming and Qing Dynasties can be divided into square-corner cabinets, round-corner cabinets and bright lattice cabinets according to their shapes. Cabinet furniture mainly refers to cabinets with different uses made of wood, wood-based panels or metal materials.
目前,柜子装配之前,往往需要对所需要使用的板材进行加工,然而,现有的加工设备,均为切割,切割完毕的时候,还需要人工进行打孔以及进行打磨,这样不仅费时费力,同样增加了厂家生产所需要的空间,因此设计一种用于板材的处理装置很有必要。At present, before the cabinet is assembled, it is often necessary to process the plates to be used. However, the existing processing equipment is all cutting. When the cutting is completed, manual drilling and grinding are required, which is not only time-consuming and labor-intensive, but also The space required for the production of the manufacturer is increased, so it is necessary to design a processing device for the board.
实用新型内容Utility model content
本实用新型要解决现有技术中的加工设备,均为切割,切割完毕的时候,还需要人工进行打孔以及进行打磨,费时费力技术问题,提供一种用于板材的处理装置。The utility model solves the technical problem of time-consuming and laborious technical problems that the processing equipment in the prior art is all cutting, and when the cutting is completed, manual punching and grinding are required, and a processing device for plates is provided.
为了解决上述技术问题,本实用新型的技术方案具体如下:In order to solve the above-mentioned technical problems, the technical scheme of the present utility model is as follows:
一种用于板材的处理装置,包括工作台、设置在操作台上的切割机构、打磨机构以及打孔机构;A processing device for plates, comprising a workbench, a cutting mechanism, a grinding mechanism and a punching mechanism arranged on the operating table;
所述切割机构包括第一门型框架、滑动部、升降部以及切割部;The cutting mechanism includes a first portal frame, a sliding part, a lifting part and a cutting part;
所述第一门型框架设置在工作台上表面的左端,所述滑动部安装在第一门型框架内下表面,所述升降部设置在滑动部的下表面,所述切割部安装在升降部上;The first door-shaped frame is arranged on the left end of the upper surface of the workbench, the sliding part is installed on the inner lower surface of the first door-shaped frame, the lifting part is arranged on the lower surface of the sliding part, and the cutting part is installed on the lifting and lowering part. Ministry;
所述打磨机构用于对板材进行打磨;The grinding mechanism is used for grinding the plate;
所述打孔机构用于对板材进行打孔。The punching mechanism is used for punching the plate.
优选的,所述滑动部包括第一条形滑道、第一直线电机以及第一滑块;Preferably, the sliding part includes a first bar-shaped slideway, a first linear motor and a first sliding block;
所述第一条形滑道开设在第一门型框架内上表面,所述第一直线电机设置在第一条形滑道的内部,所述第一滑块安置于第一条形滑道的内部,且位于所述第一直线电机驱动端的侧表面。The first bar-shaped slideway is opened on the inner upper surface of the first door-shaped frame, the first linear motor is arranged inside the first bar-shaped slideway, and the first sliding block is arranged on the first bar-shaped slideway. The inner part of the track is located on the side surface of the driving end of the first linear motor.
优选的,所述升降部包括第二直线电机以及底板;Preferably, the lifting part includes a second linear motor and a bottom plate;
所述第二直线电机设置在第一滑块的下表面,所述底板设置在第二直线电机驱动端的下表面。The second linear motor is arranged on the lower surface of the first sliding block, and the bottom plate is arranged on the lower surface of the driving end of the second linear motor.
优选的,所述切割部包括第一旋转电机以及切割刀;Preferably, the cutting part includes a first rotating motor and a cutting knife;
所述第一旋转电机设置在底板的下表面,所述切割刀套装在第一旋转电机驱动端上。The first rotating motor is arranged on the lower surface of the bottom plate, and the cutting knife is sleeved on the driving end of the first rotating motor.
优选的,所述打孔机构包括第二门型框架、第四直线电机、第二旋转电机以及钻头;Preferably, the punching mechanism includes a second portal frame, a fourth linear motor, a second rotary motor and a drill bit;
所述第二门型框架安置于工作台的上表面,所述第四直线电机安置于第二门型框架的内上表面,所述第二旋转安置于第四直线电机驱动端的下表面,所述钻头螺旋连接在第二旋转电机驱动端上。The second gantry frame is arranged on the upper surface of the workbench, the fourth linear motor is arranged on the inner upper surface of the second gantry frame, and the second rotation is arranged on the lower surface of the driving end of the fourth linear motor. The drill bit is screwed on the driving end of the second rotary motor.
优选的,所述打磨机构包括第三门型框架、第三旋转电机、转动杆、转动筒、第三直线电机、n形连接板以及可替换砂纸;Preferably, the sanding mechanism comprises a third door-shaped frame, a third rotary motor, a rotary rod, a rotary drum, a third linear motor, an n-shaped connecting plate and a replaceable sandpaper;
所述第三门型框架设置在工作台的上表面一端,所述第三直线电机安置于第三门型框架的内上表面,所述n形连接板设置在第三直线电机驱动端的下表面,所述第三旋转电机贯穿设置在n形连接板侧表面下端,所述转动杆设置在n 形连接板内,所述转动杆的一端与第三旋转电机驱动端相连,所述转动筒套装在转动杆上,所述可替换砂纸安装在转动筒上。The third gantry frame is arranged on one end of the upper surface of the workbench, the third linear motor is arranged on the inner upper surface of the third gantry frame, and the n-shaped connecting plate is arranged on the lower surface of the driving end of the third linear motor , the third rotating motor is arranged through the lower end of the side surface of the n-shaped connecting plate, the rotating rod is arranged in the n-shaped connecting plate, one end of the rotating rod is connected with the driving end of the third rotating motor, and the rotating cylinder is sleeved On the rotating rod, the replaceable sandpaper is mounted on the rotating drum.
优选的,所述工作台的下表面设有两对万向轮,两对所述万向轮上安装有刹车片。Preferably, the lower surface of the worktable is provided with two pairs of universal wheels, and brake pads are installed on the two pairs of universal wheels.
本实用新型具有以下的有益效果:The utility model has the following beneficial effects:
本装置操作简单,造价低廉,可以切割不同长度不同尺寸的板材,切割完毕时还可以进行打孔以及打磨,节省了人力物力,减少了空间上的浪费,减少了生产厂家的资金损失。The device is simple in operation and low in cost. It can cut plates of different lengths and sizes. After cutting, it can also perform drilling and grinding, which saves manpower and material resources, reduces the waste of space, and reduces the capital loss of the manufacturer.
附图说明Description of drawings
下面结合附图和具体实施方式对本实用新型作进一步详细说明。The present utility model will be described in further detail below with reference to the accompanying drawings and specific embodiments.
图1为本实用新型的一种用于板材的处理装置的结构示意图;Fig. 1 is the structural representation of a kind of processing device for sheet material according to the present invention;
图2为本实用新型的打孔机构结构示意图;Fig. 2 is the structural schematic diagram of the punching mechanism of the present invention;
图3为本实用新型的打磨机构结构示意图;3 is a schematic structural diagram of a grinding mechanism of the present invention;
图4为本实用新型的切割机构正视图;Fig. 4 is the front view of the cutting mechanism of the utility model;
图5为本实用新型的一种用于板材的处理装置的主视图。FIG. 5 is a front view of a processing device for a plate according to the present invention.
图中的附图标记表示为:The reference numbers in the figures are indicated as:
1、工作台;2、第一门型框架;3、第一条形滑道;4、第一直线电机;5、第一滑块;6、第二直线电机;7、底板;8、第一旋转电机;9、切割刀;10、第二门型框架;11、第四直线电机;12、第二旋转电机;13、钻头;14、第三门型框架;15、第三旋转电机;16、转动杆;17、转动筒;18、第三直线电机; 19、n形连接板;20、可替换砂纸;21、万向轮;22、刹车片。1. Workbench; 2. The first door frame; 3. The first strip slide; 4. The first linear motor; 5. The first slider; 6. The second linear motor; 7. The bottom plate; 8. 1st rotary motor; 9, cutting knife; 10, second gate frame; 11, fourth linear motor; 12, second rotary motor; 13, drill; 14, third gate frame; 15, third rotary motor ; 16, rotating rod; 17, rotating cylinder; 18, third linear motor; 19, n-shaped connecting plate; 20, replaceable sandpaper; 21, universal wheel; 22, brake pads.
具体实施方式Detailed ways
下面将结合本实用新型实施例中的附图,对本实用新型实施例中的技术方案进行清楚、完整地描述,显然,所描述的实施例仅仅是本实用新型一部分实施例,而不是全部的实施例。基于本实用新型中的实施例,本领域普通技术人员在没有做出创造性劳动前提下所获得的所有其他实施例,都属于本实用新型保护的范围。The technical solutions in the embodiments of the present utility model will be clearly and completely described below with reference to the accompanying drawings in the embodiments of the present utility model. Obviously, the described embodiments are only a part of the embodiments of the present utility model, rather than all the implementations. example. Based on the embodiments of the present invention, all other embodiments obtained by those of ordinary skill in the art without creative work fall within the protection scope of the present invention.
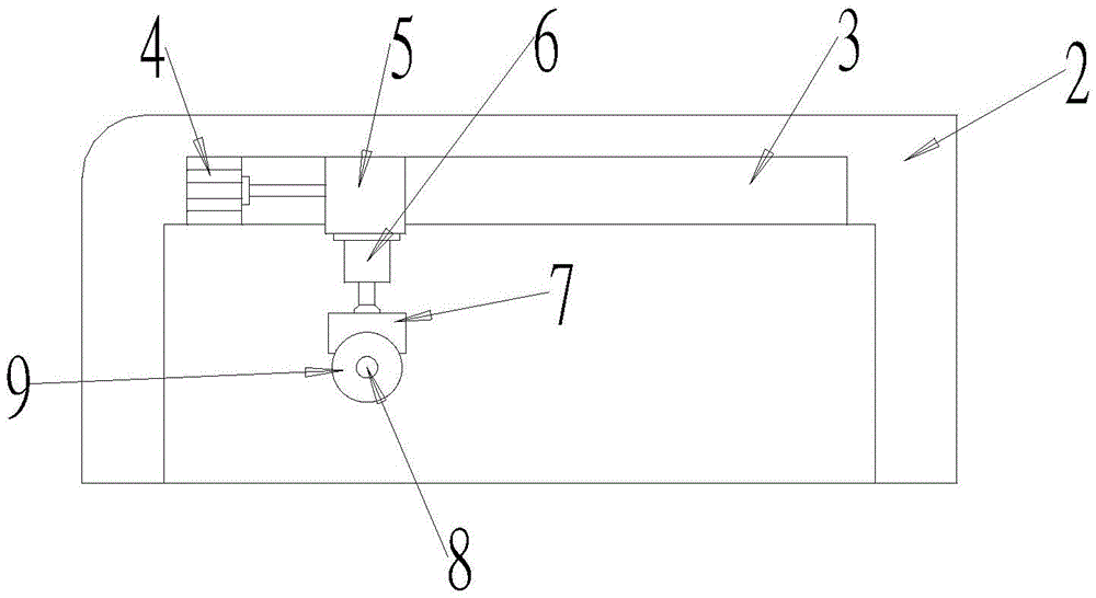
请参阅图1-5,一种用于板材的处理装置,包括工作台1、设置在操作台上的切割机构、打磨机构以及打孔机构;Please refer to Figures 1-5, a processing device for plates, including a
所述切割机构包括第一门型框架2、滑动部、升降部以及切割部;The cutting mechanism includes a
所述第一门型框架设置在工作台1上表面的左端,所述滑动部安装在第一门型框架2内下表面,所述升降部设置在滑动部的下表面,所述切割部安装在升降部上;The first portal frame is arranged on the left end of the upper surface of the
所述打磨机构用于对板材进行打磨;The grinding mechanism is used for grinding the plate;
所述打孔机构用于对板材进行打孔。The punching mechanism is used for punching the plate.
所述滑动部包括第一条形滑道3、第一直线电机4以及第一滑块5;The sliding part includes a first strip-shaped slideway 3, a first linear motor 4 and a first sliding
所述第一条形滑道3开设在第一门型框架2内上表面,所述第一直线电机4设置在第一条形滑道3的内部,所述第一滑块5安置于第一条形滑道3的内部,且位于所述第一直线电机4驱动端的侧表面。The first bar-shaped slideway 3 is opened on the inner upper surface of the first door-shaped
所述升降部包括第二直线电机6以及底板7;The lifting part includes a second
所述第二直线电机6设置在第一滑块5的下表面,所述底板7设置在第二直线电机6驱动端的下表面。The second
所述切割部包括第一旋转电机8以及切割刀9;The cutting part includes a first
所述第一旋转电机8设置在底板7的下表面,所述切割刀9套装在第一旋转电机8驱动端上。The first
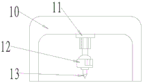
所述打孔机构包括第二门型框架10、第四直线电机11、第二旋转电机12以及钻头13;The punching mechanism includes a second
所述第二门型框架10安置于工作台1的上表面,所述第四直线电机11安置于第二门型框架10的内上表面,所述第二旋转安置于第四直线电机11驱动端的下表面,所述钻头13螺旋连接在第二旋转电机12驱动端上。The
所述打磨机构包括第三门型框架14、第三旋转电机15、转动杆16、转动筒 17、第三直线电机18、n形连接板19以及可替换砂纸20;Described grinding mechanism comprises the third
所述第三门型框架14设置在工作台1的上表面一端,所述第三直线电机18安置于第三门型框架14的内上表面,所述n形连接板19设置在第三直线电机18驱动端的下表面,所述第三旋转电机15贯穿设置在n形连接板19侧表面下端,所述转动杆16设置在n形连接板19内,所述转动杆16的一端与第三旋转电机15驱动端相连,所述转动筒17套装在转动杆16上,所述可替换砂纸20安装在转动筒17上。The third
所述工作台1的下表面设有两对万向轮21,两对所述万向轮21上安装有刹车片22。The lower surface of the
工作原理:working principle:
首先通过万向轮21让工作台1进行移动,当移动到指定的工作地点,可以通过刹车片22对万向轮21进行固定,避免在工作的时候出现晃动的现象,之后板材放到工作台1上,可以通过第一直线电机4带动第一滑块5在第一条形滑道3进行滑动,之后第二直线电机6可以带动第一旋转电机8向下运动,之后旋第一旋转电机8会带动切割刀9对板材进行切割,之后通过第四直线电机11带动第二旋转电机12向下运动,之后第二旋转电机12带动钻头13进行钻孔,如果不需要进行转孔,可以让第四直线电机11带动第二旋转电机12向靠近第二门型框架10的内上表面进行运动,打孔完毕,可以通过让第三直线电机18带动n形连接板19向下运动,从而让转动筒17上的可替换砂纸20与板材进行接触,之后第三旋转电机15带动转动杆16进行转动,从而让转动杆16带动转动筒17上的可替换砂纸20 转动进行打磨毛刺等。First, the
显然,上述实施例仅仅是为清楚地说明所作的举例,而并非对实施方式的限定。对于所属领域的普通技术人员来说,在上述说明的基础上还可以做出其它不同形式的变化或变动。这里无需也无法对所有的实施方式予以穷举。而由此所引伸出的显而易见的变化或变动仍处于本发明创造的保护范围之中。Obviously, the above-mentioned embodiments are only examples for clear description, and are not intended to limit the implementation manner. For those of ordinary skill in the art, changes or modifications in other different forms can also be made on the basis of the above description. There is no need and cannot be exhaustive of all implementations here. And the obvious changes or changes derived from this are still within the protection scope of the present invention.
Claims (7)
Priority Applications (1)
| Application Number | Priority Date | Filing Date | Title |
|---|---|---|---|
| CN201921842382.7U CN211941270U (en) | 2019-10-29 | 2019-10-29 | A processing device for plates |
Applications Claiming Priority (1)
| Application Number | Priority Date | Filing Date | Title |
|---|---|---|---|
| CN201921842382.7U CN211941270U (en) | 2019-10-29 | 2019-10-29 | A processing device for plates |
Publications (1)
| Publication Number | Publication Date |
|---|---|
| CN211941270U true CN211941270U (en) | 2020-11-17 |
Family
ID=73167076
Family Applications (1)
| Application Number | Title | Priority Date | Filing Date |
|---|---|---|---|
| CN201921842382.7U Expired - Fee Related CN211941270U (en) | 2019-10-29 | 2019-10-29 | A processing device for plates |
Country Status (1)
| Country | Link |
|---|---|
| CN (1) | CN211941270U (en) |
Cited By (1)
| Publication number | Priority date | Publication date | Assignee | Title |
|---|---|---|---|---|
| CN117921814A (en) * | 2023-12-15 | 2024-04-26 | 山东鼎安检测技术有限公司 | An automatic punching device for building engineering plates |
-
2019
- 2019-10-29 CN CN201921842382.7U patent/CN211941270U/en not_active Expired - Fee Related
Cited By (1)
| Publication number | Priority date | Publication date | Assignee | Title |
|---|---|---|---|---|
| CN117921814A (en) * | 2023-12-15 | 2024-04-26 | 山东鼎安检测技术有限公司 | An automatic punching device for building engineering plates |
Similar Documents
| Publication | Publication Date | Title |
|---|---|---|
| CN209477356U (en) | A stainless steel door punching device | |
| CN211030300U (en) | Perforating device is used in plastic construction production | |
| CN209350041U (en) | A stainless steel door polishing device | |
| CN211941270U (en) | A processing device for plates | |
| CN111230648A (en) | An edge grinding device for furniture wood processing | |
| CN210939412U (en) | Paper cutting device | |
| CN212072275U (en) | A new type of trimming machine | |
| CN202742445U (en) | Plate trimming device | |
| CN111805338A (en) | Grinding device for machine case cutting edge | |
| CN217290499U (en) | A kind of automobile shaft punching device | |
| CN105215813B (en) | A kind of floor solid wood core plate sanding apparatus workpiece polishing mechanism | |
| CN206795477U (en) | A kind of edge polisher for sheet material | |
| CN219967444U (en) | A grinder for steel processing | |
| CN221662434U (en) | Cutter loading and lifting device for cutter die cutting machine | |
| CN217492809U (en) | Fully automatic CNC milling machine | |
| CN211221113U (en) | Novel cupboard processing device | |
| CN209158589U (en) | A kind of locking device of the die-cutting portion for die-cutting machine | |
| CN221716440U (en) | A deburring device for chassis sheet metal parts | |
| CN216732282U (en) | Shaving board cutting device | |
| CN212122478U (en) | A raw steel plate cutting device for steel structure manufacturing | |
| CN221233353U (en) | Carving machine with cleaning function | |
| CN219402518U (en) | Trimming device for metal product | |
| CN214186509U (en) | Toughened glass grinding device | |
| CN217394521U (en) | Panel environmental protection is made and is leveled sand light device | |
| CN219190346U (en) | Acrylic plate trimming device |
Legal Events
| Date | Code | Title | Description |
|---|---|---|---|
| GR01 | Patent grant | ||
| GR01 | Patent grant | ||
| CF01 | Termination of patent right due to non-payment of annual fee |
Granted publication date: 20201117 |
|
| CF01 | Termination of patent right due to non-payment of annual fee |
