CN211676378U - Rectifying tower with self-cleaning function - Google Patents
Rectifying tower with self-cleaning function Download PDFInfo
- Publication number
- CN211676378U CN211676378U CN202020165870.5U CN202020165870U CN211676378U CN 211676378 U CN211676378 U CN 211676378U CN 202020165870 U CN202020165870 U CN 202020165870U CN 211676378 U CN211676378 U CN 211676378U
- Authority
- CN
- China
- Prior art keywords
- tower body
- self
- tower
- cleaning
- pipe
- Prior art date
- Legal status (The legal status is an assumption and is not a legal conclusion. Google has not performed a legal analysis and makes no representation as to the accuracy of the status listed.)
- Expired - Fee Related
Links
- 238000004140 cleaning Methods 0.000 title claims abstract description 46
- XLYOFNOQVPJJNP-UHFFFAOYSA-N water Substances O XLYOFNOQVPJJNP-UHFFFAOYSA-N 0.000 claims abstract description 31
- 239000007921 spray Substances 0.000 claims abstract description 17
- 238000003860 storage Methods 0.000 claims abstract description 10
- 239000007788 liquid Substances 0.000 claims abstract description 8
- 230000005540 biological transmission Effects 0.000 claims abstract description 5
- 238000005406 washing Methods 0.000 claims 3
- 238000005507 spraying Methods 0.000 claims 2
- 230000003028 elevating effect Effects 0.000 claims 1
- 230000000694 effects Effects 0.000 abstract description 5
- 230000000149 penetrating effect Effects 0.000 abstract description 3
- 239000012530 fluid Substances 0.000 description 7
- 239000010865 sewage Substances 0.000 description 7
- 238000000034 method Methods 0.000 description 4
- 230000009286 beneficial effect Effects 0.000 description 2
- 238000010586 diagram Methods 0.000 description 2
- 238000000746 purification Methods 0.000 description 2
- 239000000126 substance Substances 0.000 description 2
- 238000012824 chemical production Methods 0.000 description 1
- 239000012535 impurity Substances 0.000 description 1
- 230000007774 longterm Effects 0.000 description 1
- 239000000203 mixture Substances 0.000 description 1
- 238000012986 modification Methods 0.000 description 1
- 230000004048 modification Effects 0.000 description 1
- 238000000926 separation method Methods 0.000 description 1
Images
Landscapes
- Cleaning By Liquid Or Steam (AREA)
Abstract
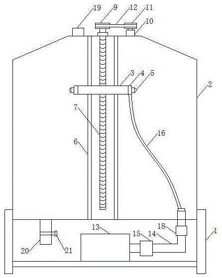
本实用新型公开了一种具有自清洗功能的精馏塔,包括底架、塔体和清洗装置,清洗装置包括设置在塔体内的升降盘,升降盘上设有环形喷淋管,环形喷淋管上设有喷嘴,塔体内设有贯穿升降盘的一对导向杆,该对导向杆之间设有贯穿升降盘的丝杆,升降盘设有供丝杆贯穿、且与丝杆螺纹连接的螺纹孔,丝杆的上端贯穿塔体顶部并设有第一带轮,塔体顶部设有升降驱动电机,升降驱动电机连接有第二带轮,第二带轮与第一带轮之间连接有传动皮带;底架上设有清洗液存储箱,清洗液存储箱上连接有输水管,输水管的另一端延伸至塔体内,环形喷淋管和输水管之间连接有软管。本实用新型一种具有自清洗功能的精馏塔,可有效对精馏塔内部进行清洗,且清洗效果好。
The utility model discloses a rectification tower with a self-cleaning function, which comprises a bottom frame, a tower body and a cleaning device. The cleaning device comprises a lifting plate arranged in the tower body, and an annular spray pipe is arranged on the lifting plate. A nozzle is arranged on the pipe, and a pair of guide rods penetrating the lifting plate is arranged in the tower body. A screw rod passing through the lifting plate is arranged between the pair of guide rods. Threaded hole, the upper end of the screw rod penetrates the top of the tower body and is provided with a first pulley, the top of the tower body is provided with a lift drive motor, the lift drive motor is connected with a second pulley, and the second pulley is connected with the first pulley There is a transmission belt; the bottom frame is provided with a cleaning liquid storage tank, the cleaning liquid storage tank is connected with a water delivery pipe, the other end of the water delivery pipe extends into the tower body, and a hose is connected between the annular spray pipe and the water delivery pipe. The utility model relates to a rectification tower with self-cleaning function, which can effectively clean the interior of the rectification tower and has good cleaning effect.
Description
技术领域technical field
本实用新型涉及一种具有自清洗功能的精馏塔。The utility model relates to a rectifying tower with self-cleaning function.
背景技术Background technique
现有化工生产中,精馏塔作为一种化工设备对化工产品的提纯起到了很大的作用,精馏指利用液体混合物组分间的挥发度不同,通过气液两相逐级流动和接触时进行穿越界面的质量和热量传递,从而完成混合物的分离提纯工作。但是,精馏塔在长期运行后,其内部会存留杂质,需要对其进行清洗,而现采用的方法一般是人工清洗,但是人工方式清洗效果较差,而且耗时费力。In the existing chemical production, the rectification tower, as a kind of chemical equipment, has played a great role in the purification of chemical products. At the same time, the mass and heat transfer across the interface are carried out, so as to complete the separation and purification of the mixture. However, after long-term operation of the rectifying tower, impurities will remain in its interior, which needs to be cleaned. The current method is generally manual cleaning, but the manual cleaning effect is poor, and it is time-consuming and labor-intensive.
实用新型内容Utility model content
本实用新型的目的在于提供一种具有自清洗功能的精馏塔,其结构合理,可有效对精馏塔内部进行清洗,且清洗效果好。The purpose of the utility model is to provide a rectifying tower with a self-cleaning function, which has a reasonable structure, can effectively clean the interior of the rectifying tower, and has a good cleaning effect.
为实现上述目的,本实用新型的技术方案是设计一种具有自清洗功能的精馏塔,包括底架,以及设置在底架上的塔体;还包括清洗装置,该清洗装置包括水平设置在塔体内部的升降盘,该升降盘的上设有环形喷淋管,该环形喷淋管沿升降盘的周向设置,且该环形喷淋管上连接有若干喷嘴,所述塔体的内部设有沿竖直方向贯穿升降盘的一对导向杆,该对导向杆之间设有沿竖直方向贯穿升降盘的丝杆,所述升降盘上设有供丝杆贯穿、且与丝杆螺纹连接的螺纹孔,所述丝杆的上端贯穿塔体的顶部并设有第一带轮,所述塔体的顶部设有升降驱动电机,该升降驱动电机的输出轴上设有第二带轮,该第二带轮与第一带轮之间连接有传动皮带;所述底架上设有清洗液存储箱,该清洗液存储箱上连接有输水管,该输水管的另一端延伸至塔体的内部,且该输水管上设有水泵,所述环形喷淋管和输水管之间连接有软管。In order to achieve the above purpose, the technical scheme of the present utility model is to design a rectification tower with a self-cleaning function, which includes a bottom frame and a tower body arranged on the bottom frame; The lifting plate inside the tower body is provided with an annular spray pipe, which is arranged along the circumferential direction of the lifting plate, and a number of nozzles are connected to the annular spray pipe. There is a pair of guide rods penetrating the lift plate in the vertical direction, between the pair of guide rods there is a screw rod that penetrates the lift plate in the vertical direction, and the lift plate is provided with the screw rod passing through and connecting with the screw rod. A threaded hole for threaded connection, the upper end of the screw rod penetrates the top of the tower body and is provided with a first pulley, the top of the tower body is provided with a lift drive motor, and the output shaft of the lift drive motor is provided with a second belt A transmission belt is connected between the second pulley and the first pulley; a cleaning fluid storage tank is arranged on the chassis, and a water delivery pipe is connected to the cleaning fluid storage tank, and the other end of the water delivery pipe extends to Inside the tower body, a water pump is arranged on the water delivery pipe, and a hose is connected between the annular spray pipe and the water delivery pipe.
优选的,所述升降盘上设有供导向杆贯穿、且与导向杆滑动配合的滑孔。Preferably, the lifting plate is provided with a sliding hole through which the guide rod passes and is slidably matched with the guide rod.
优选的,所述丝杆与塔体的结合处设有轴承。Preferably, a bearing is provided at the joint of the screw rod and the tower body.
优选的,所述输水管上设有加热器。Preferably, a heater is provided on the water delivery pipe.
优选的,所述塔体的顶部设有电机控制器,该电机控制器与升降驱动电机电性连接。Preferably, a motor controller is provided on the top of the tower body, and the motor controller is electrically connected with the lift drive motor.
优选的,所述塔体的底部设有排污管,该排污管上设有开关阀。Preferably, the bottom of the tower body is provided with a sewage pipe, and the sewage pipe is provided with an on-off valve.
优选的,所述若干喷嘴沿环形喷淋管的周向均布。Preferably, the plurality of nozzles are uniformly distributed along the circumferential direction of the annular spray pipe.
本实用新型的优点和有益效果在于:一种具有自清洗功能的精馏塔,其结构合理,可有效对精馏塔内部进行清洗,且清洗效果好。使用时,启动水泵运行,由水泵将清洗液存储箱内的清洗液抽入输水管中,清洗液流经软管后到达环形喷淋管,并通过设置在环形喷淋管上的喷嘴喷洒至塔体内壁,以对塔体内部进行清洗;并且,在清洗的过程中,可通过电机控制器控制升降驱动电机运行,由升降驱动电机通过传动皮带驱动丝杆转动,丝杆转动后将带动升降盘沿导向杆作升降运动,从而有利于对塔体内部进行全面清洗;完成清洗后,打开开关阀,由排污管将塔体内部的污水排出。另外,通过在输水管上设置加热器,可由加热器对流经输水管的清洗液进行加热,以满足清洗要求。The advantages and beneficial effects of the utility model are as follows: a rectification tower with self-cleaning function has a reasonable structure, can effectively clean the interior of the rectification tower, and has a good cleaning effect. When in use, start the water pump to run, the water pump will pump the cleaning fluid in the cleaning fluid storage tank into the water delivery pipe, the cleaning fluid will flow through the hose and then reach the annular spray pipe, and spray it to the annular spray pipe through the nozzle set on the annular spray pipe. The inner wall of the tower is used to clean the inside of the tower; and during the cleaning process, the motor controller can control the operation of the lift drive motor, and the lift drive motor drives the screw to rotate through the transmission belt. After the screw rotates, it will drive the lift. The disc moves up and down along the guide rod, which is conducive to the comprehensive cleaning of the inside of the tower body; after the cleaning is completed, the switch valve is opened, and the sewage inside the tower body is discharged by the sewage pipe. In addition, by arranging a heater on the water delivery pipe, the heater can heat the cleaning liquid flowing through the water delivery pipe to meet the cleaning requirements.
附图说明Description of drawings
图1是本实用新型的示意图。Figure 1 is a schematic diagram of the present invention.
图2是本实用新型中升降盘的示意图。FIG. 2 is a schematic diagram of the lifting plate in the present invention.
具体实施方式Detailed ways
下面结合附图和实施例,对本实用新型的具体实施方式作进一步描述。以下实施例仅用于更加清楚地说明本实用新型的技术方案,而不能以此来限制本实用新型的保护范围。The specific embodiments of the present utility model will be further described below with reference to the accompanying drawings and embodiments. The following examples are only used to illustrate the technical solutions of the present invention more clearly, and cannot be used to limit the protection scope of the present invention.
本实用新型具体实施的技术方案是:The technical scheme of the concrete implementation of the present utility model is:
如图1和图2所示,一种具有自清洗功能的精馏塔,包括底架1,以及设置在底架1上的塔体2;还包括清洗装置,该清洗装置包括水平设置在塔体2内部的升降盘3,该升降盘3的上设有环形喷淋管4,该环形喷淋管4沿升降盘3的周向设置,且该环形喷淋管4上连接有若干喷嘴5,所述塔体2的内部设有沿竖直方向贯穿升降盘3的一对导向杆6,该对导向杆6之间设有沿竖直方向贯穿升降盘3的丝杆7,所述升降盘3上设有供丝杆7贯穿、且与丝杆7螺纹连接的螺纹孔8,所述丝杆7的上端贯穿塔体2的顶部并设有第一带轮9,所述塔体2的顶部设有升降驱动电机10,该升降驱动电机10的输出轴上设有第二带轮11,该第二带轮11与第一带轮9之间连接有传动皮带12;所述底架1上设有清洗液存储箱13,该清洗液存储箱13上连接有输水管14,该输水管14的另一端延伸至塔体2的内部,且该输水管14上设有水泵15,所述环形喷淋管4和输水管14之间连接有软管16。As shown in Figures 1 and 2, a rectification tower with self-cleaning function includes a bottom frame 1 and a tower body 2 arranged on the bottom frame 1; it also includes a cleaning device, which includes a The lifting plate 3 inside the body 2, the lifting plate 3 is provided with an annular spray pipe 4, the annular spray pipe 4 is arranged along the circumferential direction of the lifting plate 3, and the annular spray pipe 4 is connected with a number of
上述升降盘3上设有供导向杆6贯穿、且与导向杆6滑动配合的滑孔17。The lift plate 3 is provided with a
上述丝杆7与塔体2的结合处设有轴承。A bearing is provided at the junction of the screw rod 7 and the tower body 2 .
上述输水管14上设有加热器18。A
上述塔体2的顶部设有电机控制器19,该电机控制器19与升降驱动电机10电性连接。The top of the tower body 2 is provided with a
上述塔体2的底部设有排污管20,该排污管20上设有开关阀21。The bottom of the tower body 2 is provided with a
上述若干喷嘴5沿环形喷淋管4的周向均布。The above-mentioned plurality of
本实用新型的优点和有益效果在于:一种具有自清洗功能的精馏塔,其结构合理,可有效对精馏塔内部进行清洗,且清洗效果好。使用时,启动水泵15运行,由水泵15将清洗液存储箱13内的清洗液抽入输水管14中,清洗液流经软管16后到达环形喷淋管4,并通过设置在环形喷淋管4上的喷嘴5喷洒至塔体2内壁,以对塔体2内部进行清洗;并且,在清洗的过程中,可通过电机控制器19控制升降驱动电机10运行,由升降驱动电机10通过传动皮带12驱动丝杆7转动,丝杆7转动后将带动升降盘3沿导向杆6作升降运动,从而有利于对塔体2内部进行全面清洗;完成清洗后,打开开关阀21,由排污管20将塔体2内部的污水排出。另外,通过在输水管14上设置加热器18,可由加热器18对流经输水管14的清洗液进行加热,以满足清洗要求。The advantages and beneficial effects of the utility model are as follows: a rectification tower with self-cleaning function has a reasonable structure, can effectively clean the interior of the rectification tower, and has a good cleaning effect. When in use, the
以上所述仅是本实用新型的优选实施方式,应当指出,对于本技术领域的普通技术人员来说,在不脱离本实用新型技术原理的前提下,还可以做出若干改进和润饰,这些改进和润饰也应视为本实用新型的保护范围。The above are only the preferred embodiments of the present invention. It should be pointed out that for those skilled in the art, without departing from the technical principles of the present invention, several improvements and modifications can be made. These improvements and retouching should also be regarded as the protection scope of the present invention.
Claims (7)
Priority Applications (1)
| Application Number | Priority Date | Filing Date | Title |
|---|---|---|---|
| CN202020165870.5U CN211676378U (en) | 2020-02-13 | 2020-02-13 | Rectifying tower with self-cleaning function |
Applications Claiming Priority (1)
| Application Number | Priority Date | Filing Date | Title |
|---|---|---|---|
| CN202020165870.5U CN211676378U (en) | 2020-02-13 | 2020-02-13 | Rectifying tower with self-cleaning function |
Publications (1)
| Publication Number | Publication Date |
|---|---|
| CN211676378U true CN211676378U (en) | 2020-10-16 |
Family
ID=72776915
Family Applications (1)
| Application Number | Title | Priority Date | Filing Date |
|---|---|---|---|
| CN202020165870.5U Expired - Fee Related CN211676378U (en) | 2020-02-13 | 2020-02-13 | Rectifying tower with self-cleaning function |
Country Status (1)
| Country | Link |
|---|---|
| CN (1) | CN211676378U (en) |
Cited By (2)
| Publication number | Priority date | Publication date | Assignee | Title |
|---|---|---|---|---|
| CN112317441A (en) * | 2020-12-02 | 2021-02-05 | 深圳市无限动力发展有限公司 | Cleaning device and sewage tank |
| CN115608140A (en) * | 2022-11-09 | 2023-01-17 | 西安热工研究院有限公司 | A waste gas tower treatment equipment |
-
2020
- 2020-02-13 CN CN202020165870.5U patent/CN211676378U/en not_active Expired - Fee Related
Cited By (2)
| Publication number | Priority date | Publication date | Assignee | Title |
|---|---|---|---|---|
| CN112317441A (en) * | 2020-12-02 | 2021-02-05 | 深圳市无限动力发展有限公司 | Cleaning device and sewage tank |
| CN115608140A (en) * | 2022-11-09 | 2023-01-17 | 西安热工研究院有限公司 | A waste gas tower treatment equipment |
Similar Documents
| Publication | Publication Date | Title |
|---|---|---|
| CN205732110U (en) | A kind of automatic clearing apparatus for plastic bottle sheet | |
| CN211676378U (en) | Rectifying tower with self-cleaning function | |
| CN205146825U (en) | Tub device | |
| CN207040539U (en) | A kind of breeding layer chicken cage | |
| CN207709431U (en) | A kind of Quenching Medium for Heat Treatment cleaning plant | |
| CN206064939U (en) | A kind of solar energy vacuum tube high-efficiency scale cleaning plant | |
| CN213530054U (en) | Chemical industry storage tank belt cleaning device | |
| CN207877585U (en) | Integrated top-jet-type etching machine | |
| CN206854278U (en) | A kind of plastic round tube cleaner for inner wall | |
| CN211677293U (en) | Desulfurizing material feeder of flue gas dust removal desulfurizing tower | |
| CN218282904U (en) | Roots vacuum pump cleaning device in biodiesel production | |
| CN217141595U (en) | Cleaning device for polysilicon storage tank equipment | |
| CN216537558U (en) | Construction site dust collector for construction | |
| CN211241650U (en) | A fruit cleaning device | |
| CN210752672U (en) | A cleaning device for a pharmaceutical intermediate reactor | |
| CN209753538U (en) | Cleaning machine for cell culture plate | |
| CN222042734U (en) | Sewage discharging device for petrochemical sewage treatment | |
| CN221933579U (en) | A circulating gas desulfurization reactor | |
| CN212669221U (en) | Be used for carborundum powder production to use acid dip pickle | |
| CN220194846U (en) | Water-soluble silicone oil refines device | |
| CN206716566U (en) | A kind of color steel tile alkali cleaning degreasing equipment | |
| CN221715228U (en) | Material tank cleaning device | |
| CN221762277U (en) | Immersible pump cooling protection device | |
| CN219683369U (en) | A cleaning machine for product surface treatment | |
| CN218464834U (en) | Glass cleaning and feeding device for glass production |
Legal Events
| Date | Code | Title | Description |
|---|---|---|---|
| GR01 | Patent grant | ||
| GR01 | Patent grant | ||
| CF01 | Termination of patent right due to non-payment of annual fee |
Granted publication date: 20201016 |
|
| CF01 | Termination of patent right due to non-payment of annual fee |
