CN211547739U - Supporting structure for rope saw static force cutting reinforced concrete inner support - Google Patents
Supporting structure for rope saw static force cutting reinforced concrete inner support Download PDFInfo
- Publication number
- CN211547739U CN211547739U CN201921836992.6U CN201921836992U CN211547739U CN 211547739 U CN211547739 U CN 211547739U CN 201921836992 U CN201921836992 U CN 201921836992U CN 211547739 U CN211547739 U CN 211547739U
- Authority
- CN
- China
- Prior art keywords
- support
- concrete
- groove
- reinforced concrete
- transverse plate
- Prior art date
- Legal status (The legal status is an assumption and is not a legal conclusion. Google has not performed a legal analysis and makes no representation as to the accuracy of the status listed.)
- Active
Links
Images
Landscapes
- Processing Of Stones Or Stones Resemblance Materials (AREA)
- Working Measures On Existing Buildindgs (AREA)
Abstract
本实用新型公开了一种用于绳锯静力切割钢筋混凝土内撑的支撑结构,属于基础建设领域;其技术方案要点是包括设于混凝土结构板上表面的支撑架以及位于支撑架上表面的混凝土支撑;支撑架包括多个横杆和竖杆构成的支架以及位于支架上端的多个横梁,横梁的长度方向和混凝土支撑的宽度方向相同,且多个横梁沿着混凝土支撑的长度方向均匀分布;横梁的上表面还设有能够使切割块相互错位的驱动件。本实用新型解决了混凝土支撑切割成切割块后,相互距离过近,对切割块的吊运造成影响的问题,达到了能够使切割块相互错位,方便对切割块吊运,提高工作效率的效果。
The utility model discloses a support structure for a wire saw to statically cut a reinforced concrete inner support, which belongs to the field of infrastructure construction. Concrete support; the support frame includes a bracket composed of a plurality of transverse rods and vertical rods and a plurality of transverse beams located at the upper end of the bracket, the length direction of the transverse beam and the width direction of the concrete support are the same, and the plurality of transverse beams are evenly distributed along the length direction of the concrete support ; The upper surface of the beam is also provided with a drive member that can dislocate the cutting blocks from each other. The utility model solves the problem that after the concrete supports are cut into cutting blocks, the distance is too close to each other, which affects the lifting and transportation of the cutting blocks, and achieves the effects that the cutting blocks can be dislocated from each other, the lifting and transportation of the cutting blocks are convenient, and the work efficiency is improved. .
Description
技术领域technical field
本实用新型涉及基础建设领域,更具体的说,它涉及一种用于绳锯静力切割钢筋混凝土内撑的支撑结构。The utility model relates to the field of infrastructure construction, in particular to a support structure for a wire saw to statically cut a reinforced concrete inner support.
背景技术Background technique
随着我国城市建设事业的快速发展,深基坑工程越来越多,对于复杂的深基坑工程,钢筋混凝土支撑体系因其具有良好的稳定性、安全性而得到广泛应用。With the rapid development of urban construction in my country, there are more and more deep foundation pit projects. For complex deep foundation pit projects, reinforced concrete support systems are widely used because of their good stability and safety.
现可参考申请公开号为CN109577340A的中国发明专利,其公开了一种基坑支护支撑梁绳锯切割拆除方法,包括步骤:一:用模板支撑体系加固并在其上部浇筑混凝土楼板;二:施工准备;三:确定切割块的大小、重量及每道切割面位置,绘制切割设计排版图并在梁上划切割线;四:将钢马镫放置在支撑梁下,在钢马凳与需切割的支撑梁之间垫方形枕木;五:放好绳锯机,将金刚石绳锯与绳锯机和支撑梁连接好;六:接通电源、冷却水,检查调试绳锯机及安全防护情况,拆撑周边做好安全围护及警示标志;七:开始切割;八:吊运。Reference can now be made to the Chinese invention patent with application publication number CN109577340A, which discloses a wire saw cutting and dismantling method for foundation pit support beams. Construction preparation; 3. Determine the size and weight of the cutting block and the position of each cutting surface, draw the cutting design layout diagram and draw the cutting line on the beam; 4. Place the steel stirrup under the support beam, and place the steel stirrup between the steel horse bench and the need to be cut. Place square sleepers between the supporting beams; 5: put the wire saw machine, and connect the diamond wire saw to the wire saw machine and the supporting beam; 6: connect the power supply, cooling water, check and debug the wire saw machine and safety protection, Make safety enclosures and warning signs around the dismantling bracing; 7: start cutting; 8: hoist.
上述技术存在的缺陷是:切割下来的切割块之间距离比较近,在通过起重机进行吊起的过程中,不方便对切割块进行固定,且在吊起的过程中,切割块也容易发送晃动,切割块容易发生相互碰撞,对切割块的吊运造成影响。The disadvantages of the above technology are: the distance between the cut blocks is relatively close, in the process of lifting by a crane, it is inconvenient to fix the cutting blocks, and in the process of hoisting, the cutting blocks are also easy to send shaking , the cutting blocks are prone to collision with each other, which affects the lifting of the cutting blocks.
实用新型内容Utility model content
针对现有技术存在的不足,本实用新型的目的在于提供一种用于绳锯静力切割钢筋混凝土内撑的支撑结构,其通过能够使切割块相互错位,实现了方便对切割块进行固定,从而方便吊运,使切割块之间不会发生相互干涉,便于对切割块进行吊运,提高工作效率的目的。In view of the deficiencies in the prior art, the purpose of the present invention is to provide a support structure for a wire saw to statically cut a reinforced concrete inner support, which facilitates the fixing of the cutting blocks by dislocating the cutting blocks from each other, Therefore, the hoisting and transportation are convenient, so that the cutting blocks do not interfere with each other, the hoisting and transportation of the cutting blocks is convenient, and the working efficiency is improved.
为实现上述目的,本实用新型提供了如下技术方案:一种用于绳锯静力切割钢筋混凝土内撑的支撑结构,包括设于混凝土结构板上表面的支撑架以及位于支撑架上表面的混凝土支撑;In order to achieve the above purpose, the present utility model provides the following technical solutions: a support structure for statically cutting reinforced concrete inner support with a wire saw, comprising a support frame arranged on the upper surface of a concrete structure slab and a concrete structure positioned on the upper surface of the support frame support;
支撑架包括多个横杆和竖杆构成的支架以及位于支架上端的多个横梁,横梁的长度方向和混凝土支撑的宽度方向相同,且多个横梁沿着混凝土支撑的长度方向均匀分布;The support frame includes a bracket composed of a plurality of transverse bars and vertical bars and a plurality of beams located at the upper end of the bracket, the length direction of the beams is the same as the width direction of the concrete support, and the plurality of beams are evenly distributed along the length direction of the concrete support;
横梁的上表面还设有能够使切割块相互错位的驱动件。The upper surface of the beam is also provided with a driving member that can dislocate the cutting blocks from each other.
通过采用上述技术方案,驱动件能够带动切割下来的切割块发生移动从而能够使相邻的切割块相互错位,从而方便在切割块上固定连接吊钩,且相互错位的切割块如果发生晃动,也不会发生碰撞,从而避免对切割块的吊运造成影响,方便对切割块进行吊运,提高工作的效率。By adopting the above technical solution, the driving member can drive the cut cutting blocks to move, so that the adjacent cutting blocks can be displaced from each other, so as to facilitate the fixing and connection of hooks on the cutting blocks, and if the mutually displaced cutting blocks shake, it will also There will be no collision, so as to avoid the impact on the lifting and transportation of the cutting block, facilitate the lifting and transportation of the cutting block, and improve the work efficiency.
本实用新型进一步设置为:所述横梁的下表面转动连接有螺纹杆,使螺纹杆能够沿着自身的轴线转动,螺纹杆下端插入构成支架的竖杆,且螺纹杆和构成支架的竖杆螺纹连接。The utility model is further configured as follows: the lower surface of the beam is rotatably connected with a threaded rod, so that the threaded rod can rotate along its own axis, the lower end of the threaded rod is inserted into the vertical rod constituting the bracket, and the threaded rod and the vertical rod constituting the bracket are threaded connect.
通过采用上述技术方案,转动螺纹杆,能够使横梁的高度进行调节,进而能够使横梁更好的对混凝土支撑进行支撑。By adopting the above technical solution and rotating the threaded rod, the height of the beam can be adjusted, so that the beam can better support the concrete support.
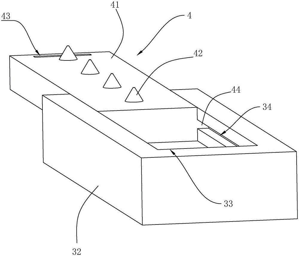
本实用新型进一步设置为:所述横梁的上表面开设有长条形的沟槽,沟槽沿着横梁的长度方向延伸,且将横梁的一端贯通;The utility model is further configured as follows: the upper surface of the beam is provided with a long groove, the groove extends along the length direction of the beam, and one end of the beam is penetrated;
驱动件位于沟槽内,驱动件为一个横板,横板的一端凸出沟槽,且横板能够在沟槽沿其长度方向,横板的上表面和混凝土支撑下表贴合。The driving member is located in the groove, the driving member is a horizontal plate, one end of the horizontal plate protrudes from the groove, and the horizontal plate can be along the length of the groove, and the upper surface of the horizontal plate and the lower surface of the concrete support are attached.
通过采用上述技术方案,横板凸出横梁的上表面,进而使切割块的力施加在横板上,移动横板就能够使横板带动切割块一起运动,使切割块能够相互错位。By adopting the above technical solution, the horizontal plate protrudes from the upper surface of the beam, and the force of the cutting block is exerted on the horizontal plate, and moving the horizontal plate can make the horizontal plate drive the cutting blocks to move together, so that the cutting blocks can be displaced from each other.
本实用新型进一步设置为:所述横板处于内的一端两侧壁上固定连接有限位块,沟槽的两侧壁上开设有可供限位块滑动的限位槽。The utility model is further provided that: the inner end of the horizontal plate is fixedly connected to the two side walls with the limit blocks, and the two side walls of the groove are provided with limit grooves for the limit blocks to slide.
通过采用上述技术方案,限位块和限位槽的配合,能够对横板的运动最大距离进行限位,避免横板运动过位,能够避免横板和沟槽脱离,进而避免横板的运动出现问题。By using the above technical solution, the cooperation of the limit block and the limit groove can limit the maximum distance of the movement of the horizontal plate, avoid the movement of the horizontal plate over-position, and avoid the separation of the horizontal plate and the groove, thereby avoiding the movement of the horizontal plate problem appear.
本实用新型进一步设置为:所述横板的上表面还固定连接有多个圆锥,圆锥在横板的上表面均匀分布。The utility model is further provided that: the upper surface of the horizontal plate is also fixedly connected with a plurality of cones, and the cones are evenly distributed on the upper surface of the horizontal plate.
通过采用上述技术方案,圆锥能够的尖端能够伸进切割块中,进而使切割块能够更好的随着横板运动,横板能够更好的带动切割块进行运动。By adopting the above technical solution, the tip of the cone can extend into the cutting block, so that the cutting block can better move with the horizontal plate, and the horizontal plate can better drive the cutting block to move.
综上所述,本实用新型相比于现有技术具有以下有益效果:To sum up, the present invention has the following beneficial effects compared to the prior art:
1.混凝土支撑切割成切割块后,相邻的切割块能够在驱动件的作用下发生错位,进而方便对切割块进行固定,方便对切割块进行吊起,提高工作的效率;1. After the concrete support is cut into cutting blocks, the adjacent cutting blocks can be dislocated under the action of the driving element, which facilitates the fixing of the cutting blocks, facilitates the lifting of the cutting blocks, and improves the work efficiency;
2.驱动件不同的工作方式,能够使切割块左右错位或上下错位,可以根据实际需要自由选择,更加方便进行切割块的吊起工作。2. The different working modes of the driving parts can dislocate the cutting block from left to right or up and down, which can be freely selected according to actual needs, which is more convenient for the lifting of the cutting block.
附图说明Description of drawings
图1是实施例一结构图;Fig. 1 is the structure diagram of embodiment one;
图2是实施例一中驱动件的结构图;Fig. 2 is the structural diagram of the driver in the first embodiment;
图3是实施例一中切割块错位状态图;Fig. 3 is the dislocation state diagram of cutting block in the first embodiment;
图中:1、混凝土结构板;2、混凝土支撑;3、支撑架;31、支架;32、横梁;33、沟槽;34、限位槽;35、螺纹杆;4、驱动件;41、横板;42、圆锥;43、受力槽;44、限位块。In the figure: 1. Concrete structural slab; 2. Concrete support; 3. Support frame; 31. Bracket; 32. Beam; 33. Groove; 34. Limit groove; 35. Threaded rod; 4. Driving part; 41. Horizontal plate; 42, cone; 43, stress groove; 44, limit block.
具体实施方式Detailed ways
下面结合附图对本实用新型作进一步详细说明。其中相同的零部件用相同的附图标记表示。需要说明的是,下面描述中使用的词语“前”、“后”、“左”、“右”、“上”和“下”指的是附图中的方向,词语“底面”和“顶面”、“内”和“外”分别指的是朝向或远离特定部件几何中心的方向。The present utility model will be described in further detail below in conjunction with the accompanying drawings. Wherein the same parts are denoted by the same reference numerals. It should be noted that the words "front", "rear", "left", "right", "upper" and "lower" used in the following description refer to directions in the drawings, and the words "bottom" and "top" "Face", "inner" and "outer" refer to directions toward or away from the geometric center of a particular part, respectively.
实施例:一种用于绳锯静力切割钢筋混凝土内撑的支撑结构,如图1所示,包括安装在混凝土结构板1和混凝土支撑2之间的支撑架3,支撑架3的下端安装在混凝土结构板1上,支撑架3的上端能够对混凝土支撑2进行支撑,方便通过绳锯对混凝土支撑2进行切割,方便对混凝土临时支撑体系进行拆除,且不会产生大量多大粉尘以及噪声污染,还不会对保留的混凝土结构造成破坏。Example: a support structure for statically cutting reinforced concrete inner support with a wire saw, as shown in Figure 1, comprising a
如图1所示,支撑架3包括多个横杆和竖杆构成的支架31以及位于支架31上端的多个横梁32,横梁32的长度方向和混凝土支撑2的宽度方向相同,横梁32沿着混凝土支撑2的长度方向运动分布,横梁32的上表面和混凝土支撑2的下表面贴合对混凝土支撑2进行支撑,横梁32能够增加支撑架3和混凝土支撑2的接触面积,从而是支撑架3能够更好的对混凝土支撑2进行支撑。As shown in FIG. 1 , the
如图2和图3所示,横梁32的上表面开设有长条形的沟槽33,沟槽33贯通横梁32的一端设置,沟槽33内设有驱动件4,驱动件4包括位于沟槽33内的横板41以及固定连接在横板41上表面的多个圆锥42,圆锥42的尖端朝上,且横板41的上表面和横梁32的上表面相平,横板41能够在沟槽33内沿着沟槽33的长度方向移动;横梁32和混凝土支撑2下表面贴合时,圆锥42的尖端能插入混凝土支撑2内,在通过绳锯对混凝土支撑2切割成切割块后,移动横板41,在圆锥42的作用下,切割块能够随着横板41一起运动,从而使切割后的切割块相互错位,方便将吊索安装在切割块上,且在吊起切割块时,切割块发生晃动,也不会对和其余的切割块发生碰撞,从而不会对切割块的吊起造成影响。As shown in FIG. 2 and FIG. 3 , an
如图1和图2所示,横板41上表面还开设有受力槽43,通过受力槽43能够更加方便的移动横板41;提高工作的效率。As shown in FIG. 1 and FIG. 2 , the upper surface of the
如图2所示,横板41远离受力槽43一端的侧壁上固定连接有限位块44,沟槽33的侧壁上开设有可供限位块44滑动的限位槽34,限位槽34和限位块44的配合,能够避免限位块41和沟槽33脱离,从而使横板41的使用更加方便。As shown in FIG. 2 , a
如图3所示,横梁32的下表面转动连接有螺纹杆35,使螺纹杆35能够沿着自身的轴线转动,螺纹杆35竖直设置,且螺纹杆35的下端插入支架31的竖杆内,螺纹杆35和构成支架31的构成支架的竖杆螺纹连接;故转动螺纹杆35,能够对横梁32进行微调,使横梁32能够更好的贴合在混凝土支撑2的下表面,对混凝土支撑2进行支撑。As shown in FIG. 3 , a threaded rod 35 is rotatably connected to the lower surface of the
以上所述仅是本实用新型的优选实施方式,本实用新型的保护范围并不仅局限于上述实施例,凡属于本实用新型思路下的技术方案均属于本实用新型的保护范围。应当指出,对于本技术领域的普通技术人员来说,在不脱离本实用新型原理前提下的若干改进和润饰,这些改进和润饰也应视为本实用新型的保护范围。The above are only the preferred embodiments of the present invention, and the protection scope of the present invention is not limited to the above-mentioned embodiments, and all technical solutions that belong to the idea of the present invention belong to the protection scope of the present invention. It should be pointed out that for those skilled in the art, some improvements and modifications without departing from the principle of the present invention should also be regarded as the protection scope of the present invention.
Claims (5)
Priority Applications (1)
| Application Number | Priority Date | Filing Date | Title |
|---|---|---|---|
| CN201921836992.6U CN211547739U (en) | 2019-10-29 | 2019-10-29 | Supporting structure for rope saw static force cutting reinforced concrete inner support |
Applications Claiming Priority (1)
| Application Number | Priority Date | Filing Date | Title |
|---|---|---|---|
| CN201921836992.6U CN211547739U (en) | 2019-10-29 | 2019-10-29 | Supporting structure for rope saw static force cutting reinforced concrete inner support |
Publications (1)
| Publication Number | Publication Date |
|---|---|
| CN211547739U true CN211547739U (en) | 2020-09-22 |
Family
ID=72499361
Family Applications (1)
| Application Number | Title | Priority Date | Filing Date |
|---|---|---|---|
| CN201921836992.6U Active CN211547739U (en) | 2019-10-29 | 2019-10-29 | Supporting structure for rope saw static force cutting reinforced concrete inner support |
Country Status (1)
| Country | Link |
|---|---|
| CN (1) | CN211547739U (en) |
Cited By (2)
| Publication number | Priority date | Publication date | Assignee | Title |
|---|---|---|---|---|
| CN113565105A (en) * | 2021-08-03 | 2021-10-29 | 中国十七冶集团有限公司 | Construction method for temporary support in concrete member dismantling operation |
| CN118880911A (en) * | 2024-09-09 | 2024-11-01 | 中国建筑第八工程局有限公司 | A method for rapid removal of concrete support and slab |
-
2019
- 2019-10-29 CN CN201921836992.6U patent/CN211547739U/en active Active
Cited By (2)
| Publication number | Priority date | Publication date | Assignee | Title |
|---|---|---|---|---|
| CN113565105A (en) * | 2021-08-03 | 2021-10-29 | 中国十七冶集团有限公司 | Construction method for temporary support in concrete member dismantling operation |
| CN118880911A (en) * | 2024-09-09 | 2024-11-01 | 中国建筑第八工程局有限公司 | A method for rapid removal of concrete support and slab |
Similar Documents
| Publication | Publication Date | Title |
|---|---|---|
| CN211547739U (en) | Supporting structure for rope saw static force cutting reinforced concrete inner support | |
| CN201459732U (en) | Simple support guide device for pile casing sinking | |
| CN210659228U (en) | Movable single-side formwork system for subway construction | |
| CN205314539U (en) | Large -scale cantilever type combination steel form | |
| CN202441062U (en) | Mobile pouring machine of concrete pouring pipe | |
| CN108342984B (en) | A trestle bridge with weak foundation of tidal flat and its installation and settlement method | |
| CN206625553U (en) | For pouring the formwork bracing system of high-low bay structure simultaneously | |
| CN206439053U (en) | Mould trolley is hanged in the lining cutting of tunnel inverted arch | |
| CN205421890U (en) | Die carrier bearing beam | |
| CN211173071U (en) | Light climbing formwork steel frame system | |
| CN210973541U (en) | Lock connecting structure for dismantling and hoisting temporary concrete support | |
| CN111058609A (en) | Construction and protection integrated portable operation platform and method | |
| CN217761016U (en) | Large-section round tunnel bottom arch concrete lining needle beam slip form trolley | |
| CN212866926U (en) | Movable supporting beam dismounting device | |
| CN215905711U (en) | Vertical lifting device of I-steel | |
| CN214116258U (en) | A high-speed railway prefabricated box girder anti-drop beam stop installation device | |
| CN210561732U (en) | Movable type bent cap support | |
| CN203320922U (en) | Supporting device for forming of elevator shaft template | |
| CN211169608U (en) | Hanging basket prismatic sheet hoisting device | |
| CN211368613U (en) | Gate pier bracket formwork braced system that encorbelments | |
| CN202001022U (en) | Movable lining arch center formwork | |
| CN115162396A (en) | A tower crane foundation for underwater bridge construction | |
| CN209493259U (en) | A detachable installation device suitable for subway DC equipment | |
| CN201206332Y (en) | Rectangular cross-section chimney slipform | |
| CN217974288U (en) | Ship lock chamber wall construction movable formwork with pedestrian passageway |
Legal Events
| Date | Code | Title | Description |
|---|---|---|---|
| GR01 | Patent grant | ||
| GR01 | Patent grant | ||
| PP01 | Preservation of patent right | ||
| PP01 | Preservation of patent right |
Effective date of registration: 20250805 Granted publication date: 20200922 |
