CN211524004U - High movable scaffold frame of stability - Google Patents
High movable scaffold frame of stability Download PDFInfo
- Publication number
- CN211524004U CN211524004U CN201921729784.6U CN201921729784U CN211524004U CN 211524004 U CN211524004 U CN 211524004U CN 201921729784 U CN201921729784 U CN 201921729784U CN 211524004 U CN211524004 U CN 211524004U
- Authority
- CN
- China
- Prior art keywords
- fixedly installed
- load
- bearing rod
- rod
- scaffold
- Prior art date
- Legal status (The legal status is an assumption and is not a legal conclusion. Google has not performed a legal analysis and makes no representation as to the accuracy of the status listed.)
- Expired - Fee Related
Links
Images
Landscapes
- Movable Scaffolding (AREA)
Abstract
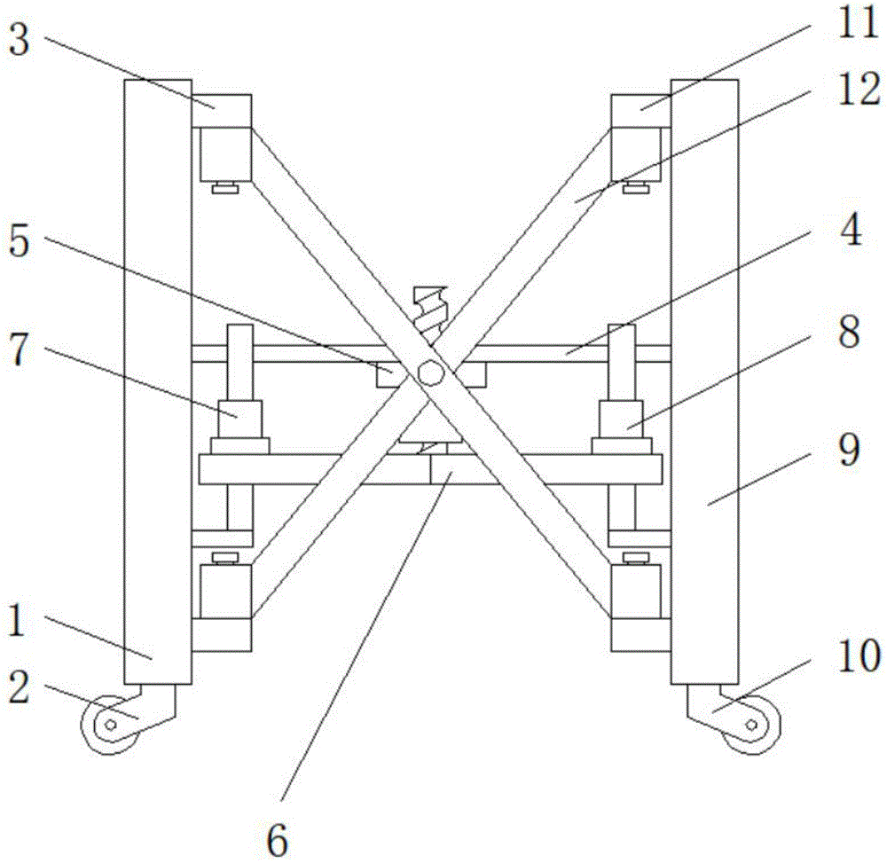
本实用新型涉及建筑器材技术领域,且公开了一种稳定性高的可移动式脚手架,包括第一承重杆,第一承重杆的底端固定安装有第一万向轮,且第一承重杆顶部的一侧设有第一卡口,第一承重杆背侧的中部固定安装有固定架,且固定架底端的中部固定安装有第一调节装置,第一调节装置的底端固定安装有支撑架,且支撑架的一侧固定安装有第二调节装置,支撑架的另一侧固定安装有第三调节装置,固定架的一端固定安装有第二承重杆,且第二承重杆的底端固定安装有第二万向轮。该稳定性高的可移动式脚手架,可将脚手架稳定支撑,提高了脚手架的稳定性,便于脚手架的移动,提高了脚手架的移动平稳性,便于调整脚手架的工作姿态。
The utility model relates to the technical field of construction equipment, and discloses a movable scaffold with high stability, which comprises a first load-bearing rod, the bottom end of the first load-bearing rod is fixedly mounted with a first universal wheel, and the first load-bearing rod One side of the top is provided with a first bayonet, the middle part of the back side of the first bearing rod is fixedly installed with a fixing frame, and the middle part of the bottom end of the fixing frame is fixedly installed with a first adjusting device, and the bottom end of the first adjusting device is fixedly installed with a support A second adjustment device is fixedly installed on one side of the support frame, a third adjustment device is fixedly installed on the other side of the support frame, a second load-bearing rod is fixedly installed at one end of the fixed frame, and the bottom end of the second load-bearing rod is fixedly installed A second universal wheel is fixedly installed. The movable scaffold with high stability can stably support the scaffold, improve the stability of the scaffold, facilitate the movement of the scaffold, improve the movement stability of the scaffold, and facilitate the adjustment of the working posture of the scaffold.
Description
技术领域technical field
本实用新型涉及建筑器材技术领域,具体为一种稳定性高的可移动式脚手架。The utility model relates to the technical field of construction equipment, in particular to a movable scaffold with high stability.
背景技术Background technique
脚手架指施工现场为工人操作并解决垂直和水平运输而搭设的各种支架,建筑界的通用术语,指建筑工地上用在外墙、内部装修或层高较高无法直接施工的地方,主要为了施工人员上下干活或外围安全网维护及高空安装构件等,脚手架制作材料通常有:竹、木、钢管或合成材料等,有些工程也用脚手架当模板使用,此外在广告业、市政、交通路桥和矿山等部门也广泛被使用。Scaffolding refers to the various supports erected on the construction site for workers to operate and solve vertical and horizontal transportation. A general term in the construction industry refers to the use of external walls, interior decoration or high storey heights on construction sites where direct construction cannot be performed, mainly for construction purposes. For personnel working up and down, maintenance of peripheral safety nets, and high-altitude installation components, scaffolding materials usually include: bamboo, wood, steel pipe or synthetic materials, etc. Some projects also use scaffolding as a template. Mines and other sectors are also widely used.
脚手架作为建筑装修常用的一种临时性施工作业支架,它在一些小范围的施工作业发挥着巨大作用,而现有的脚手架多为组合式,虽然提高了脚手架使用的便利性,但安全性也大打折扣,为了提高脚手架的灵活性,现有脚手架多数采用了万向轮,但在作业时万向轮的刹车装置容易脱扣,给施工作业留下了巨大的安全隐患。As a temporary construction work support commonly used in building decoration, scaffolding plays a huge role in some small-scale construction operations, and the existing scaffolds are mostly combined, although the convenience of scaffolding is improved, but the safety is also At a great discount, in order to improve the flexibility of the scaffolding, most of the existing scaffolds use swivel wheels, but the brakes of the swivel wheels are easily tripped during operation, leaving a huge safety hazard for construction operations.
实用新型内容Utility model content
(一)解决的技术问题(1) Technical problems solved
针对现有技术的不足,本实用新型提供了一种稳定性高的可移动式脚手架,具备稳定性高和便于移动等优点,解决了现有脚手架稳定性低和不便于移动的问题。Aiming at the deficiencies of the prior art, the utility model provides a movable scaffold with high stability, which has the advantages of high stability and easy movement, and solves the problems of low stability and inconvenience of movement of the existing scaffold.
(二)技术方案(2) Technical solutions
为实现上述稳定性高和便于移动的目的,本实用新型提供如下技术方案:一种稳定性高的可移动式脚手架,包括第一承重杆,所述第一承重杆的底端固定安装有第一万向轮,且第一承重杆顶部的一侧设有第一卡口,所述第一承重杆背侧的中部固定安装有固定架,且固定架底端的中部固定安装有第一调节装置,所述第一调节装置的底端固定安装有支撑架,且支撑架的一侧固定安装有第二调节装置,所述支撑架的另一侧固定安装有第三调节装置,所述固定架的一端固定安装有第二承重杆,且第二承重杆的底端固定安装有第二万向轮,所述第二承重杆顶部的一侧设有第二卡口,且第二卡口的底部螺纹套装有剪刀撑装置,所述第一承重杆的内部开设有第一滑槽,且第一滑槽的底部活动套装有第一支撑装置,所述第一支撑装置的一侧与第二调节装置的底部固定连接,所述第二承重杆的内部开设有第二滑槽,且第二滑槽的底部活动套装有第二支撑装置,所述第二支撑装置的一侧与第三调节装置的底部固定连接。In order to achieve the above-mentioned purposes of high stability and ease of movement, the present utility model provides the following technical solutions: a movable scaffold with high stability, comprising a first load-bearing rod, and the bottom end of the first load-bearing rod is fixedly installed with a first load-bearing rod. A universal wheel, and a first bayonet is provided on one side of the top of the first bearing rod, a fixing frame is fixedly installed in the middle of the back side of the first bearing rod, and a first adjusting device is fixedly installed in the middle of the bottom end of the fixing frame , a support frame is fixedly installed at the bottom end of the first adjusting device, a second adjusting device is fixedly installed on one side of the support frame, a third adjusting device is fixedly installed on the other side of the support frame, and the fixing frame One end of the second load-bearing rod is fixedly installed with a second load-bearing rod, and the bottom end of the second load-bearing rod is fixedly installed with a second universal wheel, one side of the top of the second load-bearing rod is provided with a second bayonet, and the second bayonet The bottom thread is sleeved with a scissor support device, the inside of the first bearing rod is provided with a first chute, and the bottom of the first chute is movably sleeved with a first support device, one side of the first support device and the second The bottom of the adjustment device is fixedly connected, a second chute is opened inside the second bearing rod, and a second support device is movably sleeved at the bottom of the second chute, and one side of the second support device is connected to the third adjustment device. The bottom of the unit is fixedly attached.
优选的,所述第一调节装置包括第一螺纹杆,且第一螺纹杆固定安装在支撑架顶端的中部,所述第一螺纹杆底部的外侧螺纹套装有第一调节管,且第一调节管顶部的外侧活动套装有第一卡块,所述第一卡块固定安装在固定架底端的中部。Preferably, the first adjusting device includes a first threaded rod, and the first threaded rod is fixedly installed in the middle of the top end of the support frame, the outer side of the bottom of the first threaded rod is threadedly sleeved with a first adjusting pipe, and the first adjusting pipe is The outer side of the top of the pipe is movably sleeved with a first clamping block, and the first clamping block is fixedly installed in the middle of the bottom end of the fixing frame.
优选的,所述第三调节装置包括第二螺纹杆,且第二螺纹杆的中部螺纹套装有第二调节管,所述第二调节管底部的外侧活动套装有第二卡块,且第二卡块固定安装在支撑架顶端的一侧,所述第二螺纹杆的底端固定安装有固定杆。Preferably, the third adjusting device includes a second threaded rod, a second adjusting tube is threadedly sleeved in the middle of the second threaded rod, a second clamping block is movably sleeved on the outer side of the bottom of the second adjusting tube, and the second The clamping block is fixedly installed on one side of the top end of the support frame, and the bottom end of the second threaded rod is fixedly installed with a fixing rod.
优选的,所述剪刀撑装置包括第一稳定杆,且第一稳定杆的中部卡接有卡轴,所述卡轴的前侧卡接有第二稳定杆,且第一稳定杆和第二稳定杆的两端均固定安装有螺纹扣。Preferably, the scissors support device includes a first stabilizer bar, and the middle part of the first stabilizer bar is clamped with a clamping shaft, the front side of the clamping shaft is clamped with a second stabilizer bar, and the first stabilizer bar and the second stabilizer bar are clamped. Both ends of the stabilizer bar are fixedly installed with screw buckles.
优选的,所述第一支撑装置包括活动杆,且活动杆的顶部固定套装有第二稳定块,所述第二稳定块的一侧与第二调节装置的底部固定连接,所述活动杆的顶端固定安装有第一稳定块,且活动杆底部的外侧活动套装有弹簧,所述第一稳定块和第二稳定块均活动套装在第一滑槽的内部。Preferably, the first supporting device includes a movable rod, and a second stabilizing block is fixedly sleeved on the top of the movable rod, one side of the second stabilizing block is fixedly connected with the bottom of the second adjusting device, and the movable rod is The top end is fixedly installed with a first stabilizing block, and the outer side of the bottom of the movable rod is movably sleeved with a spring, and both the first stabilizing block and the second stabilizing block are movably sleeved inside the first chute.
优选的,所述第一卡口和第二卡口均有四个,且四个第一卡口和四个第二卡口分别两两一组等距分布在第一承重杆和第二承重杆背部的一侧。Preferably, there are four of the first bayonet and the second bayonet, and the four first bayonet and the four second bayonet are distributed equally on the first load-bearing rod and the second load-bearing rod, two by two, respectively. side of the back of the rod.
(三)有益效果(3) Beneficial effects
与现有技术相比,本实用新型提供了一种稳定性高的可移动式脚手架,具备以下有益效果:Compared with the prior art, the utility model provides a movable scaffold with high stability, which has the following beneficial effects:
1、该稳定性高的可移动式脚手架,通过调节第一调节装置可控制支撑架带动第二调节装置和第三调节装置控制第一支撑装置和第二支撑装置进行伸缩,可将脚手架稳定支撑,通过四个螺纹扣与分别与前侧的两个第一卡口和两个第二卡口螺纹套接,提高了脚手架的稳定性。1. The movable scaffold with high stability can control the support frame to drive the second adjustment device and the third adjustment device by adjusting the first adjustment device to control the first support device and the second support device to expand and contract, and the scaffold can be stably supported. , and the stability of the scaffold is improved through the four screw buckles and the two first bayonet openings and the two second bayonet openings on the front side respectively.
2、该稳定性高的可移动式脚手架,通过第一承重杆和第二承重杆的底端分别固定安装有两个第一万向轮和两个第二万向轮,使脚手架在移动的同时也可保持相应的稳定性,便于脚手架的移动,提高了脚手架的移动平稳性,便于调整脚手架的工作姿态。2. The movable scaffold with high stability is fixedly installed with two first universal wheels and two second universal wheels through the bottom ends of the first load-bearing rod and the second load-bearing rod respectively, so that the scaffold can move freely. At the same time, the corresponding stability can be maintained, which facilitates the movement of the scaffolding, improves the moving stability of the scaffolding, and facilitates the adjustment of the working posture of the scaffolding.
附图说明Description of drawings
图1为本实用新型主视图;Fig. 1 is the front view of the utility model;
图2为本实用新型主视剖面图;Fig. 2 is the front sectional view of the utility model;
图3为本实用新型俯视图;Fig. 3 is the top view of the utility model;
图4为本实用新型第一调节装置的放大图;4 is an enlarged view of the first adjusting device of the present invention;
图5为本实用新型第三调节装置的放大图;5 is an enlarged view of the third adjusting device of the present invention;
图6为本实用新型剪刀撑装置的放大图;Fig. 6 is an enlarged view of the scissor support device of the present utility model;
图7为本实用新型第一支撑装置的放大图。FIG. 7 is an enlarged view of the first support device of the present invention.
图中:1第一承重杆、2第一万向轮、3第一卡口、4固定架、5第一调节装置、51第一螺纹杆、52第一调节管、53第一卡块、6支撑架、7第二调节装置、8第三调节装置、81第二螺纹杆、82第二调节管、83第二卡块、84固定杆、9第二承重杆、10第二万向轮、11第二卡口、12剪刀撑装置、121第一稳定杆、122卡轴、123第二稳定杆、124螺纹扣、13第一滑槽、14第一支撑装置、141活动杆、142第一稳定块、143第二稳定块、144弹簧、15第二滑槽、16第二支撑装置。In the figure: 1. the first load-bearing rod, 2. the first universal wheel, 3. the first bayonet, 4. the fixing frame, 5. the first adjusting device, 51. the first threaded rod, 52. the first adjusting pipe, 53. the first clamping block, 6 support frame, 7 second adjustment device, 8 third adjustment device, 81 second threaded rod, 82 second adjustment pipe, 83 second block, 84 fixed rod, 9 second load-bearing rod, 10 second universal wheel , 11 second bayonet, 12 scissor support device, 121 first stabilizer bar, 122 card shaft, 123 second stabilizer bar, 124 thread buckle, 13 first chute, 14 first support device, 141 movable rod, 142 first A stabilizing block, 143 a second stabilizing block, 144 a spring, 15 a second chute, 16 a second supporting device.
具体实施方式Detailed ways
下面将结合本实用新型实施例中的附图,对本实用新型实施例中的技术方案进行清楚、完整地描述,显然,所描述的实施例仅仅是本实用新型一部分实施例,而不是全部的实施例。基于本实用新型中的实施例,本领域普通技术人员在没有做出创造性劳动前提下所获得的所有其他实施例,都属于本实用新型保护的范围。The technical solutions in the embodiments of the present utility model will be clearly and completely described below with reference to the accompanying drawings in the embodiments of the present utility model. Obviously, the described embodiments are only a part of the embodiments of the present utility model, rather than all the implementations. example. Based on the embodiments of the present invention, all other embodiments obtained by those of ordinary skill in the art without creative work fall within the protection scope of the present invention.
请参阅图1-7,一种稳定性高的可移动式脚手架,包括第一承重杆1,第一承重杆1的底端固定安装有第一万向轮2,且第一承重杆1顶部的一侧设有第一卡口3,第一卡口3和第二卡口11均有四个,且四个第一卡口3和四个第二卡口11分别两两一组等距分布在第一承重杆1和第二承重杆9背部的一侧,第一承重杆1背侧的中部固定安装有固定架4,且固定架4底端的中部固定安装有第一调节装置5,第一调节装置5包括第一螺纹杆51,且第一螺纹杆51固定安装在支撑架6顶端的中部,第一螺纹杆51底部的外侧螺纹套装有第一调节管52,且第一调节管52顶部的外侧活动套装有第一卡块53,第一卡块53固定安装在固定架4底端的中部,第一调节装置5可调节支撑架6将脚手架整体撑起,提高了脚手架的稳定性,第一调节装置5的底端固定安装有支撑架6,且支撑架6的一侧固定安装有第二调节装置7,支撑架6的另一侧固定安装有第三调节装置8,第三调节装置8包括第二螺纹杆81,且第二螺纹杆81的中部螺纹套装有第二调节管82,第二调节管82底部的外侧活动套装有第二卡块83,且第二卡块83固定安装在支撑架6顶端的一侧,第二螺纹杆81的底端固定安装有固定杆84,第三调节装置8可对第二支撑装置16进行微调,防止脚手架在面对一些不平整的地面时无法稳定支撑,固定架4的一端固定安装有第二承重杆9,且第二承重杆9的底端固定安装有第二万向轮10,第一万向轮2和第二万向轮10使脚手架便于移动,提高了脚手架的灵活性,第二承重杆9顶部的一侧设有第二卡口11,且第二卡口11的底部螺纹套装有剪刀撑装置12,剪刀撑装置12包括第一稳定杆121,且第一稳定杆121的中部卡接有卡轴122,卡轴122的前侧卡接有第二稳定杆123,且第一稳定杆121和第二稳定杆123的两端均固定安装有螺纹扣124,剪刀撑装置12可防止脚手架在施工时发生形变,提高了脚手架的稳定性,第一承重杆1的内部开设有第一滑槽13,且第一滑槽13的底部活动套装有第一支撑装置14,第一支撑装置14包括活动杆141,且活动杆141的顶部固定套装有第二稳定块143,第二稳定块143的一侧与第二调节装置7的底部固定连接,活动杆141的顶端固定安装有第一稳定块142,且活动杆141底部的外侧活动套装有弹簧144,第一稳定块142和第二稳定块143均活动套装在第一滑槽13的内部,第一支撑装置14可通过第一调节装置5进行伸缩,也可通过第二调节装置7进行微调,便于脚手架的支撑,第一支撑装置14的一侧与第二调节装置7的底部固定连接,第二承重杆9的内部开设有第二滑槽15,且第二滑槽15的底部活动套装有第二支撑装置16,第二支撑装置16的一侧与第三调节装置8的底部固定连接。1-7, a high-stability movable scaffolding includes a first load-bearing
工作时,首先将剪刀撑装置12分别与第一卡口3和第二卡口11固定牢固,然后推动脚手架至指定的工作位置,然后旋转第一调节管52,使第一螺纹杆51向下延伸,然后支撑架6通过第二调节装置7和第三调节装置8分别带动第一支撑装置14和第二支撑装置16向下延伸,当第一支撑装置14和第二支撑装置16的底端分别延伸出第一承重杆1和第二承重杆9的底端,并将第一万向轮2和第二万向轮10撑起,使第一万向轮2和第二万向轮10处于悬空状态,然后分别调节第二调节装置7和第三调节装置8,使脚手架保持稳定,即可。When working, firstly fix the
综上所述,该稳定性高的可移动式脚手架,通过调节第一调节装置5可控制支撑架6带动第二调节装置7和第三调节装置8控制第一支撑装置14和第二支撑装置16进行伸缩,可将脚手架稳定支撑,通过四个螺纹扣124与分别与前侧的两个第一卡口3和两个第二卡口11螺纹套接,提高了脚手架的稳定性;通过第一承重杆1和第二承重杆2的底端分别固定安装有两个第一万向轮2和两个第二万向轮10,使脚手架在移动的同时也可保持相应的稳定性,便于脚手架的移动,提高了脚手架的移动平稳性,便于调整脚手架的工作姿态;解决了现有脚手架稳定性低和不便于移动的问题。To sum up, the movable scaffold with high stability can control the
需要说明的是,在本文中,诸如第一和第二等之类的关系术语仅仅用来将一个实体或者操作与另一个实体或操作区分开来,而不一定要求或者暗示这些实体或操作之间存在任何这种实际的关系或者顺序。而且,术语“包括”、“包含”或者其任何其他变体意在涵盖非排他性的包含,从而使得包括一系列要素的过程、方法、物品或者设备不仅包括那些要素,而且还包括没有明确列出的其他要素,或者是还包括为这种过程、方法、物品或者设备所固有的要素。It should be noted that, in this document, relational terms such as first and second are used only to distinguish one entity or operation from another entity or operation, and do not necessarily require or imply any relationship between these entities or operations. any such actual relationship or sequence exists. Moreover, the terms "comprising", "comprising" or any other variation thereof are intended to encompass a non-exclusive inclusion such that a process, method, article or device that includes a list of elements includes not only those elements, but also includes not explicitly listed or other elements inherent to such a process, method, article or apparatus.
尽管已经示出和描述了本实用新型的实施例,对于本领域的普通技术人员而言,可以理解在不脱离本实用新型的原理和精神的情况下可以对这些实施例进行多种变化、修改、替换和变型,本实用新型的范围由所附权利要求及其等同物限定。Although the embodiments of the present invention have been shown and described, it will be understood by those skilled in the art that various changes and modifications can be made to these embodiments without departing from the principles and spirit of the present invention , alternatives and modifications, the scope of the present invention is defined by the appended claims and their equivalents.
Claims (6)
Priority Applications (1)
| Application Number | Priority Date | Filing Date | Title |
|---|---|---|---|
| CN201921729784.6U CN211524004U (en) | 2019-10-16 | 2019-10-16 | High movable scaffold frame of stability |
Applications Claiming Priority (1)
| Application Number | Priority Date | Filing Date | Title |
|---|---|---|---|
| CN201921729784.6U CN211524004U (en) | 2019-10-16 | 2019-10-16 | High movable scaffold frame of stability |
Publications (1)
| Publication Number | Publication Date |
|---|---|
| CN211524004U true CN211524004U (en) | 2020-09-18 |
Family
ID=72442172
Family Applications (1)
| Application Number | Title | Priority Date | Filing Date |
|---|---|---|---|
| CN201921729784.6U Expired - Fee Related CN211524004U (en) | 2019-10-16 | 2019-10-16 | High movable scaffold frame of stability |
Country Status (1)
| Country | Link |
|---|---|
| CN (1) | CN211524004U (en) |
Cited By (1)
| Publication number | Priority date | Publication date | Assignee | Title |
|---|---|---|---|---|
| CN115324320A (en) * | 2022-08-24 | 2022-11-11 | 中国建筑第四工程局有限公司 | Portable scaffold frame convenient to use under complicated scene |
-
2019
- 2019-10-16 CN CN201921729784.6U patent/CN211524004U/en not_active Expired - Fee Related
Cited By (1)
| Publication number | Priority date | Publication date | Assignee | Title |
|---|---|---|---|---|
| CN115324320A (en) * | 2022-08-24 | 2022-11-11 | 中国建筑第四工程局有限公司 | Portable scaffold frame convenient to use under complicated scene |
Similar Documents
| Publication | Publication Date | Title |
|---|---|---|
| CN204826589U (en) | Folding suspension type operation platform | |
| CN204455829U (en) | Bridge-collision-avoidance wall construction equipment | |
| CN211524004U (en) | High movable scaffold frame of stability | |
| CN204715715U (en) | Folding movable scaffold | |
| CN205590174U (en) | Handling support frame for building | |
| CN204826593U (en) | A portable supplementary operation platform for steel construction support body | |
| CN204645580U (en) | A kind of building suspension bracket | |
| CN204877244U (en) | Long ladder of suspension type | |
| CN104016226A (en) | Roller ring transportation tool | |
| CN104018655B (en) | A kind of assembly type monomer bracing frame | |
| CN205259554U (en) | A mount for installation of light steel joist gypsum -lath furred ceiling | |
| CN204343646U (en) | The split type suspension holdfast of highrise building outdoor work hanging basket | |
| CN205637531U (en) | Multi -functional usage scaffold frame of indoor decoration | |
| CN204609259U (en) | A kind of traveling stage | |
| CN204475813U (en) | A kind of building operations height adjustable scaffold | |
| CN219952616U (en) | Scaffold capable of adjusting height at top | |
| CN216196459U (en) | Scaffold frame that engineering construction operation was used is built in room | |
| CN204662921U (en) | A kind of multi-use architecture suspension bracket | |
| CN216380487U (en) | Telescopic scaffold suitable for indoor use | |
| CN205259558U (en) | Novel scaffold for fitment | |
| CN206110639U (en) | Ladder is with adjustable triangle scaffold frame | |
| CN205907996U (en) | But folding mobile formula scaffold frame | |
| CN216516759U (en) | A kind of steel structure stable support frame based on engineering construction | |
| CN204645579U (en) | A kind of suspension bracket building use | |
| CN217079592U (en) | Beam frame for building construction |
Legal Events
| Date | Code | Title | Description |
|---|---|---|---|
| GR01 | Patent grant | ||
| GR01 | Patent grant | ||
| CF01 | Termination of patent right due to non-payment of annual fee |
Granted publication date: 20200918 |
