CN211419791U - Preliminary treatment device for sewage recovery - Google Patents
Preliminary treatment device for sewage recovery Download PDFInfo
- Publication number
- CN211419791U CN211419791U CN201922498422.7U CN201922498422U CN211419791U CN 211419791 U CN211419791 U CN 211419791U CN 201922498422 U CN201922498422 U CN 201922498422U CN 211419791 U CN211419791 U CN 211419791U
- Authority
- CN
- China
- Prior art keywords
- filter screen
- pipe
- baffle
- sewage
- blow
- Prior art date
- Legal status (The legal status is an assumption and is not a legal conclusion. Google has not performed a legal analysis and makes no representation as to the accuracy of the status listed.)
- Expired - Fee Related
Links
- 239000010865 sewage Substances 0.000 title claims abstract description 80
- 238000011282 treatment Methods 0.000 title claims abstract description 10
- 238000011084 recovery Methods 0.000 title claims description 23
- XLYOFNOQVPJJNP-UHFFFAOYSA-N water Substances O XLYOFNOQVPJJNP-UHFFFAOYSA-N 0.000 claims abstract description 67
- 238000004140 cleaning Methods 0.000 claims description 58
- 230000005540 biological transmission Effects 0.000 claims description 10
- 239000000463 material Substances 0.000 claims description 4
- 238000011221 initial treatment Methods 0.000 claims 7
- 238000007790 scraping Methods 0.000 claims 3
- 238000005086 pumping Methods 0.000 claims 2
- 238000005192 partition Methods 0.000 abstract description 37
- 230000000694 effects Effects 0.000 abstract description 7
- 238000004064 recycling Methods 0.000 abstract description 6
- 239000012535 impurity Substances 0.000 description 43
- 238000001914 filtration Methods 0.000 description 24
- 239000002245 particle Substances 0.000 description 6
- 239000011148 porous material Substances 0.000 description 5
- 238000000034 method Methods 0.000 description 3
- 230000000903 blocking effect Effects 0.000 description 2
- 238000000605 extraction Methods 0.000 description 2
- 238000009825 accumulation Methods 0.000 description 1
- 230000009286 beneficial effect Effects 0.000 description 1
- 230000007547 defect Effects 0.000 description 1
- 230000007812 deficiency Effects 0.000 description 1
- 238000005516 engineering process Methods 0.000 description 1
- 238000011049 filling Methods 0.000 description 1
- 238000011010 flushing procedure Methods 0.000 description 1
- 230000005484 gravity Effects 0.000 description 1
- 230000007774 longterm Effects 0.000 description 1
- 238000000746 purification Methods 0.000 description 1
- 238000006748 scratching Methods 0.000 description 1
- 230000002393 scratching effect Effects 0.000 description 1
- 239000000126 substance Substances 0.000 description 1
- 239000002699 waste material Substances 0.000 description 1
- 239000002351 wastewater Substances 0.000 description 1
- 238000003911 water pollution Methods 0.000 description 1
Images
Landscapes
- Sewage (AREA)
- Filtration Of Liquid (AREA)
Abstract
本实用新型涉及一种污水回收的初步处理装置,其包括筒体,在筒体内沿高度方向分别设有第一隔板和第二隔板,第一隔板在第二隔板上方,在第一隔板和第二隔板上均开设有漏水口,第一隔板的漏水口中铺设有第一滤网,第一滤网成向上凸起的球面状,第二隔板的漏水口中设有第二滤网,第二滤网朝向第一滤网方向成圆锥体设置,第二滤网的孔径小于第一滤网,在筒体的顶部设有进水口,筒体的底部成漏斗状设置,且在筒体底部漏斗状的尖端设有出水口。本实用新型具有能防止滤网阻塞的效果。
The utility model relates to a preliminary treatment device for sewage recycling, which comprises a cylinder body, and a first partition plate and a second partition plate are respectively arranged in the cylinder body along the height direction. The first partition plate and the second partition plate are provided with water leakage openings. The water leakage opening of the first partition plate is provided with a first filter screen. The first filter screen is in the shape of an upwardly convex spherical surface. The second filter screen, the second filter screen is arranged in a cone towards the direction of the first filter screen, the aperture of the second filter screen is smaller than that of the first filter screen, the top of the cylinder is provided with a water inlet, and the bottom of the cylinder is arranged in a funnel shape , and a water outlet is provided at the funnel-shaped tip at the bottom of the cylinder. The utility model has the effect of preventing the filter screen from being blocked.
Description
技术领域technical field
本实用新型涉及污水处理技术的技术领域,尤其是涉及一种污水回收的初步处理装置。The utility model relates to the technical field of sewage treatment technology, in particular to a preliminary treatment device for sewage recycling.
背景技术Background technique
目前随着城市的发展,水资源的污染也逐渐严重,水污染是指由有害化学物质造成水的使用价值降低或丧失,造成水资源的严重浪费。因此,对污水进行回收再利用,是一件十分必要的工作,而在进行污水的净水工作之前,需要对其进行初步的处理,用于过滤污水中的大体积杂质。At present, with the development of cities, the pollution of water resources is gradually serious. Water pollution refers to the reduction or loss of the use value of water caused by harmful chemical substances, resulting in a serious waste of water resources. Therefore, it is a very necessary work to recycle and reuse sewage, and before the purification of sewage, it needs to be preliminarily treated to filter large-volume impurities in sewage.
现有的污水初步处理都是利用过滤装置,将污水通入过滤装置中,利用过滤器中的滤网对污水进行过滤,以达到初步除去杂质的目的。In the existing preliminary treatment of sewage, a filter device is used to pass the sewage into the filter device, and the filter screen in the filter is used to filter the sewage, so as to achieve the purpose of preliminary removal of impurities.
上述中的现有技术方案存在以下缺陷:在长时间过滤后,杂质容易堆积在滤网上,造成滤网的阻塞,降低过滤效率。The above-mentioned prior art solutions have the following defects: after long-term filtration, impurities are easily accumulated on the filter screen, causing blockage of the filter screen and reducing the filtering efficiency.
实用新型内容Utility model content
针对现有技术存在的不足,本实用新型的目的之一是提供一种污水回收的初步处理装置,具有能防止滤网阻塞的效果。Aiming at the deficiencies of the prior art, one of the purposes of the present invention is to provide a preliminary treatment device for sewage recycling, which has the effect of preventing the clogging of the filter screen.
本实用新型的上述目的是通过以下技术方案得以实现的:The above-mentioned purpose of the present utility model is achieved through the following technical solutions:
一种污水回收的初步处理装置,包括筒体,在筒体内沿高度方向分别设有第一隔板和第二隔板,第一隔板在第二隔板上方,在第一隔板和第二隔板上均开设有漏水口,第一隔板的漏水口中铺设有第一滤网,第一滤网成向上凸起的球面状,第二隔板的漏水口中设有第二滤网,第二滤网朝向第一滤网方向成圆锥体设置,第二滤网的孔径小于第一滤网,在筒体的顶部设有进水口,筒体的底部成漏斗状设置,且在筒体底部漏斗状的尖端设有出水口。A preliminary treatment device for sewage recycling, comprising a cylinder body, a first partition plate and a second partition plate are respectively arranged in the cylinder body along the height direction, the first partition plate is above the second partition plate, and the first partition plate and the second There are water leakage openings on the two partitions. A first filter screen is laid in the water leakage opening of the first partition plate. The first filter screen is in the shape of an upwardly convex spherical surface, and a second filter screen is arranged in the water leakage opening of the second partition plate. The second filter screen is arranged in the shape of a cone toward the direction of the first filter screen. The aperture of the second filter screen is smaller than that of the first filter screen. The top of the cylinder is provided with a water inlet, and the bottom of the cylinder is arranged in a funnel shape. The bottom funnel-shaped tip is provided with a water outlet.
通过采用上述技术方案,将污水从进水口送入筒体内部,污水从上而下流通,依次经过第一滤网和第二滤网,在孔径较大的第一滤网处,滤去较大的杂质,在孔径较小的第二滤网处滤去细小的颗粒杂质,最后从出水口排出。By adopting the above technical solution, the sewage is sent into the cylinder from the water inlet, and the sewage flows from top to bottom, passing through the first filter screen and the second filter screen in turn, and at the first filter screen with a larger pore size, the larger pore size is filtered out. Large impurities are filtered out at the second filter screen with smaller pore size, and finally discharged from the water outlet.
在经过第一滤网时,由于第一滤网成向上突起的球面,因此当大块杂质被阻挡在第一滤网上时,杂质的表面难以与成弧面的第一滤网表面完全贴合,从而减少杂质在第一滤网上的受力面积,降低在水压的作用下杂质对网面的抓取能力,使其在水流的带动下能沿着弧面下滑,使杂质不易吸附于第一滤网表面而造成阻塞,并且球面具有更大的过滤面积,在相同漏水口的条件下,能具有更好的过滤效率。When passing through the first filter screen, since the first filter screen has an upwardly protruding spherical surface, when large impurities are blocked on the first filter screen, it is difficult for the surface of the impurities to completely fit with the curved surface of the first filter screen. , thereby reducing the force area of impurities on the first filter screen, reducing the ability of impurities to grasp the screen surface under the action of water pressure, so that it can slide along the arc surface under the drive of water flow, so that impurities are not easily adsorbed on the first screen. A filter screen surface causes blockage, and the spherical surface has a larger filtering area, which can have better filtering efficiency under the condition of the same water leak.
在经过第二滤网时,由于较大的杂质已经在第一滤网处被滤去,所以滤留在第二滤网上的杂质的为小颗粒杂质,小颗粒杂质相比于大颗粒杂质表面更加光滑,其不易卡设于网眼上。因此第二滤网成圆锥体设置,其侧壁为向下倾斜的斜面,在水流的带动下,就能带动杂质沿斜面向下运动,防止杂质在滤网上堆积,阻塞第二滤网。When passing through the second filter screen, since the larger impurities have been filtered out at the first filter screen, the impurities left on the second filter screen are small particles of impurities. More smooth, it is not easy to be stuck on the mesh. Therefore, the second filter screen is arranged in a cone shape, and its side wall is a downward inclined slope. Driven by the water flow, impurities can be driven to move down the slope, preventing impurities from accumulating on the filter screen and blocking the second filter screen.
本实用新型在一较佳示例中可以进一步配置为:在第一滤网上抵接设有刮板,刮板贴合第一滤网的表面,在刮板上固定有传动杆,传动杆沿竖直方向甚至且其长度方向穿过第一滤网的球心,在筒体的顶部固定有用于驱动传动杆转动的电机。In a preferred example, the utility model can be further configured as follows: a scraper is abutted on the first filter screen, the scraper is attached to the surface of the first filter screen, a transmission rod is fixed on the scraper, and the transmission rod runs along the vertical direction. The straight direction even and its length direction pass through the spherical center of the first filter screen, and a motor for driving the transmission rod to rotate is fixed on the top of the cylinder.
通过采用上述技术方案,电机可带动转动杆转动,从而使刮板沿第一滤网球形的表面转动,在转动的过程中,刮板就可将残留在第一滤网表面上的杂质刮下,防止附着能力较强的杂质在第一滤网表面堆积,造成阻塞。By adopting the above technical solution, the motor can drive the rotating rod to rotate, so that the scraper rotates along the spherical surface of the first filter screen. During the rotation process, the scraper can scrape off the impurities remaining on the surface of the first filter screen. , to prevent impurities with strong adhesion ability from accumulating on the surface of the first filter screen, causing blockage.
本实用新型在一较佳示例中可以进一步配置为:在刮板朝向第一滤网的一侧设有柔性材料制成的刮片,刮片抵紧第一滤网表面。In a preferred example of the present invention, a scraper made of a flexible material is provided on the side of the scraper facing the first filter screen, and the scraper is pressed against the surface of the first filter screen.
通过采用上述技术方案,柔性材料制成的刮片可在不刮损第一滤网的前提下尽可能地抵紧第一滤网表面,从而尽可能地减小刮片和第一滤网表面之间的间隙,提高刮片在转动过程中对杂质的清理效果。By adopting the above technical solution, the scraper made of the flexible material can be pressed against the surface of the first filter screen as much as possible without scratching the first filter screen, thereby reducing the surface of the scraper blade and the first filter screen as much as possible The gap between them improves the cleaning effect of the scraper on impurities during the rotation process.
本实用新型在一较佳示例中可以进一步配置为:在出水口远离筒体的一侧连有抽水管,抽水管上连有排污泵。In a preferred example, the present invention can be further configured as follows: a suction pipe is connected to the side of the water outlet away from the cylinder body, and a sewage pump is connected to the suction pipe.
通过采用上述技术方案,在过滤过程中,启动排污泵,在排污泵的抽取下,筒体内形成负压,相比在重力作用下污水的自然过滤,在负压作用下能使污水更快地从第一滤网以及第二滤网处通过,加快了过滤速度,提高了过滤的效率。By adopting the above technical solution, during the filtration process, the sewage pump is activated, and under the extraction of the sewage pump, a negative pressure is formed in the cylinder. Compared with the natural filtration of sewage under the action of gravity, the sewage can be made faster under the action of negative pressure. Passing through the first filter screen and the second filter screen speeds up the filtering speed and improves the filtering efficiency.
本实用新型在一较佳示例中可以进一步配置为:在筒体的侧壁上沿高度方向分别穿设有第一清理管、第一排污管、第二清理管和第二排污管,第一清理管和第一排污管位于第一隔板的上方,第二清理管和第二排污管位于第一隔板和第二隔板之间,第一排污管贴近第一隔板,第二排污管贴近第二隔板,在第一清理管、第一排污管、第二清理管和第二排污管上均设有阀门。In a preferred example of the present invention, it can be further configured as follows: a first cleaning pipe, a first sewage pipe, a second cleaning pipe and a second sewage pipe are respectively pierced on the side wall of the cylinder along the height direction, the first The cleaning pipe and the first sewage pipe are located above the first partition, the second cleaning pipe and the second sewage pipe are located between the first partition and the second partition, the first sewage pipe is close to the first partition, and the second sewage The pipe is close to the second partition plate, and valves are provided on the first cleaning pipe, the first sewage pipe, the second cleaning pipe and the second sewage pipe.
通过采用上述技术方案,在长时间进行过滤后,杂质会堆积在第一隔板和第二隔板上,降低过滤效率,此时就可停止污水的过滤,对筒体内部进行清洗。打开各管道的阀门,分别通过第一清理管和第二清理管,往筒体内通入清水,在水流的冲击下,使第一隔板和第二隔板上的杂质得到冲洗,并使其从第一排污管和第二排污管中排出。By adopting the above technical solution, after a long time of filtration, impurities will accumulate on the first and second partitions, reducing the filtration efficiency. At this time, the filtration of sewage can be stopped and the interior of the cylinder can be cleaned. Open the valves of each pipeline, pass the first cleaning pipe and the second cleaning pipe respectively, and pass clean water into the cylinder. Discharge from the first sewage pipe and the second sewage pipe.
本实用新型在一较佳示例中可以进一步配置为:在第一清理管和第二清理管上均连通有环形的布水器,布水器上沿周向均匀设有布水口。In a preferred example of the present invention, an annular water distributor is connected to both the first cleaning pipe and the second cleaning pipe, and the water distributor is evenly provided with water distribution ports along the circumferential direction.
通过采用上述技术方案,在进行清洗时,水流从第一清理管和第二清理管中流入后,在环形的布水器的作用下,能更加均匀地喷射到第一隔板和第二隔板上,从而对其进行全方位的清洗,提高清洗的效果。By adopting the above technical solution, during cleaning, after the water flows into the first cleaning pipe and the second cleaning pipe, under the action of the annular water distributor, it can be sprayed more evenly to the first partition and the second partition The board can be cleaned in an all-round way to improve the cleaning effect.
本实用新型在一较佳示例中可以进一步配置为:在筒体外设有连接管,连接管连通第一排污管和第二排污管,在连接管的下方连通有集污室,在集污室内设有第三滤网,在集污室侧壁上开设有用于清理第三滤网的清理口,在清理口上盖设有清理门,在筒体上连通有回收管,回收管和连接管位于第三滤网的两侧,回收管远离集污室的一端连通出水口,在回收管上设有阀门。In a preferred example, the utility model can be further configured as follows: a connecting pipe is arranged outside the cylinder, the connecting pipe is connected with the first sewage pipe and the second sewage pipe, a sewage collecting chamber is connected under the connecting pipe, and the sewage collecting chamber is connected with the connecting pipe. A third filter screen is provided, a cleaning port for cleaning the third filter screen is opened on the side wall of the sewage collection chamber, a cleaning door is provided on the upper cover of the cleaning port, and a recovery pipe is connected to the cylinder body, and the recovery pipe and the connecting pipe are located at the On both sides of the third filter screen, one end of the recovery pipe away from the sewage collection chamber is connected to the water outlet, and a valve is provided on the recovery pipe.
通过采用上述技术方案,在对第一隔板和第二隔板进行清洗后,排出的带有杂质的水就会通过连接管进入到集污室中,并在第三滤网的过滤下除去杂质,而过滤后的水再通过回收管送至出水口处,同之前进行过滤的污水一起进行回收,提高水资源的利用率,更加绿色环保。而通过清理门,就可对第三滤网上的杂质进行清理,以保证下次清洗时第三滤网的过滤效果。By adopting the above technical solution, after the first and second partitions are cleaned, the discharged water with impurities will enter the sewage collection chamber through the connecting pipe, and be removed under the filtration of the third filter screen. The filtered water is sent to the water outlet through the recycling pipe, and recycled together with the previously filtered sewage, which improves the utilization rate of water resources and is more environmentally friendly. By cleaning the door, the impurities on the third filter screen can be cleaned, so as to ensure the filtering effect of the third filter screen in the next cleaning.
本实用新型在一较佳示例中可以进一步配置为:第三滤网为朝向清理口的向下倾斜设置。In a preferred example of the present invention, the third filter screen can be further configured as follows: the third filter screen is inclined downward toward the cleaning port.
通过采用上述技术方案,使第三滤网上的杂质易堆积于清理口的一侧,从而使清理时更加方便,并且可减少清理后杂质在第三滤网上的残留。By adopting the above technical solution, the impurities on the third filter screen are easy to accumulate on one side of the cleaning port, thereby making cleaning more convenient and reducing the residue of impurities on the third filter screen after cleaning.
综上所述,本实用新型包括以下至少一种有益技术效果:To sum up, the present utility model includes at least one of the following beneficial technical effects:
1.在过滤过程中,滤网不易阻塞;1. During the filtration process, the filter screen is not easy to block;
2.设有排污泵,过滤效率高;2. Equipped with sewage pump, high filtration efficiency;
3.能方便对筒体内部进行清洗;3. It is convenient to clean the inside of the cylinder;
4.清洗后的水可回收,更加绿色环保。4. The water after cleaning can be recycled, which is more green and environmentally friendly.
附图说明Description of drawings
图1为实施例的结构示意图;Fig. 1 is the structural representation of embodiment;
图2为实施例的局部剖视图;2 is a partial cross-sectional view of the embodiment;
图3为集污室的局部剖视图。FIG. 3 is a partial cross-sectional view of the dirt collection chamber.
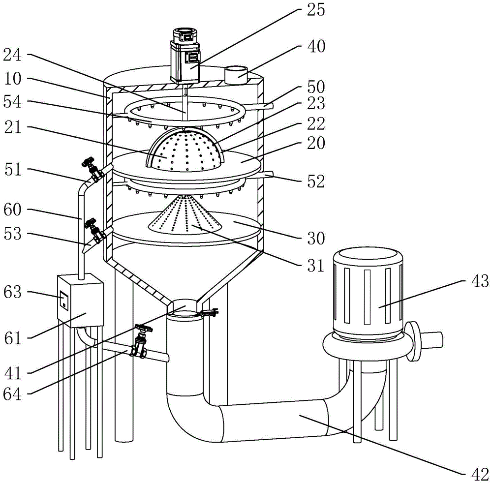
图中,10、筒体;20、第一隔板;21、第一滤网;22、刮板;23、刮片;24、传动杆;25、电机;30、第二隔板;31、第二滤网;40、进水口;41、出水口;42、抽水管;43、排污泵;50、第一清理管;51、第一排污管;52、第二清理管;53、第二排污管;54、布水器;60、连接管;61、集污室;62、第三滤网;63、清理门;64、回收管。In the figure, 10, cylinder body; 20, first separator; 21, first filter screen; 22, scraper; 23, scraper; 24, transmission rod; 25, motor; 30, second separator; 31, The second filter screen; 40, the water inlet; 41, the water outlet; 42, the suction pipe; 43, the sewage pump; 50, the first cleaning pipe; 51, the first sewage pipe; 52, the second cleaning pipe; 53, the second Sewage pipe; 54, water distributor; 60, connecting pipe; 61, sewage collection chamber; 62, third filter screen; 63, cleaning door; 64, recovery pipe.
具体实施方式Detailed ways
以下结合附图对本实用新型作进一步详细说明。The present utility model will be described in further detail below in conjunction with the accompanying drawings.
参照图1和图2,为本实用新型公开的一种污水回收的初步处理装置,包括筒体10,在筒体10下方设有支脚。在筒体10内沿高度方向分别设有第一隔板20和第二隔板30,第一隔板20在第二隔板30上方。在第一隔板20和第二隔板30上均开设有漏水口,第一隔板20的漏水口中铺设有第一滤网21,第二隔板30的漏水口中设有第二滤网31,在筒体10的顶部设有进水口40,筒体10的底部成漏斗状设置,且在筒体10底部漏斗状的尖端设有出水口41。将污水从进水口40送入筒体10内部,依次经过第一滤网21和第二滤网31的过滤后,完成初步的处理,然后从出水口41排出。Referring to FIG. 1 and FIG. 2 , it is a preliminary treatment device for sewage recycling disclosed by the utility model, comprising a
参照图2,第一滤网21成向上凸起的球面状,第二滤网31朝向第一滤网21方向成圆锥体设置,第二滤网31的孔径小于第一滤网21。在第一滤网21上抵接设有刮板22,刮板22贴合第一滤网21的表面,在刮板22上固定有传动杆24,传动杆24沿竖直方向甚至且其长度方向穿过第一滤网21的球心,在筒体10的顶部固定有用于驱动传动杆24转动的电机25。在刮板22朝向第一滤网21的一侧设有柔性材料制成的刮片23,刮片23抵紧第一滤网21表面。孔径较大的第一滤网21用于滤去大颗粒的杂质,然后孔径较小的第二滤网31滤去小颗粒的杂质,而第一滤网21和第二滤网31分别成球形和锥形设置,能防止杂质在滤网上的堆积。在电机25的带动下刮片23则能刮去第一滤网21上顽固残留的杂质。Referring to FIG. 2 , the
参照图2,在出水口41远离筒体10的一侧连有抽水管42,抽水管42上连有排污泵43。在过滤过程中,启动排污泵43,在排污泵43的抽取下,筒体10内形成负压,在负压作用下能使污水更快地从第一滤网21以及第二滤网31处通过,加快了过滤速度。Referring to FIG. 2 , a
参照图2,在筒体10的侧壁上沿高度方向分别穿设有第一清理管50、第一排污管51、第二清理管52和第二排污管53,第一清理管50和第一排污管51位于第一隔板20的上方,第二清理管52和第二排污管53位于第一隔板20和第二隔板30之间,第一排污管51贴近第一隔板20,第二排污管53贴近第二隔板30,在第一清理管50、第一排污管51、第二清理管52和第二排污管53上均设有阀门。通过往第一清理管50和第二清理管52中灌输清水,能对筒体10内部进行清洗,并且清洗后的水可通过第一排污管51和第二排污管53排出。Referring to FIG. 2 , a
参照图2,在第一清理管50和第二清理管52上均连通有环形的布水器54,布水器54上沿周向均匀设有布水口。布水器54可使从第一清理管50和第二清理管52中送入的水更加均匀地对筒体10内部进行冲洗,减少冲洗时的死角。Referring to FIG. 2 , an
参照图2和图3,在筒体10外设有连接管60,连接管60连通第一排污管51和第二排污管53,在连接管60的下方连通有集污室61,在集污室61内设有第三滤网62,在集污室61侧壁上开设有用于清理第三滤网62的清理口,在清理口上盖设有清理门63,第三滤网62为朝向清理口的向下倾斜设置。在筒体10上连通有回收管64,回收管64和连接管60位于第三滤网62的两侧,回收管64远离集污室61的一端连通出水口41,在回收管64上设有阀门。从第一排污管51和第二排污管53中排出的清洗废水,可通过第三滤网62进行过滤,且在过滤后可通过回收管64进行回收,而打开清理门63则能对第三滤网62进行清理。2 and 3, a connecting
本实施例的实施原理为:The implementation principle of this embodiment is:
1. 经过第一滤网21进行过滤时,由于第一滤网21成向上突起的球面,因此当大块杂质被阻挡在第一滤网21上时,杂质的表面难以与成弧面的第一滤网21表面完全贴合,从而减少杂质在第一滤网21上的受力面积,降低在水压的作用下杂质对网面的抓取能力,使其在水流的带动下能沿着弧面下滑,使杂质不易吸附于第一滤网21表面而造成阻塞,并且球面具有更大的过滤面积,在相同漏水口的条件下,能具有更好的过滤效率。并且电机25可带动转动杆转动,从而使刮板22沿第一滤网21球形的表面转动,在转动的过程中,刮板22就可将残留在第一滤网21表面上的杂质刮下,进一步防止附着能力较强的杂质在第一滤网21表面堆积。1. When filtering through the
2.在经过第二滤网31进行过滤时,由于较大的杂质已经在第一滤网21处被滤去,所以滤留在第二滤网31上的杂质的为小颗粒杂质,小颗粒杂质相比于大颗粒杂质表面更加光滑,其不易卡设于网眼上。因此第二滤网31成圆锥体设置,其侧壁为向下倾斜的斜面,在水流的带动下,就能带动杂质沿斜面向下运动,防止杂质在滤网上堆积,阻塞第二滤网31。2. When filtering through the
3.在进行清洗时,打开第一清理管50、第一排污管51、第二清理管52和第二排污管53上的阀门,往第一清理管50和第二清理管52中送入清水,在布水器54的作用下,均匀地喷射到第一隔板20和第二隔板30上,对其进行全方位的清洗,然后水会带着杂质从第一排污管51和第二排污管53排出,然后通过连接管60进入到集污室61中,并在第三滤网62的过滤下除去杂质,而过滤后的水再通过回收管64送至出水口41处,同之前进行过滤的污水一起进行回收,提高水资源的利用率。而通过清理门63,就可对第三滤网62上的杂质进行清理,以保证下次清洗时第三滤网62的过滤效果。3. When cleaning, open the valves on the
本具体实施方式的实施例均为本实用新型的较佳实施例,并非依此限制本实用新型的保护范围,故:凡依本实用新型的结构、形状、原理所做的等效变化,均应涵盖于本实用新型的保护范围之内。The examples of this specific embodiment are all preferred embodiments of the present invention, and are not intended to limit the protection scope of the present invention. Therefore: all equivalent changes made according to the structure, shape and principle of the present invention are not It should be covered within the protection scope of the present invention.
Claims (8)
Priority Applications (1)
| Application Number | Priority Date | Filing Date | Title |
|---|---|---|---|
| CN201922498422.7U CN211419791U (en) | 2019-12-31 | 2019-12-31 | Preliminary treatment device for sewage recovery |
Applications Claiming Priority (1)
| Application Number | Priority Date | Filing Date | Title |
|---|---|---|---|
| CN201922498422.7U CN211419791U (en) | 2019-12-31 | 2019-12-31 | Preliminary treatment device for sewage recovery |
Publications (1)
| Publication Number | Publication Date |
|---|---|
| CN211419791U true CN211419791U (en) | 2020-09-04 |
Family
ID=72285169
Family Applications (1)
| Application Number | Title | Priority Date | Filing Date |
|---|---|---|---|
| CN201922498422.7U Expired - Fee Related CN211419791U (en) | 2019-12-31 | 2019-12-31 | Preliminary treatment device for sewage recovery |
Country Status (1)
| Country | Link |
|---|---|
| CN (1) | CN211419791U (en) |
Cited By (3)
| Publication number | Priority date | Publication date | Assignee | Title |
|---|---|---|---|---|
| CN112661326A (en) * | 2021-02-04 | 2021-04-16 | 南京铭旭智能技术有限公司 | Sewage treatment electrolysis method and treatment device |
| CN113802525A (en) * | 2021-09-22 | 2021-12-17 | 陈瑶 | A water conservancy power generation water inlet anti-blocking component based on the water conservancy power generation setting |
| CN115670107A (en) * | 2023-01-05 | 2023-02-03 | 苏州伊塔电器科技股份有限公司 | Fabric cleaning structure |
-
2019
- 2019-12-31 CN CN201922498422.7U patent/CN211419791U/en not_active Expired - Fee Related
Cited By (4)
| Publication number | Priority date | Publication date | Assignee | Title |
|---|---|---|---|---|
| CN112661326A (en) * | 2021-02-04 | 2021-04-16 | 南京铭旭智能技术有限公司 | Sewage treatment electrolysis method and treatment device |
| CN113802525A (en) * | 2021-09-22 | 2021-12-17 | 陈瑶 | A water conservancy power generation water inlet anti-blocking component based on the water conservancy power generation setting |
| CN113802525B (en) * | 2021-09-22 | 2022-11-29 | 广东省源天工程有限公司 | Hydroelectric power generation water inlet prevents stifled subassembly based on hydroelectric power generation sets up |
| CN115670107A (en) * | 2023-01-05 | 2023-02-03 | 苏州伊塔电器科技股份有限公司 | Fabric cleaning structure |
Similar Documents
| Publication | Publication Date | Title |
|---|---|---|
| CN206343036U (en) | A kind of device for reducing dust for reducing dust pollution | |
| CN211189269U (en) | Water treatment facilities convenient to wash filter screen | |
| CN113943063B (en) | Recovery unit for sewage collection | |
| CN211419791U (en) | Preliminary treatment device for sewage recovery | |
| CN109126207B (en) | Waste oil recovery system for recycling scraped car parts | |
| CN117735636A (en) | Anti-blocking roller type water treatment purifying device | |
| CN208193861U (en) | Recirculated water filtration processing equipment | |
| CN108283838B (en) | Circulating water filtering treatment equipment | |
| WO2018103534A1 (en) | Horizontal-flow continuous sand filtration apparatus and water treatment process thereof | |
| CN207085471U (en) | Sewage concentration drainage device | |
| CN211965338U (en) | Dust removal garbage disposal device | |
| CN220696113U (en) | Belt type solid-liquid separation sewage recycling device | |
| CN208553315U (en) | A kind of sewage treatment equipment for separating liquid from solid | |
| CN110550754A (en) | Membrane method sewage treatment system | |
| CN111282797A (en) | Filtering device for removing impurities in excess sludge containing powder carriers | |
| CN105855035A (en) | Sediment automatic cleaning device | |
| CN117105293A (en) | Vacuum recovery and solid-liquid separation device | |
| CN116747610A (en) | Movable paper filter element cleaner and cleaning method thereof | |
| CN111744255B (en) | Immersed disc slurry purification device | |
| CN110577296A (en) | Water purifier by membrane filtration method | |
| CN212396085U (en) | Immersion disc slurry purifying device | |
| CN204224331U (en) | A kind for the treatment of system of dyeing and printing sewage dirt material | |
| CN115671814A (en) | Trigger type backwashing automatic sewage discharge device and automatic cleaning automatic sewage discharge method | |
| CN217941062U (en) | Building concrete waste water solid-liquid separation recovery unit | |
| CN204825828U (en) | Vacuum rotation type algae separator |
Legal Events
| Date | Code | Title | Description |
|---|---|---|---|
| GR01 | Patent grant | ||
| GR01 | Patent grant | ||
| CF01 | Termination of patent right due to non-payment of annual fee | ||
| CF01 | Termination of patent right due to non-payment of annual fee |
Granted publication date: 20200904 |
