CN211379931U - A multifunctional travel trolley bag - Google Patents
A multifunctional travel trolley bag Download PDFInfo
- Publication number
- CN211379931U CN211379931U CN201922049413.XU CN201922049413U CN211379931U CN 211379931 U CN211379931 U CN 211379931U CN 201922049413 U CN201922049413 U CN 201922049413U CN 211379931 U CN211379931 U CN 211379931U
- Authority
- CN
- China
- Prior art keywords
- fixedly connected
- people
- supporting seat
- support base
- mounting plate
- Prior art date
- Legal status (The legal status is an assumption and is not a legal conclusion. Google has not performed a legal analysis and makes no representation as to the accuracy of the status listed.)
- Expired - Fee Related
Links
Images
Landscapes
- Purses, Travelling Bags, Baskets, Or Suitcases (AREA)
Abstract
本实用新型公开了一种多功能旅行拉杆箱包,包括支撑座和箱体,所述支撑座底部的四周均开设有凹槽,且凹槽内腔的顶端固定连接有电动伸缩杆,电动伸缩杆的底部活动安装有行走轮,所述支撑座顶部的中端开设有USB插孔,所述支撑座顶部的左端固定连接有安装板,且安装板的顶端固定连接有轴承。本实用新型在支撑座顶部的中端开设了USB插孔,可在没有电源的情况下为手机提供电能,保障了人们的正常通信,为人们的生活带来了极大的便利,同时通过安装板、轴承、限位套、螺孔和紧固螺丝的作用,可使支撑座具有板凳的作用,为人们的旅途带来极大的便利,解决了现有的拉杆箱其结构简单,功能单一,无法满足人们日益增长的需求的问题。
The utility model discloses a multifunctional travel trolley bag, which comprises a support seat and a box body, grooves are formed around the bottom of the support seat, and an electric telescopic rod is fixedly connected to the top of the inner cavity of the groove. The bottom of the support base is movably installed with a walking wheel, the middle end of the top of the support base is provided with a USB socket, the left end of the top of the support base is fixedly connected with a mounting plate, and the top of the mounting plate is fixedly connected with a bearing. The utility model is provided with a USB jack at the middle end of the top of the support base, which can provide power for mobile phones without power supply, ensure normal communication of people, and bring great convenience to people's lives. The function of the plate, bearing, limit sleeve, screw hole and fastening screw can make the support seat have the function of a bench, which brings great convenience to people's travel, and solves the problem of the existing trolley case, which has a simple structure and a single function. , unable to meet the growing needs of people.
Description
技术领域technical field
本实用新型涉及箱包技术领域,具体为一种多功能旅行拉杆箱包。The utility model relates to the technical field of luggage, in particular to a multifunctional travel trolley luggage.
背景技术Background technique
箱包是对袋子的统称,包括一般的购物袋、手提包、手拿包、钱包、背包、单肩包、挎包、腰包和多种拉杆箱等,传统的拉杆箱的顶部和侧部具有方便手持的提手,同时,这些拉杆箱还具有便于移动的脚轮,以及便于拖动拉杆箱行走的拉杆,但现有的拉杆箱其结构简单,功能单一,无法满足人们日益增长的需求,为此,我们提出一种多功能旅行拉杆箱包。Luggage is a general term for bags, including general shopping bags, handbags, clutch bags, wallets, backpacks, shoulder bags, satchels, waist bags and various trolley cases, etc. The top and side of traditional trolley cases are convenient to hold. At the same time, these trolley cases also have casters that are easy to move and trolleys that are convenient for dragging the trolley case to walk. However, the existing trolley case has a simple structure and a single function, which cannot meet the growing needs of people. Therefore, We propose a multifunctional travel trolley bag.
实用新型内容Utility model content
本实用新型的目的在于提供一种多功能旅行拉杆箱包,具备多功能的优点,解决了现有的拉杆箱其结构简单,功能单一,无法满足人们日益增长的需求的问题。The purpose of the utility model is to provide a multifunctional travel trolley case, which has the advantages of multifunctionality, and solves the problems that the existing trolley case has a simple structure and a single function, and cannot meet the increasing demands of people.
为实现上述目的,本实用新型提供如下技术方案:一种多功能旅行拉杆箱包,包括支撑座和箱体,所述支撑座底部的四周均开设有凹槽,且凹槽内腔的顶端固定连接有电动伸缩杆,电动伸缩杆的底部活动安装有行走轮,所述支撑座顶部的中端开设有USB插孔,所述支撑座顶部的左端固定连接有安装板,且安装板的顶端固定连接有轴承,所述轴承的内表面活动连接有支撑板,支撑板的左侧涂设有光触媒层,支撑板的右侧通过连杆固定连接有箱体,所述轴承的顶端固定连接有限位套,限位套的内表面以及支撑板的底部均开设有螺孔,且螺孔的内腔螺纹连接有紧固螺丝。In order to achieve the above purpose, the present utility model provides the following technical solutions: a multi-functional travel trolley bag, comprising a support seat and a box body, grooves are formed around the bottom of the support seat, and the top of the inner cavity of the groove is fixedly connected There is an electric telescopic rod, the bottom of the electric telescopic rod is movably installed with a walking wheel, the middle end of the top of the support seat is provided with a USB socket, the left end of the top of the support seat is fixedly connected with a mounting plate, and the top of the mounting plate is fixedly connected There is a bearing, the inner surface of the bearing is movably connected with a support plate, the left side of the support plate is coated with a photocatalyst layer, the right side of the support plate is fixedly connected with a box body through a connecting rod, and the top of the bearing is fixedly connected with a limit sleeve The inner surface of the limiting sleeve and the bottom of the support plate are provided with screw holes, and the inner cavity of the screw holes is threadedly connected with fastening screws.
优选的,所述支撑座的内腔且位于USB插孔的下端开设有电池槽,且电池槽内腔底部的中端固定连接有蓄电池,同时支撑座的顶部且位于USB插孔的左侧开设有充电口。Preferably, a battery slot is provided in the inner cavity of the support seat and located at the lower end of the USB jack, and a battery is fixedly connected to the middle end of the bottom of the inner cavity of the battery slot, and the top of the support seat is located at the left side of the USB jack. There is a charging port.
优选的,所述安装板的顶端以及支撑板的底部均为圆柱形结构。Preferably, the top of the mounting plate and the bottom of the support plate are cylindrical structures.
优选的,所述支撑板内表面的上端开设有拉槽,且支撑板顶部的后端固定连接有控制器。Preferably, the upper end of the inner surface of the support plate is provided with a pulling groove, and the rear end of the top of the support plate is fixedly connected with the controller.
与现有技术相比,本实用新型的有益效果如下:Compared with the prior art, the beneficial effects of the present utility model are as follows:
1、本实用新型在支撑座顶部的中端开设了USB插孔,可在没有电源的情况下为手机提供电能,保障了人们的正常通信,为人们的生活带来了极大的便利,同时通过安装板、轴承、限位套、螺孔和紧固螺丝的作用,可使支撑座具有板凳的作用,为人们的旅途带来极大的便利,解决了现有的拉杆箱其结构简单,功能单一,无法满足人们日益增长的需求的问题。1. The utility model is provided with a USB jack at the middle end of the top of the support base, which can provide electric power for mobile phones without power supply, ensure normal communication of people, and bring great convenience to people's lives. Through the functions of the mounting plate, the bearing, the limit sleeve, the screw hole and the fastening screw, the support seat can be made to function as a bench, which brings great convenience to people's travel, and solves the problem of the simple structure of the existing trolley case. Single function, unable to meet people's growing needs.
2、本实用新型在凹槽内腔的顶端固定连接了电动伸缩杆,并在电动伸缩杆的底部活动安装了行走轮,可方便人们对拉杆箱的移动,且在不需要移动的情况下,通过控制器使电动伸缩杆收缩进凹槽内,保障了本拉杆箱放置的稳定性,同时在支撑板的左侧嵌设了光触媒层,可对周围环境进行杀菌消毒处理。2. The utility model is fixedly connected with an electric telescopic rod at the top of the inner cavity of the groove, and a walking wheel is movably installed at the bottom of the electric telescopic rod, which can facilitate the movement of the trolley case, and in the case of no need to move, The electric telescopic rod is retracted into the groove through the controller, which ensures the stability of the trolley case. At the same time, a photocatalyst layer is embedded on the left side of the support plate, which can sterilize and disinfect the surrounding environment.
附图说明Description of drawings
图1为本实用新型结构示意图;Fig. 1 is the structural representation of the utility model;
图2为本实用新型支撑板左视结构示意图。FIG. 2 is a schematic diagram of the left side view of the structure of the supporting plate of the present invention.
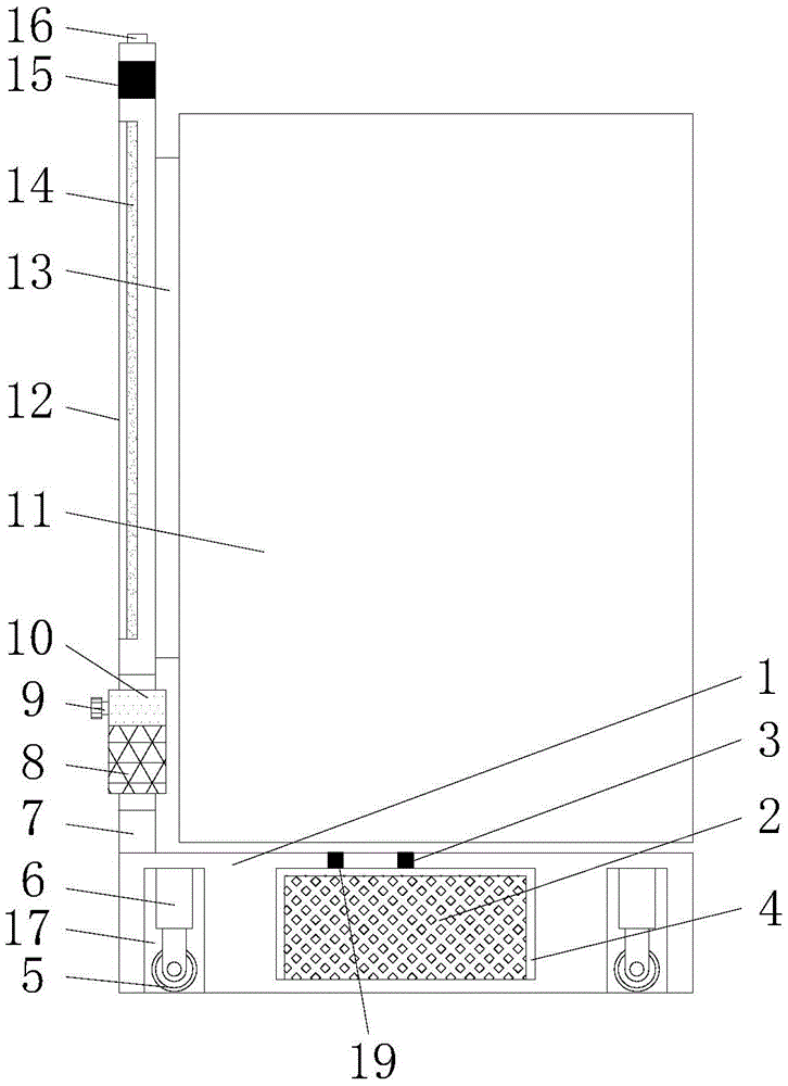
图中:1支撑座、2蓄电池、3 USB插孔、4电池槽、5行走轮、6电动伸缩杆、7安装板、8轴承、9紧固螺丝、10限位套、11箱体、12支撑板、13连杆、14光触媒层、15拉槽、16控制器、17凹槽、18螺孔、19充电口。In the picture: 1 support base, 2 battery, 3 USB jack, 4 battery slot, 5 walking wheel, 6 electric telescopic rod, 7 mounting plate, 8 bearing, 9 fastening screw, 10 limit sleeve, 11 box, 12 Support plate, 13 connecting rods, 14 photocatalyst layers, 15 pulling slots, 16 controllers, 17 grooves, 18 screw holes, 19 charging ports.
具体实施方式Detailed ways
下面将结合本实用新型实施例中的附图,对本实用新型实施例中的技术方案进行清楚、完整地描述,显然,所描述的实施例仅仅是本实用新型一部分实施例,而不是全部的实施例。基于本实用新型中的实施例,本领域普通技术人员在没有做出创造性劳动前提下所获得的所有其他实施例,都属于本实用新型保护的范围。The technical solutions in the embodiments of the present utility model will be clearly and completely described below with reference to the accompanying drawings in the embodiments of the present utility model. Obviously, the described embodiments are only a part of the embodiments of the present utility model, rather than all the implementations. example. Based on the embodiments of the present invention, all other embodiments obtained by those of ordinary skill in the art without creative work fall within the protection scope of the present invention.
本实用新型的支撑座1、蓄电池2、USB插孔3、电池槽4、行走轮5、电动伸缩杆6、安装板7、轴承8、紧固螺丝9、限位套10、箱体11、支撑板12、连杆13、光触媒层14、拉槽15、控制器16、凹槽17、螺孔18和充电口19部件均为通用标准件或本领域技术人员知晓的部件,其结构和原理都为本技术人员均可通过技术手册得知或通过常规实验方法获知。The utility model has a supporting
请参阅图1-2,一种多功能旅行拉杆箱包,包括支撑座1和箱体11,支撑座1底部的四周均开设有凹槽17,且凹槽17内腔的顶端固定连接有电动伸缩杆6,电动伸缩杆6的底部活动安装有行走轮5,可方便人们对拉杆箱的移动,且在不需要移动的情况下,通过控制器16使电动伸缩杆6收缩进凹槽17内,保障了本拉杆箱放置的稳定性,支撑座1顶部的中端开设有USB插孔3,可在没有电源的情况下为手机提供电能,保障了人们的正常通信,为人们的生活带来了极大的便利,支撑座1的内腔且位于USB插孔3的下端开设有电池槽4,且电池槽4内腔底部的中端固定连接有蓄电池2,同时支撑座1的顶部且位于USB插孔3的左侧开设有充电口19,充电口19可为蓄电池2进行充电,支撑座1顶部的左端固定连接有安装板7,且安装板7的顶端固定连接有轴承8,轴承8的内表面活动连接有支撑板12,安装板7的顶端以及支撑板12的底部均为圆柱形结构,支撑板12的左侧涂设有光触媒层14,可对周围环境进行杀菌消毒处理,支撑板12内表面的上端开设有拉槽15,且支撑板12顶部的后端固定连接有控制器16,支撑板12的右侧通过连杆13固定连接有箱体11,轴承8的顶端固定连接有限位套10,限位套10的内表面以及支撑板12的底部均开设有螺孔18,且螺孔18的内腔螺纹连接有紧固螺丝9,可使支撑座1具有板凳的作用,为人们的旅途带来极大的便利。Please refer to Figure 1-2, a multifunctional travel trolley bag, including a
使用时,在支撑座1顶部的中端开设了USB插孔3,可在没有电源的情况下为手机提供电能,保障了人们的正常通信,为人们的生活带来了极大的便利,同时通过安装板7、轴承8、限位套10、螺孔18和紧固螺丝9的作用,可使支撑座1具有板凳的作用,为人们的旅途带来极大的便利,解决了现有的拉杆箱其结构简单,功能单一,无法满足人们日益增长的需求的问题,其将支撑座1变为板凳的具体方式为:先松动紧固螺丝9,然后水平转动箱体11,从而使箱体11从支撑座1的顶部离开(人们便可坐在支撑座1的顶部),然后再通过紧固螺丝9将支撑板12与限位套10之间固定即可,在凹槽17内腔的顶端固定连接了电动伸缩杆6,并在电动伸缩杆6的底部活动安装了行走轮5,可方便人们对拉杆箱的移动,且在不需要移动的情况下,通过控制器16使电动伸缩杆6收缩进凹槽17内,保障了本拉杆箱放置的稳定性,同时在支撑板12的左侧嵌设了光触媒层14,可对周围环境进行杀菌消毒处理。When in use, a
综上所述:该多功能旅行拉杆箱包,在支撑座1顶部的中端开设了USB插孔3,可在没有电源的情况下为手机提供电能,保障了人们的正常通信,为人们的生活带来了极大的便利,同时通过安装板7、轴承8、限位套10、螺孔18和紧固螺丝9的作用,可使支撑座1具有板凳的作用,为人们的旅途带来极大的便利,解决了现有的拉杆箱其结构简单,功能单一,无法满足人们日益增长的需求的问题。To sum up: the multifunctional travel trolley bag has a
尽管已经示出和描述了本实用新型的实施例,对于本领域的普通技术人员而言,可以理解在不脱离本实用新型的原理和精神的情况下可以对这些实施例进行多种变化、修改、替换和变型,本实用新型的范围由所附权利要求及其等同物限定。Although the embodiments of the present invention have been shown and described, it will be understood by those skilled in the art that various changes and modifications can be made to these embodiments without departing from the principles and spirit of the present invention , alternatives and modifications, the scope of the present invention is defined by the appended claims and their equivalents.
Claims (4)
Priority Applications (1)
| Application Number | Priority Date | Filing Date | Title |
|---|---|---|---|
| CN201922049413.XU CN211379931U (en) | 2019-11-23 | 2019-11-23 | A multifunctional travel trolley bag |
Applications Claiming Priority (1)
| Application Number | Priority Date | Filing Date | Title |
|---|---|---|---|
| CN201922049413.XU CN211379931U (en) | 2019-11-23 | 2019-11-23 | A multifunctional travel trolley bag |
Publications (1)
| Publication Number | Publication Date |
|---|---|
| CN211379931U true CN211379931U (en) | 2020-09-01 |
Family
ID=72220344
Family Applications (1)
| Application Number | Title | Priority Date | Filing Date |
|---|---|---|---|
| CN201922049413.XU Expired - Fee Related CN211379931U (en) | 2019-11-23 | 2019-11-23 | A multifunctional travel trolley bag |
Country Status (1)
| Country | Link |
|---|---|
| CN (1) | CN211379931U (en) |
Cited By (1)
| Publication number | Priority date | Publication date | Assignee | Title |
|---|---|---|---|---|
| CN112293905A (en) * | 2020-10-21 | 2021-02-02 | 广东翔晟箱配科技有限公司 | Independently disinfection pull rod |
-
2019
- 2019-11-23 CN CN201922049413.XU patent/CN211379931U/en not_active Expired - Fee Related
Cited By (1)
| Publication number | Priority date | Publication date | Assignee | Title |
|---|---|---|---|---|
| CN112293905A (en) * | 2020-10-21 | 2021-02-02 | 广东翔晟箱配科技有限公司 | Independently disinfection pull rod |
Similar Documents
| Publication | Publication Date | Title |
|---|---|---|
| CN204682793U (en) | A kind of electric draw-bar box | |
| CN205410134U (en) | A can put thing module and draw -bar box for on draw -bar box | |
| CN205696233U (en) | A kind of Suitcase | |
| CN211379931U (en) | A multifunctional travel trolley bag | |
| CN203692749U (en) | Rear-driven type walking-instead suitcase | |
| CN205030653U (en) | Suitcase of additional slide | |
| CN202489375U (en) | Retractable-wheel draw bar box | |
| CN207129894U (en) | A kind of luggage case and bag lowering or hoisting gear | |
| CN206087097U (en) | Box folding bicycle of luggage | |
| CN201929215U (en) | Trolley case with rear-mounted load-bearing wheels | |
| CN210747687U (en) | Travel draw-bar luggage | |
| CN204930628U (en) | A kind of Novel travelling case and bag | |
| CN202019931U (en) | Novel draw-bar suitcase | |
| CN202233452U (en) | Multifunctional sun umbrella | |
| CN206699628U (en) | A kind of convenient case and bag placed | |
| CN203692748U (en) | Front-propulsion type walking-replacing traveling case | |
| CN205757784U (en) | A kind of Multifunctional trolley case | |
| CN201398574Y (en) | Novel suitcase | |
| CN206280910U (en) | A kind of multifunctional lifting lamp | |
| CN206760993U (en) | A kind of suitcase ridden instead of walk | |
| CN204407381U (en) | Electric vehicle accumulator box can be drawn | |
| CN204426989U (en) | A kind of electric travelling case | |
| CN203528390U (en) | Vehicle-mounted holder with portable power source | |
| CN204541091U (en) | A kind of Multifunction case and bag | |
| CN107854238A (en) | An electric wheelchair powered by solar energy |
Legal Events
| Date | Code | Title | Description |
|---|---|---|---|
| GR01 | Patent grant | ||
| GR01 | Patent grant | ||
| TR01 | Transfer of patent right |
Effective date of registration: 20240708 Address after: No. 002-1, Zone 4, Dongliuguanying Village, Beishakou Township, Xiong County, Xiong'an New District, Shijiazhuang City, Hebei Province, China (self declared) Patentee after: Hebei Xiong'an Xinshu Metal Products Co.,Ltd. Country or region after: China Address before: 311800 shop s-1, Wanda Plaza, No. 69, Gaohu East Road, Huandong street, Zhuji City, Shaoxing City, Zhejiang Province 000171 Patentee before: Zhuji Chenyi Trading Co.,Ltd. Country or region before: China |
|
| TR01 | Transfer of patent right | ||
| CP03 | Change of name, title or address |
Address after: 071000 No. 002-1, Zone 4, Dongliuguanying Village, Beishakou Township, Xiong County, Xiong'an New District, Baoding City, Hebei Province (self declared) Patentee after: Hebei Xiong'an Xinshu Metal Products Co.,Ltd. Country or region after: China Address before: No. 002-1, Zone 4, Dongliuguanying Village, Beishakou Township, Xiong County, Xiong'an New District, Shijiazhuang City, Hebei Province, China (self declared) Patentee before: Hebei Xiong'an Xinshu Metal Products Co.,Ltd. Country or region before: China |
|
| CP03 | Change of name, title or address | ||
| CF01 | Termination of patent right due to non-payment of annual fee |
Granted publication date: 20200901 |
|
| CF01 | Termination of patent right due to non-payment of annual fee |
