CN211272851U - A self-locking safety needle for infusion port - Google Patents
A self-locking safety needle for infusion port Download PDFInfo
- Publication number
- CN211272851U CN211272851U CN201921609745.2U CN201921609745U CN211272851U CN 211272851 U CN211272851 U CN 211272851U CN 201921609745 U CN201921609745 U CN 201921609745U CN 211272851 U CN211272851 U CN 211272851U
- Authority
- CN
- China
- Prior art keywords
- needle
- hole
- box body
- plate
- self
- Prior art date
- Legal status (The legal status is an assumption and is not a legal conclusion. Google has not performed a legal analysis and makes no representation as to the accuracy of the status listed.)
- Expired - Fee Related
Links
Images
Landscapes
- Infusion, Injection, And Reservoir Apparatuses (AREA)
Abstract
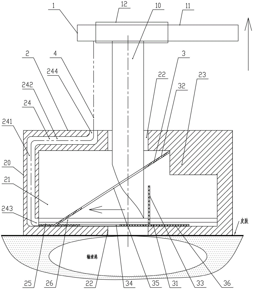
本实用新型公开了一种用于输液港的自锁安全针。该自锁安全针包括锁针盒,锁针盒包括盒本体,盒本体下表面贴合皮肤靠近植入在皮肤下的输液港,盒本体内部中空形成空腔,盒本体上下表面分别形成出针孔,给药针的针尖穿过下端的出针孔连通输液港,盒本体的上腔壁一端向下垂直延伸形成定位块,走线道设于盒本体的上腔壁另一端以及相连接的侧腔壁,弹性座的弹板下端倾斜连接底板上一端,底板设有下通孔,弹板设有过针孔,弹性座位于空腔内,底板在空腔下腔壁上移动,连接线一端连接给药针,连接线另一端穿过走线道连接底板。本实用新型具有拔出针后,给药针的针尖被锁住,避免误刺伤,防止相关病毒等微生物传染性疾病,拔针快速安全的效果。
The utility model discloses a self-locking safety needle used in an infusion port. The self-locking safety needle includes a needle lock box, the needle lock box includes a box body, the lower surface of the box body is attached to the skin and is close to the infusion port implanted under the skin, the inside of the box body is hollow to form a cavity, and the upper and lower surfaces of the box body respectively form a needle outlet The needle tip of the drug delivery needle passes through the needle outlet hole at the lower end to communicate with the infusion port. One end of the upper cavity wall of the box body extends vertically downward to form a positioning block. On the side cavity wall, the lower end of the elastic plate of the elastic seat is inclined and connected to the upper end of the bottom plate. One end is connected to the dosing needle, and the other end of the connecting line is connected to the bottom plate through the cable channel. The utility model has the effects that the needle tip of the administration needle is locked after the needle is pulled out, so as to avoid accidental stab wounds, prevent microbial infectious diseases such as related viruses, and the needle is pulled out quickly and safely.
Description
技术领域technical field
本实用新型涉及医疗器械领域,特别涉及一种用于输液港的自锁安全针。The utility model relates to the field of medical instruments, in particular to a self-locking safety needle used in an infusion port.
背景技术Background technique
现有输液领域,长期输液普遍应用到输液港,而给药针在拔出时,因为针垂直于输液港,需要较大的力量才能够拔出针头,在该操作中,由于动作幅度过大或动作失控,容易伤到操作人员或周围陪同人员,而需要输液港的病患有较多的是病毒携带者或经血液传染相关疾病的患者,针体上会沾染含有病毒的液体,在伤到相关人员时,容易造成传染。In the existing infusion field, long-term infusion is generally used in the infusion port, and when the drug delivery needle is pulled out, because the needle is perpendicular to the infusion port, it requires a large force to pull out the needle. In this operation, the movement range is too large. Or the movement is out of control, which is easy to injure the operator or the accompanying staff around, and the patients who need the infusion port are mostly virus carriers or patients with blood-borne related diseases. When it reaches the relevant personnel, it is easy to cause infection.
实用新型内容Utility model content
为了解决上述问题的一个或多个,本实用新型提供了一种用于输液港的自锁安全针。In order to solve one or more of the above problems, the present invention provides a self-locking safety needle for an infusion port.
根据本实用新型的一个方面,该一种用于输液港的自锁安全针包括给药针、锁针盒、弹性座以及连接线,According to one aspect of the present invention, the self-locking safety needle for an infusion port includes a drug delivery needle, a needle locking box, an elastic seat and a connecting wire,
锁针盒包括盒本体,盒本体下表面贴合皮肤靠近植入在皮肤下的输液港,盒本体内部中空形成空腔,盒本体上下表面分别形成出针孔,给药针的针尖穿过下端的出针孔连通输液港,盒本体的上腔壁一端向下垂直延伸形成定位块,走线道设于盒本体的上腔壁另一端以及相连接的侧腔壁,The needle lock box includes a box body, the lower surface of the box body is close to the infusion port implanted under the skin, the inside of the box body is hollow to form a cavity, the upper and lower surfaces of the box body are respectively formed with needle holes, and the needle tip of the drug administration needle passes through the lower end The needle outlet hole is connected to the infusion port, one end of the upper cavity wall of the box body vertically extends downward to form a positioning block, and the wiring channel is arranged on the other end of the upper cavity wall of the box body and the connected side cavity wall,
弹性座包括底板以及弹板,弹板下端倾斜连接底板上一端,底板设有下通孔,弹板设有过针孔,弹性座位于空腔内,底板在空腔下腔壁上移动,连接线一端连接给药针,连接线另一端穿过走线道连接底板,The elastic seat includes a bottom plate and an elastic plate. The lower end of the elastic plate is inclined and connected to the upper end of the bottom plate. The bottom plate is provided with a lower through hole, and the elastic plate is provided with a pin hole. The elastic seat is located in the cavity. One end of the line is connected to the drug administration needle, and the other end of the connecting line is connected to the bottom plate through the wiring path.
弹板被压缩且贴合定位块下表面时,给药针下端依次能够穿过上端出针孔、过针孔、下通孔以及下端出针孔连接输液港进行给药,连接线在走线道内松动设置,When the elastic plate is compressed and fits the lower surface of the positioning block, the lower end of the administration needle can pass through the upper needle outlet hole, the needle passage hole, the lower through hole and the lower needle outlet hole in turn to connect to the infusion port for administration, and the connecting line is routed. Loose settings in the channel,
当使用者一手固定锁针盒,一手向上拔起给药针时,连接线在走线道内逐渐绷紧变直,连接线拉动底板向另一端移动,同时底板密封下端出针孔,弹板上端脱离定位块并且弹性张开贴合空腔下腔壁,给药针一直位于空腔内。When the user fixes the needle lock box with one hand and pulls up the administration needle with the other hand, the connecting wire is gradually tightened and straightened in the thread path, and the connecting wire pulls the bottom plate to move to the other end. Disengaged from the positioning block and elastically expanded to fit the lower cavity wall of the cavity, the drug delivery needle is always located in the cavity.
该一种用于输液港的自锁安全针采用给药针和弹性座相连接,当拔出给药针时,弹性座移位,弹性座同时密封下端的出针孔,并且使给药针的针尖封闭在空腔内,并且给药针在拔出时并不滑出锁针盒,因此避免了给药针误刺伤医护人员或周围陪同人员,防止相关病毒等微生物传染性疾病的传染,提高安全性,同时该装置操作方便,能够降低医护人员操作危险器械的经验需求以及技术要求,大大提高拔针速度和技术,方便大规模普及应用,其次,因为连接线的长度来控制给药针的最上端位置,控制精度高,无意外事故;再次,弹性座在压缩状态时具有定位块,在完全展开时,上端抵触上腔壁,两个状态均为固定状态,上下位置能够有效控制,从而提高安全自锁能力。The self-locking safety needle for an infusion port is connected by a drug delivery needle and an elastic seat. When the drug delivery needle is pulled out, the elastic seat is displaced, the elastic seat simultaneously seals the needle outlet hole at the lower end, and the drug delivery needle The needle tip is closed in the cavity, and the needle does not slide out of the lock needle box when it is pulled out, so it is avoided that the needle accidentally stabs the medical staff or the accompanying personnel, and prevents the infection of microbial infectious diseases such as related viruses. , improve safety, and at the same time, the device is easy to operate, which can reduce the experience and technical requirements of medical staff to operate dangerous instruments, greatly improve the speed and technology of needle extraction, and facilitate large-scale popularization and application. Secondly, because of the length of the connecting line to control drug delivery The uppermost position of the needle has high control precision and no accidents; thirdly, the elastic seat has a positioning block when it is compressed, and when it is fully expanded, the upper end touches the upper cavity wall, both states are fixed, and the upper and lower positions can be effectively controlled , so as to improve the safety self-locking ability.
在一些实施方式中,弹性座还包括止位板,止位板垂直连接底板上另一端,止位板位于弹板上端下。In some embodiments, the elastic seat further includes a stop plate, the stop plate is vertically connected to the other end of the bottom plate, and the stop plate is located on the upper and lower ends of the elastic plate.
在一些实施方式中,底板、弹板以及止位板为一体结构或底板、弹板以及止位板通过胶粘剂相连接。In some embodiments, the bottom plate, the spring plate and the stop plate are integrated structures or the bottom plate, the spring plate and the stop plate are connected by an adhesive.
在一些实施方式中,弹板为聚氨酯弹性橡胶。其有益效果是:该材料的弹板方便加工,而且弹性性能好,而且不影响患者核磁共振操作。In some embodiments, the spring plate is a polyurethane elastic rubber. The beneficial effects are: the elastic plate of the material is convenient to process, has good elastic properties, and does not affect the operation of the patient's nuclear magnetic resonance.
在一些实施方式中,盒本体下腔壁还设有移动道,移动道和底板的宽度相同,移动道连通走线道,移动道上形成有两片限位板,限位板分别连接空腔两侧壁,限位板中间形成通长的滑道,滑道和弹板的宽度间隙配合。In some embodiments, the lower cavity wall of the box body is further provided with a moving channel. The width of the moving channel and the bottom plate is the same. A full-length slideway is formed in the middle of the side wall and the limit plate, and the width of the slideway and the elastic plate is matched with clearance.
在一些实施方式中,底板的下表面安装有滚珠,滚珠贴合盒本体下腔壁。In some embodiments, balls are installed on the lower surface of the bottom plate, and the balls fit against the lower cavity wall of the box body.
在一些实施方式中,走线道包括相互连通的纵道以及横道,纵道位于盒本体侧腔壁内,纵道下端向盒本体的侧腔壁内表面延伸形成下线孔,横道内端向盒本体的上腔壁上表面延伸形成上线孔,连接线穿过上线孔、横道、纵道以及下线孔连接底板。In some embodiments, the wire routing channel includes a longitudinal channel and a transverse channel that communicate with each other, the longitudinal channel is located in the side cavity wall of the box body, the lower end of the longitudinal channel extends toward the inner surface of the side cavity wall of the box body to form a lower wire hole, and the inner end of the transverse channel is located in the side cavity wall of the box body. The upper surface of the upper cavity wall of the box body extends to form an upper wire hole, and the connecting wire passes through the upper wire hole, the horizontal channel, the longitudinal channel and the lower wire hole to connect to the bottom plate.
在一些实施方式中,过针孔为长圆孔或矩形孔,出针孔和给药针的针体过盈配合,下通孔的直径以及过针孔的宽度和针体间隙配合。In some embodiments, the needle-passing hole is an oblong hole or a rectangular hole, the needle-exiting hole and the needle body of the administration needle are in an interference fit, and the diameter of the lower through-hole and the width of the needle-passing hole are in a clearance fit with the needle body.
在一些实施方式中,给药针包括针体,针体后端通过输液管连通储液器,针体前端依次穿过上端出针孔、过针孔、下通孔、下端出针孔并且刺入皮肤连接输液港进行给药,针体上端设有操作端,操作端连接连接线上端。In some embodiments, the administration needle includes a needle body, the rear end of the needle body communicates with the liquid reservoir through the infusion tube, and the front end of the needle body sequentially passes through the upper needle exit hole, the needle passage hole, the lower through hole, the lower end needle exit hole, and pierces the needle. The skin is connected to the infusion port for drug administration, the upper end of the needle body is provided with an operation end, and the operation end is connected to the upper end of the connecting line.
在一些实施方式中,操作端为塑料材质,操作端中间整体包覆在针体外壁,操作端外端形成两个的捏持片。In some embodiments, the operation end is made of plastic material, the middle of the operation end is entirely covered with the outer wall of the needle, and the outer end of the operation end forms two holding pieces.
附图说明Description of drawings
图1为本实用新型一实施方式的一种用于输液港的自锁安全针的示意图;1 is a schematic diagram of a self-locking safety needle for an infusion port according to an embodiment of the present invention;
图2为图1所示一种用于输液港的自锁安全针的拔针状态的示意图;Fig. 2 is a schematic diagram of a needle-pulling state of a self-locking safety needle for infusion port shown in Fig. 1;
图3为图1所示锁针盒的主视示意图;3 is a schematic front view of the lock pin box shown in FIG. 1;
图4为图3所示锁针盒的A-A剖视示意图;Fig. 4 is the A-A sectional schematic diagram of the lock pin box shown in Fig. 3;
图5为图3所示锁针盒的B-B剖视示意图;Fig. 5 is the B-B sectional schematic diagram of the lock pin box shown in Fig. 3;
图6为图3所示锁针盒的C-C剖视示意图;Fig. 6 is the C-C sectional schematic diagram of the lock pin box shown in Fig. 3;
图7为图3所示锁针盒的D-D剖视示意图;Fig. 7 is the D-D sectional schematic diagram of the lock pin box shown in Fig. 3;
图8为图1所示弹性座的三维示意图;8 is a three-dimensional schematic diagram of the elastic seat shown in FIG. 1;
图9为图8所示弹性座的主视示意图;FIG. 9 is a schematic front view of the elastic seat shown in FIG. 8;
图10为图8所示弹性座的俯视示意图;FIG. 10 is a schematic top view of the elastic seat shown in FIG. 8;
图11为图8所示弹性座的仰视示意图;Fig. 11 is the bottom view schematic diagram of the elastic seat shown in Fig. 8;
图12为图1所示给药针的主视示意图;Fig. 12 is a schematic front view of the administration needle shown in Fig. 1;
图13为图12所示给药针的俯视示意图;Figure 13 is a schematic top view of the drug delivery needle shown in Figure 12;
给药针1,针体10,操作端11,捏持片12;
锁针盒2,盒本体20,空腔21,出针孔22,定位块23,走线道24,上线孔244,横道242,纵道241,下线孔243,移动道25,限位板26,滑道27;
弹性座3,底板31,弹板32,止位板33,下通孔34,过针孔35,滚珠36,连接线4。
具体实施方式Detailed ways
下面结合附图对本实用新型作进一步详细的说明。需要说明的是,下面描述中使用的词语“前”、“后”、“左”、“右”、“上”和“下”指的是附图中的方向,词语“内”和“外”分别指的是朝向或远离特定部件几何中心的方向。The present utility model will be described in further detail below in conjunction with the accompanying drawings. It should be noted that the words "front", "rear", "left", "right", "upper" and "lower" used in the following description refer to the directions in the drawings, and the words "inner" and "outer" ” refer to directions towards or away from the geometric center of a particular part, respectively.
图1至图13示意性地显示了根据本实用新型的一种实施方式的一种用于输液港的自锁安全针。如图所示,该装置包括给药针1、锁针盒2、弹性座3以及连接线4,1 to 13 schematically show a self-locking safety needle for an infusion port according to an embodiment of the present invention. As shown in the figure, the device includes a
锁针盒2包括盒本体20,盒本体20下表面贴合皮肤靠近植入在皮肤下的输液港,盒本体20内部中空形成空腔21,盒本体20上下表面分别形成出针孔22,给药针1的针尖穿过下端的出针孔22连通输液港,盒本体20的上腔壁一端向下垂直延伸形成定位块23,走线道24设于盒本体20的上腔壁另一端以及相连接的侧腔壁,The
弹性座3包括底板31以及弹板32,弹板32下端倾斜连接底板31上一端,底板31设有下通孔34,弹板32设有过针孔35,弹性座3位于空腔21内,底板31在空腔21下腔壁上移动,The
连接线4一端连接给药针1,连接线4另一端穿过走线道24连接底板31,One end of the connecting
弹板32被压缩且贴合定位块23下表面时,给药针1下端依次能够穿过上端出针孔22、过针孔35、下通孔34以及下端出针孔22连接输液港进行给药,连接线4在走线道24内松动设置,When the
当使用者一手固定锁针盒2,一手向上拔起给药针1时,连接线4在走线道24内逐渐绷紧变直,连接线4拉动底板31向另一端移动,同时底板31密封下端出针孔22,弹板32上端脱离定位块23并且弹性张开贴合空腔21下腔壁,给药针1一直位于空腔21内。When the user fixes the
该一种用于输液港的自锁安全针采用给药针1和弹性座3相连接,当拔出给药针1时,弹性座3移位,并密封下端的出针孔22,并且使给药针的针尖封闭在空腔内,并且给药针1在拔出时并不滑出锁针盒,因此避免了给药针1刺伤医护人员或周围陪同人员,防止相关病毒等微生物传染性疾病的传染,提高安全性,同时该装置操作方便,能够降低医护人员操作危险器械的经验需求以及技术要求,大大提高拔针速度和技术,方便大规模普及应用,其次,因为连接线4的长度来控制给药针1的最上端位置,控制精度高,无意外事故;再次,弹性座3在压缩状态时具有定位块23,在完全展开时,上端抵触上腔壁,两个状态均为固定状态,上下位置能够有效控制,从而提高安全自锁能力。The self-locking safety needle for an infusion port is connected by a
优选的,弹性座3还包括止位板33,止位板33垂直连接底板31上另一端,止位板33位于弹板32上端下。其有益效果是:止位板33能够有效控制弹板32的最下端位置,从而提高位置精度。Preferably, the
优选的,底板31、弹板32以及止位板33为一体结构或底板31、弹板32以及止位板33通过胶粘剂相连接。Preferably, the
优选的,弹板32为聚氨酯弹性橡胶。其有益效果是:该材料的弹板32方便加工,而且弹性性能好,而且不影响患者核磁共振操作。Preferably, the
优选的,盒本体20下腔壁还设有移动道25,移动道25和底板31的宽度相同,移动道25连通走线道24,移动道25上形成有两片限位板26,限位板26分别连接空腔21两侧壁,限位板26中间形成通长的滑道27,滑道27和弹板32的宽度间隙配合。其有益效果是:该移动道25设置能够有效保证弹性座3的移动的直线度,保证移动精度,进而提高针移动精度以及可控性。Preferably, the lower cavity wall of the
优选的,底板31的下表面安装有滚珠36,滚珠36贴合盒本体20下腔壁。其有益效果是:滚珠36的滚动摩擦,相对于面滑动摩擦,摩擦阻力小,移动灵活,无卡堵。Preferably,
优选的,走线道24包括相互连通的纵道241以及横道242,纵道241位于盒本体20侧腔壁内,纵道241下端向盒本体20的侧腔壁内表面延伸形成下线孔243,横道242内端向盒本体20的上腔壁上表面延伸形成上线孔244,连接线4穿过上线孔244、横道242、纵道241以及下线孔243连接底板31。Preferably, the
优选的,过针孔35为长圆孔或矩形孔,出针孔22和给药针1的针体10过盈配合,下通孔34的直径以及过针孔35的宽度和针体10间隙配合。其有益效果是:该设置能够有效保证给药针1输液时紧密封,拔出时方便,而且过针孔35的长圆孔或矩形孔旋择,能够有效保证弹性座3的移动和给药针1的上下移动无干涉。Preferably, the needle-passing
优选的,给药针1包括针体10,针体10后端通过输液管连通储液器,针体10前端依次穿过上端出针孔22、过针孔35、下通孔34、下端出针孔22并且刺入皮肤连接输液港进行给药,针体10上端设有操作端11,操作端11连接连接线4上端。Preferably, the
优选的,操作端11为塑料材质,操作端11中间整体包覆在针体10外壁,操作端11外端形成两个捏持片12,捏持片12能够向上折起一定角度,以方便捏持时向上拔针。其有益效果是:该设置操作方便。Preferably, the
优选的,捏持片12可以为蝶翼状片。Preferably, the gripping
优选的,捏持片12能够向上翻转半折90°,此时向上拉动力为垂直力,无水平方向的分力,能够降低拔起力,同时拔起力越小,幅度更加容易控制。Preferably, the gripping
蝶翼状片的捏持片12向上翻转半折90°,操作者一手固定盒本体20,一手拿起上方的蝶翼状片的捏持片12来拔针。The holding
以上所述的仅是本实用新型的一些实施方式。对于本领域的普通技术人员来说,在不脱离本实用新型创造构思的前提下,还可以做出若干变形和改进,这些都属于本实用新型的保护范围。The above are only some embodiments of the present invention. For those of ordinary skill in the art, without departing from the inventive concept of the present invention, several modifications and improvements can be made, which all belong to the protection scope of the present invention.
Claims (10)
Priority Applications (1)
| Application Number | Priority Date | Filing Date | Title |
|---|---|---|---|
| CN201921609745.2U CN211272851U (en) | 2019-09-25 | 2019-09-25 | A self-locking safety needle for infusion port |
Applications Claiming Priority (1)
| Application Number | Priority Date | Filing Date | Title |
|---|---|---|---|
| CN201921609745.2U CN211272851U (en) | 2019-09-25 | 2019-09-25 | A self-locking safety needle for infusion port |
Publications (1)
| Publication Number | Publication Date |
|---|---|
| CN211272851U true CN211272851U (en) | 2020-08-18 |
Family
ID=72025650
Family Applications (1)
| Application Number | Title | Priority Date | Filing Date |
|---|---|---|---|
| CN201921609745.2U Expired - Fee Related CN211272851U (en) | 2019-09-25 | 2019-09-25 | A self-locking safety needle for infusion port |
Country Status (1)
| Country | Link |
|---|---|
| CN (1) | CN211272851U (en) |
Cited By (1)
| Publication number | Priority date | Publication date | Assignee | Title |
|---|---|---|---|---|
| CN110538360A (en) * | 2019-09-25 | 2019-12-06 | 国旭天华(苏州)医疗器械科技有限公司 | self-locking safety needle for transfusion port |
-
2019
- 2019-09-25 CN CN201921609745.2U patent/CN211272851U/en not_active Expired - Fee Related
Cited By (2)
| Publication number | Priority date | Publication date | Assignee | Title |
|---|---|---|---|---|
| CN110538360A (en) * | 2019-09-25 | 2019-12-06 | 国旭天华(苏州)医疗器械科技有限公司 | self-locking safety needle for transfusion port |
| CN110538360B (en) * | 2019-09-25 | 2024-03-29 | 国旭天华(苏州)医疗器械科技有限公司 | Self-locking safety needle for transfusion port |
Similar Documents
| Publication | Publication Date | Title |
|---|---|---|
| US12370348B2 (en) | Integrated vascular delivery system | |
| US3332418A (en) | Injection site for venoclysis apparatus | |
| CN117137591A (en) | puncture system | |
| CN211272851U (en) | A self-locking safety needle for infusion port | |
| CN206454070U (en) | A kind of clinical puncture and intubation device | |
| EP3273860B1 (en) | Device for introducing and maintaining a port in an umbilical vessel | |
| CN216222535U (en) | Special needle of implanted device of dosing with collapsible needle tubing protective sheath | |
| CN110538360A (en) | self-locking safety needle for transfusion port | |
| CN211357172U (en) | A connection device for an infusion set and an infusion bottle | |
| CN209361515U (en) | Infusion port needle pull protector | |
| CN205460184U (en) | Prevent transfusion needle of blood backflow | |
| CN208048778U (en) | A kind of thoracocentesis device | |
| CN206526346U (en) | Catheter | |
| CN205964612U (en) | Medical transfusion device | |
| CN204219518U (en) | A kind of remaining needle fixed cover | |
| CN209123126U (en) | The central venous catheter device that three-dimensional autocontrol is intubated through periphery | |
| CN215606553U (en) | Ear vein indwelling needle for rabbit experiment teaching | |
| CN204468861U (en) | A kind of fluid and blood transfusion apparatus | |
| CN218129460U (en) | Infusion port needle capable of preventing cross infection | |
| CN202909280U (en) | Anorectal administration apparatus | |
| CN210844640U (en) | Venous transfusion port fixing device | |
| CN210873390U (en) | Infusion apparatus and puncture outfit thereof | |
| CN209048799U (en) | A kind of Needlestick prevention device and the puncture needle with the Needlestick prevention device | |
| CN209596313U (en) | A kind of medical Transfusion device with anti-return blood function | |
| CN205569435U (en) | Remaining needle |
Legal Events
| Date | Code | Title | Description |
|---|---|---|---|
| GR01 | Patent grant | ||
| GR01 | Patent grant | ||
| CF01 | Termination of patent right due to non-payment of annual fee |
Granted publication date: 20200818 |
|
| CF01 | Termination of patent right due to non-payment of annual fee |
