CN211245819U - Cloth bag dust removal device for flue gas treatment - Google Patents
Cloth bag dust removal device for flue gas treatment Download PDFInfo
- Publication number
- CN211245819U CN211245819U CN201921265460.1U CN201921265460U CN211245819U CN 211245819 U CN211245819 U CN 211245819U CN 201921265460 U CN201921265460 U CN 201921265460U CN 211245819 U CN211245819 U CN 211245819U
- Authority
- CN
- China
- Prior art keywords
- pipe
- area
- smoke inlet
- flue gas
- dust removal
- Prior art date
- Legal status (The legal status is an assumption and is not a legal conclusion. Google has not performed a legal analysis and makes no representation as to the accuracy of the status listed.)
- Expired - Fee Related
Links
Images
Landscapes
- Filtering Of Dispersed Particles In Gases (AREA)
Abstract
本实用新型公开了一种烟气处理用布袋除尘装置,除尘效果好且可延长单次除尘时间,其技术方案要点是包括除尘箱,还包括活性炭喷吹装置,所述除尘箱内设有由下至上依次设置的集灰区、进烟区、导流区、除尘区和出烟区,除尘区包括安装于除尘箱内的花板、安装花板上的框架和固定于框架上的滤袋,进烟区上设有进烟管,活性碳喷吹装置包括活性炭仓、螺旋输送机和吹送管,螺旋输送机的进料端位于活性炭仓下方,螺旋输送机的出料端与吹送管连通,吹送管的出料端与进烟管连通,导流区包括安装于除尘箱内的导流壳,导流壳内设有若干竖向设置的导流管,进烟区内还设有进烟罩,本实用新型适用于烟气处理技术领域。
The utility model discloses a bag dedusting device for flue gas treatment, which has good dedusting effect and can prolong the time of single dedusting. The ash collection area, the smoke inlet area, the diversion area, the dust removal area and the smoke outlet area are set up in sequence from the bottom to the top. , There is a smoke inlet pipe on the smoke inlet area, and the activated carbon injection device includes an activated carbon warehouse, a screw conveyor and a blowing pipe. The discharge end of the blowing pipe is communicated with the smoke inlet pipe. The flow guide area includes a guide shell installed in the dust removal box. The guide shell is provided with a number of vertically arranged guide pipes. The fume hood is suitable for the technical field of flue gas treatment.
Description
技术领域technical field
本实用新型属于烟气处理技术领域,特指一种烟气处理用布袋除尘装置。The utility model belongs to the technical field of flue gas treatment, in particular to a bag dust removal device for flue gas treatment.
背景技术Background technique
布袋除尘装置是烟气处理过程中常用的装置,现有除尘装置的结构主要是圆筒型滤袋垂直地悬挂在除尘箱中,出烟管和进烟管分别位于滤袋上下两侧,当烟气通过时起到过滤作用,但其还存在一些缺点,烟气中的重金属及二恶英的物质难以被滤袋过滤,且烟气中粉尘过多,直接排向滤袋,往往容易造成滤袋堵塞,需要短时间间隔清灰,比较麻烦。The bag dust removal device is a commonly used device in the process of flue gas treatment. The structure of the existing dust removal device is mainly that the cylindrical filter bag is vertically suspended in the dust removal box, and the smoke outlet pipe and the smoke inlet pipe are located on the upper and lower sides of the filter bag respectively. When the flue gas passes through, it plays a filtering role, but it still has some shortcomings. The filter bag is clogged and needs to be cleaned at short intervals, which is more troublesome.
实用新型内容Utility model content
本实用新型的目的是提供一种烟气处理用布袋除尘装置,除尘效果好且可延长单次除尘时间。The purpose of the utility model is to provide a bag dedusting device for flue gas treatment, which has good dedusting effect and can prolong the single dedusting time.
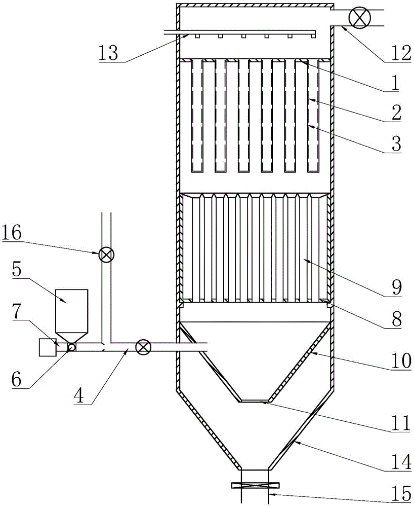
本实用新型的目的是这样实现的:一种烟气处理用布袋除尘装置,包括除尘箱,其特征在于:还包括活性炭喷吹装置,所述除尘箱内设有由下至上依次设置的集灰区、进烟区、导流区、除尘区和出烟区,除尘区包括安装于除尘箱内的花板、安装花板上的框架和固定于框架上的滤袋,进烟区上设有进烟管,活性碳喷吹装置包括活性炭仓、螺旋输送机和吹送管,螺旋输送机的进料端位于活性炭仓下方,螺旋输送机的出料端与吹送管连通,吹送管的出料端与进烟管连通,导流区包括安装于除尘箱内的导流壳,导流壳内设有若干竖向设置的导流管,进烟区内还设有进烟罩,导流管与进烟管之间通过进烟罩连通,进烟罩底部设有与集灰区连通的出灰口。The purpose of the utility model is achieved as follows: a bag dust removal device for flue gas treatment, including a dust removal box, characterized in that it also includes an activated carbon injection device, and the dust removal box is provided with ash collection devices arranged in sequence from bottom to top Dust removal area, smoke inlet area, diversion area, dust removal area and smoke outlet area. The dust removal area includes the flower plate installed in the dust box, the frame on the flower plate and the filter bag fixed on the frame. The smoke inlet area is provided with Smoke inlet pipe, activated carbon blowing device includes activated carbon bin, screw conveyor and blowing pipe, the feeding end of the screw conveyor is located below the activated carbon bin, the discharging end of the screw conveyor is connected with the blowing pipe, and the discharging end of the blowing pipe Connected with the smoke inlet pipe, the diversion area includes a guide casing installed in the dust removal box, a number of vertically arranged guide pipes are arranged in the guide casing, and a smoke inlet hood is also arranged in the smoke inlet area. The smoke inlet pipes are communicated through the smoke inlet hood, and the bottom of the smoke inlet hood is provided with an ash outlet which is communicated with the ash collecting area.
通过采用上述技术方案,活性炭喷吹装置的原理为:活性炭仓内的活性炭颗粒通过螺旋输送机定时定量进入吹送管内,且吹送管通过风机将活性炭颗粒吹入进烟管中;即烟气在进烟管内流动时,由于活性碳颗粒的吹入,依靠烟气气流使活性碳颗粒散播于气流中,在进烟管和导流管中长时间接触,进行吸附过滤作用,且吸附重金属及二恶英的活性炭颗粒最后附在滤袋壁上,还可继续进行吸附烟气中的重金属及二恶英,然后清灰时落入集灰区中,同除尘箱内的落灰一同排出;除尘箱内部的原理为:烟气由导流区进入除尘区后,通过滤袋进行过滤然后由花板上的通孔进入出烟区排出;通过导流管和进烟罩的设置可以避免烟气在除尘箱内形成乱流,对气流起到导向作用,即通过导流管的设置提高了烟气和活性炭颗粒之间的充分接触时间,且烟气气流在上升过程中,粉尘杂质与导流管之间的碰撞摩擦,会使得粉尘提前下落,降低粉尘直接粘附在滤袋表面的可能,通过进烟罩的设置,可以避免集烟区内已经下落的粉尘重新受气流影响而重新混入烟气中,提高最终除尘效果,延长单次除尘时间。By adopting the above technical solution, the principle of the activated carbon injection device is as follows: the activated carbon particles in the activated carbon bin enter the blowing pipe regularly and quantitatively through the screw conveyor, and the blowing pipe blows the activated carbon particles into the smoke pipe through the fan; When flowing in the smoke pipe, due to the blowing of the activated carbon particles, the activated carbon particles are scattered in the air flow by the flue gas flow, and they are in contact with the smoke inlet pipe and the guide pipe for a long time to perform adsorption and filtration, and absorb heavy metals and dioxins. Ying's activated carbon particles are finally attached to the wall of the filter bag, and can continue to absorb heavy metals and dioxins in the flue gas, and then fall into the ash collection area when cleaning the dust, and discharge together with the dust in the dust removal box; the dust removal box The internal principle is: after the flue gas enters the dust removal area from the diversion area, it is filtered through the filter bag and then discharged from the smoke outlet area through the through holes on the flower plate. A turbulent flow is formed in the dust box, which guides the airflow, that is, the sufficient contact time between the flue gas and the activated carbon particles is improved through the setting of the guide pipe, and the dust impurities and the guide pipe are in the process of rising of the flue gas flow. The collision and friction between them will make the dust fall in advance and reduce the possibility of the dust directly adhering to the surface of the filter bag. The setting of the fume hood can prevent the dust that has fallen in the fume collecting area from being affected by the airflow and re-mixing into the flue gas. , improve the final dust removal effect and prolong the single dust removal time.
本实用新型进一步设置为:所述出烟区上设有出烟管,出烟区内还设有吹尘管。The utility model is further arranged as follows: a smoke outlet pipe is arranged on the smoke outlet area, and a dust blowing pipe is also arranged in the smoke outlet area.
通过采用上述技术方案,吹尘管也连接风机,在使用一段时间后,关闭进烟管和出烟管,开启出灰管进行吹风,将滤袋壁上的粉尘及导流管壁上的粉尘吹入集灰区内,即能够对滤袋起到除尘清洗的作用。By adopting the above technical solution, the dust blowing pipe is also connected to the fan. After a period of use, the smoke inlet pipe and the smoke outlet pipe are closed, and the ash outlet pipe is opened to blow air, so as to remove the dust on the wall of the filter bag and the dust on the wall of the guide pipe. Blowing into the ash collection area can play the role of dust removal and cleaning on the filter bag.
本实用新型进一步设置为:所述吹送管的吹送方向与进烟管的进烟方向为同向设置。The utility model is further provided that: the blowing direction of the blowing pipe and the smoking direction of the smoke inlet pipe are arranged in the same direction.
通过采用上述技术方案,即进烟管与除尘箱相连的一段可以为L型管,吹气管与进烟管的转角处相连,使吹送管的吹送方向与进烟管的进烟方向同向,便于活性碳颗粒能够直接随烟气气流流动,提高吸附功能。By adopting the above technical solution, that is, the section connecting the smoke inlet pipe and the dust box can be an L-shaped pipe, and the air blowing pipe is connected to the corner of the smoke inlet pipe, so that the blowing direction of the blowing pipe is in the same direction as that of the smoke inlet pipe. It is convenient for the activated carbon particles to flow directly with the flue gas flow and improve the adsorption function.
本实用新型进一步设置为:所述进烟罩呈倒锥型结构。The utility model is further arranged as follows: the fume inlet hood has an inverted cone-shaped structure.
通过采用上述技术方案,即进烟罩的下端为小端,粉尘落入进烟罩后可随进烟罩内壁下滑,最终由出灰口落入灰斗内。By adopting the above technical solution, that is, the lower end of the fume inlet hood is a small end, and the dust can slide down with the inner wall of the fume hood after falling into the fume hood, and finally fall into the ash hopper from the ash outlet.
本实用新型进一步设置为:所述集灰区包括置于除尘箱底部的灰斗,灰斗底部设有出灰管,出灰管上设有卸灰阀。The utility model is further arranged as follows: the ash collecting area includes an ash hopper arranged at the bottom of the dust box, the bottom of the ash hopper is provided with an ash outlet pipe, and the ash outlet pipe is provided with an ash discharge valve.
通过采用上述技术方案,灰斗便于收集粉尘,卸灰阀便于控制出灰管的止通,在烟气除尘过程中关闭,在清灰过程中开启。By adopting the above technical solution, the ash hopper is convenient to collect dust, and the ash discharge valve is convenient to control the stop of the ash outlet pipe, which is closed during the flue gas dedusting process and opened during the ash cleaning process.
本实用新型进一步设置为:所述进烟管和出烟管上均设有控制阀。The utility model is further arranged as follows: the smoke inlet pipe and the smoke outlet pipe are both provided with control valves.
通过采用上述技术方案,控制阀用于控制进烟管和出烟管的止通。By adopting the above technical solution, the control valve is used to control the stop of the smoke inlet pipe and the smoke outlet pipe.
附图说明Description of drawings
图1是本实用新型的结构示意图;Fig. 1 is the structural representation of the present utility model;
图2是本实用新型中活性炭喷吹装置的结构示意图;Fig. 2 is the structural representation of activated carbon injection device in the present utility model;
图中附图标记为:1、花板;2、框架;3、滤袋;4、进烟管;5、活性炭仓;6、螺旋输送机;7、吹送管;8、导流壳;9、导流管;10、进烟罩;11、出灰口;12、出烟管;13、吹尘管;14、灰斗;15、出灰管;16、控制阀。The reference signs in the figure are: 1, flower plate; 2, frame; 3, filter bag; 4, smoke inlet pipe; 5, activated carbon bin; 6, screw conveyor; 7, blowing pipe; 8, guide shell; 9 10. Intake hood; 11. Ash outlet; 12. Smoke outlet; 13. Dust blowing pipe; 14. Ash hopper; 15. Ash outlet; 16. Control valve.
具体实施方式Detailed ways
下面结合附图以具体实施例对本实用新型作进一步描述,参见图1-2:Below in conjunction with the accompanying drawings, the present utility model will be further described with specific embodiments, referring to Fig. 1-2:
一种烟气处理用布袋除尘装置,包括除尘箱,其特征在于:还包括活性炭喷吹装置,所述除尘箱内设有由下至上依次设置的集灰区、进烟区、导流区、除尘区和出烟区,除尘区包括安装于除尘箱内的花板1、安装花板1上的框架2和固定于框架2上的滤袋3,进烟区上设有进烟管4,活性碳喷吹装置包括活性炭仓5、螺旋输送机6和吹送管7,螺旋输送机6的进料端位于活性炭仓5下方,螺旋输送机6的出料端与吹送管7连通,吹送管7的出料端与进烟管4连通,导流区包括安装于除尘箱内的导流壳8,导流壳8内设有若干竖向设置的导流管9,进烟区内还设有进烟罩10,导流管9与进烟管4之间通过进烟罩10连通,进烟罩10底部设有与集灰区连通的出灰口11。A bag dust removal device for flue gas treatment, comprising a dust removal box, characterized in that it also includes an activated carbon injection device, and the dust removal box is provided with an ash collection area, a smoke inlet area, a diversion area, Dust removal area and smoke outlet area. The dust removal area includes a
通过采用上述技术方案,活性炭喷吹装置的原理为:活性炭仓5内的活性炭颗粒通过螺旋输送机6定时定量进入吹送管7内,且吹送管7通过风机将活性炭颗粒吹入进烟管4中;即烟气在进烟管4内流动时,由于活性碳颗粒的吹入,依靠烟气气流使活性碳颗粒散播于气流中,在进烟管4和导流管9中长时间接触,进行吸附过滤作用,且吸附重金属及二恶英的活性炭颗粒最后附在滤袋3壁上,还可继续进行吸附烟气中的重金属及二恶英,然后清灰时落入集灰区中,同除尘箱内的落灰一同排出;除尘箱内部的原理为:烟气由导流区进入除尘区后,通过滤袋3进行过滤然后由花板1上的通孔进入出烟区排出;通过导流管9和进烟罩10的设置可以避免烟气在除尘箱内形成乱流,对气流起到导向作用,即通过导流管9的设置提高了烟气和活性炭颗粒之间的充分接触时间,且烟气气流在上升过程中,粉尘杂质与导流管9之间的碰撞摩擦,会使得粉尘提前下落,降低粉尘直接粘附在滤袋3表面的可能,通过进烟罩10的设置,可以避免集烟区内已经下落的粉尘重新受气流影响而重新混入烟气中,提高最终除尘效果,延长单次除尘时间。By adopting the above technical solution, the principle of the activated carbon injection device is as follows: the activated carbon particles in the activated
本实用新型进一步设置为:所述出烟区上设有出烟管12,出烟区内还设有吹尘管13。The utility model is further configured as follows: a
通过采用上述技术方案,吹尘管13也连接风机,在使用一段时间后,关闭进烟管4和出烟管12,开启出灰管15进行吹风,将滤袋3壁上的粉尘及导流管9壁上的粉尘吹入集灰区内,即能够对滤袋3起到除尘清洗的作用。By adopting the above technical solution, the
本实用新型进一步设置为:所述吹送管7的吹送方向与进烟管4的进烟方向为同向设置。The present utility model is further configured as follows: the blowing direction of the blowing
通过采用上述技术方案,即进烟管4与除尘箱相连的一段可以为L型管,吹气管与进烟管4的转角处相连,使吹送管7的吹送方向与进烟管4的进烟方向同向,便于活性碳颗粒能够直接随烟气气流流动,提高吸附功能。By adopting the above technical solution, that is, the section of the
本实用新型进一步设置为:所述进烟罩10呈倒锥型结构。The utility model is further configured as follows: the
通过采用上述技术方案,即进烟罩10的下端为小端,粉尘落入进烟罩10后可随进烟罩10内壁下滑,最终由出灰口11落入灰斗14内。By adopting the above technical solution, that is, the lower end of the
本实用新型进一步设置为:所述集灰区包括置于除尘箱底部的灰斗14,灰斗14底部设有出灰管15,出灰管15上设有卸灰阀。The utility model is further configured as follows: the ash collecting area includes an
通过采用上述技术方案,灰斗14便于收集粉尘,卸灰阀便于控制出灰管15的止通,在烟气除尘过程中关闭,在清灰过程中开启。By adopting the above technical scheme, the
本实用新型进一步设置为:所述进烟管4和出烟管12上均设有控制阀16。The utility model is further configured as follows: the
通过采用上述技术方案,控制阀16用于控制进烟管4和出烟管12的止通。By adopting the above technical solution, the
上述实施例仅为本实用新型的较佳实施例,并非依此限制本实用新型的保护范围,故:凡依本实用新型的结构、形状、原理所做的等效变化,均应涵盖于本实用新型的保护范围之内。The above-mentioned embodiments are only preferred embodiments of the present invention, and are not intended to limit the scope of protection of the present invention. Therefore: all equivalent changes made according to the structure, shape and principle of the present invention shall be covered by the present invention. within the scope of protection of the utility model.
Claims (6)
Priority Applications (1)
| Application Number | Priority Date | Filing Date | Title |
|---|---|---|---|
| CN201921265460.1U CN211245819U (en) | 2019-08-06 | 2019-08-06 | Cloth bag dust removal device for flue gas treatment |
Applications Claiming Priority (1)
| Application Number | Priority Date | Filing Date | Title |
|---|---|---|---|
| CN201921265460.1U CN211245819U (en) | 2019-08-06 | 2019-08-06 | Cloth bag dust removal device for flue gas treatment |
Publications (1)
| Publication Number | Publication Date |
|---|---|
| CN211245819U true CN211245819U (en) | 2020-08-14 |
Family
ID=71983150
Family Applications (1)
| Application Number | Title | Priority Date | Filing Date |
|---|---|---|---|
| CN201921265460.1U Expired - Fee Related CN211245819U (en) | 2019-08-06 | 2019-08-06 | Cloth bag dust removal device for flue gas treatment |
Country Status (1)
| Country | Link |
|---|---|
| CN (1) | CN211245819U (en) |
Cited By (1)
| Publication number | Priority date | Publication date | Assignee | Title |
|---|---|---|---|---|
| CN114225572A (en) * | 2021-12-17 | 2022-03-25 | 安徽国能亿盛环保科技有限公司 | Low-resistance and low-emission straight-through flow-equalizing cloth bag dust removal equipment and method thereof |
-
2019
- 2019-08-06 CN CN201921265460.1U patent/CN211245819U/en not_active Expired - Fee Related
Cited By (1)
| Publication number | Priority date | Publication date | Assignee | Title |
|---|---|---|---|---|
| CN114225572A (en) * | 2021-12-17 | 2022-03-25 | 安徽国能亿盛环保科技有限公司 | Low-resistance and low-emission straight-through flow-equalizing cloth bag dust removal equipment and method thereof |
Similar Documents
| Publication | Publication Date | Title |
|---|---|---|
| CN205435302U (en) | Novel dedusting device | |
| CN107362646B (en) | Water smoke dust pelletizing system | |
| CN211245819U (en) | Cloth bag dust removal device for flue gas treatment | |
| CN108680485B (en) | A dust filter material performance testing device | |
| CN104190190A (en) | Dedusting and desulfurization integrated machine | |
| CN203816379U (en) | Low-pressure pulse-jet bag dust collector | |
| CN104400669A (en) | Dust removing device for stone shot blasting | |
| CN204147689U (en) | A kind of filter drum type precipitator | |
| CN205699858U (en) | High-efficient purification pulse bag type dust collector | |
| CN206350959U (en) | A dust treatment device for grain and oil processing production | |
| CN104707409B (en) | The uniform method and device of Dual-Phrase Distribution of Gas olid in a kind of large-scale sack cleaner | |
| CN206276178U (en) | A kind of grain thing cleans dust collecting | |
| CN208696550U (en) | A kind of laser cutting machine smoke-discharging dust-eliminating device | |
| CN105013272A (en) | Dust removal equipment for melting furnace | |
| CN214634799U (en) | Smoke dust collecting device for smelting furnace | |
| CN201529459U (en) | Explosion-proof bag filter | |
| CN201823431U (en) | Whirlwind pulsed dust-removing all-in-one machine | |
| CN108837613A (en) | A kind of bag filter | |
| CN212881524U (en) | Dust removal pipeline filter equipment | |
| CN215138194U (en) | Dust removal tail gas purification treatment equipment for finished product treatment section of cigarette factory | |
| CN104740943B (en) | Nozzle for bag filter | |
| CN104645812B (en) | A kind of purification method of calcium carbide stove exhaust | |
| CN100581639C (en) | Industry gas dust removing desulfurizing device | |
| CN208082049U (en) | A kind of bag filter | |
| CN204017558U (en) | A kind of large-scale sack cleaner |
Legal Events
| Date | Code | Title | Description |
|---|---|---|---|
| GR01 | Patent grant | ||
| GR01 | Patent grant | ||
| CF01 | Termination of patent right due to non-payment of annual fee | ||
| CF01 | Termination of patent right due to non-payment of annual fee |
Granted publication date: 20200814 |
