CN211114733U - Telescopic shaft platform support - Google Patents
Telescopic shaft platform support Download PDFInfo
- Publication number
- CN211114733U CN211114733U CN201921926044.1U CN201921926044U CN211114733U CN 211114733 U CN211114733 U CN 211114733U CN 201921926044 U CN201921926044 U CN 201921926044U CN 211114733 U CN211114733 U CN 211114733U
- Authority
- CN
- China
- Prior art keywords
- groove
- hinge plate
- telescopic
- column
- plate
- Prior art date
- Legal status (The legal status is an assumption and is not a legal conclusion. Google has not performed a legal analysis and makes no representation as to the accuracy of the status listed.)
- Expired - Fee Related
Links
Images
Landscapes
- Refuge Islands, Traffic Blockers, Or Guard Fence (AREA)
Abstract
本实用新型涉及一种伸缩式井筒平台支架,井筒平台支架包括伸缩梁和主梁,伸缩梁沿其长度方向上开设有第一通槽,伸缩梁的一端的上部固设有多个挡板其另一端的第一通槽内铰接有第一铰接板,第一铰接板的端部伸出伸缩梁,第一通槽内固定设有第一立柱,第一铰接板上开设有第一半圆槽,第一立柱上开设有第一螺纹孔,第一半圆槽与第一螺纹孔同轴设置,主梁的端部开设有第二通槽,第二通槽内铰接有第二铰接板,第二铰接板的端部伸出所述主梁,第二通槽内固定设有第二立柱,第二铰接板上开设有第二半圆槽,第二立柱上开设有第二螺纹孔,第二半圆槽与第二螺纹孔同轴设置,主梁滑动设置在第一通槽内,采用此种支架,达到使得井筒平台安装便捷的目的。
The utility model relates to a telescopic wellbore platform support. The wellbore platform support comprises a telescopic beam and a main beam. The telescopic beam is provided with a first through groove along its length direction, and a plurality of baffles are fixed on the upper part of one end of the telescopic beam. A first hinge plate is hinged in the first through groove at the other end, the end of the first hinge plate extends out of a telescopic beam, a first column is fixed in the first through groove, and a first semicircular groove is opened on the first hinge plate , the first column is provided with a first threaded hole, the first semicircular groove is coaxially arranged with the first threaded hole, the end of the main beam is provided with a second through groove, and the second through groove is hinged with a second hinge plate, the first The ends of the two hinge plates protrude from the main beam, the second through groove is fixed with a second column, the second hinge plate is provided with a second semicircular groove, the second column is provided with a second threaded hole, the second The semicircular groove and the second threaded hole are coaxially arranged, and the main beam is slidably arranged in the first through groove. The use of such a bracket achieves the purpose of facilitating the installation of the wellbore platform.
Description
技术领域technical field
本实用新型涉及建筑爬架领域,具体涉及一种伸缩式井筒平台支架。The utility model relates to the field of building climbing frames, in particular to a telescopic shaft platform support.
背景技术Background technique
井筒平台主要用于高层建筑物的电梯井、设备井、楼梯间等井筒结构的混凝土浇筑。混凝土的侧压力主要由穿墙螺杆承担,使用简单、迅速,经济,组成井筒平台的组要支撑件为其下部的支架,一般的搭建过程中通常在支架的两端设置螺纹孔,然后通过两个墙体上的螺栓与螺纹孔分别螺纹连接从而固定支架,最终使得井筒平台得到固定,而传统中由于墙体之间的距离不是固定不变的,通常需要现场量取墙体之间的距离,进而才能够确定支架的长度,然后进行现场切割支架,并且从新打孔,费时费力,为此,急需一种支架来解决现有问题。Shaft platforms are mainly used for concrete pouring of shaft structures such as elevator shafts, equipment shafts, and stairwells in high-rise buildings. The lateral pressure of the concrete is mainly borne by the through-wall screw, which is simple, fast and economical to use. The support part of the group forming the wellbore platform is the lower bracket. In the general construction process, threaded holes are usually set at both ends of the bracket, and then through the two The bolts on the walls and the threaded holes are respectively threaded to fix the bracket, and finally the wellbore platform is fixed. However, in the traditional way, because the distance between the walls is not fixed, it is usually necessary to measure the distance between the walls on site. Then, the length of the stent can be determined, and then the stent can be cut on site, and new holes are drilled, which is time-consuming and labor-intensive. Therefore, a stent is urgently needed to solve the existing problem.
实用新型内容Utility model content
为解决上述技术问题,本实用新型之目的在于提供一种伸缩式井筒平台支架,达到使得井筒平台安装便捷的目的。In order to solve the above-mentioned technical problems, the purpose of the present invention is to provide a telescopic wellbore platform support, so as to achieve the purpose of facilitating the installation of the wellbore platform.
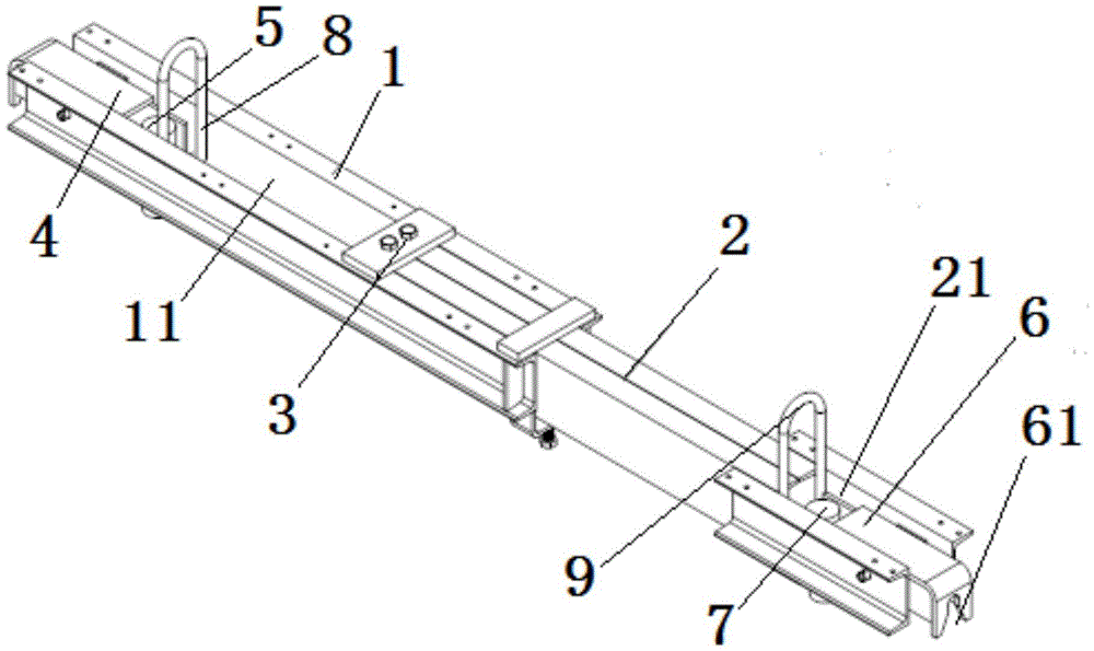
为实现上述目的,本实用新型之一种伸缩式井筒平台支架,所述井筒平台支架包括伸缩梁和主梁,所述伸缩梁沿其长度方向上开设有贯穿的第一通槽,所述伸缩梁的一端的上部固设有多个挡板,所述伸缩梁的另一端的所述第一通槽内铰接有第一铰接板,所述第一铰接板的端部伸出所述伸缩梁,所述第一通槽内固定设有第一立柱,所述第一铰接板沿其长度方向上开设有贯穿的第一半圆槽,所述第一立柱上开设有第一螺纹孔,所述第一半圆槽与所述第一螺纹孔同轴设置;In order to achieve the above purpose, a telescopic wellbore platform support of the present invention, the wellbore platform support comprises a telescopic beam and a main beam, the telescopic beam is provided with a first through groove along its length direction, the telescopic beam is A plurality of baffles are fixed on the upper part of one end of the beam, a first hinge plate is hinged in the first through groove of the other end of the telescopic beam, and the end of the first hinge plate protrudes from the telescopic beam , a first column is fixed in the first through slot, the first hinge plate is provided with a first semicircular groove along its length direction, a first threaded hole is opened on the first column, the The first semicircular groove is coaxial with the first threaded hole;
所述主梁的端部开设有第二通槽,所述第二通槽内铰接有第二铰接板,所述第二铰接板的端部伸出所述主梁,所述第二通槽内固定设有第二立柱,所述第二铰接板沿其长度方向上开设有贯穿的第二半圆槽,所述第二立柱上开设有第二螺纹孔,所述第二半圆槽与所述第二螺纹孔同轴设置;The end of the main beam is provided with a second through groove, a second hinge plate is hinged in the second through groove, the end of the second hinge plate protrudes from the main beam, and the second through groove A second column is fixed inside, the second hinge plate is provided with a second semicircular groove along its length direction, a second threaded hole is opened on the second column, and the second semicircle groove and the The second threaded hole is coaxially arranged;
所述主梁滑动设置在所述第一通槽内。The main beam is slidably arranged in the first through groove.
进一步,所述第一通槽固定设有第一限位板,所述第二通槽固定设有第二限位板,所述第一立柱位于所述第一铰接板与所述第一限位板之间,所述第二立柱位于所述第二铰接板与所述第二限位板之间。Further, the first through groove is fixed with a first limit plate, the second through groove is fixed with a second limit plate, and the first column is located between the first hinge plate and the first limit plate. between the position plates, the second column is located between the second hinge plate and the second limit plate.
进一步,所述挡板为两个,其中一所述挡板固定设置在所述伸缩梁的上端部,另一所述挡板固定设置在所述伸缩梁的上中部。Further, there are two baffles, one of which is fixedly arranged at the upper end of the telescopic beam, and the other baffle is fixedly arranged at the upper middle of the telescopic beam.
进一步,所述第一限位板螺纹连接在所述第一通槽内,所述第二限位板螺纹连接在所述第二通槽内。Further, the first limiting plate is threaded in the first through groove, and the second limiting plate is threaded in the second through groove.
本实用新型与现有技术相比,其有益效果是:Compared with the prior art, the utility model has the following beneficial effects:
在实际使用过程中,首先量取两个墙体之间的距离,然后取出伸缩梁与主梁,并把主梁插入到伸缩梁中,同时,使得第一铰接板与第二铰接板保持水平状态,然后量取第一铰接板与第二铰接板之间的距离,使其与墙体之间的距离相等,接着,向下扳动第一铰接板与第二铰接板,使得其转动一定的角度,起到防止在吊其该井筒平台支架时,刮伤墙体,进而影响墙体的整体美观,再向下调动的过程中,直至第一铰接板上的第一半圆槽与第二铰接板的第二半圆槽与墙体螺栓相互接触(由于采用的是第一半圆槽,因而在下降的过程中,墙体螺栓可以自动对心到第一半圆槽内),由于第一铰接板与第二铰接板分别设置在第一通槽与第二通槽内,因而第一铰接板与第二铰接板旋转的极限位置只能与主梁保持平行,然后分别拧紧两个墙体螺栓使得其分别与第一螺纹孔与第二螺纹孔相互配合,进而实现井筒平台支架的固定。In the actual use process, first measure the distance between the two walls, then take out the telescopic beam and the main beam, and insert the main beam into the telescopic beam, at the same time, keep the first hinge plate and the second hinge plate horizontal state, then measure the distance between the first hinge plate and the second hinge plate to make it equal to the distance between the wall, and then pull the first hinge plate and the second hinge plate downward to make them rotate a certain amount The angle of the shaft platform prevents the wall from being scratched when the shaft platform support is lifted, thereby affecting the overall appearance of the wall. The second semicircular groove of the hinge plate is in contact with the wall bolts (because the first semicircular groove is used, the wall bolts can be automatically centered into the first semicircular groove during the descending process). The second hinge plate and the second hinge plate are respectively arranged in the first through groove and the second through groove, so the limit position of the rotation of the first hinge plate and the second hinge plate can only be kept parallel to the main beam, and then the two wall bolts are respectively tightened to make They are respectively matched with the first threaded hole and the second threaded hole, thereby realizing the fixation of the wellbore platform support.
附图说明Description of drawings
图1是本实用新型一种伸缩式井筒平台支架的立体图;1 is a perspective view of a telescopic wellbore platform support of the present utility model;
图2是本实用新型一种伸缩式井筒平台支架的安装流程图。Figure 2 is a flow chart of the installation of a telescopic wellbore platform support of the present invention.
图中:1、伸缩梁;11、第一通槽;2、主梁;21、第二通槽;3、挡板;4、第一铰接板;5、第一立柱;6、第二铰接板;61、第二半圆槽;7、第二立柱;8、第一限位板;9、第二限位板;10、墙体;13、墙体螺栓;12、井筒平台支架。In the figure: 1, telescopic beam; 11, first through slot; 2, main beam; 21, second through slot; 3, baffle plate; 4, first hinge plate; 5, first column; 6, second hinge plate; 61, the second semicircular groove; 7, the second column; 8, the first limit plate; 9, the second limit plate; 10, the wall; 13, the wall bolt; 12, the wellbore platform bracket.
具体实施方式Detailed ways
为详细说明本实用新型之技术内容、构造特征、所达成目的及功效,以下兹例举实施例并配合附图详予说明。In order to describe the technical content, structural features, achieved objects and effects of the present invention in detail, the following examples are given and described in detail with the accompanying drawings.
在本实用新型的描述中,需要理解的是,术语“中心”、“纵向”、“横向”、“前”、“后”、“左”、“右”、“竖直”、“水平”、“顶”、“底”、“内”、“外”等指示的方位或位置关系为基于附图所示的方位或位置关系,仅是为了便于描述本实用新型和简化描述,而不是指示或暗示所指的装置或元件必须具有特定的方位、以特定的方位构造和操作,因此不能理解为对本实用新型保护范围的限制。In the description of the present invention, it should be understood that the terms "center", "longitudinal", "horizontal", "front", "rear", "left", "right", "vertical", "horizontal" , "top", "bottom", "inside", "outside" and other indicated orientations or positional relationships are based on the orientations or positional relationships shown in the accompanying drawings, only for the convenience of describing the present utility model and simplifying the description, rather than indicating Or imply that the indicated device or element must have a specific orientation, be constructed and operated in a specific orientation, and therefore should not be construed as a limitation on the protection scope of the present invention.
请参阅图1所示,并结合图2所示,本实用新型提供一种实施方案:Please refer to Fig. 1, and in conjunction with Fig. 2, the utility model provides an embodiment:
本实用新型提供为实现上述目的,本实用新型之一种伸缩式井筒平台支架,所述井筒平台支架12包括伸缩梁1和主梁2,所述伸缩梁1沿其长度方向上开设有贯穿的第一通槽11,所述伸缩梁1的一端的上部固设有多个挡板3,所述伸缩梁1的另一端的所述第一通槽11内铰接有第一铰接板4,所述第一铰接板4的端部伸出所述伸缩梁1,所述第一通槽11内固定设有第一立柱5,所述第一铰接板4沿其长度方向上开设有贯穿的第一半圆槽,所述第一立柱5上开设有第一螺纹孔,所述第一半圆槽与所述第一螺纹孔同轴设置;The present invention provides a telescopic wellbore platform support of the present invention to achieve the above-mentioned purpose. The
所述主梁2的端部开设有第二通槽21,所述第二通槽21内铰接有第二铰接板6,所述第二铰接板6的端部伸出所述主梁2,所述第二通槽21内固定设有第二立柱7,所述第二铰接板6沿其长度方向上开设有贯穿的第二半圆槽61,所述第二立柱7上开设有第二螺纹孔,所述第二半圆槽61与所述第二螺纹孔同轴设置;The end of the
所述主梁2滑动设置在所述第一通槽11内。The
在实际使用过程中,首先量取两个墙体10之间的距离,然后取出伸缩梁1与主梁2,并把主梁2插入到伸缩梁1中,同时,使得第一铰接板4与第二铰接板6保持水平状态,然后量取第一铰接板4与第二铰接板6之间的距离,使其与墙体10之间的距离相等,接着,向下扳动第一铰接板4与第二铰接板6,使得其转动一定的角度,起到防止在吊其该井筒平台支架12时,刮伤墙体10,进而影响墙体10的整体美观,再向下调动的过程中,直至第一铰接板4上的第一半圆槽与第二铰接板6的第二半圆槽61与墙体螺栓13相互接触(由于采用的是第一半圆槽,因而在下降的过程中,墙体螺栓13可以自动对心到第一半圆槽内),由于第一铰接板4与第二铰接板6分别设置在第一通槽11与第二通槽21内,因而第一铰接板4与第二铰接板6旋转的极限位置只能与主梁2保持平行,然后分别拧紧两个墙体螺栓13使得其分别与第一螺纹孔与第二螺纹孔相互配合,进而实现井筒平台支架12的固定;In the actual use process, first measure the distance between the two
进一步,所述第一通槽11固定设有第一限位板8,所述第二通槽21固定设有第二限位板9,所述第一立柱5位于所述第一铰接板4与所述第一限位板8之间,所述第二立柱(7)位于所述第二铰接板(6)与所述第二限位板(9)之间。Further, the first through
进一步,所述挡板3为两个,其中一所述挡板3固定设置在所述伸缩梁1的上端部,另一所述挡板3固定设置在所述伸缩梁1的上中部。Further, there are two
用材较少,节约成本。Less material and cost saving.
进一步,所述第一限位板8螺纹连接在所述第一通槽11内,所述第二限位板9螺纹连接在所述第二通槽21内。Further, the first limiting plate 8 is threaded in the first through
方便前期安装与后期拆卸。It is convenient for pre-installation and post-disassembly.
Claims (4)
Priority Applications (1)
| Application Number | Priority Date | Filing Date | Title |
|---|---|---|---|
| CN201921926044.1U CN211114733U (en) | 2019-11-07 | 2019-11-07 | Telescopic shaft platform support |
Applications Claiming Priority (1)
| Application Number | Priority Date | Filing Date | Title |
|---|---|---|---|
| CN201921926044.1U CN211114733U (en) | 2019-11-07 | 2019-11-07 | Telescopic shaft platform support |
Publications (1)
| Publication Number | Publication Date |
|---|---|
| CN211114733U true CN211114733U (en) | 2020-07-28 |
Family
ID=71714660
Family Applications (1)
| Application Number | Title | Priority Date | Filing Date |
|---|---|---|---|
| CN201921926044.1U Expired - Fee Related CN211114733U (en) | 2019-11-07 | 2019-11-07 | Telescopic shaft platform support |
Country Status (1)
| Country | Link |
|---|---|
| CN (1) | CN211114733U (en) |
Cited By (2)
| Publication number | Priority date | Publication date | Assignee | Title |
|---|---|---|---|---|
| CN111962909A (en) * | 2020-10-21 | 2020-11-20 | 上海建工五建集团有限公司 | Slidable supporting system suitable for vertical narrow space |
| CN112110316A (en) * | 2020-09-21 | 2020-12-22 | 马利群 | Elevator shaft traction rotary telescopic construction elevator and installation and use method thereof |
-
2019
- 2019-11-07 CN CN201921926044.1U patent/CN211114733U/en not_active Expired - Fee Related
Cited By (2)
| Publication number | Priority date | Publication date | Assignee | Title |
|---|---|---|---|---|
| CN112110316A (en) * | 2020-09-21 | 2020-12-22 | 马利群 | Elevator shaft traction rotary telescopic construction elevator and installation and use method thereof |
| CN111962909A (en) * | 2020-10-21 | 2020-11-20 | 上海建工五建集团有限公司 | Slidable supporting system suitable for vertical narrow space |
Similar Documents
| Publication | Publication Date | Title |
|---|---|---|
| CN211114733U (en) | Telescopic shaft platform support | |
| CN209686905U (en) | A kind of foldable positioning diagonal brace of precast shear wall | |
| CN207776470U (en) | A kind of building side column protective platform | |
| CN217461447U (en) | Shear force wall is with anti bank template fixing device of stagnant water | |
| CN105484505B (en) | A kind of vertical concrete structure climbing device of variable-angle and its application method | |
| CN210067410U (en) | Support device for climbing scaffold | |
| CN219194212U (en) | Automatic unblock hoist and mount frame of assembled building | |
| CN207420080U (en) | A kind of outer protective frame of door-window opening | |
| CN206957203U (en) | Full working scope adaptive type socket joint type disk button steel pipe support system | |
| CN212129876U (en) | A top support structure for a climbing frame anti-fall device | |
| CN201011010Y (en) | Point type curtain wall adjusting support | |
| CN205577379U (en) | Low -cost external construction platform | |
| CN205637632U (en) | Special instrument holder is rectified in installation of shaped steel post | |
| CN212154110U (en) | A kind of external wall scaffolding support device for building | |
| CN218678292U (en) | Wire harness combined support | |
| CN220170254U (en) | Perpendicularity detection device convenient to remove | |
| CN206368655U (en) | A kind of bright frame glass curtain wall coupling type hangs window anti-drop device | |
| CN209244243U (en) | A kind of fixed device of fashioned iron sizing tripod for builder's jack | |
| CN219100666U (en) | Climbing form lower hanging platform stabilizing mechanism | |
| CN219753527U (en) | Dampproofing building board for ancient building | |
| CN218950727U (en) | A construction elevator protection device | |
| CN111706065B (en) | Can have enough to meet need outer wall scaffold frame drawknot device of use | |
| CN204456749U (en) | A kind of PC cladding panel upper limit connector | |
| CN217232692U (en) | Frame pipe joint suitable for building outer wall overhanging plate | |
| CN204492135U (en) | Adjustable steel tube supports |
Legal Events
| Date | Code | Title | Description |
|---|---|---|---|
| GR01 | Patent grant | ||
| GR01 | Patent grant | ||
| CF01 | Termination of patent right due to non-payment of annual fee | ||
| CF01 | Termination of patent right due to non-payment of annual fee |
Granted publication date: 20200728 |
