CN211083647U - Integrated L ED lamp - Google Patents
Integrated L ED lamp Download PDFInfo
- Publication number
- CN211083647U CN211083647U CN201922358528.7U CN201922358528U CN211083647U CN 211083647 U CN211083647 U CN 211083647U CN 201922358528 U CN201922358528 U CN 201922358528U CN 211083647 U CN211083647 U CN 211083647U
- Authority
- CN
- China
- Prior art keywords
- buckle
- aluminum groove
- aluminum
- power supply
- pcb board
- Prior art date
- Legal status (The legal status is an assumption and is not a legal conclusion. Google has not performed a legal analysis and makes no representation as to the accuracy of the status listed.)
- Expired - Fee Related
Links
- XAGFODPZIPBFFR-UHFFFAOYSA-N aluminium Chemical compound [Al] XAGFODPZIPBFFR-UHFFFAOYSA-N 0.000 claims abstract description 32
- 229910052782 aluminium Inorganic materials 0.000 claims abstract description 32
- 238000009434 installation Methods 0.000 claims abstract description 18
- 239000011324 bead Substances 0.000 claims abstract description 6
- 238000000034 method Methods 0.000 abstract description 5
- AZDRQVAHHNSJOQ-UHFFFAOYSA-N alumane Chemical group [AlH3] AZDRQVAHHNSJOQ-UHFFFAOYSA-N 0.000 abstract description 3
- 241001465382 Physalis alkekengi Species 0.000 description 3
- 238000012986 modification Methods 0.000 description 2
- 230000004048 modification Effects 0.000 description 2
- 230000009286 beneficial effect Effects 0.000 description 1
- 239000011111 cardboard Substances 0.000 description 1
- 238000010586 diagram Methods 0.000 description 1
- 238000011900 installation process Methods 0.000 description 1
- 239000000463 material Substances 0.000 description 1
Images
Landscapes
- Non-Portable Lighting Devices Or Systems Thereof (AREA)
Abstract
本实用新型公开了一种整合安装LED灯具,包括铝槽、PCB板、电源和灯罩,所述PCB板固定安装在铝槽内底部,所述PCB板的端面设置有灯珠,所述灯罩的安装侧边设置有卡边,并通过卡边与铝槽的安装端滑动安装;所述铝槽的底部通过卡扣固定安装有卡板,所述卡板的底部设置有与卡扣相对的卡扣二,所述电源通过卡扣二固定安装在铝槽底部设置。该整合安装LED灯具,具备利用新型卡扣把驱动电源固定在灯罩PCB铝材部分,可以减少人工消耗,降低组装技术要求和设备的配套,灯具也更加美观的优点,解决了现有LED灯具安装结构复杂,灯具的加工组装工序复杂的问题。
The utility model discloses an integrated installation LED lamp, which comprises an aluminum groove, a PCB board, a power supply and a lampshade. The PCB board is fixedly mounted on the inner bottom of the aluminum groove, and lamp beads are arranged on the end face of the PCB board. The mounting side is provided with a card edge, which is slidably installed with the mounting end of the aluminum groove; the bottom of the aluminum groove is fixedly installed with a card plate through a buckle, and the bottom of the card plate is provided with a card opposite to the buckle. The second buckle, the power supply is fixedly installed on the bottom of the aluminum groove through the second buckle. The integrated installation of LED lamps has the advantages of using a new type of buckle to fix the driving power supply on the aluminum part of the lampshade PCB, which can reduce labor consumption, reduce assembly technical requirements and equipment matching, and the lamps are more beautiful, which solves the installation of existing LED lamps. The structure is complex, and the processing and assembly procedures of the lamps are complex.
Description
技术领域technical field
本实用新型涉及LED灯具技术领域,具体为一种整合安装LED灯具。The utility model relates to the technical field of LED lamps, in particular to an integrated installation LED lamp.
背景技术Background technique
对于一般照明而言,人们比较需要白色的光源,因此越来越多的LED灯具进入人们的生活中,现有的LED灯在组装时,把LED电源通过螺丝固定在灯具内部,这种安装结构导致灯具的加工组装工序复杂,样式也存在改进空间。For general lighting, people need a white light source, so more and more LED lamps enter people's lives. When the existing LED lamps are assembled, the LED power supply is fixed inside the lamp by screws. This installation structure As a result, the processing and assembly procedures of the lamps are complicated, and there is room for improvement in the style.
实用新型内容Utility model content
本实用新型的目的在于提供一种整合安装LED灯具,具备利用新型卡扣把驱动电源固定在灯罩PCB铝材部分,可以减少人工消耗,降低组装技术要求和设备的配套,灯具也更加美观的优点,解决了现有LED灯具安装结构复杂,灯具的加工组装工序复杂的问题。The purpose of the utility model is to provide an integrated installation LED lamp, which has the advantages of using a new type of buckle to fix the driving power supply on the aluminum part of the lampshade PCB, which can reduce labor consumption, reduce assembly technical requirements and equipment matching, and the lamp is more beautiful. It solves the problems of complicated installation structure of the existing LED lamps and complicated processing and assembly procedures of the lamps.
为实现上述目的,本实用新型提供如下技术方案:一种整合安装LED灯具,包括铝槽、PCB板、电源和灯罩,所述PCB板固定安装在铝槽内底部,所述PCB板的端面设置有灯珠,所述灯罩的安装侧边设置有卡边,并通过卡边与铝槽的安装端滑动安装;In order to achieve the above purpose, the present utility model provides the following technical solutions: an integrated installation of LED lamps, including an aluminum groove, a PCB board, a power supply and a lampshade, the PCB board is fixedly installed at the bottom of the aluminum groove, and the end face of the PCB board is provided with There are lamp beads, and the installation side of the lampshade is provided with a clamping edge, and is slidably installed through the clamping edge and the installation end of the aluminum groove;
所述铝槽的底部通过卡扣固定安装有卡板,所述卡板的底部设置有与卡扣相对的卡扣二,所述电源通过卡扣二固定安装在铝槽底部设置。整合安装LED灯具,具备利用新型卡扣把驱动电源固定在灯罩PCB铝材部分,可以减少人工消耗,降低组装技术要求和设备的配套,灯具也更加美观的优点,解决了现有LED灯具安装结构复杂,灯具的加工组装工序复杂的问题。The bottom of the aluminum groove is fixedly installed with a card plate through the buckle, the bottom of the card plate is provided with a second buckle opposite the buckle, and the power supply is fixedly installed at the bottom of the aluminum groove through the second buckle. The integrated installation of LED lamps has the advantages of using a new type of buckle to fix the driving power supply on the aluminum part of the lampshade PCB, which can reduce labor consumption, reduce assembly technical requirements and equipment matching, and the lamps are more beautiful, which solves the existing LED lamp installation structure. It is complicated, and the processing and assembling process of lamps and lanterns is complicated.
进一步的,所述灯罩呈外弧状覆盖在铝槽的上方上设置。Further, the lampshade is arranged on the top of the aluminum groove in an outer arc shape.
与现有技术相比,本实用新型的有益效果如下:Compared with the prior art, the beneficial effects of the present utility model are as follows:
1、本实用新型在铝槽的底部通过卡扣安装卡板,卡板的底部通过卡扣与电源安装,铝槽的底部通过卡板两侧的卡扣和卡扣二分别与铝材的底部和电源进行组装,可以减少人工消耗,降低组装技术要求和设备的配套,灯具也更加美观。1. The utility model installs the card plate through the buckle at the bottom of the aluminum groove, the bottom of the card plate is installed with the power supply through the buckle, and the bottom of the aluminum groove is respectively connected with the bottom of the aluminum material through the buckle and the second buckle on both sides of the card plate. Assembling with the power supply can reduce labor consumption, reduce assembly technical requirements and equipment matching, and the lamps and lanterns are more beautiful.
附图说明Description of drawings
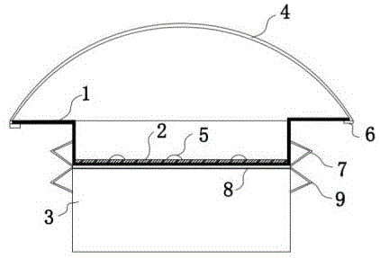
图1为本实用新型整体结构示意图。Figure 1 is a schematic diagram of the overall structure of the utility model.
图中:铝槽1;PCB板2;电源3;灯罩4;灯珠5;卡边6;卡扣7;卡板8;卡扣二9。In the figure:
具体实施方式Detailed ways
下面将结合本实用新型实施例中的附图,对本实用新型实施例中的技术方案进行清楚、完整地描述,显然,所描述的实施例仅仅是本实用新型一部分实施例,而不是全部的实施例。基于本实用新型中的实施例,本领域普通技术人员在没有做出创造性劳动前提下所获得的所有其他实施例,都属于本实用新型保护的范围。The technical solutions in the embodiments of the present utility model will be clearly and completely described below with reference to the accompanying drawings in the embodiments of the present utility model. Obviously, the described embodiments are only a part of the embodiments of the present utility model, rather than all the implementations. example. Based on the embodiments of the present invention, all other embodiments obtained by those of ordinary skill in the art without creative work fall within the protection scope of the present invention.
请参阅图1,一种整合安装LED灯具,包括铝槽1、PCB板2、电源3和灯罩4,所述PCB板2固定安装在铝槽1内底部,所述PCB板2的端面设置有灯珠5,所述灯罩4的安装侧边设置有卡边6,并通过卡边6与铝槽1的安装端滑动安装;Please refer to FIG. 1, an integrated installation of LED lamps includes an
所述铝槽1的底部通过卡扣7固定安装有卡板8,所述卡板8的底部设置有与卡扣7相对的卡扣二9,所述电源3通过卡扣二9固定安装在铝槽1底部设置。The bottom of the
具体的,所述灯罩4呈外弧状覆盖在铝槽1的上方上设置。Specifically, the
使用时,电源3的输出端设置有线路,线路的输出端穿过铝槽1与PCB板2的输入端通过线路连接,PCB板2安装在铝槽1内部,灯罩4通过卡边6与铝槽1的侧边滑动安装,对PCB板2端面的灯珠5覆盖透光,卡板8通过两侧的卡扣7与铝槽1的底部卡装固定,并通过卡扣二9与电源3进行固定卡装,使得电源3通过卡扣二9、卡板8和卡扣7的配合与铝槽1底部固定安装,不用通过螺丝,也不用单独安装电源驱动,降低对灯具安装工序,可以减少人工消耗,降低组装技术要求和设备的配套,灯具也更加美观。When in use, the output end of the
尽管已经示出和描述了本实用新型的实施例,对于本领域的普通技术人员而言,可以理解在不脱离本实用新型的原理和精神的情况下可以对这些实施例进行多种变化、修改、替换和变型,本实用新型的范围由所附权利要求及其等同物限定。Although the embodiments of the present invention have been shown and described, it will be understood by those skilled in the art that various changes and modifications can be made to these embodiments without departing from the principles and spirit of the present invention , alternatives and modifications, the scope of the present invention is defined by the appended claims and their equivalents.
Claims (2)
Priority Applications (1)
| Application Number | Priority Date | Filing Date | Title |
|---|---|---|---|
| CN201922358528.7U CN211083647U (en) | 2019-12-25 | 2019-12-25 | Integrated L ED lamp |
Applications Claiming Priority (1)
| Application Number | Priority Date | Filing Date | Title |
|---|---|---|---|
| CN201922358528.7U CN211083647U (en) | 2019-12-25 | 2019-12-25 | Integrated L ED lamp |
Publications (1)
| Publication Number | Publication Date |
|---|---|
| CN211083647U true CN211083647U (en) | 2020-07-24 |
Family
ID=71647823
Family Applications (1)
| Application Number | Title | Priority Date | Filing Date |
|---|---|---|---|
| CN201922358528.7U Expired - Fee Related CN211083647U (en) | 2019-12-25 | 2019-12-25 | Integrated L ED lamp |
Country Status (1)
| Country | Link |
|---|---|
| CN (1) | CN211083647U (en) |
-
2019
- 2019-12-25 CN CN201922358528.7U patent/CN211083647U/en not_active Expired - Fee Related
Similar Documents
| Publication | Publication Date | Title |
|---|---|---|
| CN211083647U (en) | Integrated L ED lamp | |
| CN206449500U (en) | A kind of ultra-thin panel light of waterproof | |
| CN107314327A (en) | A kind of high-performance being easily installed, inexpensive high shed light | |
| CN207687828U (en) | A kind of LED panel lamp | |
| CN206439699U (en) | A LED panel light | |
| CN206176126U (en) | New transparent strip light source module | |
| CN213599215U (en) | A new type of surface mounted downlight | |
| CN210050612U (en) | LED special-shaped panel lamp | |
| CN207921867U (en) | A LED multifunctional installation panel light | |
| CN209213576U (en) | A kind of LED wall lamp | |
| CN206093708U (en) | LED panel lamp | |
| CN211475656U (en) | Plastic panel lamp capable of being installed rapidly | |
| CN204647949U (en) | A kind of line lamp | |
| CN211780561U (en) | Novel wall lamp | |
| CN216743956U (en) | A polymer light guide line lamp | |
| CN222597531U (en) | Line lamp | |
| CN205065315U (en) | Led lamp | |
| CN205226984U (en) | Indirect illumination LED lamp panel | |
| CN222392772U (en) | Line lamp | |
| CN214790565U (en) | Simply install LED fluorescent tube | |
| CN209819306U (en) | A new type of panel light | |
| CN211853604U (en) | An arc-shaped diffuse reflection high-efficiency plastic lamp | |
| CN213118576U (en) | Line lamp with corner decoration function | |
| CN210687961U (en) | Novel conveniently-combined LED illuminating lamp | |
| CN211624984U (en) | Arc-angle surface light emitting and spot light emitting LED lamp with improved structure |
Legal Events
| Date | Code | Title | Description |
|---|---|---|---|
| GR01 | Patent grant | ||
| GR01 | Patent grant | ||
| CF01 | Termination of patent right due to non-payment of annual fee | ||
| CF01 | Termination of patent right due to non-payment of annual fee |
Granted publication date: 20200724 Termination date: 20211225 |
