CN210983275U - A cooling device for deep learning computer vision analysis host - Google Patents
A cooling device for deep learning computer vision analysis host Download PDFInfo
- Publication number
- CN210983275U CN210983275U CN201921799889.9U CN201921799889U CN210983275U CN 210983275 U CN210983275 U CN 210983275U CN 201921799889 U CN201921799889 U CN 201921799889U CN 210983275 U CN210983275 U CN 210983275U
- Authority
- CN
- China
- Prior art keywords
- host
- chassis
- power supply
- deep learning
- computer vision
- Prior art date
- Legal status (The legal status is an assumption and is not a legal conclusion. Google has not performed a legal analysis and makes no representation as to the accuracy of the status listed.)
- Expired - Fee Related
Links
- 238000013135 deep learning Methods 0.000 title claims abstract description 28
- 238000001816 cooling Methods 0.000 title claims abstract description 25
- 230000007246 mechanism Effects 0.000 claims abstract description 9
- 238000009434 installation Methods 0.000 claims description 4
- 230000017525 heat dissipation Effects 0.000 abstract description 13
- 230000000694 effects Effects 0.000 abstract description 2
- 238000012423 maintenance Methods 0.000 abstract description 2
- 230000006870 function Effects 0.000 description 5
- 239000000428 dust Substances 0.000 description 3
- 238000000034 method Methods 0.000 description 3
- 210000004556 brain Anatomy 0.000 description 2
- 238000010586 diagram Methods 0.000 description 2
- 230000000007 visual effect Effects 0.000 description 2
- 238000013528 artificial neural network Methods 0.000 description 1
- 230000007547 defect Effects 0.000 description 1
- 238000005516 engineering process Methods 0.000 description 1
- 238000010801 machine learning Methods 0.000 description 1
- 238000012986 modification Methods 0.000 description 1
- 230000004048 modification Effects 0.000 description 1
- 238000012544 monitoring process Methods 0.000 description 1
- 230000008450 motivation Effects 0.000 description 1
- 230000008569 process Effects 0.000 description 1
- 238000011160 research Methods 0.000 description 1
- 238000003466 welding Methods 0.000 description 1
Images
Landscapes
- Cooling Or The Like Of Electrical Apparatus (AREA)
Abstract
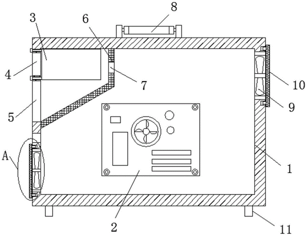
本实用新型涉及一种深度学习计算机视觉分析主机的散热装置,包括主机机箱,主机机箱内设有主机电源和集成装置,主机机箱的箱体为半包围式结构,主机机箱的敞口侧可拆卸安装检修门板,主机机箱的侧部设有电源进风口和电源出风口,主机机箱的顶部内壁与电源进风口、电源出风口所在的侧部内壁之间固定有挡板,当检修门板安装在主机机箱上,挡板靠近主机机箱敞口侧的一端与检修门板相抵,主机机箱靠近主机电源的一侧底部设有进风口,进风口设有散热风扇,主机机箱远离机箱电源的一侧顶部设有出风口,出风口设有抽风扇,进风口和出风口设有防尘机构。与现有技术相比,本实用新型具有减少主机散热负担、检修方便、防尘效果好等优点。
The utility model relates to a heat dissipation device for a deep learning computer vision analysis host, comprising a host chassis, a host power supply and an integrated device are arranged in the host chassis, the box body of the host chassis is a semi-enclosed structure, and the open side of the host chassis is detachable Install the access door panel. The side of the host chassis is provided with a power supply air inlet and a power outlet. A baffle is fixed between the top inner wall of the host chassis and the side inner wall where the power supply air inlet and power outlet are located. When the access door panel is installed on the host On the chassis, the end of the baffle close to the open side of the host chassis is in contact with the access door panel. The side of the host chassis close to the host power supply is provided with an air inlet at the bottom, and the air intake is provided with a cooling fan. The top side of the host chassis away from the chassis power supply has an air inlet. The air outlet is provided with a suction fan, and the air inlet and the air outlet are provided with a dustproof mechanism. Compared with the prior art, the utility model has the advantages of reducing the heat dissipation burden of the host, convenient maintenance, and good dustproof effect.
Description
技术领域technical field
本实用新型涉及一种深度学习计算机的散热设备,尤其是涉及一种深度学习计算机视觉分析主机的散热装置。The utility model relates to a heat dissipation device of a deep learning computer, in particular to a heat dissipation device of a computer vision analysis host of the deep learning.
背景技术Background technique
深度学习是机器学习研究中的一个新的领域,其动机在于建立、模拟人脑进行分析学习的神经网络,它模仿人脑的机制来解释数据,例如图像,声音和文本。视觉分析是通过将场景中背景和目标分离进而分析并追踪在摄像机场景内出现的目标。用户可以根据的视频内容分析功能,通过在不同摄像机的场景中预设不同的报警规则,一旦目标在场景中出现了违反预定义规则的行为,系统会自动发出报警,监控工作站自动弹出报警信息并发出警示音。深度学习和视觉分析的实现离不开计算机技术的支撑。Deep learning is a new field in machine learning research, and its motivation is to build and simulate the neural network of the human brain for analytical learning, which imitates the mechanism of the human brain to interpret data, such as images, sounds and texts. Visual analysis is to analyze and track objects that appear in the camera scene by separating the background and objects in the scene. According to the video content analysis function, users can preset different alarm rules in different camera scenes. Once the target violates the predefined rules in the scene, the system will automatically issue an alarm, and the monitoring workstation will automatically pop up an alarm message and A warning tone sounds. The realization of deep learning and visual analysis is inseparable from the support of computer technology.
计算机电源是深度学习计算机主机必不可缺的一部分,计算机电源在运行的过程中会散热热量,而计算机电源自带的散热风扇会对计算机电源进行散热,但是计算机电源自带的散热风扇对计算机电源进行散热的过程中,会将深度学习计算机主机外部的空气抽进计算机电源的内部,然后将带有计算机电源运行中产生热量的空气吹进深度学习计算机主机的内部,增加深度学习计算机主机散热的负担,严重的还会导致深度学习计算机主机内部的其他元器件由于温度过高损坏。The computer power supply is an indispensable part of the deep learning computer host. The computer power supply will dissipate heat during operation, and the cooling fan that comes with the computer power supply will dissipate heat from the computer power supply. In the process of cooling, the air outside the deep learning computer host will be drawn into the inside of the computer power supply, and then the air with the heat generated during the operation of the computer power supply will be blown into the deep learning computer host. It can also cause serious damage to other components inside the deep learning computer host due to excessive temperature.
实用新型内容Utility model content
本实用新型的目的就是为了克服上述现有技术存在的缺陷而提供一种深度学习计算机视觉分析主机的散热装置。The purpose of the present invention is to provide a cooling device for a computer vision analysis host for deep learning in order to overcome the above-mentioned defects of the prior art.
本实用新型的目的可以通过以下技术方案来实现:The purpose of the present utility model can be achieved through the following technical solutions:
一种深度学习计算机视觉分析主机的散热装置,包括主机机箱,主机机箱内设有主机电源和集成装置,其特征在于,所述的主机机箱的箱体为半包围式结构,主机机箱的敞口侧可拆卸安装检修门板,所述的主机机箱的侧部上设有与主机电源对应设置的电源进风口和电源出风口,主机机箱的顶部内壁与电源进风口、电源出风口所在的侧部内壁之间固定有用以进行空气导向的挡板,当检修门板安装在主机机箱上,所述的挡板靠近主机机箱敞口侧的一端与检修门板相抵。A cooling device for a deep learning computer vision analysis host, comprising a host chassis, a host power supply and an integrated device are arranged in the host chassis, characterized in that the box body of the host chassis is a semi-enclosed structure, and the main chassis is open The side is detachably installed with the access door panel, the side of the host chassis is provided with a power supply air inlet and a power supply air outlet corresponding to the host power supply, and the top inner wall of the host chassis and the side inner wall where the power supply air inlet and the power supply air outlet are located A baffle for air guiding is fixed therebetween. When the access door panel is installed on the mainframe chassis, the end of the baffle close to the open side of the mainframe chassis is abutted against the access door panel.
优选地,所述的挡板为钝角结构板。Preferably, the baffle is an obtuse-angle structural plate.
优选地,所述的主机机箱靠近主机电源的一侧底部设有进风口,该进风口处固定散热风扇,所述的主机机箱远离主机电源的一侧顶部设有出风口,该出风口处固定有抽风扇。Preferably, an air inlet is arranged at the bottom of the side of the mainframe case close to the mainframe power supply, and a cooling fan is fixed at the air inlet, and an air outlet is arranged at the top of the side of the mainframe case away from the mainframe power supply, and the air outlet is fixed There is an exhaust fan.
优选地,所述的主机机箱上设有与进风口和出风口相匹配的防尘机构。Preferably, the host chassis is provided with a dust-proof mechanism matched with the air inlet and the air outlet.
优选地,所述的挡板上设有用以承载主机电源上的连接线或线束的缺口。Preferably, the baffle is provided with a notch for carrying the connecting wire or wire harness on the host power supply.
优选地,所述的防尘机构包括滤网、第一磁铁和第二磁铁,所述的滤网与进风口和出风口匹配设置,多个第一磁铁安装在所述的滤网靠近主机机箱的一侧,第一磁铁插入主机机箱后吸合第二磁铁,所述的主机机箱上设有与第二磁铁对应的安装槽。Preferably, the dustproof mechanism includes a filter screen, a first magnet and a second magnet, the filter screen is matched with the air inlet and the air outlet, and a plurality of first magnets are installed on the filter screen close to the host chassis On one side of the mainframe, the first magnet is inserted into the mainframe chassis to attract the second magnet, and the mainframe chassis is provided with an installation slot corresponding to the second magnet.
优选地,所述的缺口的尺寸与主机电源上的连接线或线束的宽度相匹配。Preferably, the size of the notch matches the width of the connecting wire or the wire harness on the host power supply.
优选地,所述的主机机箱的顶部设有转动把手。Preferably, the top of the mainframe case is provided with a turning handle.
优选地,所述的主机机箱的底部设有多个橡胶支脚。Preferably, the bottom of the host chassis is provided with a plurality of rubber feet.
优选地,所述的检修门板通过固定螺丝与主机机箱连接。Preferably, the access door panel is connected with the mainframe chassis through fixing screws.
与现有技术相比,本实用新型具有以下优点:Compared with the prior art, the utility model has the following advantages:
1、本实用新型在主机机箱上设置了为主机电源作用的电源进风口和电源出风口,主机机箱与电源进风口和电源出风口对应设置了挡板,挡板可对从主机电源排风口排出的热空气进行导向,使得热空气从电源出风口排出,实现了阻碍主机电源运行过程中产生的热空气影响到集成装置运行的功能,大大减少了主机机箱内部的散热负担;1. The utility model is provided with a power supply air inlet and a power supply air outlet for the host power supply on the mainframe chassis, and the mainframe chassis is provided with a baffle corresponding to the power supply air inlet and the power supply air outlet. The exhausted hot air is guided, so that the hot air is discharged from the power outlet, which realizes the function of hindering the hot air generated during the operation of the host power supply from affecting the operation of the integrated device, and greatly reduces the heat dissipation burden inside the host chassis;
2、挡板上设有缺口,该缺口用于使主机电源上的连接线与集成装置的电路板和显卡进行连接,便于主机电源给集成装置进行供电,同时不会影响主机电源上的连接线与集成装置连接;2. There is a gap on the baffle. The gap is used to connect the connecting line on the power supply of the host with the circuit board and graphics card of the integrated device, so that the power supply of the host can supply power to the integrated device without affecting the connecting line on the power supply of the host. connection with an integrated device;
3、本实用新型设有包含滤网、第一磁铁和第二磁铁的防尘机构,通过滤网、第一磁铁和第二磁铁的配合作用,达到了滤网固定在主机机箱的外侧壁上的效果,实现了阻碍空气中的灰尘进入到主机机箱内部的功能,同时还便于滤网的安装拆卸;3. The utility model is provided with a dust-proof mechanism including a filter screen, a first magnet and a second magnet. Through the cooperation of the filter screen, the first magnet and the second magnet, the filter screen can be fixed on the outer side wall of the host chassis. The effect of preventing the dust in the air from entering the interior of the host chassis is realized, and it is also convenient for the installation and removal of the filter;
4、主机机箱为半包围结构,主机机箱的敞口侧可通过固定螺丝安装检修门板,拆装过程方便,便于检修;4. The host chassis is a semi-enclosed structure, and the open side of the host chassis can be installed with an access door panel by fixing screws, which is convenient for disassembly and assembly and maintenance;
5、主机机箱的顶部设有转动把手,底部设有橡胶支脚,转动把手便于携带该主机机箱,橡胶支脚便于使主机机箱的底部与地面保持一定的距离,防止主机机箱的底部腐蚀。5. The top of the mainframe case is provided with a turning handle, and the bottom is provided with rubber feet. The turning handle is convenient for carrying the mainframe case, and the rubber feet are convenient to keep the bottom of the mainframe case at a certain distance from the ground to prevent the bottom of the mainframe case from corroding.
附图说明Description of drawings
图1为本实用新型深度学习计算机视觉分析主机的散热装置的外部结构示意图;1 is a schematic diagram of the external structure of the heat sink of the deep learning computer vision analysis host of the present invention;
图2为本实用新型深度学习计算机视觉分析主机的散热装置的内部结构示意图;2 is a schematic diagram of the internal structure of the heat sink of the deep learning computer vision analysis host of the present invention;
图3为图2中A处的结构示意图;Fig. 3 is the structural representation at A place in Fig. 2;
图4为本实用新型深度学习计算机视觉分析主机的散热装置的俯视结构示意图;4 is a schematic top view of the structure of the heat sink of the deep learning computer vision analysis host of the present invention;
图中标号所示:The numbers in the figure show:
1、主机机箱;2、集成装置;3、主机电源;4、电源进风口;5、电源出风口;6、挡板;7、缺口;8、转动把手;9、抽风扇;10、滤网;11、橡胶支脚;12、固定螺丝;13、检修门板;14、第一磁铁;15、第二磁铁;16、散热风扇。1. Mainframe chassis; 2. Integrated device; 3. Mainframe power supply; 4. Power supply air inlet; 5. Power supply air outlet; 6. Baffle plate; 7. Notch; 8. Turning handle; 9. Exhaust fan; ; 11, rubber feet; 12, fixing screws; 13, access door panel; 14, the first magnet; 15, the second magnet; 16, cooling fan.
具体实施方式Detailed ways
下面结合附图和具体实施例对本实用新型进行详细说明。显然,所描述的实施例是本实用新型的一部分实施例,而不是全部实施例。基于本实用新型中的实施例,本领域普通技术人员在没有做出创造性劳动的前提下所获得的所有其他实施例,都应属于本实用新型保护的范围。The present utility model will be described in detail below with reference to the accompanying drawings and specific embodiments. Obviously, the described embodiments are some, but not all, embodiments of the present invention. Based on the embodiments of the present invention, all other embodiments obtained by those of ordinary skill in the art without creative work shall fall within the protection scope of the present invention.
本实用新型涉及一种深度学习计算机视觉分析主机的散热装置,包括半包围结构的主机机箱1,主机机箱1的敞口侧可拆卸安装有检修门板13,检修门板13通过固定螺丝12固定在主机机箱1上,以使检修门板13与主机机箱1连接的更加稳定,需要说明的是,固定螺丝12为把手螺丝,型号为BY-GB8023。优选地,检修门板13的尺寸大于主机机箱1的敞口侧的尺寸。The utility model relates to a heat dissipation device for a computer vision analysis host for deep learning, comprising a
主机机箱1的内侧壁安装有集成装置2和主机电源3,主机机箱1的箱体上设有与主机电源3对应的电源进风口4和电源出风口5,二者设于箱体同侧壁,优选地,电源进风口4位于电源出风口5上方。主机机箱1的顶部内壁与设置电源进风口4、电源出风口5的侧部内壁之间固定有挡板6,挡板6为钝角结构板,使得挡板6与电源进风口4、电源出风口5对应设置。当检修门板13安装在主机机箱1上时,挡板6远离主机机箱1的一侧与检修门板13相抵。挡板6上设有一个缺口7。缺口7的目的是放置主机电源3上的连接线或线束,令主机电源3上的连接线与集成装置2的电路板和显卡进行连接,便于主机电源3给集成装置2进行供电。优选地,该缺口7的尺寸与连接线或相关线束的宽度相匹配。需要说明的是,集成装置2为现有技术的集成结构,包括CPU、内存条、主板、显卡、硬盘和CPU散热风扇等,在此不做过多叙述。An
主机电源3在运行的过程中,主机电源3自带的风扇将主机机箱1外部的空气抽进主机电源3的内部,然后从主机电源3的排风口排出,从主机电源3排风口排出的热空气通过挡板6进行导向,从主机机箱1上的电源出风口5排出,避免主机电源3在运行的过程中产生的热量对集成装置2的运行造成影响,不会增加主机机箱1内部的散热负担。During the operation of the
主机机箱1靠近主机电源3的一侧底部设有进风口,进风口所对应机箱内侧壁固定连接有散热风扇16,主机机箱1远离主机电源3的一侧顶部设有出风口,出风口所对应机箱的内侧壁固定连接有抽风扇9,需要说明的是,散热风扇16、抽风扇9、散热风扇16和抽风扇9与主机机箱1的主板连接,供电技术均为现有技术,在此不做过多叙述。散热风扇16将主机机箱1外部的空气抽进主机机箱1的内部,抽风扇9将主机机箱1内部的热空气抽出,便于加快主机机箱1内部的空气流通,提高对主机机箱1内部的散热效率。The bottom side of the
进风口和出风口处分别设置防尘机构,防尘机构包括与进风口和出风口匹配设置的滤网10,滤网10靠近主机机箱1的一侧的端部固定连接有多个第一磁铁14,第一磁铁14插入主机机箱1的箱壁后吸合连接有第二磁铁15,主机机箱1的箱壁上设有与第二磁铁15对应的安装槽。滤网10的作用是防止空气中的灰尘进入到主机机箱1的内部,粘附到集成装置2的元器件上,影响集成装置2的散热,滤网10通过第一磁铁14和第二磁铁15与主机机箱1连接,便于滤网10的安装拆卸。The air inlet and the air outlet are respectively provided with a dustproof mechanism. The dustproof mechanism includes a
主机机箱1的顶部固定连接有转动把手8,主机机箱1的底部固定连接有多个橡胶支脚11,转动把手8的作用是便于携带该主机机箱1,橡胶支脚11的作用是便于使主机机箱1的底部与地面保持一定的距离,防止主机机箱1的底部腐蚀。The top of the
当本实用新型的深度学习计算机运行时,主机电源3运行,主机电源3自带的风扇将主机机箱1外部的空气抽进主机电源3的内部,然后从主机电源3的排风口排出,从主机电源3排风口排出的热空气通过挡板6进行导向,从主机机箱1上的电源出风口5排出,避免主机电源3在运行的过程中产生的热量对集成装置2的运行造成影响,不会增加主机机箱1内部的散热负担。主机机箱1上的散热风扇16和抽风扇9通过与主机机箱1的主板连接同时进行转动,对主机机箱1内部的集成装置2进行散热,避免主机机箱1内部的温度过高,导致集成装置2的组成部件损坏。此外,主机机箱1上安装有两个可拆卸的滤网10,滤网10可防止空气中的灰尘进入到主机机箱1的内部,粘附到集成装置2的元器件上,影响集成装置2的散热,该实用新型的深度学习计算机视觉分析主机的散热装置具有很好的散热性,同时也便于携带,具有很强的实用性。When the deep learning computer of the present invention is running, the
本实用新型使用到的标准零件均可以从市场上购买,异形件根据说明书的和附图的记载均可以进行订制,各个零件的具体连接方式均采用现有技术中成熟的螺栓、铆钉、焊接等常规手段,机械、零件和设备均采用现有技术中,常规的型号,加上电路连接采用现有技术中常规的连接方式,在此不再详述。The standard parts used in the utility model can be purchased from the market, the special-shaped parts can be customized according to the description in the specification and the drawings, and the specific connection method of each part adopts the mature bolts, rivets and welding in the prior art. and other conventional means, the machinery, parts and equipment all adopt the conventional models in the prior art, and the circuit connection adopts the conventional connection manner in the prior art, which will not be described in detail here.
以上所述,仅为本实用新型的具体实施方式,但本实用新型的保护范围并不局限于此,任何熟悉本技术领域的工作人员在本实用新型揭露的技术范围内,可轻易想到各种等效的修改或替换,这些修改或替换都应涵盖在本实用新型的保护范围之内。因此,本实用新型的保护范围应以权利要求的保护范围为准。The above are only specific embodiments of the present invention, but the protection scope of the present invention is not limited to this. Any person familiar with the technical field can easily think of various Equivalent modifications or replacements should be included within the protection scope of the present invention. Therefore, the protection scope of the present invention should be subject to the protection scope of the claims.
Claims (10)
Priority Applications (1)
| Application Number | Priority Date | Filing Date | Title |
|---|---|---|---|
| CN201921799889.9U CN210983275U (en) | 2019-10-24 | 2019-10-24 | A cooling device for deep learning computer vision analysis host |
Applications Claiming Priority (1)
| Application Number | Priority Date | Filing Date | Title |
|---|---|---|---|
| CN201921799889.9U CN210983275U (en) | 2019-10-24 | 2019-10-24 | A cooling device for deep learning computer vision analysis host |
Publications (1)
| Publication Number | Publication Date |
|---|---|
| CN210983275U true CN210983275U (en) | 2020-07-10 |
Family
ID=71421154
Family Applications (1)
| Application Number | Title | Priority Date | Filing Date |
|---|---|---|---|
| CN201921799889.9U Expired - Fee Related CN210983275U (en) | 2019-10-24 | 2019-10-24 | A cooling device for deep learning computer vision analysis host |
Country Status (1)
| Country | Link |
|---|---|
| CN (1) | CN210983275U (en) |
Cited By (1)
| Publication number | Priority date | Publication date | Assignee | Title |
|---|---|---|---|---|
| CN113093884A (en) * | 2021-05-06 | 2021-07-09 | 扬州恒联照明器材有限公司 | Quick-assembly case |
-
2019
- 2019-10-24 CN CN201921799889.9U patent/CN210983275U/en not_active Expired - Fee Related
Cited By (1)
| Publication number | Priority date | Publication date | Assignee | Title |
|---|---|---|---|---|
| CN113093884A (en) * | 2021-05-06 | 2021-07-09 | 扬州恒联照明器材有限公司 | Quick-assembly case |
Similar Documents
| Publication | Publication Date | Title |
|---|---|---|
| CN112058798A (en) | A device for automatically cleaning dust installed in a computer host | |
| CN103313578A (en) | Server cabinet | |
| CN210983275U (en) | A cooling device for deep learning computer vision analysis host | |
| CN206479915U (en) | The cabinet of dust-proof radiating | |
| CN112286318A (en) | Dust removal device for automatically removing dust in computer case | |
| CN209784886U (en) | A computer dust-proof and heat-dissipating chassis | |
| CN207799592U (en) | A kind of cloud service case radiation monitoring system | |
| WO2023143644A1 (en) | Computer system unit heat dissipation apparatus | |
| CN207321286U (en) | A kind of computer network communication router with radiator structure | |
| CN205546361U (en) | A cooling device for power communication | |
| CN209803711U (en) | A dust-proof chassis with good cooling effect | |
| CN209168001U (en) | An embedded computer motherboard that is easy to dissipate heat | |
| CN211207268U (en) | High-performance modularized computer CPU heat radiation structure | |
| CN119653732A (en) | A network data analysis device based on computer | |
| CN219349460U (en) | Computer machine case convenient to dustproof heat dissipation | |
| CN218240842U (en) | Computer host heat abstractor | |
| CN211349551U (en) | Novel embedded traffic condition investigation data processing host | |
| CN209311966U (en) | A kind of computer dustproof heat dissipation cabinet | |
| CN218272727U (en) | An anti-interference measuring device for geophysical and magnetic instrumentation | |
| CN110883013A (en) | Cleaning mechanism for cooling net of computer | |
| CN217787962U (en) | Data display screen with dampproofing function | |
| CN210954933U (en) | A cooling device for a big data processor | |
| CN210835988U (en) | A computer cooling and dust removal device | |
| CN107015609A (en) | A kind of main frame for facilitating laid-up | |
| CN219371724U (en) | Dustproof high-low voltage power distribution cabinet |
Legal Events
| Date | Code | Title | Description |
|---|---|---|---|
| GR01 | Patent grant | ||
| GR01 | Patent grant | ||
| CF01 | Termination of patent right due to non-payment of annual fee |
Granted publication date: 20200710 |
|
| CF01 | Termination of patent right due to non-payment of annual fee |
