CN210915092U - Shroud strutting arrangement is used in household electrical appliances equipment - Google Patents
Shroud strutting arrangement is used in household electrical appliances equipment Download PDFInfo
- Publication number
- CN210915092U CN210915092U CN201921571889.3U CN201921571889U CN210915092U CN 210915092 U CN210915092 U CN 210915092U CN 201921571889 U CN201921571889 U CN 201921571889U CN 210915092 U CN210915092 U CN 210915092U
- Authority
- CN
- China
- Prior art keywords
- fixedly connected
- top plate
- assembling
- backup pad
- cover
- Prior art date
- Legal status (The legal status is an assumption and is not a legal conclusion. Google has not performed a legal analysis and makes no representation as to the accuracy of the status listed.)
- Active
Links
- 238000004804 winding Methods 0.000 claims description 15
- 238000004519 manufacturing process Methods 0.000 abstract description 6
- 238000010586 diagram Methods 0.000 description 2
- 230000009286 beneficial effect Effects 0.000 description 1
- 238000009434 installation Methods 0.000 description 1
- 238000000034 method Methods 0.000 description 1
- 230000004048 modification Effects 0.000 description 1
- 238000012986 modification Methods 0.000 description 1
- 238000005406 washing Methods 0.000 description 1
Images
Landscapes
- Invalid Beds And Related Equipment (AREA)
Abstract
本实用新型公开了一种家电组装用罩盖支撑装置,包括顶板,所述顶板的下端固定连接有四个矩形分布的支柱,顶板的下方设有与其平行的支撑板,所述支撑板的四个角均固定连接有第一滑块,四个所述支柱的侧壁均设有与四个第一滑块相配合的第一滑道,所述支撑板的下端对称设有两个夹板,所述支撑板的上方设有与两个夹板连接的螺纹夹取机构,所述顶板的上端设有与支撑板连接的起升机构。本实用新型,将组装家电的罩盖通过夹板固定,通过控制驱动电机对罩盖提起和放下,减少组装工人的劳动强度,提高了生产效率。
The utility model discloses a cover support device for assembling a household appliance, which comprises a top plate, the lower end of the top plate is fixedly connected with four pillars distributed in a rectangular shape, a supporting plate parallel to the top plate is arranged below the top plate, Each corner is fixedly connected with a first sliding block, the side walls of the four pillars are all provided with a first sliding channel matched with the four first sliding blocks, and the lower end of the supporting plate is symmetrically provided with two clamping plates. The upper part of the support plate is provided with a threaded clamping mechanism connected with the two clamping plates, and the upper end of the top plate is provided with a lifting mechanism connected with the support plate. In the utility model, the cover for assembling the household appliance is fixed by the splint, and the cover is lifted and lowered by controlling the driving motor, thereby reducing the labor intensity of the assembling workers and improving the production efficiency.
Description
技术领域technical field
本实用新型涉及家电组装技术领域,尤其涉及一种家电组装用罩盖支撑装置。The utility model relates to the technical field of home appliance assembly, in particular to a cover support device for home appliance assembly.
背景技术Background technique
现如今的家电生产方式已经相当完善,形成了一条完整的产业链,很多生产厂家都是将家电的各个零部件分配给多个协力厂分别生产,然后再由组装工人对各零部件进行组装成型,这种方式大大提高了生产效率,同时降低了成本。Nowadays, the production method of home appliances has been quite perfect, forming a complete industrial chain. Many manufacturers assign the various parts of home appliances to multiple third-party factories to produce separately, and then the assembly workers assemble and form the parts. , this way greatly improves the production efficiency and reduces the cost at the same time.
但有些家电的体型较大,如冰箱、冰柜、洗衣机等,其罩盖的体积和重量也会随之提升,虽然可以通过机械辅助,但对于组装工人来说还是带来了极大的不便,加大了组装工人的工作强度,降低了组装效率。However, some household appliances are larger in size, such as refrigerators, freezers, washing machines, etc., and the volume and weight of their covers will also increase. Although they can be assisted by machinery, it still brings great inconvenience to assemblers. The work intensity of the assembly workers is increased, and the assembly efficiency is reduced.
实用新型内容Utility model content
为解决上述技术问题,本实用新型采用了如下技术方案:In order to solve the above-mentioned technical problems, the utility model adopts the following technical solutions:
一种家电组装用罩盖支撑装置,包括顶板,所述顶板的下端固定连接有四个矩形分布的支柱,顶板的下方设有与其平行的支撑板,所述支撑板的四个角均固定连接有第一滑块,四个所述支柱的侧壁均设有与四个第一滑块相配合的第一滑道,所述支撑板的下端对称设有两个夹板,所述支撑板的上方设有与两个夹板连接的螺纹夹取机构,所述顶板的上端设有与支撑板连接的起升机构。A cover support device for home appliance assembly, comprising a top plate, the lower end of the top plate is fixedly connected with four pillars distributed in a rectangular shape, a support plate parallel to the top plate is arranged below the top plate, and the four corners of the support plate are fixedly connected There is a first sliding block, the side walls of the four pillars are all provided with a first sliding channel matched with the four first sliding blocks, the lower end of the supporting plate is symmetrically provided with two clamping plates, The upper part is provided with a threaded clamping mechanism connected with the two clamping plates, and the upper end of the top plate is provided with a lifting mechanism connected with the support plate.
优选地,所述螺纹夹取机构包括固定连接在支撑板上端中部的固定块,所述固定块的左侧壁转动连接有延伸至右侧壁的螺纹杆,所述固定块两侧的螺纹杆的螺纹方向相反,所述螺纹杆两端均套设有与其配合的螺纹滑块,所述支撑板的上端两侧均设有与两个螺纹滑块相对应的第二滑道,两个所述螺纹滑块的下端延伸至两个第二滑道内,两个所述螺纹滑块的下端延伸穿过支撑板的下端分别与两个夹板固定连接,所述螺纹杆一侧末端固定连接有摇把。Preferably, the thread clamping mechanism includes a fixing block fixedly connected to the middle of the upper end of the support plate, the left side wall of the fixing block is rotatably connected with a threaded rod extending to the right side wall, and the threaded rods on both sides of the fixing block are rotatably connected The thread direction of the threaded rod is opposite, both ends of the threaded rod are sleeved with threaded sliders matched with them, and both sides of the upper end of the support plate are provided with second slideways corresponding to the two threaded sliders. The lower ends of the threaded sliders extend into the two second slideways, the lower ends of the two threaded sliders extend through the lower ends of the support plates and are respectively fixedly connected to the two clamping plates, and one end of the threaded rod is fixedly connected with a rocker. Bundle.
优选地,所述起升机构固定连接在顶板上端的两个支座,两个所述支座之间转动连接有转轴,所述转轴的外壁固定连接绕线滚筒,所述绕线滚筒的外壁缠绕有拉绳,所述拉绳的末端延伸顶板的下方固定连接在固定块的上端,所述转轴的末端固定连接有蜗轮,所述顶板的上端固定连接支板,所述支板的侧壁安装有驱动电机,所述驱动电机的输出端固定连接有与蜗轮相啮合的蜗杆。Preferably, the lifting mechanism is fixedly connected to two supports at the upper end of the top plate, a rotating shaft is rotatably connected between the two supports, the outer wall of the rotating shaft is fixedly connected to the winding drum, and the outer wall of the winding drum is A pull rope is wound, and the end of the pull rope extends below the top plate and is fixedly connected to the upper end of the fixed block. A drive motor is installed, and the output end of the drive motor is fixedly connected with a worm that meshes with the worm gear.
优选地,两个所述夹板的内侧壁设有橡胶垫片。Preferably, rubber gaskets are provided on the inner side walls of the two clamping plates.
优选地,四个所述支柱的下端均安装有走轮。Preferably, running wheels are installed on the lower ends of the four pillars.
优选地,所述顶板的上端设有套设在绕线滚筒、蜗杆与蜗轮的外壁的安全罩壳。Preferably, the upper end of the top plate is provided with a safety cover sleeved on the outer walls of the winding drum, the worm and the worm wheel.
本实用新型中,其有益效果为:In the utility model, its beneficial effects are:
1.设置的螺纹夹取机构,将家电罩盖放置在两个夹板之间并摇动摇把,摇把转动带动螺纹杆转动,在螺纹杆的作用下,两个螺纹滑块带动两个夹板夹紧家电罩盖的两侧壁,操作简单,便于夹紧家电罩壳。1. Set the threaded clamping mechanism, place the appliance cover between the two splints and shake the crank handle, the crank handle rotates to drive the threaded rod to rotate, and under the action of the threaded rod, the two threaded sliders drive the two splint clamps The two side walls of the appliance cover are fastened, the operation is simple, and the appliance cover is easily clamped.
2.设置的起升机构,启动驱动电机,驱动电机输出端的蜗杆转动带动蜗轮转动,蜗轮转动带动绕线滚筒转动,并将拉绳缠绕在绕线滚筒的表面,从而将支撑板下方夹板间的家电罩盖向上提拉,有效减少了组装工人的劳动强度,提高了生产效率。2. The installed lifting mechanism starts the drive motor, the worm at the output end of the drive motor rotates and drives the worm wheel to rotate, and the worm wheel rotates to drive the winding drum to rotate, and the pull rope is wound on the surface of the winding drum, so as to make the space between the splints under the support plate rotate. The cover of the home appliance is pulled upward, which effectively reduces the labor intensity of the assembly workers and improves the production efficiency.
附图说明Description of drawings
图1为本实用新型提出的一种家电组装用罩盖支撑装置的结构示意图;1 is a schematic structural diagram of a cover support device for assembling a household appliance proposed by the utility model;
图2为本实用新型提出的一种家电组装用罩盖支撑装置的A处放大结构示意图。FIG. 2 is an enlarged structural schematic diagram of the position A of a cover support device for assembling a household appliance proposed by the present invention.
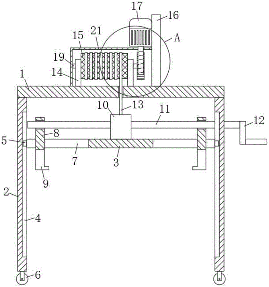
图中:1顶板、2支柱、3支撑板、4第一滑道、5第一滑块、6 走轮、7第二滑道、8螺纹滑块、9夹板、10固定块、11螺纹杆、12 摇把、13拉绳、14支座、15绕线滚筒、16支板、17驱动电机、18 蜗杆、19转轴、20蜗轮、21安全罩壳。In the picture: 1 top plate, 2 pillars, 3 support plates, 4 first slides, 5 first sliders, 6 running wheels, 7 second slides, 8 threaded sliders, 9 splints, 10 fixed blocks, 11 threaded rods , 12 handle, 13 rope, 14 support, 15 winding drum, 16 support plate, 17 drive motor, 18 worm, 19 shaft, 20 worm gear, 21 safety cover.
具体实施方式Detailed ways
下面将结合本实用新型实施例中的附图,对本实用新型实施例中的技术方案进行清楚、完整地描述,显然,所描述的实施例仅仅是本实用新型一部分实施例,而不是全部的实施例。The technical solutions in the embodiments of the present utility model will be clearly and completely described below with reference to the accompanying drawings in the embodiments of the present utility model. Obviously, the described embodiments are only a part of the embodiments of the present utility model, rather than all the implementations. example.
参照图1-2,一种家电组装用罩盖支撑装置,包括顶板1,顶板 1的下端固定连接有四个矩形分布的支柱2,四个支柱2的下端均安装有走轮6,便于装置的移动,顶板1的下方设有与其平行的支撑板 3,支撑板3的四个角均固定连接有第一滑块5,四个支柱2的侧壁均设有与四个第一滑块5相配合的第一滑道4,支撑板3的下端对称设有两个夹板9,两个夹板9的内侧壁设有橡胶垫片,防止夹坏家电,支撑板3的上方设有与两个夹板9连接的螺纹夹取机构,螺纹夹取机构包括固定连接在支撑板3上端中部的固定块10,固定块10的左侧壁转动连接有延伸至右侧壁的螺纹杆11,固定块10两侧的螺纹杆11 的螺纹方向相反,螺纹杆11两端均套设有与其配合的螺纹滑块8,支撑板3的上端两侧均设有与两个螺纹滑块8相对应的第二滑道7,两个螺纹滑块8的下端延伸至两个第二滑道7内,两个螺纹滑块8的下端延伸穿过支撑板3的下端分别与两个夹板9固定连接,螺纹杆 11一侧末端固定连接有摇把12,将家电罩盖放置在两个夹板9之间并摇动摇把12,摇把12转动带动螺纹杆11转动,在螺纹杆11的作用下,两个螺纹滑块8带动两个夹板9夹紧家电罩盖的两侧壁,操作简单,便于夹紧家电罩壳。Referring to Figures 1-2, a cover support device for assembling a home appliance includes a
顶板1的上端设有与支撑板3连接的起升机构,起升机构固定连接在顶板1上端的两个支座14,两个支座14之间转动连接有转轴19,转轴19的外壁固定连接绕线滚筒15,绕线滚筒15的外壁缠绕有拉绳13,拉绳13的末端延伸顶板1的下方固定连接在固定块10的上端,转轴19的末端固定连接有蜗轮20,顶板1的上端固定连接支板 16,支板16的侧壁安装有驱动电机17,驱动电机17的输出端固定连接有与蜗轮20相啮合的蜗杆18,顶板1的上端设有套设在绕线滚筒15、蜗杆18与蜗轮20的外壁的安全罩壳21,启动驱动电机17,驱动电机17输出端的蜗杆18转动带动蜗轮20转动,蜗轮20转动带动绕线滚筒15转动,并将拉绳13缠绕在绕线滚筒15的表面,从而将支撑板3下方夹板9间的家电罩盖向上提拉,有效减少了组装工人的劳动强度,提高了生产效率。The upper end of the
本实用新型中,在组装体型较大的家电视,将家电罩盖放置在两个夹板9之间,然后摇动摇把12,摇把12转动带动螺纹杆11转动,在螺纹杆11的作用下,两个螺纹滑块8带动两个夹板9夹紧家电罩盖的两侧壁,操作简单,便于夹紧家电罩壳,然后启动驱动电机17,驱动电机17输出端的蜗杆18转动带动蜗轮20转动,蜗轮20转动带动绕线滚筒15转动,并将拉绳13缠绕在绕线滚筒15的表面,从而将固定连接在拉绳13末端的固定块10以及下方的支撑板3向上提拉,两个并带动夹板9间的家电罩盖向上提拉,有效减少了组装工人的劳动强度,提高了生产效率。In the present invention, when assembling a larger home TV, the home appliance cover is placed between the two clamping plates 9, and then the
以上所述,仅为本实用新型较佳的具体实施方式,但本实用新型的保护范围并不局限于此,任何熟悉本技术领域的技术人员在本实用新型揭露的技术范围内,根据本实用新型的技术方案及其实用新型构思加以等同替换或改变,都应涵盖在本实用新型的保护范围之内。The above description is only a preferred embodiment of the present invention, but the protection scope of the present invention is not limited to this. Equivalent replacement or modification of the new technical solution and its utility model concept shall be included within the protection scope of the present utility model.
Claims (6)
Priority Applications (1)
| Application Number | Priority Date | Filing Date | Title |
|---|---|---|---|
| CN201921571889.3U CN210915092U (en) | 2019-09-20 | 2019-09-20 | Shroud strutting arrangement is used in household electrical appliances equipment |
Applications Claiming Priority (1)
| Application Number | Priority Date | Filing Date | Title |
|---|---|---|---|
| CN201921571889.3U CN210915092U (en) | 2019-09-20 | 2019-09-20 | Shroud strutting arrangement is used in household electrical appliances equipment |
Publications (1)
| Publication Number | Publication Date |
|---|---|
| CN210915092U true CN210915092U (en) | 2020-07-03 |
Family
ID=71347635
Family Applications (1)
| Application Number | Title | Priority Date | Filing Date |
|---|---|---|---|
| CN201921571889.3U Active CN210915092U (en) | 2019-09-20 | 2019-09-20 | Shroud strutting arrangement is used in household electrical appliances equipment |
Country Status (1)
| Country | Link |
|---|---|
| CN (1) | CN210915092U (en) |
Cited By (1)
| Publication number | Priority date | Publication date | Assignee | Title |
|---|---|---|---|---|
| CN112850539A (en) * | 2021-01-28 | 2021-05-28 | 李洪宾 | Equipment and method for carrying, positioning and installing vertical battens of building infilled wall |
-
2019
- 2019-09-20 CN CN201921571889.3U patent/CN210915092U/en active Active
Cited By (1)
| Publication number | Priority date | Publication date | Assignee | Title |
|---|---|---|---|---|
| CN112850539A (en) * | 2021-01-28 | 2021-05-28 | 李洪宾 | Equipment and method for carrying, positioning and installing vertical battens of building infilled wall |
Similar Documents
| Publication | Publication Date | Title |
|---|---|---|
| CN211260240U (en) | Production process monitoring device for mechanical automation intelligent manufacturing industry | |
| CN210915092U (en) | Shroud strutting arrangement is used in household electrical appliances equipment | |
| CN204852811U (en) | Projection curtain raises device from bottom to top | |
| CN208265658U (en) | A kind of handling device of large cargo | |
| CN108439226A (en) | A kind of standby and its application method of roaster maintenance crane erection | |
| CN110902473B (en) | A fully automatic winding device for cloth textile yarn | |
| CN107859850A (en) | A kind of support meanss by motor control | |
| CN216471441U (en) | Electric power engineering winding device | |
| CN206624491U (en) | A kind of iron wire device for being easy to winding | |
| CN215248716U (en) | A clamping and dust removal device for cable processing | |
| CN218052321U (en) | Back pressure device for installing bushing | |
| CN214848163U (en) | Inductor equipment processing equipment | |
| CN207288732U (en) | A kind of steel wire winding device | |
| CN211552287U (en) | Graphene oxide washing and drying device | |
| CN210915090U (en) | Portable pulley block power system | |
| CN220672395U (en) | Automatic paint dipping device for transformer | |
| CN214142926U (en) | Convenient-to-store polyester grey cloth traction device | |
| CN211790412U (en) | Electric power construction cable suspension device | |
| CN211283571U (en) | Lifting devices for the production of prefabricated building elements | |
| CN217507011U (en) | Horizontal double-layer wire and cable wrapping machine | |
| CN220549254U (en) | Wire harness production bundling and packaging device | |
| CN211320652U (en) | Assembled block terminal | |
| CN208234265U (en) | A kind of bobbin winder device for weaving | |
| CN218370946U (en) | A wire reel clamping device for braiding winding machine | |
| CN207861637U (en) | A kind of power line erection bobbin winder device |
Legal Events
| Date | Code | Title | Description |
|---|---|---|---|
| GR01 | Patent grant | ||
| GR01 | Patent grant | ||
| TR01 | Transfer of patent right |
Effective date of registration: 20241219 Address after: No. 22 Erwei Road, Dongli Economic and Technological Development Zone, Dongli District, Tianjin 300300, China 7-4128 Patentee after: Tianjin Dianshi Network Technology Co.,Ltd. Country or region after: China Address before: 266000 No. 299, Chongqing Middle Road, Licang District, Qingdao, Shandong Patentee before: Shandong comfort Home Environment Engineering Co.,Ltd. Country or region before: China |
|
| TR01 | Transfer of patent right |
