CN210857699U - Roof of garden building - Google Patents
Roof of garden building Download PDFInfo
- Publication number
- CN210857699U CN210857699U CN201921661869.5U CN201921661869U CN210857699U CN 210857699 U CN210857699 U CN 210857699U CN 201921661869 U CN201921661869 U CN 201921661869U CN 210857699 U CN210857699 U CN 210857699U
- Authority
- CN
- China
- Prior art keywords
- roof
- greening module
- screw
- garden building
- building according
- Prior art date
- Legal status (The legal status is an assumption and is not a legal conclusion. Google has not performed a legal analysis and makes no representation as to the accuracy of the status listed.)
- Active
Links
- XLYOFNOQVPJJNP-UHFFFAOYSA-N water Substances O XLYOFNOQVPJJNP-UHFFFAOYSA-N 0.000 claims abstract description 37
- 230000007246 mechanism Effects 0.000 claims description 7
- 239000002689 soil Substances 0.000 description 13
- 238000010586 diagram Methods 0.000 description 4
- 238000005096 rolling process Methods 0.000 description 4
- 239000004567 concrete Substances 0.000 description 3
- 230000000694 effects Effects 0.000 description 3
- 238000009825 accumulation Methods 0.000 description 2
- 230000009471 action Effects 0.000 description 2
- 230000009286 beneficial effect Effects 0.000 description 2
- 230000005484 gravity Effects 0.000 description 2
- 238000000034 method Methods 0.000 description 2
- 238000000465 moulding Methods 0.000 description 2
- 230000008901 benefit Effects 0.000 description 1
- 230000015572 biosynthetic process Effects 0.000 description 1
- 238000005266 casting Methods 0.000 description 1
- 230000003749 cleanliness Effects 0.000 description 1
- 238000005260 corrosion Methods 0.000 description 1
- 230000007797 corrosion Effects 0.000 description 1
- 201000010099 disease Diseases 0.000 description 1
- 208000037265 diseases, disorders, signs and symptoms Diseases 0.000 description 1
- 238000005265 energy consumption Methods 0.000 description 1
- 238000001704 evaporation Methods 0.000 description 1
- 230000008020 evaporation Effects 0.000 description 1
- 238000001914 filtration Methods 0.000 description 1
- 238000009413 insulation Methods 0.000 description 1
- 230000008569 process Effects 0.000 description 1
- 239000011150 reinforced concrete Substances 0.000 description 1
- 230000000007 visual effect Effects 0.000 description 1
Images
Classifications
-
- Y—GENERAL TAGGING OF NEW TECHNOLOGICAL DEVELOPMENTS; GENERAL TAGGING OF CROSS-SECTIONAL TECHNOLOGIES SPANNING OVER SEVERAL SECTIONS OF THE IPC; TECHNICAL SUBJECTS COVERED BY FORMER USPC CROSS-REFERENCE ART COLLECTIONS [XRACs] AND DIGESTS
- Y02—TECHNOLOGIES OR APPLICATIONS FOR MITIGATION OR ADAPTATION AGAINST CLIMATE CHANGE
- Y02A—TECHNOLOGIES FOR ADAPTATION TO CLIMATE CHANGE
- Y02A30/00—Adapting or protecting infrastructure or their operation
- Y02A30/24—Structural elements or technologies for improving thermal insulation
- Y02A30/254—Roof garden systems; Roof coverings with high solar reflectance
-
- Y—GENERAL TAGGING OF NEW TECHNOLOGICAL DEVELOPMENTS; GENERAL TAGGING OF CROSS-SECTIONAL TECHNOLOGIES SPANNING OVER SEVERAL SECTIONS OF THE IPC; TECHNICAL SUBJECTS COVERED BY FORMER USPC CROSS-REFERENCE ART COLLECTIONS [XRACs] AND DIGESTS
- Y02—TECHNOLOGIES OR APPLICATIONS FOR MITIGATION OR ADAPTATION AGAINST CLIMATE CHANGE
- Y02B—CLIMATE CHANGE MITIGATION TECHNOLOGIES RELATED TO BUILDINGS, e.g. HOUSING, HOUSE APPLIANCES OR RELATED END-USER APPLICATIONS
- Y02B80/00—Architectural or constructional elements improving the thermal performance of buildings
- Y02B80/32—Roof garden systems
Landscapes
- Sewage (AREA)
Abstract
本实用新型属于双破屋顶结构技术领域,具体为一种园林建筑的屋顶,包括屋顶本体,屋顶本体包括两块倾斜的屋顶板,两块屋顶板一体成型,屋顶板上设有绿化模块,所述屋顶板的上表面沿倾斜方向固设有呈台阶状的凸起部,绿化模块沿横向与凸起部滑动配合,凸起部的顶部沿平行于屋顶板的板面方向设置有导流槽;所述两块屋顶板的底部之间固定连接有若干横梁,横梁上设置有储水箱,导流槽与储水箱连通。本方案解决了现有技术中屋顶的绿化模块容易发生水涝的问题。
The utility model belongs to the technical field of double-broken roof structures, in particular to a roof of a garden building, comprising a roof body, the roof body comprises two inclined roof panels, the two roof panels are integrally formed, and a greening module is arranged on the roof panel. The upper surface of the roof board is fixed with a stepped protrusion along the inclined direction, the greening module is slidingly matched with the protrusion in the lateral direction, and the top of the protrusion is provided with a guide groove along the direction parallel to the board surface of the roof board. A number of beams are fixedly connected between the bottoms of the two roof panels, a water storage tank is arranged on the beams, and the diversion groove is communicated with the water storage tank. This solution solves the problem that the greening module of the roof is prone to waterlogging in the prior art.
Description
技术领域technical field
本实用新型属于双破屋顶结构技术领域,具体为一种园林建筑的屋顶。The utility model belongs to the technical field of double broken roof structures, in particular to a roof of a garden building.
背景技术Background technique
现有的园林建筑多采用混凝土结构,也导致园林建筑与周围的植物在视觉上形成强烈的反差,为了弱化这种反差,通常会在建筑的屋顶上放置植物盆栽来进行点缀。但是,在屋顶放置盆栽等绿化模块(绿化模块为存储有土壤的容器,绿化模块的底部具有渗水功能)后,园林工人难以随时上到屋顶上对绿化模块进行照料,尤其是当下雨的时候,绿化模块容易发生积水的现象。虽然绿化模块的底部具有滤水的功能,方便使绿化模块土壤中多余的水分排出,但是,绿化模块中土壤吸收的水分都会在重力的作用下从绿化模块底部排出,并沿着屋顶往屋檐处流动,从而使靠近屋檐处的绿化模块部分还是会出现水分过高的水涝现象,容易导致绿化模块中的植物生病而枯萎。Existing garden buildings mostly use concrete structures, which also leads to a strong visual contrast between the garden buildings and the surrounding plants. In order to weaken this contrast, plant pots are usually placed on the roof of the building for embellishment. However, after the green modules such as potted plants are placed on the roof (the green modules are containers that store soil, and the bottom of the green modules has a water seepage function), it is difficult for garden workers to go up to the roof to take care of the green modules at any time, especially when it rains. The greening module is prone to water accumulation. Although the bottom of the greening module has the function of filtering water, it is convenient to discharge the excess water in the soil of the greening module, but the water absorbed by the soil in the greening module will be discharged from the bottom of the greening module under the action of gravity, and along the roof to the eaves Therefore, the part of the greening module near the eaves will still be flooded with excessive moisture, which is easy to cause the plants in the greening module to get sick and wither.
实用新型内容Utility model content
本实用新型的目的在于提供一种园林建筑的屋顶,以解决现有技术中屋顶的绿化模块容易发生水涝的问题。The purpose of the utility model is to provide a roof for a garden building, so as to solve the problem that the green module of the roof is prone to waterlogging in the prior art.
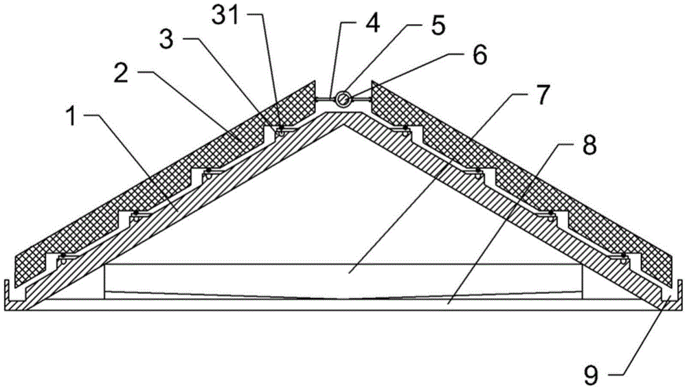
为了达到上述目的,本实用新型的基础方案提供一种园林建筑的屋顶,包括屋顶本体,屋顶本体包括两块倾斜的屋顶板,两块屋顶板一体成型,屋顶板上设有绿化模块,所述屋顶板的上表面沿倾斜方向固设有呈台阶状的凸起部,绿化模块沿横向与凸起部滑动配合,凸起部的顶部沿平行于屋顶板的板面方向设置有导流槽;所述两块屋顶板的底部之间固定连接有若干横梁,横梁上设置有储水箱,导流槽与储水箱连通。In order to achieve the above purpose, the basic scheme of the present invention provides a roof for a garden building, including a roof body, the roof body includes two inclined roof panels, the two roof panels are integrally formed, and a greening module is arranged on the roof panel. The upper surface of the roof board is fixed with a stepped protrusion along the inclined direction, the greening module is slidingly matched with the protrusion in the lateral direction, and the top of the protrusion is provided with a guide groove along the direction parallel to the board surface of the roof board; A number of beams are fixedly connected between the bottoms of the two roof panels, a water storage tank is arranged on the beams, and the diversion groove is communicated with the water storage tank.
本基础方案的原理和有益效果在于:设置台阶状的凸起部,方便对绿化模块进行支撑,从而避免绿化模块从屋顶板上滑落。设置绿化模块,方便对屋顶起到隔热作用,同时还可以起到装饰作用。设置导流槽,用于将屋顶板上的水导流至储水箱内。设置横梁,用于对储水箱进行支撑。设置储水箱,用于对屋面板上的雨水进行收集。The principle and beneficial effects of the basic scheme are as follows: step-shaped protrusions are provided to facilitate the support of the greening module, thereby preventing the greening module from slipping off the roof plate. The greening module is set up to facilitate the insulation of the roof, and at the same time, it can also play a decorative role. Provide diversion grooves to divert water from the roof deck to the water storage tank. Set up beams to support the water tank. Set up a water storage tank to collect rainwater on the roof panel.
常态时,绿化模块的底面在凸起部的支撑作用下与屋顶板的上表面相贴,从而减少绿化模块的底部土壤从绿化模块的底部形成水分蒸发的现象。下雨时,通过沿横向移动绿化模块,使绿化模块在凸起部的支撑作用下与屋顶板的上表面分离,从而使绿化模块的底面与屋顶板的上表面之间形成间隙,当绿化模块的土壤中的水从绿化模块的底部排出后,直接掉落在屋顶板上,并汇集在凸起部的导流槽内,最后沿着导流槽流入到储水箱内,避免了绿化模块上部的土壤中的流出的水分直接汇集到绿化模块下部的土壤中而造成下部土壤的水分过高而出现水涝的情况,同时还实现了雨水的收集。In normal state, the bottom surface of the greening module is in contact with the upper surface of the roof board under the support of the raised part, thereby reducing the phenomenon that the soil at the bottom of the greening module evaporates from the bottom of the greening module. When it rains, by moving the greening module laterally, the greening module is separated from the upper surface of the roof slab under the support of the raised part, so that a gap is formed between the bottom surface of the greening module and the upper surface of the roof slab. After the water in the soil is discharged from the bottom of the greening module, it falls directly on the roof board, and collects in the diversion groove of the raised part, and finally flows into the water storage tank along the diversion groove, avoiding the upper part of the greening module. The water flowing out of the soil is directly collected into the soil in the lower part of the greening module, which causes the water in the lower soil to be too high and waterlogging occurs, and also realizes the collection of rainwater.
与现有技术相比,本方案的优点在于:绿化模块在凸起部的支撑作用下可以与屋顶板实现分离,从而减少了水分在绿化模块的底部聚集而造成水涝的情况,减少了绿化模块因水涝出现植物生病的情况发生;同时,设置台阶状的凸起部后,利用凸起部对绿化模块进行支撑,使绿化模块可以水平移动,从而使绿化模块的移动无需克服重力的直接作用,进而移动时比较省力,从而方便了绿化模块的移动;最后,设置的储水箱可以对雨水进行收集,实现了对雨水的利用,节约了用水。Compared with the prior art, the advantage of this solution is that the greening module can be separated from the roof plate under the support of the raised part, thereby reducing the waterlogging caused by the accumulation of water at the bottom of the greening module, and reducing the greening The module will cause plant disease due to waterlogging; at the same time, after setting the step-shaped convex part, use the convex part to support the greening module, so that the greening module can move horizontally, so that the movement of the greening module does not need to overcome the direct force of gravity. Therefore, it is more labor-saving when moving, which facilitates the movement of the greening module; finally, the set water storage tank can collect rainwater, realize the utilization of rainwater and save water.
进一步,所述凸起部的顶部沿绿化模块的滑动方向固设有导轨,绿化模块上转动连接有与导轨滚动配合的导轮。设置导轨和导轮,通过导轮在导轨上滚动来支撑绿化模块移动,从而减少了绿化模块移动时受到的摩擦力作用,降低了绿化模块的移动难度。Further, a guide rail is fixed on the top of the protruding part along the sliding direction of the greening module, and a guide wheel that is rotatably connected with the guide rail is rotatably connected to the greening module. Guide rails and guide wheels are provided, and the greening modules are supported to move by the guide wheels rolling on the guide rails, thereby reducing the frictional force when the greening modules move and reducing the difficulty of moving the greening modules.
进一步,所述凸起部与屋顶板一体成型。屋顶板一般都采用混凝土浇筑成型,于是,凸起部与屋顶板一起采用混凝土浇筑成型,保证了凸起部与屋顶板的连接可靠性。Further, the raised portion is integrally formed with the roof panel. The roof slab is generally formed by pouring concrete, so the raised part and the roof slab are formed by pouring concrete together to ensure the reliability of the connection between the raised part and the roof slab.
进一步,所述屋顶本体的屋脊处设置有螺杆,螺杆沿屋脊的延伸方向设置,屋顶本体上固定连接有支撑螺杆的支撑座,螺杆与支撑座转动连接,螺杆上螺纹连接有螺母,螺母与绿化模块之间铰接有连接杆;所述螺杆的端部连接有调节机构。设置螺杆、螺母和连接杆,通过转动螺杆使螺母沿螺杆移动,从而使螺母通过连接杆带动绿化模块移动。通过转动螺杆的方式来驱动绿化模块的移动,方便进行操作,并且,通过转动螺杆来驱动绿化模块的移动,具有省力的效果,降低了操作难度。Further, the ridge of the roof body is provided with a screw, the screw is arranged along the extension direction of the ridge, the roof body is fixedly connected with a support seat supporting the screw, the screw is rotatably connected with the support seat, the screw is threadedly connected with a nut, and the nut is connected with the greening. A connecting rod is hinged between the modules; an adjusting mechanism is connected to the end of the screw rod. A screw rod, a nut and a connecting rod are arranged, and the nut is moved along the screw rod by rotating the screw rod, so that the nut drives the greening module to move through the connecting rod. The movement of the greening module is driven by rotating the screw, which is convenient for operation, and the movement of the greening module is driven by rotating the screw, which has the effect of saving labor and reducing the difficulty of operation.
进一步,所述调节机构包括链轮,链轮与螺杆同轴固定连接,链轮上配合设置有链条,链轮的周向上活动套设有优弧形的罩体,罩体与螺杆转动连接。设置链轮和链条,罩体罩设在链轮的周向上可以使链条与链轮始终保持接触,从而方便操作人员在地面上通过拉动链条就可以实现转动链轮,从而实现通过链轮转动螺杆的目的,方便了转动螺杆的操作。Further, the adjusting mechanism includes a sprocket, which is coaxially and fixedly connected to the screw, and a chain is matched with the sprocket. The sprocket and the chain are arranged, and the cover is arranged in the circumferential direction of the sprocket to keep the chain and the sprocket in constant contact, so that it is convenient for the operator to rotate the sprocket by pulling the chain on the ground, so as to realize the rotation of the screw through the sprocket. The purpose is to facilitate the operation of the rotating screw.
进一步,所述罩体的弧形轮廓的端部转动连接有滑轮。设置滑轮,使链条在与罩体接触并进行移动的时候,通过滑轮的作用使链条与罩体之间由滑动摩擦变为滚动摩擦,从而减少了链条与罩体之间的磨损作用。Further, a pulley is rotatably connected to the end of the arc profile of the cover body. A pulley is provided so that when the chain is in contact with the cover and moves, the sliding friction between the chain and the cover is changed from sliding friction to rolling friction through the action of the pulley, thereby reducing the wear effect between the chain and the cover.
进一步,所述螺杆上设有旋向相反的两种螺纹段,两种螺纹段上均螺纹配合有对应的螺母,两种螺纹段上的螺母均与同一绿化模块铰接有连接杆,连接杆靠近绿化模块的一端相互铰接。设置两种螺纹段和对应的螺母后,当转动螺杆的时候可以实现两种螺纹段上的螺母相互靠近或是相互远离的运动,两种螺纹段上的螺母通过连接杆带动绿化模块移动,于是,使两种螺纹段上的螺母通过连接杆施加给绿化模块的作用力的方向与绿化模块移动的方向平行或是具有较小的夹角,从而减少了连接杆施加给绿化模块的作用力做无用功的情况,减少了能量的损耗。Further, two kinds of thread segments with opposite rotation directions are provided on the screw rod, and corresponding nuts are threaded on the two thread segments. One end of the greening module is hinged to each other. After setting up two kinds of thread segments and corresponding nuts, when the screw is rotated, the nuts on the two thread segments can move closer to or away from each other, and the nuts on the two thread segments drive the greening module to move through the connecting rod, so , so that the direction of the force applied to the greening module by the nuts on the two threaded segments through the connecting rod is parallel to the direction of the greening module movement or has a smaller included angle, thereby reducing the force applied by the connecting rod to the greening module. In the case of useless work, the loss of energy is reduced.
进一步,所述螺杆的上方设置有弧形的挡板,挡板与支撑座可拆卸连接。设置弧形的挡板后,利用弧形的挡板对螺杆上方掉下的杂物进行阻挡,避免了杂物掉落在螺杆上而对螺杆的造成腐蚀的情况发生。Further, an arc-shaped baffle is arranged above the screw rod, and the baffle is detachably connected to the support base. After the arc-shaped baffle is set, the sundries falling from the top of the screw are blocked by the arc-shaped baffle, so as to avoid the corrosion of the screw due to the sundries falling on the screw.
进一步,所述屋顶板的屋檐处设有雨水槽,雨水槽的一端设有落水孔。设置雨水槽后对屋顶板上留下的雨水进行收集,避免了夹杂有泥土的雨水直接沿屋檐滴落而影响地面的整洁度。Further, a rainwater trough is provided at the eaves of the roof panel, and one end of the rainwater trough is provided with a downhole. After the rainwater trough is installed, the rainwater left on the roof slab is collected to avoid the rainwater mixed with soil dripping directly along the eaves and affecting the cleanliness of the ground.
进一步,所述储水箱的底部呈漏斗状。有利于储水箱内的水往储水箱的底部汇集,进而便于收集利用。Further, the bottom of the water storage tank is in the shape of a funnel. It is beneficial for the water in the water storage tank to be collected to the bottom of the water storage tank, thereby facilitating collection and utilization.
附图说明Description of drawings
图1为本实用新型一种园林建筑的屋顶实施例一的结构示意图;Fig. 1 is the structural representation of the roof embodiment one of a kind of garden building of the present utility model;
图2为图1中绿化模块与屋顶板处于分离状态时结构示意图;Fig. 2 is a schematic structural diagram when the greening module and the roof plate in Fig. 1 are in a separated state;
图3为图1中屋顶本体屋脊处螺杆与绿化模块配合的结构示意图;Fig. 3 is the structural schematic diagram of the cooperation between the screw and the greening module at the ridge of the roof body in Fig. 1;
图4为图1中A处的放大图;Fig. 4 is the enlarged view of A place in Fig. 1;
图5为本实用新型调节机构的示意图;Fig. 5 is the schematic diagram of the adjusting mechanism of the present utility model;
图6为本实用新型实施例二中屋顶本体屋脊处螺杆与绿化模块配合的结构示意图。FIG. 6 is a schematic structural diagram of the cooperation between the screw rod at the ridge of the roof body and the greening module in the second embodiment of the present invention.
具体实施方式Detailed ways
下面通过具体实施方式进一步详细说明:The following is further described in detail by specific embodiments:
说明书附图中的附图标记包括:屋顶板1、绿化模块2、凸起部3、导流槽31、导轨32、导轮33、连接杆4、螺母5、螺杆6、储水箱7、横梁8、雨水槽9、支撑座10、罩体11、链轮12、链条13。The reference signs in the drawings include:
实施例一:如附图1、图2、图3、图4和图5所示,一种园林建筑的屋顶,包括屋顶本体,屋顶本体包括两块倾斜的屋顶板1,两块屋顶板1一体成型,具体为采用钢筋混凝土一体浇筑成型。屋顶板1的上表面沿倾斜方向设置有若干台阶状的凸起部3,凸起部3与屋顶板1一体浇筑成型。凸起部3沿平行于屋顶本体的屋脊延伸方向设置,凸起部3的顶部沿其长度方向设置有导流槽31。凸起部3的顶部设置有导轨32,导轨32沿水平垂直于屋顶屋脊的方向设置,导轨32嵌设在凸起部3的顶部。Embodiment 1: As shown in Figure 1, Figure 2, Figure 3, Figure 4 and Figure 5, a roof for a garden building, including a roof body, the roof body includes two
屋顶板1的上侧设置有绿化模块2,绿化模块2的底部与凸起部3相对的位置设置有导轮33,导轮33与绿化模块2转动连接,同时,导轮33与凸起部3顶部的导轨32滚动配合,导轮33的周向上设置有可卡在导轨32上的卡槽,通过卡槽卡在导轨32上,可以避免导轮33沿导轨32的宽度方向滑动。两块屋顶板1上侧的绿化模块2的顶部之间设有螺杆6,螺杆6沿屋顶本体的屋脊的长度方向设置。屋顶本体的顶部通过螺栓连接有支撑座10,螺杆6通过轴承与支撑座10转动连接。螺杆6上螺纹连接有螺母5,螺母5与绿化模块2之间设置有连接杆4;连接杆4的一端与螺母5铰接,另一端与绿化模块2铰接。螺杆6的端部设置有调节机构,调节机构包括链轮12,链轮12与螺杆6同轴平键连接,链轮12上配合设置有链条13,链轮12的周向上设置有优弧形的罩体11,罩体11与螺杆6转动连接。罩体11的弧形轮廓的两端转动连接有滑轮,链条13移动时可以与滑轮接触,从而使罩体11通过滑轮与链条13发生滚动摩擦。螺杆6的上方设有弧形的挡板,挡板通过螺栓与支撑座10连接。A
两块屋顶板1的底部之间设置有四根水平并排分布的横梁8,横梁8与屋顶板1一体浇筑成型。横梁8的上侧设置有储水箱7,储水箱7通过螺栓与横梁8连接固定,储水箱7的底部呈漏斗状。导流槽31的端部连接有与储水箱7连通的导流管,从而使导流槽31与储水箱7连通。屋顶板1的屋檐处设置有雨水槽9,雨水槽9与屋顶板1一体浇筑成型,雨水槽9的端部设置有落水孔。Four
具体实施过程如下:常态时,绿化模块2的底面在凸起部3的支撑作用下与屋顶板1的上表面相贴,从而减少绿化模块2的底部土壤从绿化模块2的底部形成水分蒸发的现象。下雨时,通过拉动链条12,从而通过链轮13带动螺杆6转动,螺杆6转动时使螺杆6上的螺母5在连接杆4的限制作用下与螺杆6发生相对转动,从而使螺母5沿螺杆6的轴向移动,使螺母5通过连接杆4推动绿化模块2在凸起部3的支撑作用下与屋顶板1的上表面分离,从而使绿化模块2的底面与屋顶板1的上表面之间形成间隙。当绿化模块2的土壤中的水从绿化模块2的底部排出后,直接掉落在屋顶板1上,并汇集在凸起部3的导流槽31内,最后沿着导流槽31流入到储水箱7内,避免了绿化模块2上部的土壤中的流出的水分直接汇集到绿化模块2下部的土壤中而造成下部土壤的水分过高而出现水涝的情况,同时还实现了雨水的收集。当需要将绿化模块2复位的时候,只需要反向拉动链条13使螺杆6反向转动,从而使螺母5移动并通过连接杆4拉动绿化模块2与屋顶板1的上表面相贴。The specific implementation process is as follows: in normal state, the bottom surface of the
实施例二:与实施例一的不同点仅在于:如图6所示,螺杆6设置有旋向相反的两种螺纹段,两种螺纹段上分别对应螺纹连接有螺母5,螺母5与绿化模块2之间设置有连接杆4;连接杆4的一端与螺母5铰接,连接杆4的另一端与绿化模块2铰接;两个螺母5上的连接杆4靠近绿化模块2的一端相互铰接。通过转动螺杆6,可以使两种螺纹段上的螺母5相互靠近或是相互远离,从而使螺母5通过连接杆4带动绿化模块2移动,由于两个是同时相互靠近或是远离,使螺母5通过连接杆4施加给绿化模块2的合力始终平行于绿化模块2的移动方向,减少了合力做无用功而造成的能量损耗,从而减少了操作者的能量消耗;同时,这样的设置可以使螺母5施加给螺杆6的沿螺杆6轴向的作用力相互抵消,从而使螺杆6在轴向上受到的合力为零,避免了螺杆6在轴向上发生移动。Embodiment 2: The only difference from
以上所述的仅是本实用新型的实施例,方案中公知的具体结构及特性等常识在此未作过多描述。应当指出,对于本领域的技术人员来说,在不脱离本实用新型结构的前提下,还可以作出若干变形和改进,这些也应该视为本实用新型的保护范围,这些都不会影响本实用新型实施的效果和专利的实用性。本申请要求的保护范围应当以其权利要求的内容为准,说明书中的具体实施方式等记载可以用于解释权利要求的内容。The above descriptions are only the embodiments of the present invention, and the common knowledge such as the well-known specific structures and characteristics in the solutions are not described too much here. It should be pointed out that for those skilled in the art, under the premise of not departing from the structure of the present utility model, several deformations and improvements can also be made, which should also be regarded as the protection scope of the present utility model, and these will not affect the present utility model. The effect of the implementation of the new model and the practicability of the patent. The scope of protection claimed in this application shall be based on the content of the claims, and the descriptions of the specific implementation manners in the description can be used to interpret the content of the claims.
Claims (10)
Priority Applications (1)
| Application Number | Priority Date | Filing Date | Title |
|---|---|---|---|
| CN201921661869.5U CN210857699U (en) | 2019-09-30 | 2019-09-30 | Roof of garden building |
Applications Claiming Priority (1)
| Application Number | Priority Date | Filing Date | Title |
|---|---|---|---|
| CN201921661869.5U CN210857699U (en) | 2019-09-30 | 2019-09-30 | Roof of garden building |
Publications (1)
| Publication Number | Publication Date |
|---|---|
| CN210857699U true CN210857699U (en) | 2020-06-26 |
Family
ID=71297041
Family Applications (1)
| Application Number | Title | Priority Date | Filing Date |
|---|---|---|---|
| CN201921661869.5U Active CN210857699U (en) | 2019-09-30 | 2019-09-30 | Roof of garden building |
Country Status (1)
| Country | Link |
|---|---|
| CN (1) | CN210857699U (en) |
Cited By (1)
| Publication number | Priority date | Publication date | Assignee | Title |
|---|---|---|---|---|
| CN113846807A (en) * | 2021-11-16 | 2021-12-28 | 顾晓浩 | Roof of waterproof fast-assembling board house for building |
-
2019
- 2019-09-30 CN CN201921661869.5U patent/CN210857699U/en active Active
Cited By (1)
| Publication number | Priority date | Publication date | Assignee | Title |
|---|---|---|---|---|
| CN113846807A (en) * | 2021-11-16 | 2021-12-28 | 顾晓浩 | Roof of waterproof fast-assembling board house for building |
Similar Documents
| Publication | Publication Date | Title |
|---|---|---|
| CN212984267U (en) | Assembly type series components for assembling steel structure building wall | |
| CN106718364B (en) | Roof rainwater retention multi-arch structure and green roof intelligent irrigation system and method | |
| CN209403228U (en) | A kind of Collection utilization device of skyscraper rainwater | |
| CN113355999A (en) | Road and bridge crack flattening prosthetic devices that building engineering used | |
| CN111456336A (en) | Green roof installations for sponge city construction | |
| CN210857699U (en) | Roof of garden building | |
| CN207146171U (en) | A kind of gardens rainwater-collecting street lamp | |
| CN204837293U (en) | Formula photovoltaic green house is warmed up to winter | |
| CN219451303U (en) | Green roof integrated combination system of photovoltaic board | |
| CN211714389U (en) | Steel construction building roofing eaves mouth keeps off snow device | |
| CN209874020U (en) | Road drainage well cover | |
| CN209742033U (en) | Rainwater hopper for urban road | |
| CN116791826B (en) | A building structure for greening the roof of a building. | |
| CN111937649A (en) | A zigzag-shaped thin-film greenhouse for over-summer and over-winter production in the Yangtze River Basin | |
| CN210887331U (en) | Movable rainproof shed for solid waste landfill | |
| CN117661610A (en) | A road slope reinforcement and drainage device | |
| CN2888855Y (en) | Assembled sunlight green house | |
| CN113287448B (en) | Cable support steel structure greenhouse frame | |
| CN1813516A (en) | Assembled daylight greenhouse | |
| CN208577899U (en) | A kind of assembled greening environment-protective road | |
| CN210086861U (en) | Canopy and bearing structure thereof | |
| CN210117632U (en) | Road shoulder building board for highway engineering | |
| CN216650807U (en) | Environment-friendly irrigation hydraulic engineering equipment | |
| CN209040126U (en) | A kind of adjustable foundation pit supporting construction | |
| CN209891807U (en) | Railway protection is with no frame fence skirt net |
Legal Events
| Date | Code | Title | Description |
|---|---|---|---|
| GR01 | Patent grant | ||
| GR01 | Patent grant |
