CN210768423U - Synchronous limit opening and closing mechanism for furniture rotary sliding door - Google Patents
Synchronous limit opening and closing mechanism for furniture rotary sliding door Download PDFInfo
- Publication number
- CN210768423U CN210768423U CN201920649384.8U CN201920649384U CN210768423U CN 210768423 U CN210768423 U CN 210768423U CN 201920649384 U CN201920649384 U CN 201920649384U CN 210768423 U CN210768423 U CN 210768423U
- Authority
- CN
- China
- Prior art keywords
- furniture
- movable
- slide rail
- matching point
- door body
- Prior art date
- Legal status (The legal status is an assumption and is not a legal conclusion. Google has not performed a legal analysis and makes no representation as to the accuracy of the status listed.)
- Active
Links
- 230000007246 mechanism Effects 0.000 title claims abstract description 19
- 230000001360 synchronised effect Effects 0.000 title claims abstract description 17
- 230000000712 assembly Effects 0.000 claims abstract description 16
- 238000000429 assembly Methods 0.000 claims abstract description 16
- 230000009471 action Effects 0.000 claims description 13
- 238000009434 installation Methods 0.000 claims description 10
- 230000003993 interaction Effects 0.000 claims description 3
- 230000000670 limiting effect Effects 0.000 claims description 3
- 230000013011 mating Effects 0.000 claims 2
- 238000013016 damping Methods 0.000 claims 1
- 230000006872 improvement Effects 0.000 abstract description 4
- 238000010586 diagram Methods 0.000 description 12
- 238000004519 manufacturing process Methods 0.000 description 4
- 230000006378 damage Effects 0.000 description 3
- 230000000694 effects Effects 0.000 description 3
- 208000027418 Wounds and injury Diseases 0.000 description 2
- 208000014674 injury Diseases 0.000 description 2
- 238000000034 method Methods 0.000 description 2
- 230000007812 deficiency Effects 0.000 description 1
- 230000008569 process Effects 0.000 description 1
- 230000009467 reduction Effects 0.000 description 1
Images
Landscapes
- Cabinets, Racks, Or The Like Of Rigid Construction (AREA)
Abstract
一种家具回转推拉门的同步限位开闭机构,包括至少二个滑轨组件,至少二个滑轨组件至少包括相互滑动配合的动滑轨和定滑轨,至少二个动滑轨之间设置有同步杆,同步杆与至少二个动滑轨之间设置有预装配合部和拆装部;同步杆通过预装配合部预先装配在至少二个动滑轨上,并在预先装配后通过拆装部与至少二个动滑轨可拆装配合连接;至少二个动滑轨通过同步杆同步滑动在至少二个定滑轨上;同步杆与至少二个动滑轨之间形成第一配合点、第二配合点、第三配合点、第四配合点;所述的第一、第二、第三、第四配合点之间在至少二个动滑轨受力时形成作用力,并通过作用力相互作用。本实用新型通过上述结构的改良,实用性强。
A synchronous limit opening and closing mechanism for a rotary sliding door of furniture, comprising at least two slide rail assemblies, the at least two slide rail assemblies at least include a movable slide rail and a fixed slide rail that are slidingly matched with each other, and between the at least two movable slide rails A synchronizing rod is provided, and a pre-assembled fitting part and a disassembly and assembly part are arranged between the synchronizing rod and the at least two movable sliding rails; At least two movable sliding rails are detachably connected to at least two movable sliding rails through the disassembly and assembly part; at least two movable sliding rails are synchronously slid on at least two fixed sliding rails through synchronizing rods; A matching point, a second matching point, a third matching point, and a fourth matching point; the first, second, third, and fourth matching points form an acting force when at least two movable slide rails are stressed , and interact by force. The utility model has strong practicability through the improvement of the above structure.
Description
技术领域technical field
本实用新型涉及一种家具回转推拉门的同步限位开闭机构。The utility model relates to a synchronous limit opening and closing mechanism for a rotary sliding door of furniture.
背景技术Background technique
中国专利文献号为CN2327260于1999年7月7日公开一种带有隐式存放柜的穿衣镜,它有一柜室部,柜室的后壁和边侧壁形成一空间和一前端开口,一镶镜柜门用隐式铰链固定在柜室部上,并能封盖住柜室部的前端开口,从而构成一个镶镜存放柜,柜门关闭时与柜室对齐,看起来是一个整体,镶镜存放柜安装在一支座上两支柱之间,并可转动地固定在支柱上,以便存放柜能够倾转,在与转动点相隔处设有倾斜调节机构,它能调节镶镜存放柜相对于支座支柱的倾转角度,并保持在各不同的角度位置上。但是,该结构的柜室部储存空间有限,不能广泛地应用在大形的家具柜体上,如果将穿衣镜设计较大又会占用地方,而且穿衣镜推进收纳或拉出打开均无法做到限位效果,穿衣镜很容易因铰链回弹或自身习惯原车出现左右摆动的问题,同时由于穿衣镜的体积较大,通常需要多个滑轨组件才能实现推进收纳或拉出打开,但多个滑轨组件之间在开闭过程中无法做到同步动作,而位于最上面的滑轨组件承受的重量最大,越下面的滑轨组件承受的重量越小,造成各个滑轨组件之间的受力状态不同,影响产品的整体稳定性及使用寿命,严重时还会导致用户在使用时很容易出现穿衣镜损坏或用户受伤等安全隐患,无法满足用户的使用需求。因此,有必要进一步改进。Chinese Patent Document No. CN2327260 on July 7, 1999 discloses a full-length mirror with a hidden storage cabinet, which has a cabinet room, the rear wall and the side walls of the cabinet room form a space and a front opening, and an inlaid The mirror cabinet door is fixed on the cabinet room with hidden hinges, and can cover the front opening of the cabinet room, thus forming a mirror-inlaid storage cabinet. The mirror storage cabinet is installed between two pillars on a support, and is rotatably fixed on the pillars so that the storage cabinet can be tilted. There is a tilt adjustment mechanism at the distance from the rotation point, which can adjust the relative position of the mirror storage cabinet. It depends on the tilt angle of the support column and keeps it in different angular positions. However, the storage space in the cabinet of this structure is limited and cannot be widely used in large furniture cabinets. If the full-length mirror is designed to be large, it will take up space, and the full-length mirror cannot be pushed into storage or pulled out to achieve the limit. Effect, the full-length mirror is prone to the problem of swinging left and right due to hinge rebound or its own habit of the original car. At the same time, due to the large size of the full-length mirror, multiple slide rail assemblies are usually required to be pushed in or pulled out to open, but multiple slide rail assemblies are required. In the process of opening and closing, the synchronous action cannot be achieved, and the slide rail assembly on the top bears the largest weight, and the lower slide rail assembly bears less weight, resulting in different stress states between the slide rail assemblies. , affecting the overall stability and service life of the product, and in severe cases, it will lead to safety hazards such as damage to the full-length mirror or injury to the user during use, which cannot meet the needs of the user. Therefore, further improvement is necessary.
实用新型内容Utility model content
本实用新型的目的旨在提供一种结构简单合理,性能优异,拆装快捷,操作方便,储存空间大,承重能力强,制造成本低,易生产,易实现,使用寿命长、范围广,外观整齐、精美且安全可靠的家具回转推拉门的同步限位开闭机构,以克服现有技术中的不足之处。The purpose of the utility model is to provide a simple and reasonable structure, excellent performance, quick disassembly and assembly, convenient operation, large storage space, strong bearing capacity, low manufacturing cost, easy production, easy realization, long service life, wide range, and appearance. A neat, beautiful, safe and reliable synchronous limit opening and closing mechanism for furniture rotary sliding doors is provided to overcome the deficiencies in the prior art.
按此目的设计的一种家具回转推拉门的同步限位开闭机构,包括至少二个滑轨组件,至少二个滑轨组件至少包括相互滑动配合的动滑轨和定滑轨,其特征在于:至少二个动滑轨之间设置有同步杆,该同步杆与至少二个动滑轨之间设置有预装配合部和拆装部;所述的同步杆通过预装配合部预先装配在至少二个动滑轨上,并在预先装配后通过拆装部与至少二个动滑轨可拆装配合连接;所述的至少二个动滑轨通过同步杆同步滑动在至少二个定滑轨上;其中,同步杆与至少二个动滑轨之间形成第一配合点、第二配合点、第三配合点、第四配合点;所述的第一配合点、第二配合点、第三配合点、第四配合点之间在至少二个动滑轨受力时形成作用力,并通过作用力相互作用。A synchronous limit opening and closing mechanism for a furniture rotary sliding door designed according to this purpose includes at least two slide rail assemblies, and the at least two slide rail assemblies at least include movable slide rails and fixed slide rails that are slidingly matched with each other, and is characterized in that : A synchronization rod is arranged between at least two movable sliding rails, and a pre-installed matching part and a disassembly and assembly part are set between the synchronization rod and at least two movable sliding rails; the synchronization rod is pre-assembled on the At least two movable sliding rails, and after pre-assembly, they are detachably connected with at least two movable sliding rails through the disassembly and assembly part; the at least two movable sliding rails are synchronously slid on at least two fixed sliding rails through synchronizing rods. rail; wherein, a first matching point, a second matching point, a third matching point, and a fourth matching point are formed between the synchronization rod and the at least two movable sliding rails; the first matching point, the second matching point, the When the at least two movable slide rails are stressed, an acting force is formed between the third matching point and the fourth matching point, and they interact with each other through the acting force.
所述预装配合部包括预装位和预定位,预装位设置在同步杆两端,预定位设置在至少二个动滑轨前后位置;所述的同步杆两端分别通过预装位预先装配在至少二个动滑轨前后位置的预定位上,并在预先装配后分别通过拆装部与至少二个动滑轨前后位置可拆装配合连接。The pre-installed matching part includes a pre-installed position and a pre-positioned position. The pre-installed position is set at both ends of the synchronization rod, and the pre-positioned position is set at the front and rear positions of at least two movable slide rails; The utility model is assembled on the pre-positioned front and rear positions of the at least two movable sliding rails, and after pre-assembly, it is respectively detachably connected with the front and rear positions of the at least two movable sliding rails through the disassembly and assembly parts.
所述同步杆设置有二个、且分别为第一同步杆和第二同步杆,至少二个动滑轨分别为第一动滑轨和第二动滑轨;其中,预装位设置在第一、第二同步杆两端,预定位设置在第一、第二动滑轨两端。The synchronizing rod is provided with two, which are the first synchronizing rod and the second synchronizing rod respectively, and the at least two movable sliding rails are the first movable sliding rail and the second movable sliding rail respectively; 1. Both ends of the second synchronizing rod are pre-positioned at both ends of the first and second movable sliding rails.
所述的第一同步杆两端分别通过预装位预先装配在第一动滑轨、第二动滑轨一端的预定位上,并在预先装配后分别通过拆装部可拆装在第一动滑轨、第二动滑轨一端。The two ends of the first synchronizing rod are respectively pre-assembled on the pre-positions of one end of the first movable slide rail and the second movable slide rail through the pre-installation positions, and can be disassembled and assembled on the first movable slide rail respectively through the disassembly and assembly parts after the pre-assembly. one end of the movable slide rail and the second movable slide rail.
所述的第二同步杆两端分别通过预装位预先装配在第一动滑轨、第二动滑轨另一端的预定位上,并在预先装配后分别通过拆装部可拆装在第一动滑轨、第二动滑轨另一端。The two ends of the second synchronizing rod are respectively pre-assembled on the pre-positions of the other end of the first movable slide rail and the second movable slide rail through the pre-installation positions, and can be disassembled and assembled on the first movable slide rail respectively through the disassembly and assembly parts after the pre-assembly. One movable slide rail and the other end of the second movable slide rail.
所述第一同步杆与第二同步杆相互独立设置、且二者交叉式相互叠设;其中,第一同步杆与第二同步杆之间形成一定的间隙或相互依靠。The first synchronizing rod and the second synchronizing rod are arranged independently of each other, and the two are overlapped with each other in an intersecting manner; wherein, a certain gap or mutual dependence is formed between the first synchronizing rod and the second synchronizing rod.
所述第一动滑轨、第二动滑轨前端和/或后端设置有连接件;所述的拆装部至少为拆装紧固件、或拆装卡接位。The front end and/or the rear end of the first movable slide rail and the second movable slide rail are provided with connecting pieces; the disassembly and assembly portion is at least a disassembly and assembly fastener, or a disassembly and assembly position.
第一同步杆一端通过预装配合部、拆装部的配合与连接件或第一动滑轨一端可拆装配合连接,并相互之间形成第一配合点。One end of the first synchronizing rod is detachably connected to the connecting piece or one end of the first movable slide rail through the cooperation of the pre-assembled matching part and the disassembling part, and forms a first matching point with each other.
第一同步杆另一端通过预装配合部、拆装部的配合与连接件或第二动滑轨一端可拆装配合连接,并相互之间形成第三配合点。The other end of the first synchronizing rod is detachably connected to the connector or one end of the second movable slide rail through the cooperation of the pre-assembled matching part and the disassembly part, and forms a third matching point with each other.
第二同步杆一端通过预装配合部、拆装部的配合与连接件或第一动滑轨另一端可拆装配合连接,并相互之间形成第二配合点。One end of the second synchronizing rod is detachably connected to the connecting piece or the other end of the first movable slide rail through the cooperation of the pre-assembled matching part and the disassembly part, and forms a second matching point with each other.
第二同步杆另一端通过预装配合部、拆装部的配合与连接件或第二动滑轨另一端可拆装配合连接,并相互之间形成第四配合点。The other end of the second synchronizing rod is detachably connected to the connecting piece or the other end of the second movable slide rail through the cooperation of the pre-assembled matching part and the disassembly part, and forms a fourth matching point with each other.
所述第一配合点、第二配合点、第三配合点、第四配合点相互之间形成一定的间距;所述的第一配合点与第三配合点之间、第二配合点与第四配合点之间在第一动滑轨和/或第二动滑轨受力时通过第一同步杆、第二同步杆形成交叉式作用力;所述的第一配合点与第三配合点之间、第二配合点与第四配合点之间通过交叉式作用力相互作用。The first matching point, the second matching point, the third matching point and the fourth matching point form a certain distance from each other; the first matching point and the third matching point, the second matching point and the third matching point When the first moving slide rail and/or the second moving slide rail are under force, a cross-type force is formed between the four matching points through the first synchronizing rod and the second synchronizing rod; the first matching point and the third matching point Interaction between the second matching point and the fourth matching point through a cross-type force.
本机构还包括相互横向活动打开和/或关闭收纳、以及纵向回转开闭的家具门体和家具柜体,家具柜体侧部设置有侧板和盖板;所述的至少二个动滑轨设置在家具门体上,至少二个定滑轨设置在侧板上;所述的家具门体通过至少二个滑轨组件、同步杆的配合横向活动打开和/或关闭收纳在家具柜体上;所述的侧板与盖板之间形成一定的间距;其中,侧板上转动设置有辅助轮,盖板上转动设置有限位轮;所述的家具门体至少在活动打开和/或关闭收纳时与辅助轮和/或限位轮之间形成一定的间隙,并在家具门体左和/或右移动时限位在辅助轮和/或限位轮上,以实现家具门体限位式横向活动打开和/或关闭收纳在家具柜体上。The mechanism also includes a furniture door body and a furniture cabinet body that can be movably opened and/or closed horizontally with each other, and a furniture door body and a furniture cabinet body that can be opened and closed longitudinally. It is arranged on the furniture door body, and at least two fixed sliding rails are arranged on the side panels; the furniture door body is opened and/or closed on the furniture cabinet body through the coordinated lateral movement of at least two sliding rail assemblies and synchronizing rods. A certain distance is formed between the side plate and the cover plate; wherein, the side plate is rotatably provided with an auxiliary wheel, and the cover plate is rotated and provided with a limit wheel; the furniture door body is at least open and/or closed in a movable manner A certain gap is formed between the auxiliary wheel and/or the limit wheel during storage, and is limited on the auxiliary wheel and/or limit wheel when the furniture door body moves left and/or right, so as to realize the limit type of the furniture door body The lateral movement opens and/or closes the storage on the furniture cabinet.
所述侧板与盖板之间形成槽位;所述的家具门体横向活动打开和/或关闭收纳在槽位内;所述的辅助轮与限位轮相互独立设置、且分别转动设置在侧板和盖板上;其中,辅助轮在侧板上转动的轴线方向与限位轮在盖板上转动的轴线方向相互平行;所述的家具门体横向活动打开和/或关闭收纳的轴线方向与辅助轮和/或限位轮转动的轴线方向相互垂直。A slot is formed between the side plate and the cover plate; the furniture door body can be opened and/or closed laterally and stored in the slot; the auxiliary wheel and the limit wheel are independently arranged, and are respectively rotatably arranged in the slot. The side plate and the cover plate; wherein, the axis direction of the rotation of the auxiliary wheel on the side plate and the axis direction of the rotation of the limit wheel on the cover plate are parallel to each other; the axis of the said furniture door is laterally movable to open and/or close the storage The direction is perpendicular to the direction of the axis of rotation of the auxiliary wheel and/or the limit wheel.
所述至少二个动滑轨上还设置有回转铰链装置,至少二个动滑轨分别通过回转铰链装置与家具门体配合连接;所述的回转铰链装置、和/或家具柜体、和/或家具门体上设置有阻尼器;所述的家具门体通过至少二个滑轨组件、同步杆的配合横向活动打开和/或关闭收纳在家具柜体上,并在横向活动打开时通过回转铰链装置、阻尼器的配合缓冲式纵向回转关闭在家具柜体上。The at least two movable slide rails are also provided with a rotary hinge device, and the at least two movable slide rails are respectively connected with the furniture door body through the rotary hinge device; the rotary hinge device, and/or the furniture cabinet, and/ Or the furniture door body is provided with a damper; the furniture door body is opened and/or closed on the furniture cabinet body through the coordinated lateral movement of at least two slide rail assemblies and synchronizing rods, and when the lateral movement is opened, the furniture door body is opened and/or closed by rotating The hinge device and the damper cooperate with the buffer type longitudinal rotation to be closed on the furniture cabinet.
所述的回转铰链装置上还设置有左右调节件、和/或上下调节件、和/或前后调节件;所述的家具门体与家具柜体之间通过左右调节件、和/或上下调节件、和/或前后调节件实现左右、和/或上下、和/或前后相对位置调节。The swivel hinge device is also provided with left and right adjustment pieces, and/or up and down adjustment pieces, and/or front and rear adjustment pieces; The left and right, and/or up and down, and/or front and rear relative positions can be adjusted by the parts, and/or the front and rear adjustment parts.
所述家具门体、或动滑轨、或同步杆上设置有横向打开自动锁定装置和横向关闭自动锁定装置,侧板、或盖板、或定滑轨上设置有作用部;或者,所述的侧板、或盖板、或定滑轨上设置有横向打开自动锁定装置和横向关闭自动锁定装置,家具门体、或动滑轨、或同步杆上设置有作用部。The furniture door body, the moving slide rail, or the synchronizing rod is provided with an automatic locking device for lateral opening and an automatic locking device for lateral closing, and an action part is provided on the side plate, or the cover plate, or the fixed slide rail; or, the The side plate, cover plate, or fixed slide rail of the furniture is provided with an automatic locking device for lateral opening and an automatic locking device for lateral closing, and an action part is set on the furniture door body, the movable slide rail, or the synchronizing rod.
所述的家具门体相对家具柜体横向活动打开至一定位置时通过作用部、横向打开自动锁定装置的配合自动弹性锁定二者的横向活动打开位置。When the furniture door body is laterally movable and opened to a certain position relative to the furniture cabinet body, the two laterally movable opening positions are automatically and elastically locked by the cooperation of the action part and the laterally opening automatic locking device.
所述的家具门体相对家具柜体横向关闭收纳至一定位置时通过作用部、横向关闭自动锁定装置的配合自动弹性锁定二者的横向关闭收纳位置。When the furniture door body is laterally closed and stored to a certain position relative to the furniture cabinet body, the two laterally closed and stored positions are automatically and elastically locked by the cooperation of the action part and the laterally closed automatic locking device.
本实用新型通过上述结构的改良,具有以下优点:The utility model has the following advantages through the improvement of the above-mentioned structure:
(1)将至少二个定滑轨设置在家具柜体上,将至少二个动滑轨设置在家具门体上,家具门体通过动滑轨和定滑轨的配合横向活动打开和/或关闭收纳在家具柜体上,使家具门体的横向打开、收纳及使用极其方便,用户打开家具门体之后即可以横向关闭收纳在家具柜体上,避免了家具门体打开后无法收纳,只能相对家具柜体90度的打开,占用使用空间的同时,用户拿取物品后还要绕过家具门体才能避免碰撞等一系列问题,充分地利用家具柜体周围的使用空间,实现家具柜体周围空间利用率的最大化。(1) At least two fixed sliding rails are arranged on the furniture cabinet body, and at least two movable sliding rails are arranged on the furniture door body, and the furniture door body is opened and/or horizontally moved by the cooperation of the movable sliding rail and the fixed sliding rail. It is closed and stored on the furniture cabinet, which makes the horizontal opening, storage and use of the furniture door extremely convenient. After the user opens the furniture door, it can be horizontally closed and stored on the furniture cabinet, avoiding the inability to store the furniture after the door is opened. It can be opened 90 degrees relative to the furniture cabinet. While occupying the use space, the user must bypass the furniture door after taking the items to avoid a series of problems such as collision, and make full use of the use space around the furniture cabinet to realize the furniture cabinet. Maximize the utilization of space around the body.
(2)至少二个动滑轨上设置有同步杆、且通过同步杆同步滑动开闭在至少二个定滑轨上,更进一步地提高家具门体和家具柜体的横向活动打开和/或关闭收纳效果,使家具门体和家具柜体的横向活动打开和/或关闭收纳更加平稳、顺畅。(2) At least two movable sliding rails are provided with synchronizing rods, and the synchronizing rods are synchronously opened and closed on at least two fixed sliding rails, so as to further improve the lateral movable opening and/or opening of furniture doors and furniture cabinets. The closing storage effect makes the lateral movement of the furniture door and the furniture cabinet to open and/or close the storage more smoothly and smoothly.
(3)同步杆设置有二个,该二个同步杆交叉式相互叠设、且通过预装配合部预先装配在至少二个动滑轨上,使用户可以快捷、方便地将二个同步杆预装在至少二个动滑轨上,有效地避免了二个同步杆和至少二个动滑轨因无法预装,导致相互装配时位置不准确的问题;二个同步杆预先装配后再通过拆装部与至少二个动滑轨可拆装配合连接,以提高二个同步杆和至少二个动滑轨之间的装配稳定性,同时相互之间的可拆装配合让用户可以根据实际的使用需求随时拆装二个同步杆,以进一步提高用户的使用便捷性。(3) There are two synchronizing rods, the two synchronizing rods are overlapped with each other, and are pre-assembled on at least two movable sliding rails through the pre-installed matching parts, so that the user can quickly and conveniently connect the two synchronizing rods It is pre-installed on at least two movable slide rails, which effectively avoids the problem of inaccurate positions during mutual assembly due to the inability to pre-install the two synchronizing rods and at least two movable sliding rails; the two synchronizing rods are pre-assembled and then passed The disassembly part is detachably connected with at least two movable slide rails to improve the assembly stability between the two synchronizing rods and at least two movable slide rails. The two synchronization rods can be disassembled and assembled at any time to further improve the convenience of users.
(4)二个同步杆与至少二个动滑轨之间形成第一配合点、第二配合点、第三配合点、第四配合点,第一配合点与第三配合点之间、第二配合点与第四配合点之间在至少二个动滑轨受力时通过二个同步杆形成交叉式作用力,并通过交叉式作用力相互作用,有效地提高了至少二个动滑轨之间的连接稳定性,使各个滑轨组件之间的受力更加均匀,还能保证至少二个动滑轨能够真正的同步滑动在至少二个定滑轨上,从而避免各个滑轨组件因受力不统一,导致家具门体在滑动时出现卡死的问题,使任何尺寸、重量、体积大小的家具门体都能平稳、顺畅地横向活动打开或横向关闭收纳在家具柜体上(4) A first matching point, a second matching point, a third matching point and a fourth matching point are formed between the two synchronizing rods and the at least two movable sliding rails. When the at least two movable slide rails are stressed between the second matching point and the fourth matching point, a cross-type force is formed by two synchronizing rods, and through the interaction of the cross-type force, the at least two movable slide rails are effectively improved. The stability of the connection between them makes the force between each slide rail assembly more uniform, and it can also ensure that at least two movable slide rails can truly synchronously slide on at least two fixed slide rails, so as to avoid each slide rail assembly due to The force is not uniform, which leads to the problem of the furniture door being stuck when sliding, so that the furniture door of any size, weight and volume can be smoothly and smoothly opened or closed horizontally and stored on the furniture cabinet.
(5)在家具柜体的外侧设置有盖板,该盖板能全部覆盖设置在侧板上的全部构件,使家具产品的外观更加整齐、精美。(5) A cover plate is arranged on the outer side of the furniture cabinet, and the cover plate can completely cover all the components arranged on the side plates, so that the appearance of the furniture product is more neat and exquisite.
(6)侧板和盖板上分别转动设置有辅助轮、限位轮,辅助轮与限位轮相互独立设置、且之间形成一定的间距,家具门体至少在活动打开和/或关闭收纳时与辅助轮和/或限位轮之间形成一定的间隙,并在家具门体左和/或右移动时限位在辅助轮和/或限位轮上,以实现家具门体限位式横向活动打开和/或关闭收纳在家具柜体上,进一步地方便了用户对家具门体的横向活动打开和/或关闭收纳,避免家具门体在横向活动打开和/或关闭收纳时与家具柜体或槽位内各构件产生摩擦的问题,以提高家具产品的使用寿命,同时还能减少家具门体在横向活动打开和/或关闭收纳时出现左右晃动的现象。(6) Auxiliary wheels and limit wheels are respectively rotatably arranged on the side plate and the cover plate. The auxiliary wheels and limit wheels are arranged independently of each other and form a certain distance between them. The furniture door body is at least open and/or closed for storage. A certain gap is formed between it and the auxiliary wheel and/or the limit wheel, and when the furniture door body moves left and/or right, it is limited on the auxiliary wheel and/or limit wheel, so as to realize the limit type lateral direction of the furniture door body. The movable opening and/or closing is stored on the furniture cabinet, which further facilitates the user to open and/or close the furniture door laterally for storage, and avoids the furniture door and the furniture cabinet when the lateral movement is opened and/or closed for storage. Or the problem of friction generated by various components in the slot, so as to improve the service life of the furniture product, and at the same time, it can also reduce the phenomenon of left and right shaking of the furniture door when it is moved laterally to open and/or close for storage.
(7)横向打开自动锁定装置和横向关闭自动锁定装置的设置,可以避免家具门体在横向活动打开和/或横向关闭收纳时因无法定位,容易出现摆动、滑动或转动,导致家具门体再次横向打开和/或横向关闭在家具柜体上,造成用户受伤或使用不方便等问题;同时,用户在使用时,只需将家具门体横向活动打开和/或横向关闭一定位即可自动锁定在家具柜体上,避免了家具门体无法完全横向活动开闭或开闭后必须通过人工进行定位的问题,进一步地提高用户的使用体验性。(7) The setting of the laterally opening automatic locking device and the laterally closing automatic locking device can prevent the furniture door from swinging, sliding or rotating due to the inability to position the furniture door when it is laterally opened and/or laterally closed and stored, resulting in the furniture door being re-opened. Horizontal opening and/or horizontal closing on the furniture cabinet may cause problems such as user injury or inconvenience; at the same time, the user only needs to move the furniture door horizontally to open and/or horizontally close the door to automatically lock when in use. On the furniture cabinet, the problem that the furniture door cannot be opened and closed completely horizontally or must be manually positioned after being opened and closed is avoided, which further improves the user experience.
(8)家具门体与动滑轨之间设置有回转铰链装置,回转铰链装置上可以根据使用需求设置有阻尼器,家具门体在横向活动打开时通过回转铰链装置缓冲式纵向活动开闭在家具柜体上,使家具门体相对家具柜体的纵向活动开闭效果更加合理、顺畅,同时方便用户对家具柜体内部存放的东西进行遮盖。(8) A rotary hinge device is arranged between the furniture door body and the moving slide rail. The rotary hinge device can be provided with a damper according to the needs of use. When the furniture door body is opened horizontally, it can be opened and closed by the buffer type longitudinal movement of the rotary hinge device. On the furniture cabinet body, the vertical movable opening and closing effect of the furniture door body relative to the furniture cabinet body is more reasonable and smooth, and at the same time, it is convenient for the user to cover the things stored in the furniture cabinet body.
(9)回转铰链装置上还设置有左右调节件、和/或上下调节件、和/或前后调节件,家具门体与家具柜体之间通过左右调节件、和/或上下调节件、和/或前后调节件实现左右、和/或上下、和/或前后相对位置调节,可进一步地提高家具产品的外观更加整齐、精美,配合辅助轮和限位轮的限位作用,还能提高家具产品的使用范围,使其可以用于多种不同厚度、尺寸大小的家具门体使用。(9) The rotary hinge device is also provided with left and right adjustment pieces, and/or up and down adjustment pieces, and/or front and rear adjustment pieces. / or the front and rear adjustment pieces to realize the relative position adjustment of left and right, and / or up and down, and / or front and rear, which can further improve the appearance of furniture products to be more tidy and beautiful, and cooperate with the limiting effect of auxiliary wheels and limit wheels, and can also improve furniture. The range of use of the product enables it to be used in a variety of furniture doors of different thicknesses and sizes.
综合而言,其具有结构简单合理,性能优异,拆装快捷,操作方便,储存空间大,承重能力强,制造成本低,易生产,易实现,使用寿命长、范围广,外观整齐、精美且安全可靠等特点,实用性强。In general, it has the advantages of simple and reasonable structure, excellent performance, quick disassembly and assembly, convenient operation, large storage space, strong load-bearing capacity, low manufacturing cost, easy production, easy realization, long service life, wide range, neat appearance and exquisite appearance. It is safe and reliable, and has strong practicability.
附图说明Description of drawings
图1为本实用新型第一实施例的分解结构示意图。FIG. 1 is a schematic diagram of an exploded structure of the first embodiment of the present invention.
图2为本实用新型第一实施例的省略盖板后装配结构示意图。FIG. 2 is a schematic diagram of the assembly structure after the cover plate is omitted according to the first embodiment of the present invention.
图3为图2中的A处放大结构示意图。FIG. 3 is an enlarged schematic view of the structure at A in FIG. 2 .
图4为本实用新型第一实施例的盖板、限位轮分解结构示意图。FIG. 4 is a schematic diagram of the exploded structure of the cover plate and the limiting wheel according to the first embodiment of the present utility model.
图5为本实用新型第一实施例的滑轨组件和同步杆分解结构示意图。FIG. 5 is a schematic diagram of the exploded structure of the slide rail assembly and the synchronizing rod according to the first embodiment of the present invention.
图6为本实用新型第一实施例的滑轨组件和同步杆装配结构示意图。6 is a schematic diagram of the assembly structure of the slide rail assembly and the synchronizing rod according to the first embodiment of the present invention.
图7为本实用新型第一实施例的家具门体限位式横向关闭收纳自动锁定结构示意图。FIG. 7 is a schematic diagram of the automatic locking structure of the furniture door body limit type horizontal closing and storage according to the first embodiment of the present invention.
图8为图7的俯视状态结构示意图。FIG. 8 is a schematic structural diagram of the top view of FIG. 7 .
图9为本实用新型第一实施例的家具门体横向活动打开自动锁定结构示意图。FIG. 9 is a schematic diagram of the automatic locking structure of the laterally movable opening of the furniture door according to the first embodiment of the present invention.
图10为图9的俯视状态结构示意图。FIG. 10 is a schematic structural diagram of the top view of FIG. 9 .
图11为本实用新型第一实施例的家具门体纵向回转关闭结构示意图。FIG. 11 is a schematic diagram of the longitudinal swivel-closing structure of the furniture door according to the first embodiment of the present invention.
图12为图11的俯视状态结构示意图。FIG. 12 is a schematic structural diagram of the top view of FIG. 11 .
具体实施方式Detailed ways
下面结合附图及实施例对本实用新型作进一步描述。The present utility model will be further described below in conjunction with the accompanying drawings and embodiments.
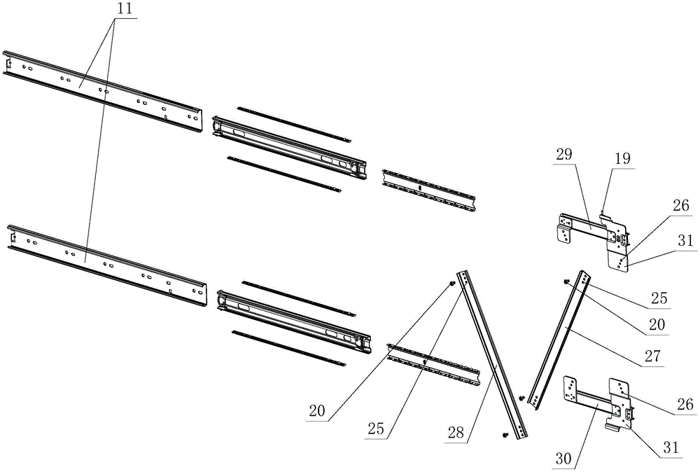
参见图1-图12,本家具回转推拉门的同步限位开闭机构,包括至少二个滑轨组件,至少二个滑轨组件至少包括相互滑动配合的动滑轨和定滑轨11,至少二个动滑轨之间设置有同步杆,该同步杆与至少二个动滑轨之间设置有预装配合部和拆装部20;所述的同步杆通过预装配合部预先装配在至少二个动滑轨上,并在预先装配后通过拆装部20与至少二个动滑轨可拆装配合连接;所述的至少二个动滑轨通过同步杆同步滑动在至少二个定滑轨11上;其中,同步杆与至少二个动滑轨之间形成第一配合点21、第二配合点22、第三配合点23、第四配合点24;所述的第一配合点21、第二配合点22、第三配合点23、第四配合点24之间在至少二个动滑轨受力时形成作用力,并通过作用力相互作用。1-12, the synchronous limit opening and closing mechanism of the rotary sliding door of the furniture includes at least two slide rail assemblies, and the at least two slide rail assemblies at least include a movable slide rail and a fixed
进一步地讲,预装配合部包括预装位25和预定位26,预装位25设置在同步杆两端,预定位26设置在至少二个动滑轨前后位置;所述的同步杆两端分别通过预装位25预先装配在至少二个动滑轨前后位置的预定位26上,并在预先装配后分别通过拆装部20与至少二个动滑轨前后位置可拆装配合连接。Further, the pre-installed matching part includes a
进一步地讲,同步杆设置有二个、且分别为第一同步杆27和第二同步杆28,至少二个动滑轨分别为第一动滑轨29和第二动滑轨30;其中,预装位25设置在第一、第二同步杆两端,预定位26设置在第一、第二动滑轨两端。Further, two synchronizing rods are provided, which are the
第一同步杆27两端分别通过预装位25预先装配在第一动滑轨29、第二动滑轨30一端的预定位26上,并在预先装配后分别通过拆装部20可拆装在第一动滑轨29、第二动滑轨30一端。Both ends of the
第二同步杆28两端分别通过预装位25预先装配在第一动滑轨29、第二动滑轨30另一端的预定位26上,并在预先装配后分别通过拆装部20可拆装在第一动滑轨29、第二动滑轨30另一端。Both ends of the
进一步地讲,第一同步杆27与第二同步杆28相互独立设置、且二者交叉式相互叠设;其中,第一同步杆27与第二同步杆28之间形成一定的间隙或相互依靠。Further, the
进一步地讲,第一动滑轨29、第二动滑轨30前端和/或后端设置有连接件31;所述的拆装部20至少为拆装紧固件、或拆装卡接位。Further, the front and/or rear ends of the first
第一同步杆27一端通过预装配合部、拆装部20的配合与连接件31或第一动滑轨29一端可拆装配合连接,并相互之间形成第一配合点21。One end of the
第一同步杆27另一端通过预装配合部、拆装部20的配合与连接件31或第二动滑轨30一端可拆装配合连接,并相互之间形成第三配合点23。The other end of the
第二同步杆28一端通过预装配合部、拆装部20的配合与连接件31或第一动滑轨29另一端可拆装配合连接,并相互之间形成第二配合点22。One end of the
第二同步杆28另一端通过预装配合部、拆装部20的配合与连接件31或第二动滑轨30另一端可拆装配合连接,并相互之间形成第四配合点24。The other end of the
进一步地讲,第一配合点21、第二配合点22、第三配合点23、第四配合点24相互之间形成一定的间距;所述的第一配合点21与第三配合点23之间、第二配合点22与第四配合点24之间在第一动滑轨29和/或第二动滑轨30受力时通过第一同步杆27、第二同步杆28形成交叉式作用力;所述的第一配合点21与第三配合点23之间、第二配合点22与第四配合点24之间通过交叉式作用力相互作用。Further, the
具体地讲,本机构还包括相互横向活动打开和/或关闭收纳、以及纵向回转开闭的家具门体1和家具柜体2,家具柜体2侧部设置有侧板3和盖板4;所述的至少二个动滑轨设置在家具门体1上,至少二个定滑轨11设置在侧板3上;所述的家具门体1通过至少二个滑轨组件、同步杆的配合横向活动打开和/或关闭收纳在家具柜体2上;所述的侧板3与盖板4之间形成一定的间距;其中,侧板3上转动设置有辅助轮5,盖板4上转动设置有限位轮6;所述的家具门体1至少在活动打开和/或关闭收纳时与辅助轮5和/或限位轮6之间形成一定的间隙,并在家具门体1左和/或右移动时限位在辅助轮5和/或限位轮6上,以实现家具门体1限位式横向活动打开和/或关闭收纳在家具柜体2上。Specifically, the mechanism also includes a
进一步地讲,侧板3与盖板4之间形成槽位7;所述的家具门体1横向活动打开和/或关闭收纳在槽位7内;所述的辅助轮5与限位轮6相互独立设置、且分别转动设置在侧板3和盖板4上;其中,辅助轮5在侧板3上转动的轴线方向与限位轮6在盖板4上转动的轴线方向相互平行;所述的家具门体1横向活动打开和/或关闭收纳的轴线方向与辅助轮5和/或限位轮6转动的轴线方向相互垂直。Further, a
进一步地讲,至少二个动滑轨上还设置有回转铰链装置13,至少二个动滑轨分别通过回转铰链装置13与家具门体1配合连接;所述的回转铰链装置13、和/或家具柜体2、和/或家具门体1上设置有阻尼器;所述的家具门体1通过至少二个滑轨组件、同步杆的配合横向活动打开和/或关闭收纳在家具柜体2上,并在横向活动打开时通过回转铰链装置13、阻尼器的配合缓冲式纵向回转关闭在家具柜体2上。Further, at least two movable sliding rails are also provided with a
回转铰链装置13上还设置有左右调节件14、和/或上下调节件15、和/或前后调节件16;所述的家具门体1与家具柜体2之间通过左右调节件14、和/或上下调节件15、和/或前后调节件16实现左右、和/或上下、和/或前后相对位置调节。The
进一步地讲,家具门体1、或动滑轨、或同步杆上设置有横向打开自动锁定装置17和横向关闭自动锁定装置18,侧板3、或盖板4、或定滑轨11上设置有作用部19;或者,所述的侧板3、或盖板4、或定滑轨11上设置有横向打开自动锁定装置17和横向关闭自动锁定装置18,家具门体1、或动滑轨、或同步杆上设置有作用部19。Further, the
家具门体1相对家具柜体2横向活动打开至一定位置时通过作用部19、横向打开自动锁定装置17的配合自动弹性锁定二者的横向活动打开位置。When the
家具门体1相对家具柜体2横向关闭收纳至一定位置时通过作用部19、横向关闭自动锁定装置18的配合自动弹性锁定二者的横向关闭收纳位置。When the
以上显示和描述了本实用新型的基本原理、主要特征和本实用新型的优点。本领域的技术人员应该了解本实用新型不受上述实施例的限制,上述实施例和说明书中描述的只是说明本实用新型的原理,在不脱离本实用新型精神和范围的前提下本实用新型还会有各种变化和改进,这些变化和改进都落入要求保护的本实用新型范围内。本实用新型要求保护范围由所附的权利要求书及其等同物界定。The basic principles, main features and advantages of the present invention have been shown and described above. Those skilled in the art should understand that the present invention is not limited by the above-mentioned embodiments, and the descriptions in the above-mentioned embodiments and the description are only to illustrate the principle of the present invention. There are various changes and improvements that fall within the scope of the claimed invention. The claimed scope of the present invention is defined by the appended claims and their equivalents.
同时,附图仅用于示例性说明,表示的仅是示意图,而非实物图,不能理解为对本专利的限制;为了更好地说明本实用新型的实施例,附图某些部件会有省略、放大或缩小,并不代表实际产品的尺寸;对本领域技术人员来说,附图中某些公知结构及其说明可能省略是可以理解的。At the same time, the accompanying drawings are only used for exemplary description, and they are only schematic diagrams, not physical drawings, and should not be construed as restrictions on this patent; in order to better illustrate the embodiments of the present invention, some parts of the accompanying drawings will be omitted. , enlargement or reduction, do not represent the size of the actual product; for those skilled in the art, it is understandable that some well-known structures and their descriptions in the accompanying drawings may be omitted.
而且,本实用新型实施例的附图中相同或相似的标号对应相同或相似的部件;在本实用新型的描述中,需要理解的是,若有术语“上”、“下”、“左”、“右”、“竖直”、“水平”、“横向”、“纵向”、“顶”、“底”、“内”、“外”等指示的方位或位置关系均基于附图所示的方位或位置关系,仅是为了便于描述本实用新型和简化描述,而不是指示或暗示所指的装置或元件必须具有特定的方位、以特定的方位构造和操作,因此附图中描述位置关系的用语仅用于示例性说明,不能理解为对本专利的限制。Moreover, the same or similar reference numerals in the drawings of the embodiments of the present invention correspond to the same or similar components; in the description of the present invention, it should be understood that if there are terms "upper", "lower" and "left" , "right", "vertical", "horizontal", "horizontal", "longitudinal", "top", "bottom", "inner", "outer" and other indicated orientation or positional relationships are based on the drawings The orientation or positional relationship is only for the convenience of describing the present invention and simplifying the description, rather than indicating or implying that the referred device or element must have a specific orientation, be constructed and operated in a specific orientation, and therefore the positional relationship is described in the accompanying drawings. The terminology is used for exemplary description only and should not be construed as a limitation on this patent.
Claims (10)
Priority Applications (1)
| Application Number | Priority Date | Filing Date | Title |
|---|---|---|---|
| CN201920649384.8U CN210768423U (en) | 2019-05-07 | 2019-05-07 | Synchronous limit opening and closing mechanism for furniture rotary sliding door |
Applications Claiming Priority (1)
| Application Number | Priority Date | Filing Date | Title |
|---|---|---|---|
| CN201920649384.8U CN210768423U (en) | 2019-05-07 | 2019-05-07 | Synchronous limit opening and closing mechanism for furniture rotary sliding door |
Publications (1)
| Publication Number | Publication Date |
|---|---|
| CN210768423U true CN210768423U (en) | 2020-06-16 |
Family
ID=71064842
Family Applications (1)
| Application Number | Title | Priority Date | Filing Date |
|---|---|---|---|
| CN201920649384.8U Active CN210768423U (en) | 2019-05-07 | 2019-05-07 | Synchronous limit opening and closing mechanism for furniture rotary sliding door |
Country Status (1)
| Country | Link |
|---|---|
| CN (1) | CN210768423U (en) |
Cited By (1)
| Publication number | Priority date | Publication date | Assignee | Title |
|---|---|---|---|---|
| CN110056293A (en) * | 2019-05-07 | 2019-07-26 | 广东东泰五金精密制造有限公司 | A kind of synchronous limit switching mechanism of furniture revolution sliding door |
-
2019
- 2019-05-07 CN CN201920649384.8U patent/CN210768423U/en active Active
Cited By (1)
| Publication number | Priority date | Publication date | Assignee | Title |
|---|---|---|---|---|
| CN110056293A (en) * | 2019-05-07 | 2019-07-26 | 广东东泰五金精密制造有限公司 | A kind of synchronous limit switching mechanism of furniture revolution sliding door |
Similar Documents
| Publication | Publication Date | Title |
|---|---|---|
| CN110056293A (en) | A kind of synchronous limit switching mechanism of furniture revolution sliding door | |
| CN108071288B (en) | Limiting mechanism for furniture rotary push-pull opening and closing | |
| CN108301718B (en) | Adjusting mechanism for rotary push-pull opening and closing furniture | |
| CN210768423U (en) | Synchronous limit opening and closing mechanism for furniture rotary sliding door | |
| CN207999161U (en) | A kind of adjustable lazy-tongs for furniture push-and-pull opening and closing | |
| CN110056294A (en) | A kind of limit switching mechanism for furniture revolution sliding door | |
| KR102758825B1 (en) | A cabinet body having a synchronous sliding mechanism, a side concealed door system and said side concealed door system | |
| CN108095387B (en) | Rotary storage locking structure for furniture | |
| CN110236300A (en) | A synchronous structure for furniture rotary push-pull opening and closing | |
| CN110439409B (en) | Smooth opening and closing mechanism for furniture | |
| CN210977112U (en) | Smooth opening and closing mechanism for furniture | |
| CN110439432B (en) | Synchronous adjusting mechanism for furniture | |
| CN219199604U (en) | Refrigerator with a refrigerator body | |
| CN108316797B (en) | Stop gear of furniture is opened and closed in gyration push-pull | |
| CN110671016B (en) | Synchronous sliding opening and closing structure for furniture | |
| CN211287347U (en) | Smooth opening and closing structure for furniture | |
| CN210977020U (en) | Smooth opening and closing mechanism for furniture | |
| CN211287311U (en) | Synchronous adjusting mechanism for furniture | |
| CN210977130U (en) | Stable opening and closing structure for furniture | |
| CN213115913U (en) | Simple and convenient disassembly and assembly mechanism for furniture hinge and base | |
| CN110454045A (en) | A stable opening and closing structure for furniture | |
| CN211692072U (en) | Synchronous translation opening and closing structure for furniture | |
| CN210768422U (en) | Limiting opening and closing mechanism for furniture rotary sliding door | |
| CN210977129U (en) | Stable opening and closing structure for furniture | |
| CN108065646A (en) | A kind of revolution open and close locking structure for furniture |
Legal Events
| Date | Code | Title | Description |
|---|---|---|---|
| GR01 | Patent grant | ||
| GR01 | Patent grant | ||
| PE01 | Entry into force of the registration of the contract for pledge of patent right |
Denomination of utility model: A synchronous limit opening and closing mechanism for furniture revolving sliding doors Granted publication date: 20200616 Pledgee: Agricultural Bank of China Limited Shunde Leliu sub branch Pledgor: Guangdong Dongtai Hardware Precision Manufacturing Co.,Ltd. Registration number: Y2024980053599 |
|
| PE01 | Entry into force of the registration of the contract for pledge of patent right |
